Информационная система
«Ёшкин Кот»

Скачать базу одним архивом
Скачать обновления
История создания базы
Карта сайта

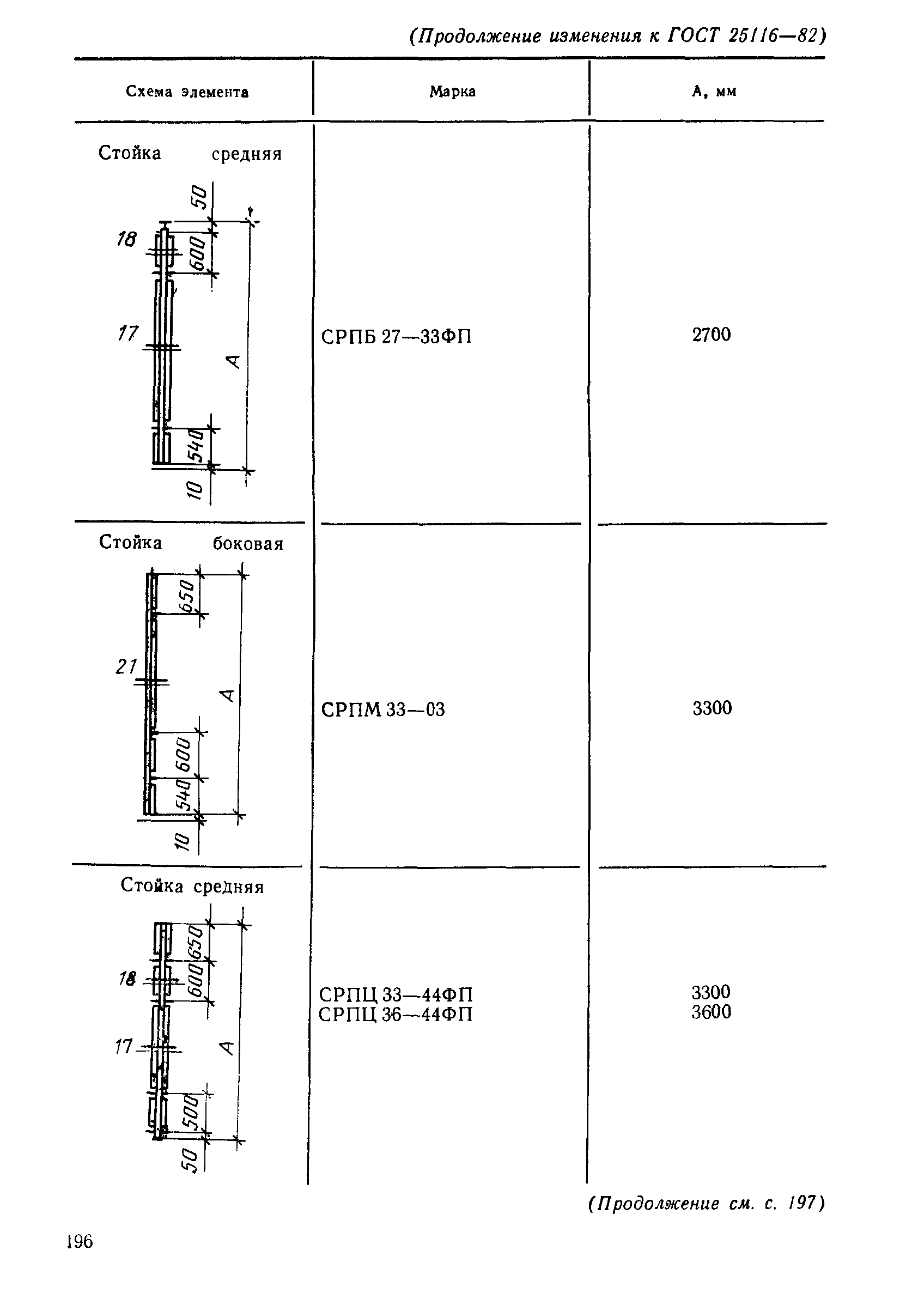
Скачать ГОСТ 25116-82 Витрины и витражи из алюминиевых сплавов. Типы, конструкции и размеры

Дата актуализации: 10.08.2017

ГОСТ 25116-82

Витрины и витражи из алюминиевых сплавов. Типы, конструкции и размеры

Обозначение: ГОСТ 25116-82
Обозначение англ: GOST 25116-82
Статус:отменен в рф
Название рус.:Витрины и витражи из алюминиевых сплавов. Типы, конструкции и размеры
Название англ.:Aluminium shop-wind wors. Types, construction and dimensions
Дата добавления в базу:01.10.2014
Дата актуализации:05.05.2017
Дата введения:01.07.1995
Область применения:Стандарт распространяется на витрины и витражи из алюминиевых сплавов с одинарным и двойным остеклением, предназначенные для устройства наружных светопрозрачных ограждений общественных зданий. Стандарт не распространяется на витрины и витражи, в которых алюминиевые сплавы не являются основным конструкционным материалом (дерево- и сталеалюминиевые), а также на витрины и витражи из комбинированных профилей, изготовленных из алюминиевых сплавов.
Оглавление:1 Типы, марки элементов витрин и витражей
2 Конструкция и размеры
Приложение 1 (справочное) Искл. Изм. № 1
Приложение 2 (справочное) Примеры установки витрин и витражей
Приложение 3 (рекомендуемое) Схемы расположения приборов на витринах и витражах
Разработан: Госкомитет по гражданскому строительству и архитектуре при Госстрое СССР
Министерство монтажных и специальных строительных работ СССР
Утверждён:31.12.1981 Государственный комитет СССР по делам строительства (279)
Издан: Издательство стандартов (1982 г. )
Расположен в:Техническая документация Электроэнергия СТРОИТЕЛЬНЫЕ МАТЕРИАЛЫ И СТРОИТЕЛЬСТВО Конструкции зданий Металлические конструкции Экология СТРОИТЕЛЬНЫЕ МАТЕРИАЛЫ И СТРОИТЕЛЬСТВО Конструкции зданий Металлические конструкции
Нормативные ссылки:
ГОСТ 25116-82ГОСТ 25116-82ГОСТ 25116-82ГОСТ 25116-82ГОСТ 25116-82ГОСТ 25116-82ГОСТ 25116-82ГОСТ 25116-82ГОСТ 25116-82ГОСТ 25116-82ГОСТ 25116-82ГОСТ 25116-82ГОСТ 25116-82ГОСТ 25116-82ГОСТ 25116-82ГОСТ 25116-82ГОСТ 25116-82ГОСТ 25116-82ГОСТ 25116-82ГОСТ 25116-82ГОСТ 25116-82ГОСТ 25116-82ГОСТ 25116-82ГОСТ 25116-82ГОСТ 25116-82ГОСТ 25116-82ГОСТ 25116-82ГОСТ 25116-82ГОСТ 25116-82ГОСТ 25116-82ГОСТ 25116-82ГОСТ 25116-82ГОСТ 25116-82ГОСТ 25116-82ГОСТ 25116-82ГОСТ 25116-82ГОСТ 25116-82ГОСТ 25116-82ГОСТ 25116-82ГОСТ 25116-82ГОСТ 25116-82ГОСТ 25116-82ГОСТ 25116-82ГОСТ 25116-82ГОСТ 25116-82ГОСТ 25116-82ГОСТ 25116-82ГОСТ 25116-82ГОСТ 25116-82ГОСТ 25116-82ГОСТ 25116-82ГОСТ 25116-82ГОСТ 25116-82ГОСТ 25116-82ГОСТ 25116-82ГОСТ 25116-82ГОСТ 25116-82ГОСТ 25116-82ГОСТ 25116-82ГОСТ 25116-82ГОСТ 25116-82ГОСТ 25116-82ГОСТ 25116-82ГОСТ 25116-82ГОСТ 25116-82ГОСТ 25116-82ГОСТ 25116-82

© 2013 Ёшкин Кот :-) Карта сайта