| ||||||||||||||||||||||||||
Скачать ГОСТ 24904-81 Головки зуборезные для прямозубых конических колес. Конструкция и размерыДата актуализации: 10.08.2017
|
| Обозначение: | ГОСТ 24904-81 |
| Обозначение англ: | GOST 24904-81 |
| Статус: | действует |
| Название рус.: | Головки зуборезные для прямозубых конических колес. Конструкция и размеры |
| Название англ.: | Straght bevel gear cuftess. Design and dimension |
| Дата добавления в базу: | 01.09.2013 |
| Дата актуализации: | 05.05.2017 |
| Дата введения: | 01.01.1983 |
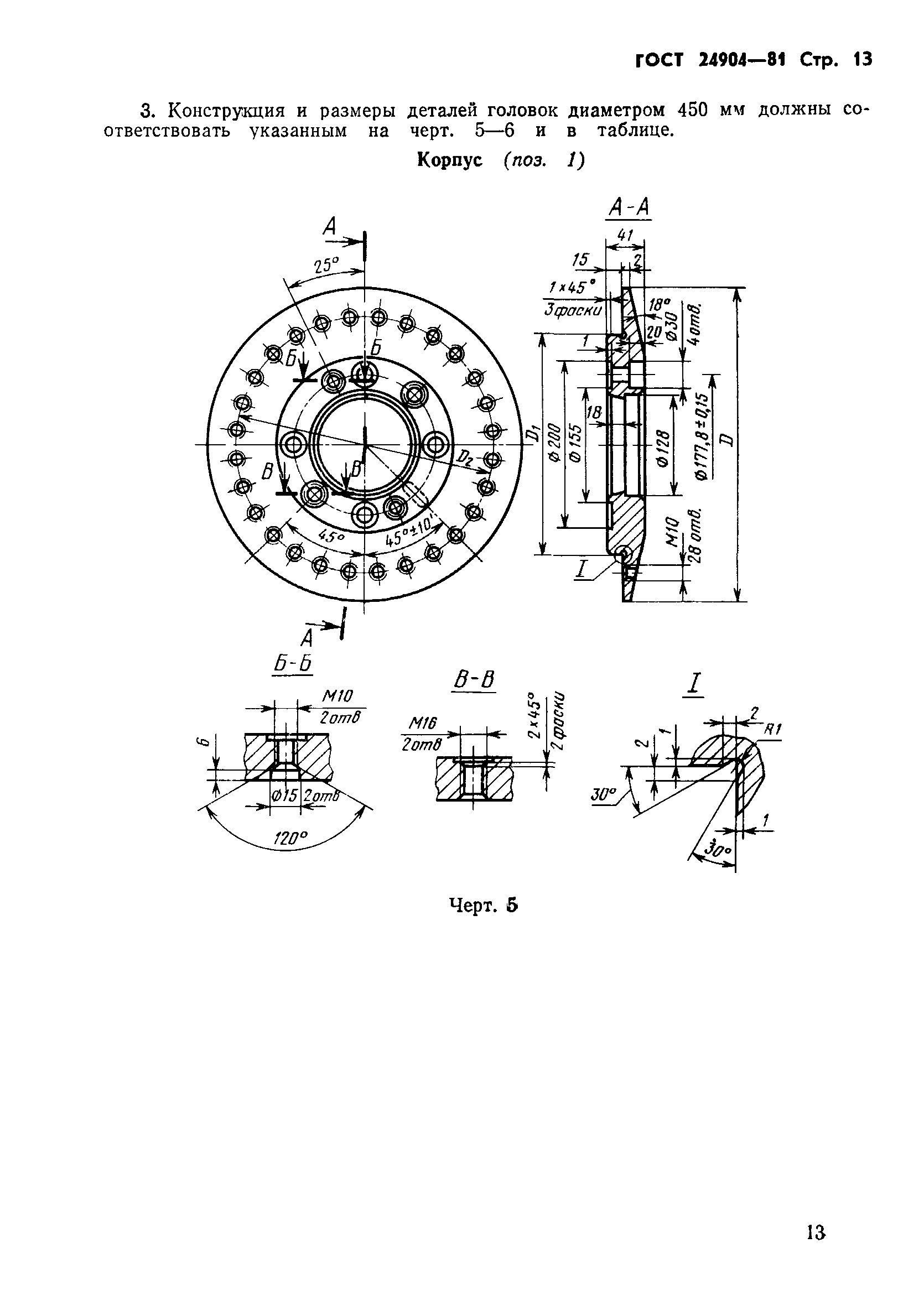
| Оглавление: | Приложение Конструкция и размеры деталей зуборезных головок |
| Утверждён: | 12.08.1981 Госстандарт СССР (USSR Gosstandart 3812) |
| Расположен в: |

















