| ||||||||||||||||||||||||||||||||||
Скачать ГОСТ 24829-81 Пакеты трехкассетных пресс-форм для изготовления резиновых уплотнительных манжет. Конструкция и размерыДата актуализации: 10.08.2017
|
| Обозначение: | ГОСТ 24829-81 |
| Обозначение англ: | GOST 24829-81 |
| Статус: | действует |
| Название рус.: | Пакеты трехкассетных пресс-форм для изготовления резиновых уплотнительных манжет. Конструкция и размеры |
| Название англ.: | The sets of three casette press moulds for manufacturing of rubber sealing cups. Design and dimensions |
| Дата добавления в базу: | 01.09.2013 |
| Дата актуализации: | 05.05.2017 |
| Дата введения: | 01.07.1982 |
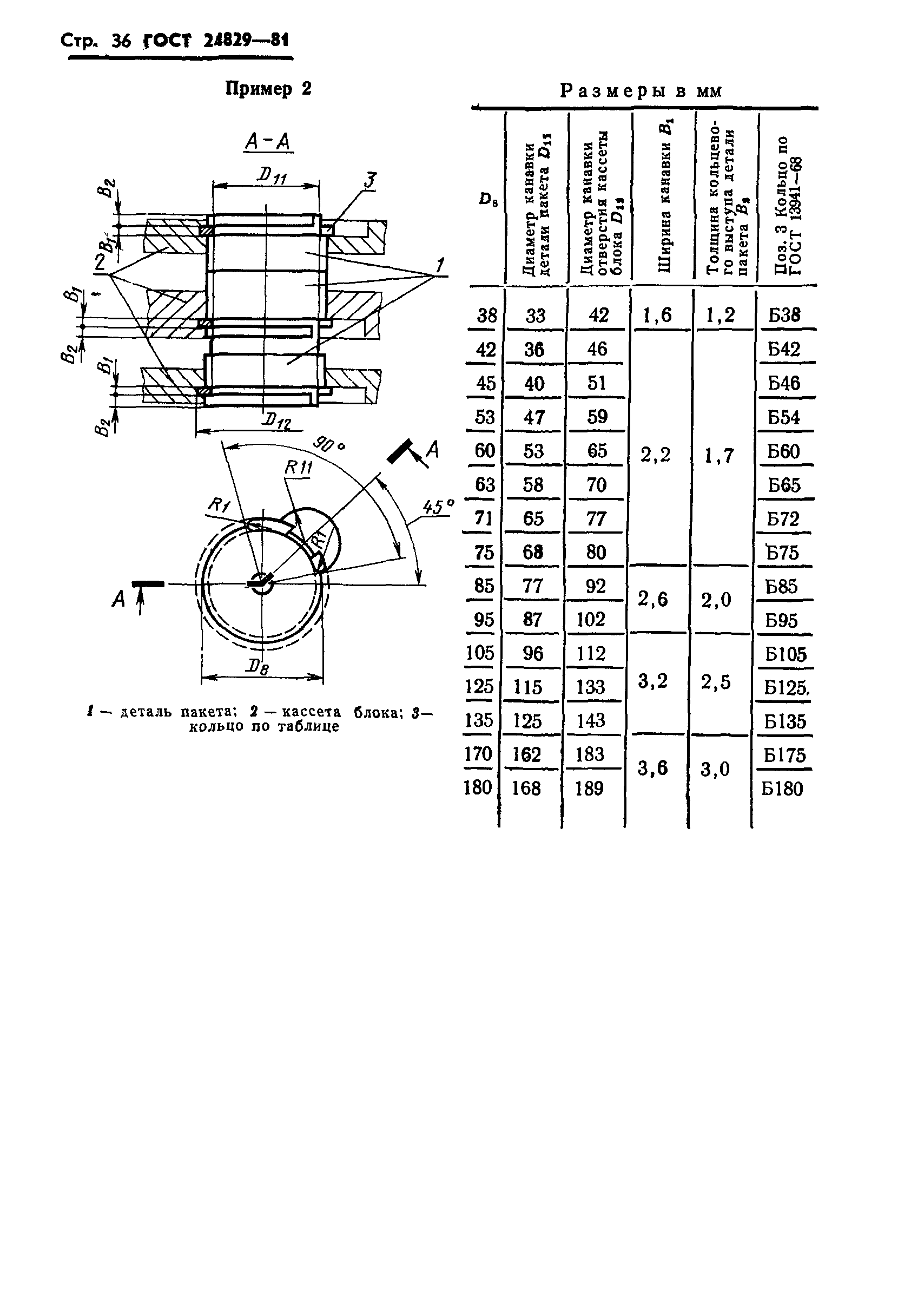
| Область применения: | Стандарт распространяется на пакеты с исполнительными размерами формообразующих полостей, рассчитанных с учетом усади резины 1,2, 1,5, 1,8, 2,4 3,0 %, устанавливаемые в блоки трехкассетных пресс-форм по ГОСТ 24318—80 для изготовления резиновых манжет типов 1 и 2 по ГОСТ 6678—72 с внутренним диаметром не менее 9,5 мм и наружным диаметром не более 159 мм. |
| Оглавление: | Приложение 1 (справочное) Примеры крепления пакетов в блоках трехкассетных пресс-форм Приложение 2 (спраочное) Расчет исполнительных размеров формообразующих полостей пакетов трехкассетных пресс-форм для изготовления резиновых манжет по ГОСТ 6678-72 |
| Разработан: | Министерство нефтеперерабатывающей и нефтехимической промышленности СССР |
| Утверждён: | 09.06.1981 Государственный комитет СССР по стандартам (USSR National Committee on Standards 2882) |
| Издан: | Издательство стандартов (1981 г. ) |
| Расположен в: | |
| Нормативные ссылки: |
|













































