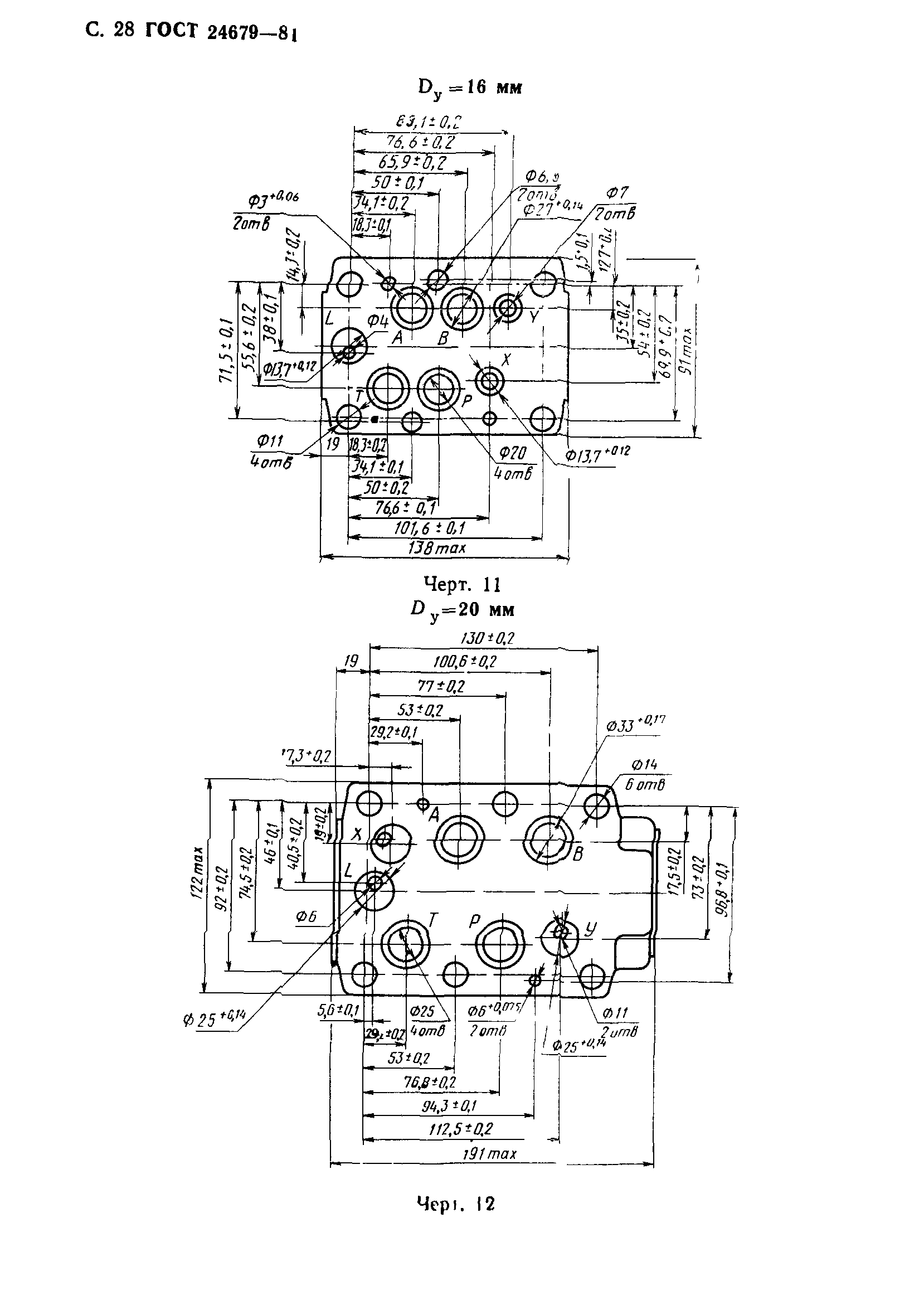
Оглавление: | 1 Исполнения, основные параметры и размеры 2 Технические требования 3 Требования безопасности 4 Комплектность 5 Правила приемки 6 Методы испытаний 7 Маркировка, упаковка, транспортирование и хранение 8 Указания по эксплуатации 9 Гарантии изготовителя Приложение 1 Графики зависимости перепада давлений от расхода рабочей жидкости гидрораспределителей Приложение 2 Характеристика отечественных электромагнитов для гидрораспределителей с электромагнитным управлением Приложение 3 Структура условного обозначения исполнений гидрораспределителей Приложение 4 Приложение 5 Габаритные и присоединительные размеры присоединительных плит Dy=6 мм Приложение 6 Габаритные и присоединительные размеры дроссельных плит Dy=16 мм Приложение 7 Габаритные и присоединительные размеры гидроклапанов соотношений давлений Приложение 7а Удельная масса гидрораспределителей |