Информационная система
«Ёшкин Кот»

Скачать базу одним архивом
Скачать обновления
История создания базы
Карта сайта

Скачать ГОСТ 23211-78 Блоки универсальных штампов совмещенного действия для обрезки облоя и пробивки отверстия у круглых в плане штампованных поковок на кривошипных прессах. Конструкция и размеры

Дата актуализации: 10.08.2017

ГОСТ 23211-78

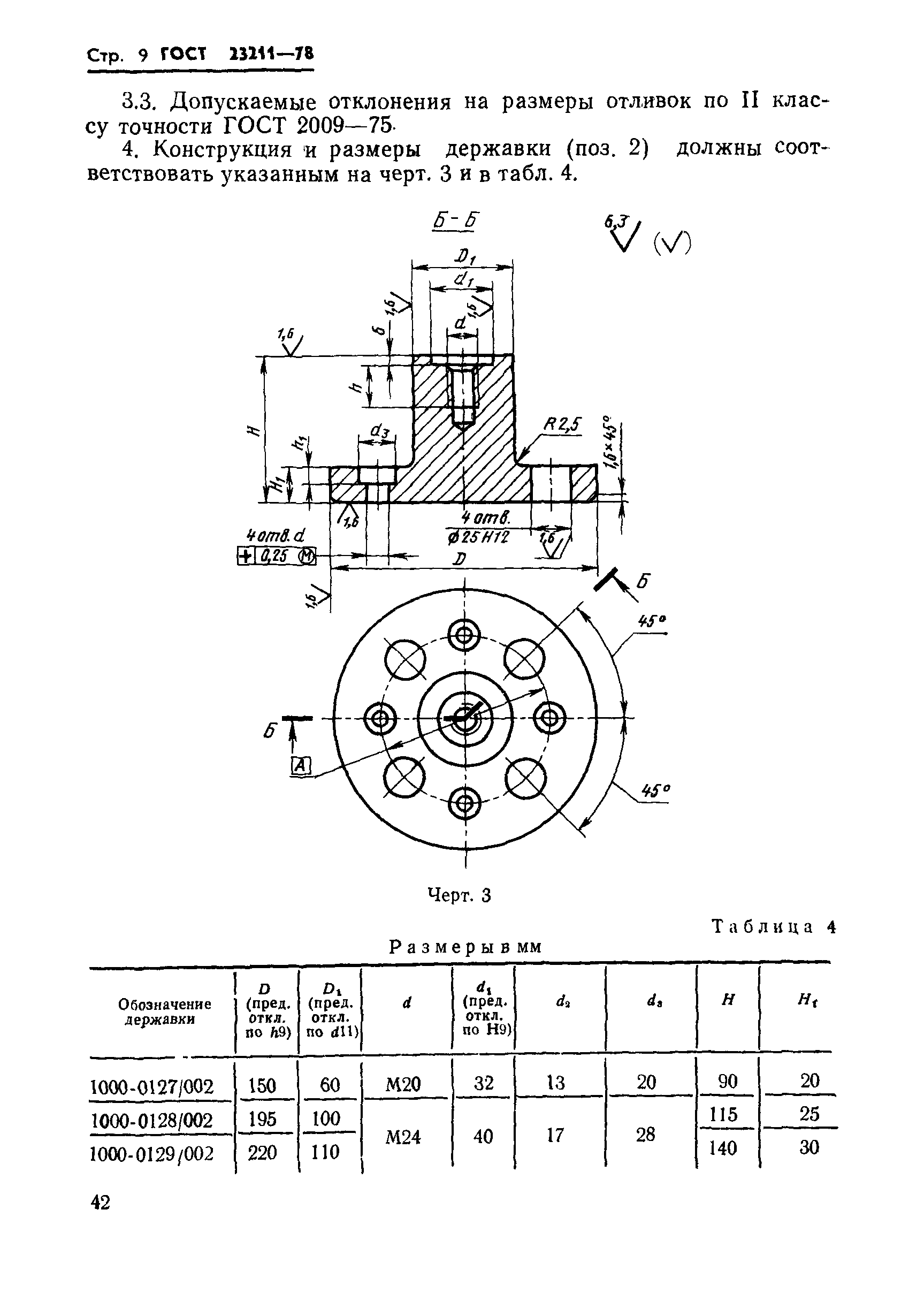
Блоки универсальных штампов совмещенного действия для обрезки облоя и пробивки отверстия у круглых в плане штампованных поковок на кривошипных прессах. Конструкция и размеры

Обозначение: ГОСТ 23211-78
Обозначение англ: GOST 23211-78
Статус:действует
Название рус.:Блоки универсальных штампов совмещенного действия для обрезки облоя и пробивки отверстия у круглых в плане штампованных поковок на кривошипных прессах. Конструкция и размеры
Название англ.:Units of universal compound dies for clipping and piercing of round in plan vien die fordinds on crank presses. Design and dimensions
Дата добавления в базу:01.09.2013
Дата актуализации:05.05.2017
Дата введения:01.07.1979
Область применения:Стандарт распространяется на блоки универсальных штампов для обрезки облоя и пробивки отверстия у круглых в плане штампованных поковок на однокривошипных закрытых прессах простого действия по ГОСТ 10026—75.
Оглавление:Приложение 1 (справочное) Компоновка блока универсального штампа для обрезки облоя и пробивки отверстия у круглых в плане штампованных поковок на кривошипных прессах с гидропневматической подушкой
Приложение 3 (справочное) Компоновка блока универсального штампа для обрезки облоя и пробивки отверстия у поковок круглых в плане на кривошипных прессах с буферным устройством с тарельчатыми пружинами
Приложение 4 (справочное) Компоновка блока универсального штампа для обрезки облоя и пробивки отверстия у поковок круглых в плане на кривошипных прессах с буферным устройством с винтовыми цилиндрическими пружинами
Утверждён:12.07.1978 Госстандарт СССР (USSR Gosstandart 1874)
Расположен в:Техническая документация Электроэнергия МАШИНОСТРОЕНИЕ Оборудование для бесстружечной обработки Ковочное оборудование. Прессы. Ножницы Экология МАШИНОСТРОЕНИЕ Оборудование для бесстружечной обработки Ковочное оборудование. Прессы. Ножницы
Список изменений:
ГОСТ 23211-78ГОСТ 23211-78ГОСТ 23211-78ГОСТ 23211-78ГОСТ 23211-78ГОСТ 23211-78ГОСТ 23211-78ГОСТ 23211-78ГОСТ 23211-78ГОСТ 23211-78ГОСТ 23211-78ГОСТ 23211-78ГОСТ 23211-78ГОСТ 23211-78ГОСТ 23211-78ГОСТ 23211-78ГОСТ 23211-78ГОСТ 23211-78ГОСТ 23211-78ГОСТ 23211-78ГОСТ 23211-78ГОСТ 23211-78ГОСТ 23211-78ГОСТ 23211-78ГОСТ 23211-78ГОСТ 23211-78ГОСТ 23211-78

Текстовое изменение № 1 от 01.10.1984

№ 1№ 1

© 2013 Ёшкин Кот :-) Карта сайта