Информационная система
«Ёшкин Кот»

Скачать базу одним архивом
Скачать обновления
История создания базы
Карта сайта

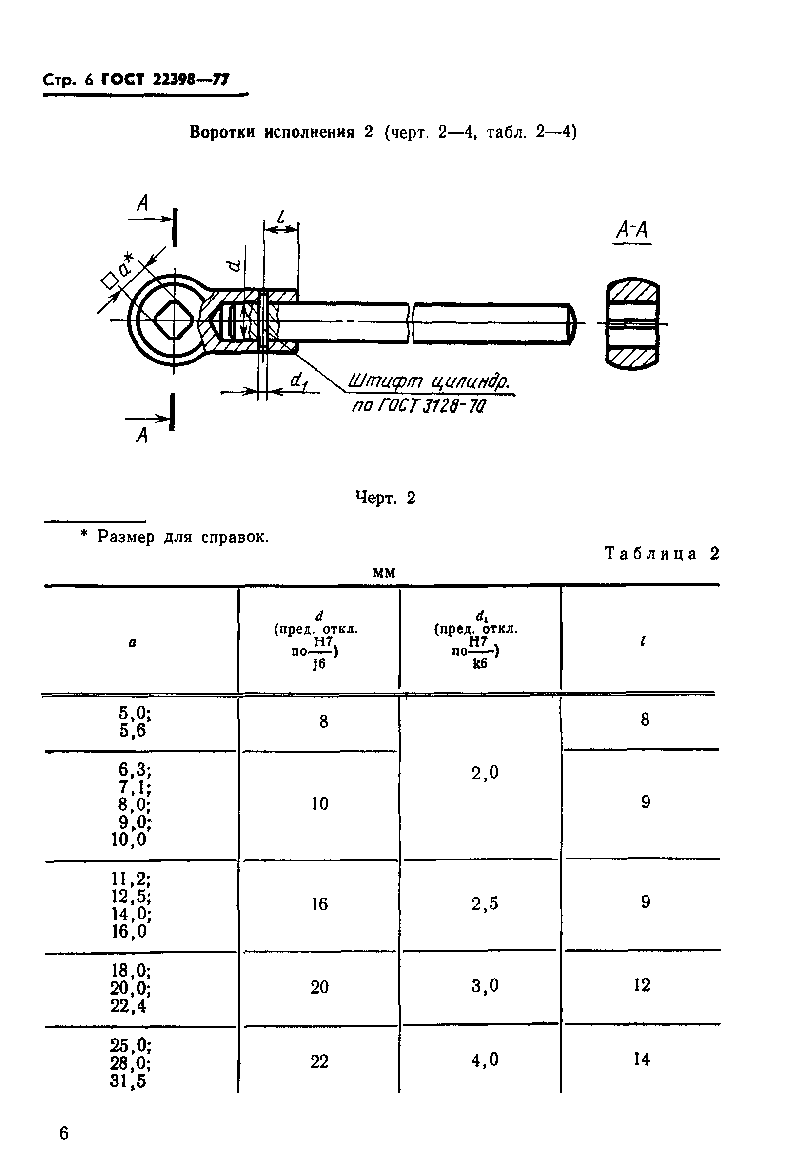
Скачать ГОСТ 22398-77 Воротки одногнездные для инструмента с квадратными хвостовиками. Основные размеры

Дата актуализации: 10.08.2017

ГОСТ 22398-77

Воротки одногнездные для инструмента с квадратными хвостовиками. Основные размеры

Обозначение: ГОСТ 22398-77
Обозначение англ: GOST 22398-77
Статус:действует
Название рус.:Воротки одногнездные для инструмента с квадратными хвостовиками. Основные размеры
Название англ.:Tap wrenches with one nest for tools with square shanks. Basic dimensions
Дата добавления в базу:01.09.2013
Дата актуализации:05.05.2017
Дата введения:01.01.1979
Область применения:Стандарт распространяется на одногнездые воротки для инструмента с хвостовиками по СТ СЭВ 150-75 с размерами сторон квадрата от 1,8 до 31,5 мм.
Оглавление:Приложение Конструктивные размеры деталей воротков
Разработан: Министерство станкостроительной и инструментальной промышленности СССР
Всесоюзный научно-исследовательский инструментальный институт
Утверждён:22.03.1977 Госстандарт СССР (USSR Gosstandart 679)
Издан: Издательство стандартов (1977 г. )
Расположен в:Техническая документация Электроэнергия МАШИНОСТРОЕНИЕ Ручные инструменты Инструменты, управляемые вручную Режущие инструменты Метчики, резьбонарезные плашки Экология МАШИНОСТРОЕНИЕ Ручные инструменты Инструменты, управляемые вручную Режущие инструменты Метчики, резьбонарезные плашки
Заменяет собой:
  • МН 518-60 (Сведения из перечня "Указатель государственных стандартов СССР 1980 г.", Издательство стандартов 1980)
ГОСТ 22398-77ГОСТ 22398-77ГОСТ 22398-77ГОСТ 22398-77ГОСТ 22398-77ГОСТ 22398-77ГОСТ 22398-77ГОСТ 22398-77ГОСТ 22398-77ГОСТ 22398-77

© 2013 Ёшкин Кот :-) Карта сайта