| ||||||||||||||||||||||||||
Скачать ГОСТ 22163-76 Рис. Метод определения плотностиДата актуализации: 10.08.2017
|
| Обозначение: | ГОСТ 22163-76 |
| Обозначение англ: | GOST 22163-76 |
| Статус: | действует |
| Название рус.: | Рис. Метод определения плотности |
| Название англ.: | Rice. Method of determination of density |
| Дата добавления в базу: | 01.09.2013 |
| Дата актуализации: | 05.05.2017 |
| Дата введения: | 01.07.1977 |
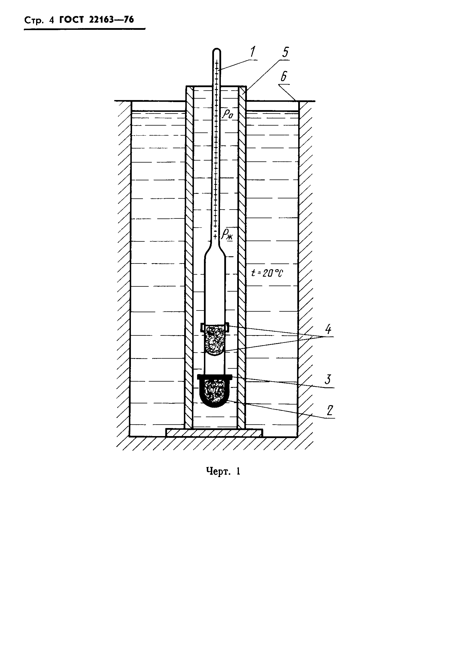
| Оглавление: | 1 Метод отбора проб 2 Аппаратура и реактивы 3 Подготовка к испытанию 4 Проведение испытания 5 Обработка результатов Приложение Описание приспособления для определения плотности шелушенного зерна риса |
| Утверждён: | 20.09.1976 Госстандарт СССР (USSR Gosstandart 2144) |
| Расположен в: |




