Скачать ГОСТ 21827-76 Патроны быстросменные кулачковые для гаечных метчиков с лысками, диаметром от 2,24 до 40 мм. Конструкция и размерыДата актуализации: 10.08.2017 ГОСТ 21827-76
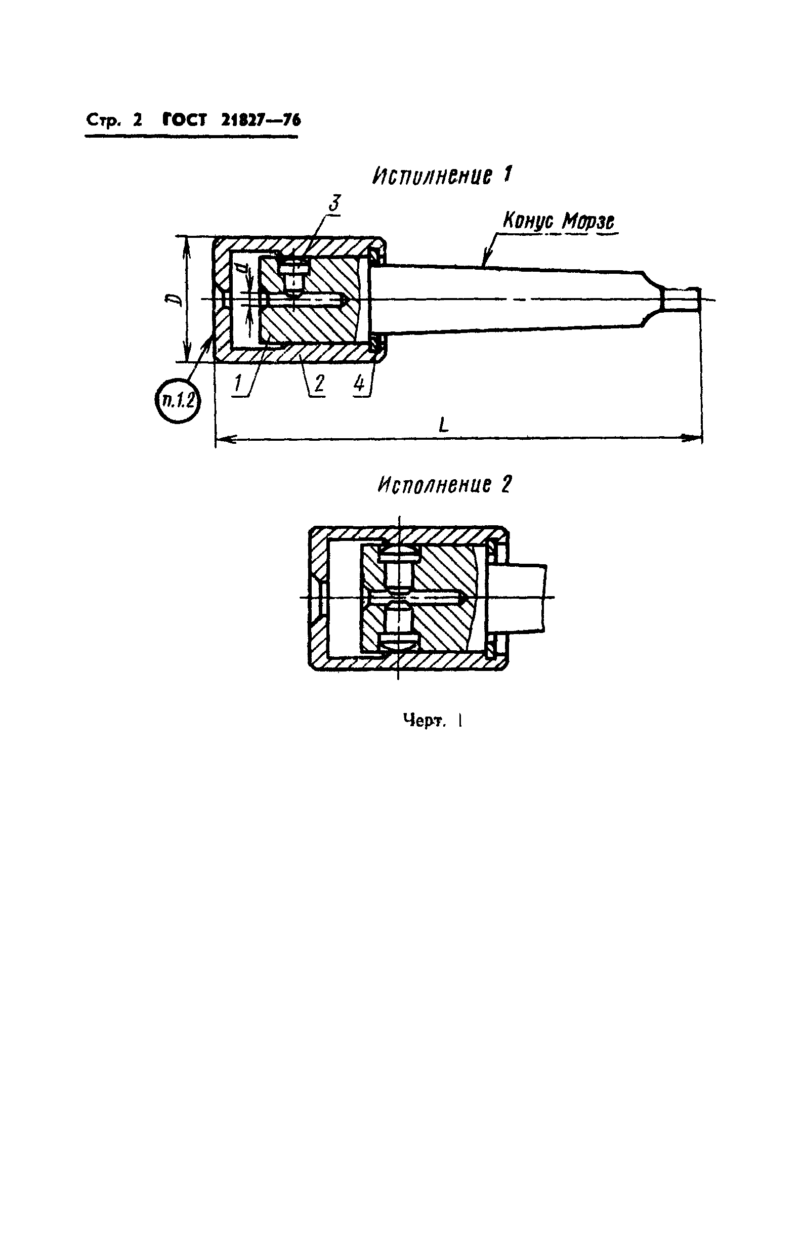
Патроны быстросменные кулачковые для гаечных метчиков с лысками, диаметром от 2,24 до 40 мм. Конструкция и размеры| Обозначение: | ГОСТ 21827-76 | | Обозначение англ: | GOST 21827-76 | | Статус: | действует | | Название рус.: | Патроны быстросменные кулачковые для гаечных метчиков с лысками, диаметром от 2,24 до 40 мм. Конструкция и размеры | | Название англ.: | Quick change cam chucks for nut taps with flats from 2,24 to 40 mm dia. Design and dimensions | | Дата добавления в базу: | 01.09.2013 | | Дата актуализации: | 05.05.2017 | | Дата введения: | 01.07.1977 | | Оглавление: | 1 Конструкция и размеры патронов 2 Конструкция и размеры корпусов (поз. 1) 3 Конструкция и размеры втулок (поз. 2) 4 Конструкция и размеры кулачков (поз. 3) | | Утверждён: | 14.05.1976 Госстандарт СССР (USSR Gosstandart 1201)
| | Расположен в: |
| | Заменяет собой: | |
              
|