| ||||||||||||||||||||||||||
Скачать ГОСТ 21459-82 Направляющие съемные для штампов листовой штамповки. Конструкция и размерыДата актуализации: 10.08.2017
|
| Обозначение: | ГОСТ 21459-82 |
| Обозначение англ: | GOST 21459-82 |
| Статус: | действует |
| Название рус.: | Направляющие съемные для штампов листовой штамповки. Конструкция и размеры |
| Название англ.: | Removable guides for sheet stamping dies. Construction and dimensions |
| Дата добавления в базу: | 01.09.2013 |
| Дата актуализации: | 05.05.2017 |
| Дата введения: | 01.07.1983 |
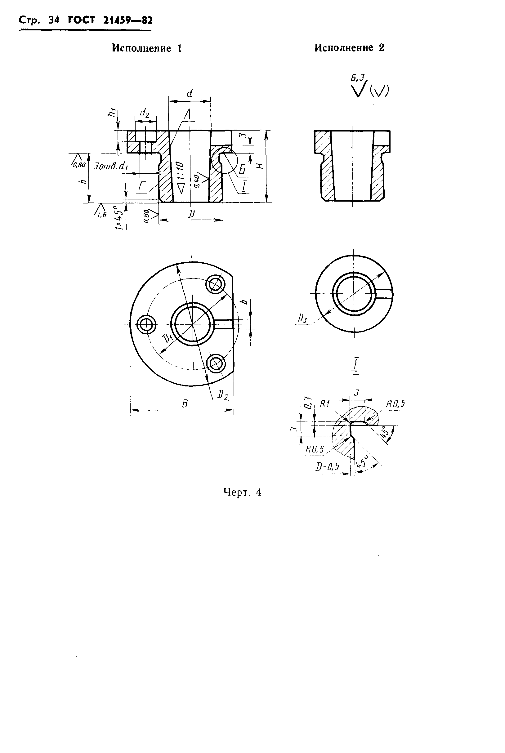
| Оглавление: | Приложение Примеры установки съемных направляющих на штампы |
| Утверждён: | 14.04.1982 Госстандарт СССР (USSR Gosstandart 1526) |
| Расположен в: |












































