| ||||||||||||||||||||||||||
Скачать ГОСТ 21251-85 Пневмораспределители пятилинейные золотниковые. Технические условияДата актуализации: 10.08.2017
|
| Обозначение: | ГОСТ 21251-85 |
| Обозначение англ: | GOST 21251-85 |
| Статус: | действует |
| Название рус.: | Пневмораспределители пятилинейные золотниковые. Технические условия |
| Название англ.: | Pneumatic directional control valves spool type with 5 ports for pn=10 bar |
| Дата добавления в базу: | 01.09.2013 |
| Дата актуализации: | 05.05.2017 |
| Дата введения: | 01.01.1987 |
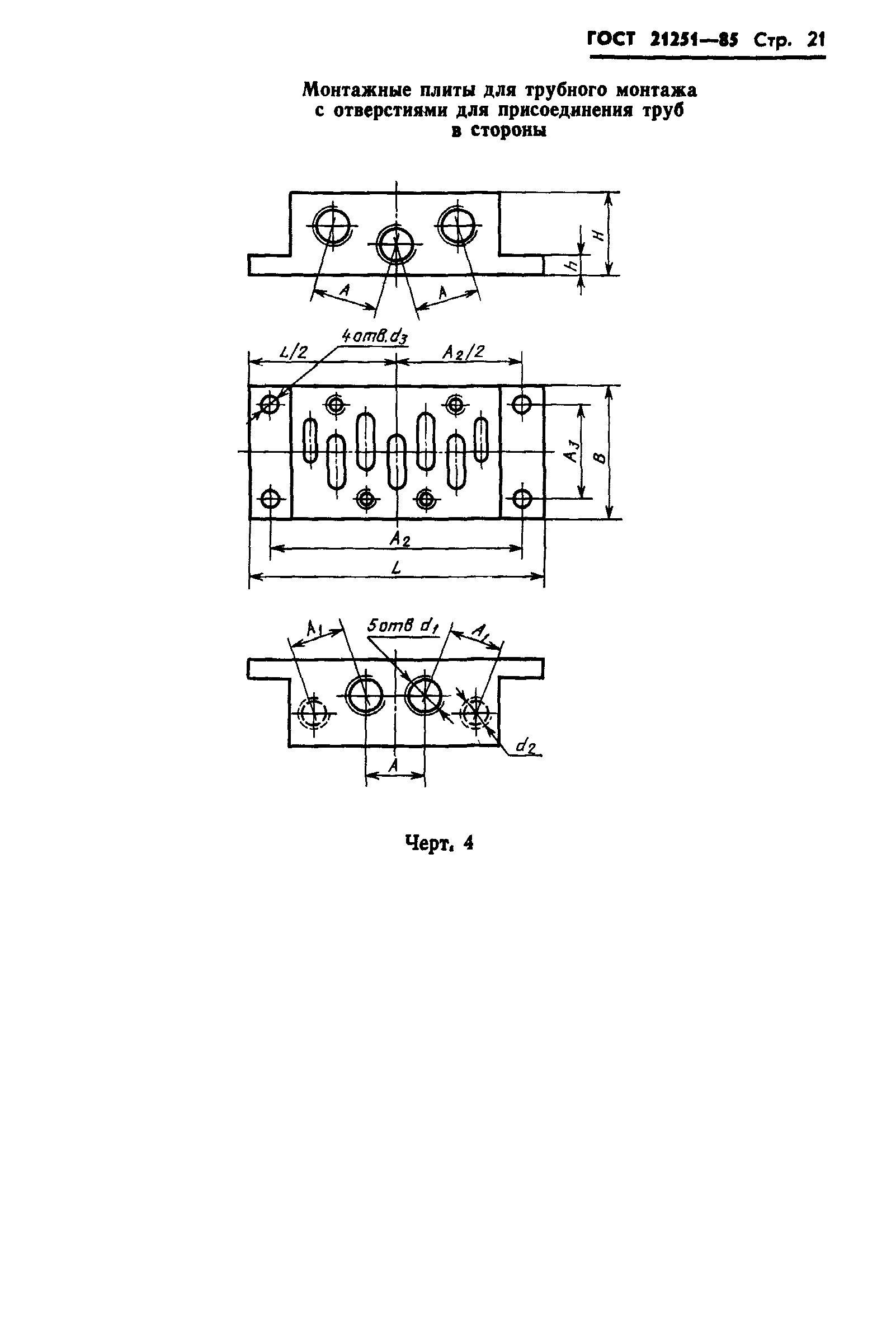
| Оглавление: | 1 Основные параметры и размеры 2 Технические требования 3 Требования безопасности 4 Комплектность 5 Правила приемки 6 Методы испытаний 7 Маркировка, упаковка, транспортирование и хранение 8 Указания по эксплуатации 9 Гарантии изготовителя Приложение 1 Коды ОКП базовых моделей распределителей Приложение 2 Требования к трубам, используемым для определения пропускной способности Приложение 3 Размеры концевых плит для батарейных блоков распределителей |
| Утверждён: | 16.12.1985 Госстандарт СССР (USSR Gosstandart 4021) |
| Расположен в: |













































