Скачать ГОСТ 20171-74 Вкладыши деревянные сменные длиной 1006 мм, шириной 606 мм для модельных плит. Конструкция и размерыДата актуализации: 10.08.2017 ГОСТ 20171-74
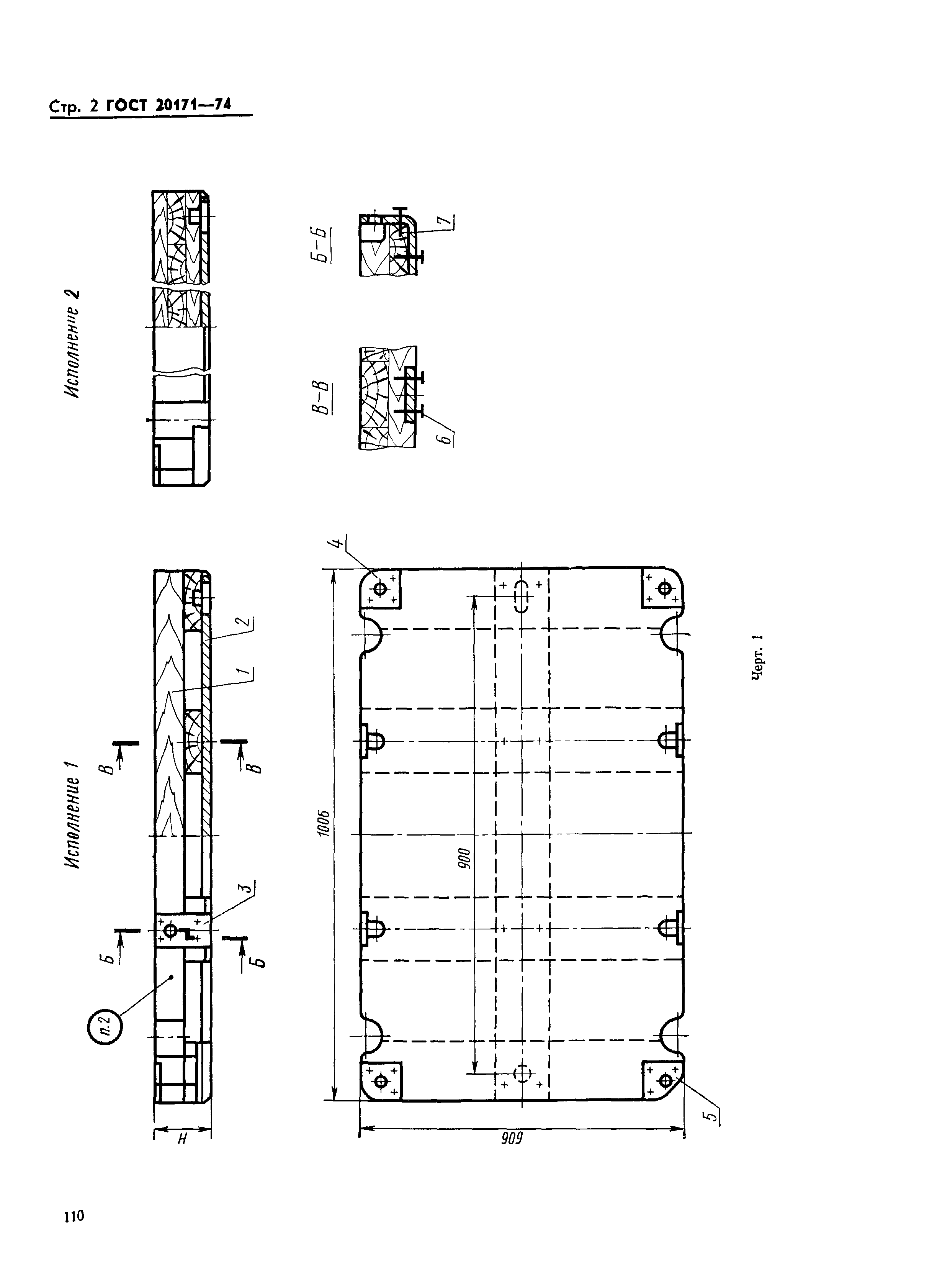
Вкладыши деревянные сменные длиной 1006 мм, шириной 606 мм для модельных плит. Конструкция и размеры| Обозначение: | ГОСТ 20171-74 | | Обозначение англ: | GOST 20171-74 | | Статус: | действует | | Название рус.: | Вкладыши деревянные сменные длиной 1006 мм, шириной 606 мм для модельных плит. Конструкция и размеры | | Название англ.: | Changeable wooden inserts by length 1006 mm, width 606 mm for pattern plates. Design and dimensions | | Дата добавления в базу: | 01.09.2013 | | Дата актуализации: | 05.05.2017 | | Дата введения: | 01.07.1975 | | Утверждён: | 27.08.1974 Госстандарт СССР (USSR Gosstandart 2067)
| | Расположен в: |
|
       
|