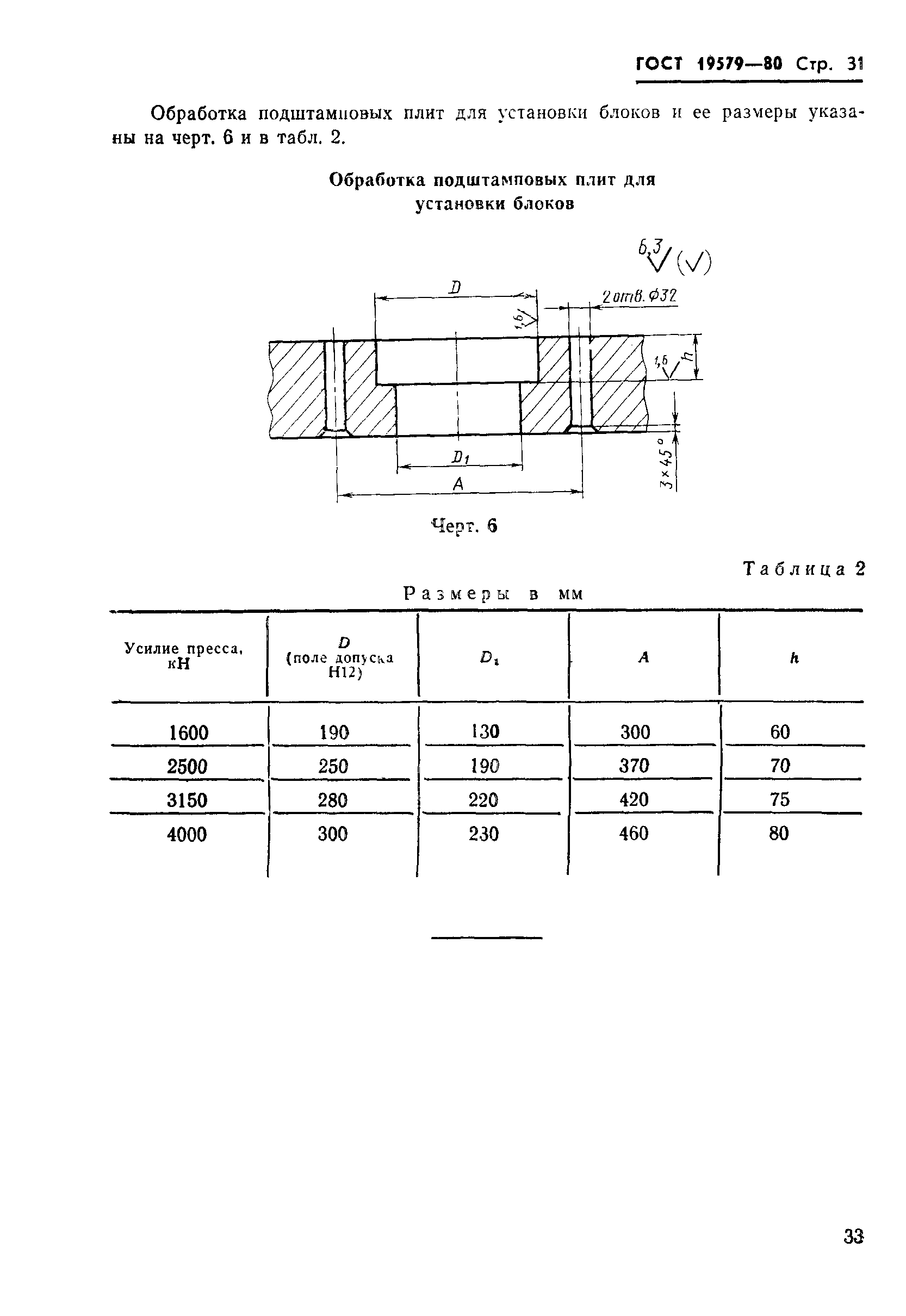
Скачать ГОСТ 19579-80 Блоки универсально-переналаживаемых штампов для точной объемной штамповки на кривошипных прессах. Конструкция и размерыДата актуализации: 10.08.2017 ГОСТ 19579-80
Блоки универсально-переналаживаемых штампов для точной объемной штамповки на кривошипных прессах. Конструкция и размеры| Обозначение: | ГОСТ 19579-80 | | Обозначение англ: | GOST 19579-80 | | Статус: | действует | | Название рус.: | Блоки универсально-переналаживаемых штампов для точной объемной штамповки на кривошипных прессах. Конструкция и размеры | | Название англ.: | Units of general purpose adjusting hammer dies for precision die forging by means of crank presses. Design and dimensions | | Дата добавления в базу: | 01.09.2013 | | Дата актуализации: | 05.05.2017 | | Дата введения: | 01.01.1982 | | Оглавление: | Приложение | | Утверждён: | 12.11.1980 Госстандарт СССР (USSR Gosstandart 5323)
| | Расположен в: |
|
                                  
|