Информационная система
«Ёшкин Кот»

Скачать базу одним архивом
Скачать обновления
История создания базы
Карта сайта

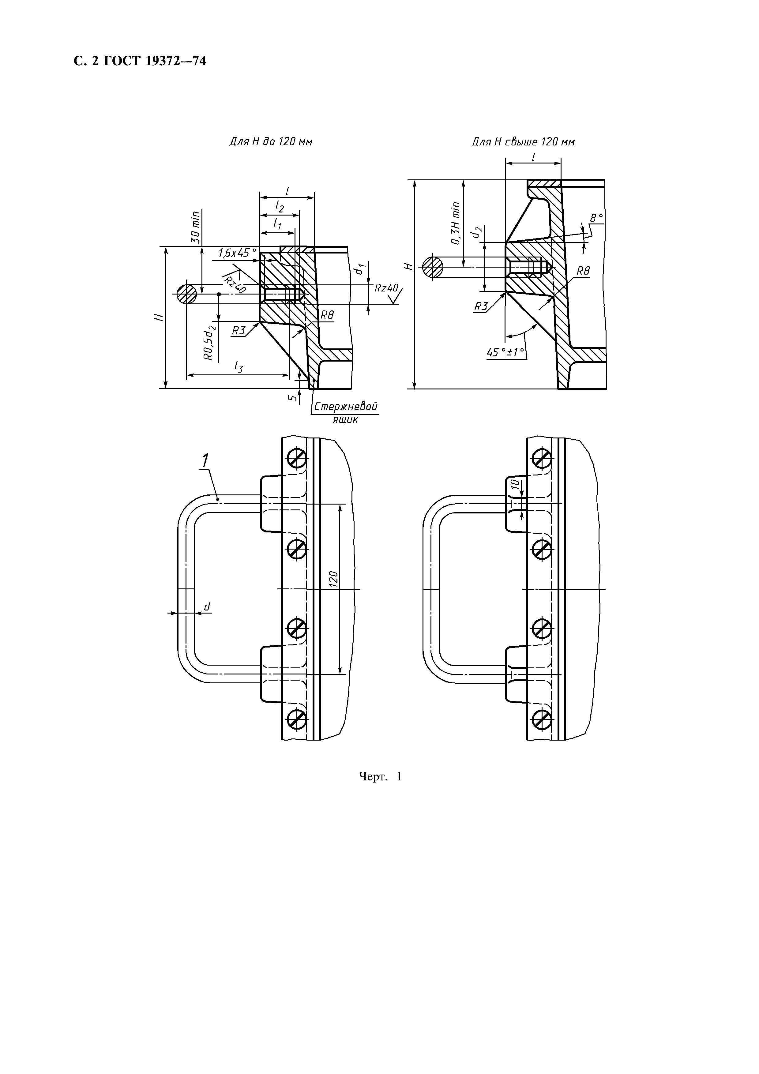
Скачать ГОСТ 19372-74 Приливы алюминиевых стержневых ящиков для ручек и скоб. Размеры

Дата актуализации: 10.08.2017

ГОСТ 19372-74

Приливы алюминиевых стержневых ящиков для ручек и скоб. Размеры

Обозначение: ГОСТ 19372-74
Обозначение англ: GOST 19372-74
Статус:действует
Название рус.:Приливы алюминиевых стержневых ящиков для ручек и скоб. Размеры
Название англ.:Pads for handles and cramps of aluminium core boxes. Dimensions
Дата добавления в базу:01.09.2013
Дата актуализации:05.05.2017
Дата введения:01.01.1975
Утверждён:11.01.1974 Госстандарт СССР (USSR Gosstandart 89)
Издан: Издательство стандартов (1974 г. )
Расположен в:Техническая документация Электроэнергия МАШИНОСТРОЕНИЕ Оборудование для бесстружечной обработки Оборудование для литья Экология МАШИНОСТРОЕНИЕ Оборудование для бесстружечной обработки Оборудование для литья
Заменяет собой:
  • МН 947-60
  • ГОСТ 21074-75 «Корпусы цельнолитые из алюминиевых сплавов для сменных вкладышей стержневых ящиков. Конструкция и размеры»
  • ГОСТ 21075-75 «Корпусы сборные из алюминиевых сплавов для сменных вкладышей стержневых ящиков. Конструкция и размеры»
  • ГОСТ 21076-75 «Корпусы сборные стальные для сменных вкладышей стержневых ящиков с внутренними размерами 1600 x1000 мм, 1800х 1200 мм и 2000х 1400 мм. Конструкция и размеры»
  • ГОСТ 21077-75 «Корпусы сборные стальные для сменных вкладышей стержневых ящиков с внутренними размерами 2500 х 1400 мм и 2500x2000 мм. Конструкция и размеры»
  • ГОСТ 21078-75 «Корпусы металлических стержневых ящиков для сменных вкладышей на встряхивающие формовочные литейные машины. Технические требования»
ГОСТ 19372-74ГОСТ 19372-74ГОСТ 19372-74ГОСТ 19372-74ГОСТ 19372-74ГОСТ 19372-74ГОСТ 19372-74

© 2013 Ёшкин Кот :-) Карта сайта