Информационная система
«Ёшкин Кот»

Скачать базу одним архивом
Скачать обновления
История создания базы
Карта сайта

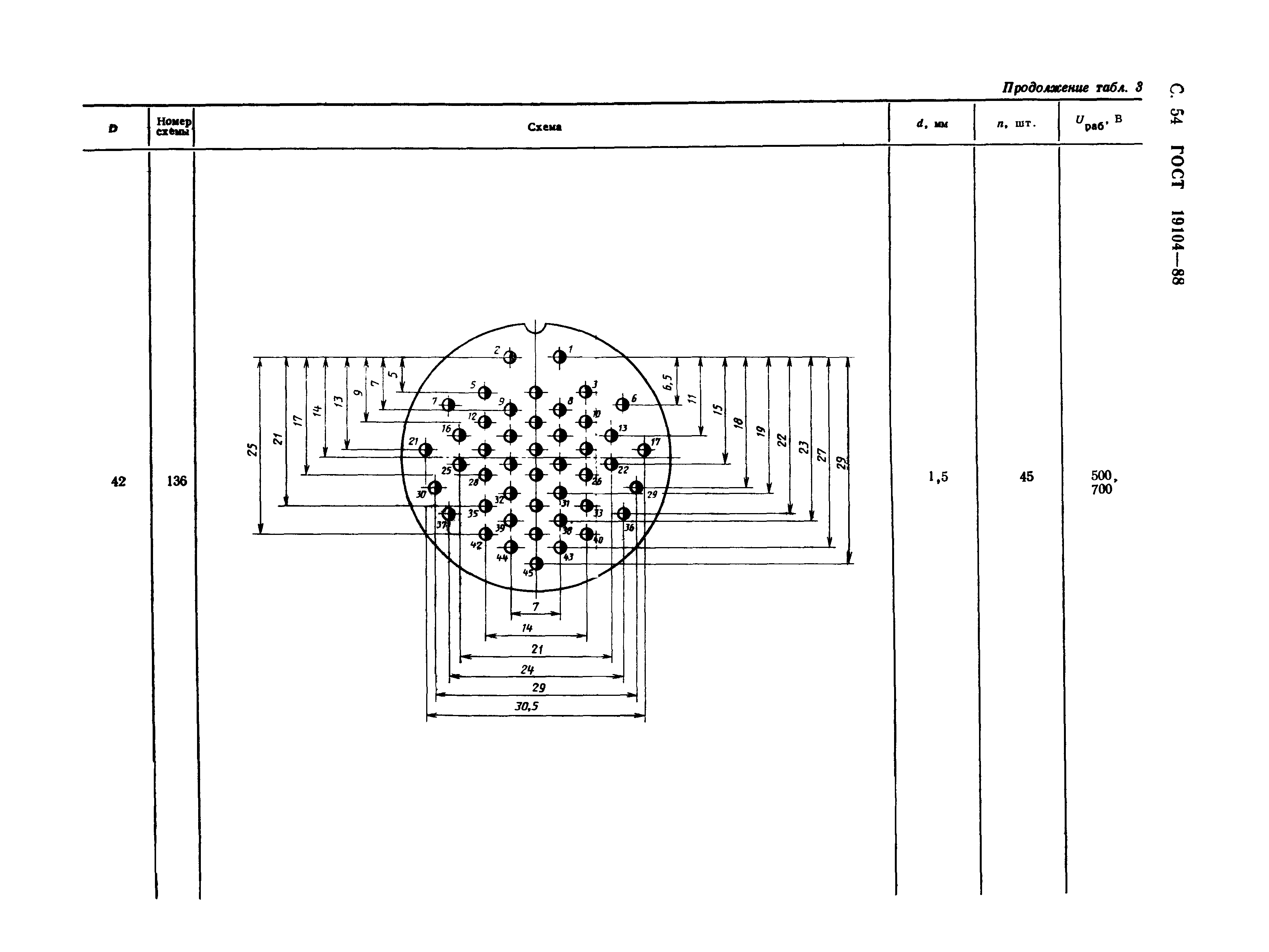
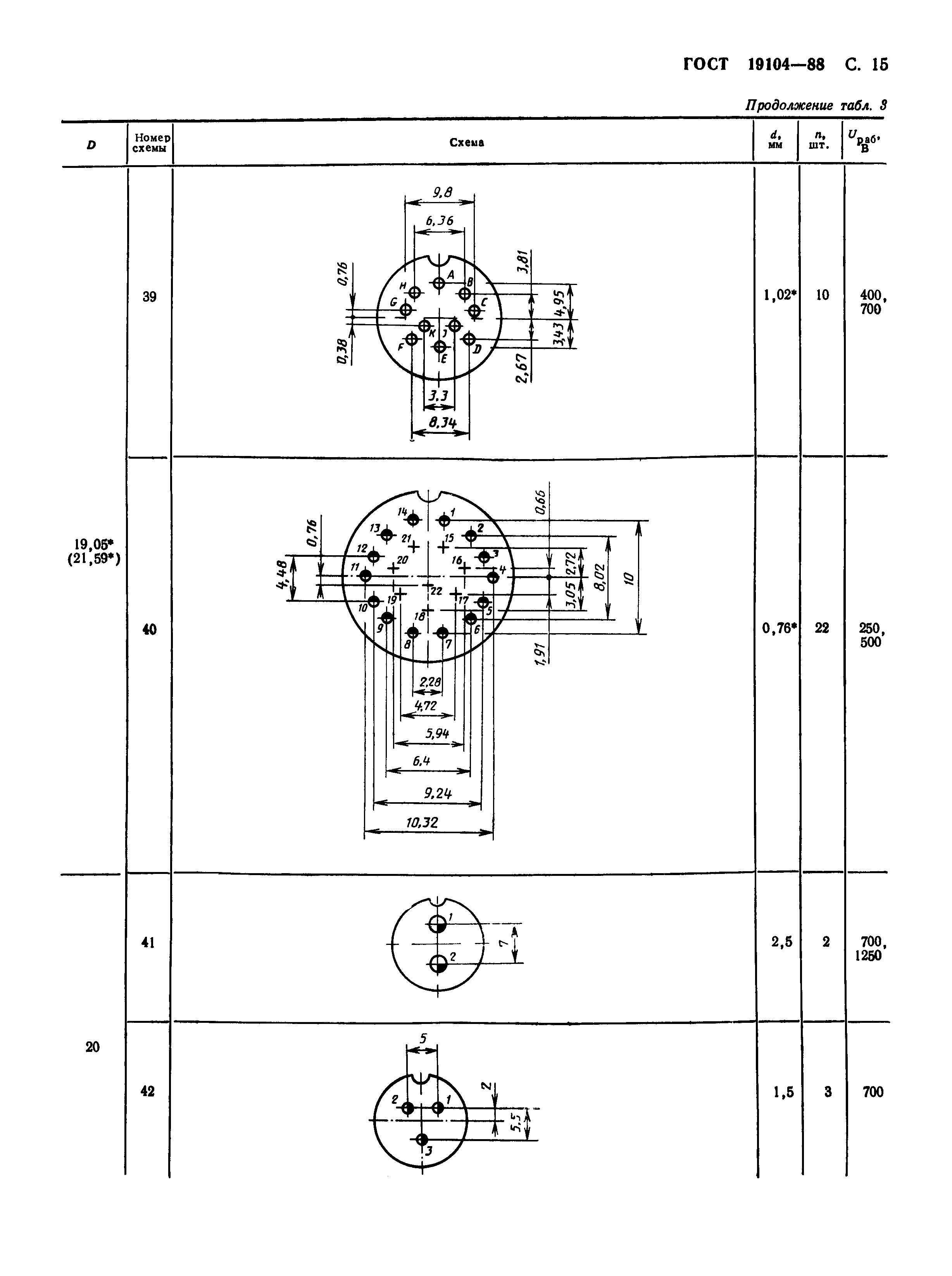
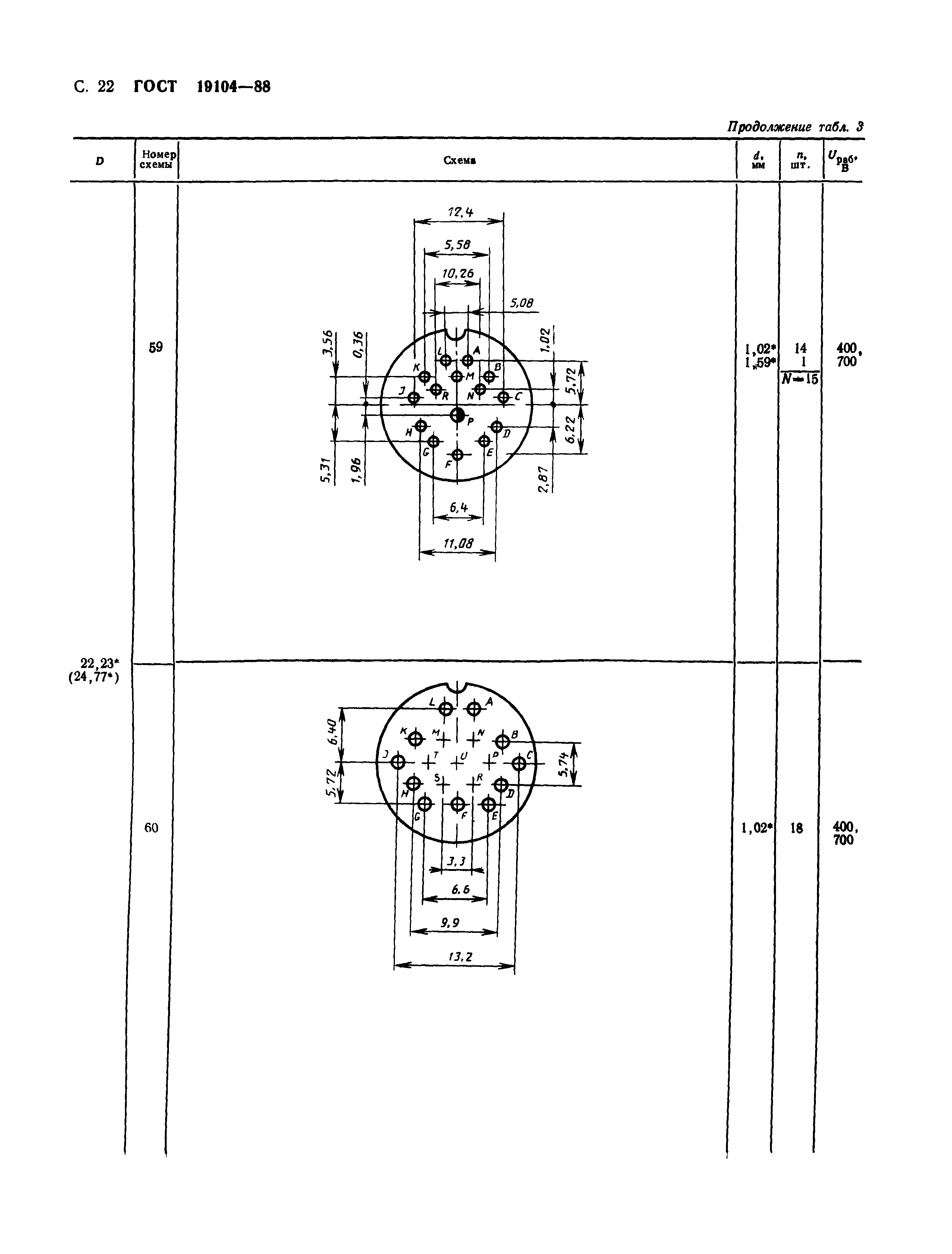
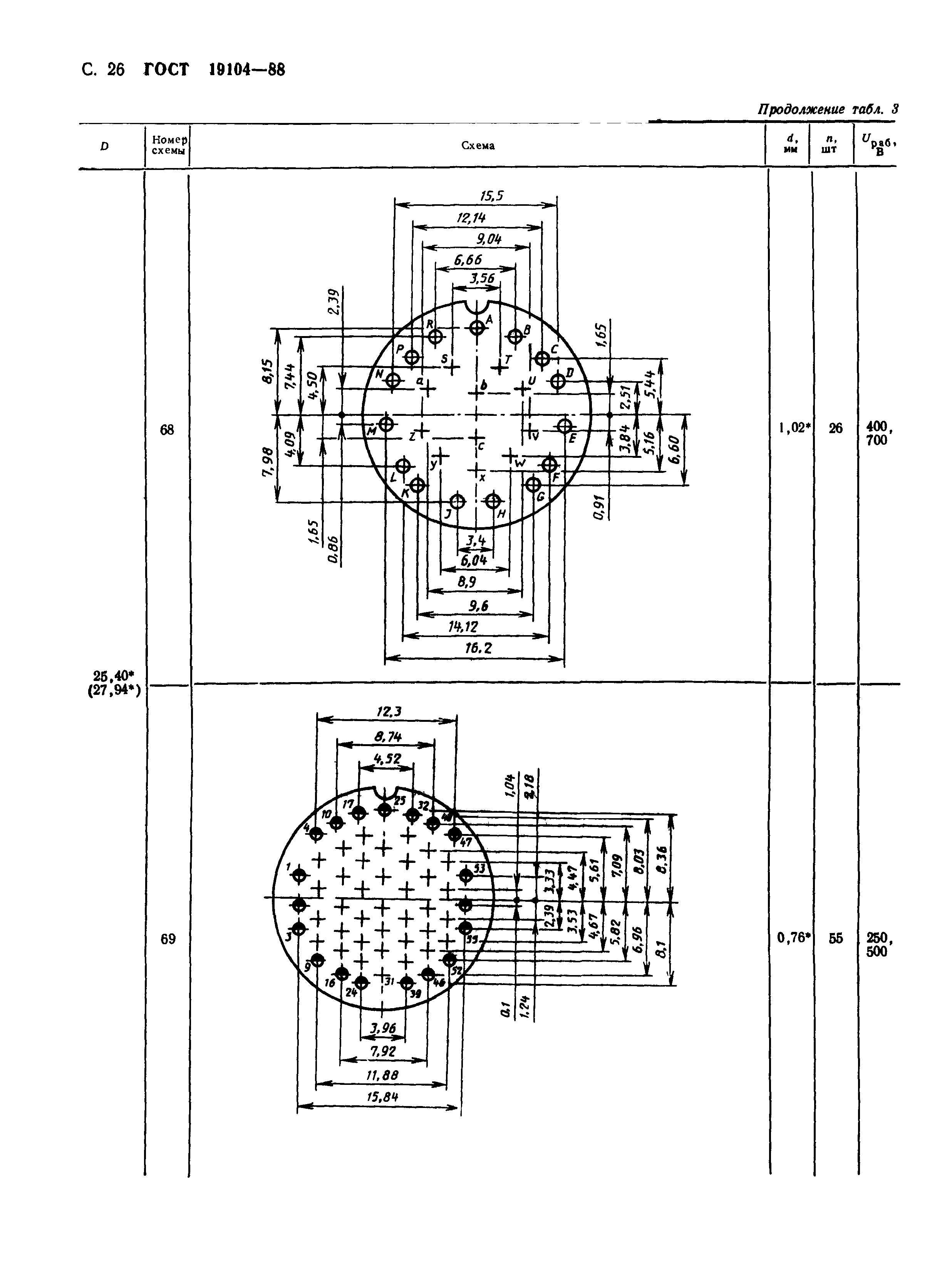
Скачать ГОСТ 19104-88 Соединители низкочастотные на напряжение до 1500 В цилиндрические. Основные параметры и размеры

Дата актуализации: 10.08.2017

ГОСТ 19104-88

Соединители низкочастотные на напряжение до 1500 В цилиндрические. Основные параметры и размеры

Обозначение: ГОСТ 19104-88
Обозначение англ: GOST 19104-88
Статус:взамен
Название рус.:Соединители низкочастотные на напряжение до 1500 В цилиндрические. Основные параметры и размеры
Название англ.:Low-frequency voltage up to 1500 v cylindrical connectors. Basic parameters and dimentions
Дата добавления в базу:01.09.2013
Дата актуализации:05.05.2017
Дата введения:01.01.1989
Область применения:Стандарт распространяется на низкочастотные (до З МГц) на напряжение до 1500 В цилиидрические соединители общего назначения (далее — соединители) и устанавливает их основные параметры и размеры. Стандарт не распространяется на соединители, ТЗ на разработку которых утверждены до 01.01.88
Утверждён:26.07.1988 Государственный комитет СССР по стандартам (USSR National Committee on Standards 2756)
Издан: Издательство стандартов (1988 г. )
Расположен в:Техническая документация Электроэнергия ЭЛЕКТРОНИКА Электромеханические компоненты электронного оборудования и телекоммуникационного оборудования Штепсельные разъемы. Соединители Экология ЭЛЕКТРОНИКА Электромеханические компоненты электронного оборудования и телекоммуникационного оборудования Штепсельные разъемы. Соединители
Список изменений:
Заменяет собой:
  • ГОСТ 19104-79 «Соединители низкочастотные на напряжение до 1500 В цилиндрические. Основные параметры и размеры» (ИУС 11-88)
Нормативные ссылки:
ГОСТ 19104-88ГОСТ 19104-88ГОСТ 19104-88ГОСТ 19104-88ГОСТ 19104-88ГОСТ 19104-88ГОСТ 19104-88ГОСТ 19104-88ГОСТ 19104-88ГОСТ 19104-88ГОСТ 19104-88ГОСТ 19104-88ГОСТ 19104-88ГОСТ 19104-88ГОСТ 19104-88ГОСТ 19104-88ГОСТ 19104-88ГОСТ 19104-88ГОСТ 19104-88ГОСТ 19104-88ГОСТ 19104-88ГОСТ 19104-88ГОСТ 19104-88ГОСТ 19104-88ГОСТ 19104-88ГОСТ 19104-88ГОСТ 19104-88ГОСТ 19104-88ГОСТ 19104-88ГОСТ 19104-88ГОСТ 19104-88ГОСТ 19104-88ГОСТ 19104-88ГОСТ 19104-88ГОСТ 19104-88ГОСТ 19104-88ГОСТ 19104-88ГОСТ 19104-88ГОСТ 19104-88ГОСТ 19104-88ГОСТ 19104-88ГОСТ 19104-88ГОСТ 19104-88ГОСТ 19104-88ГОСТ 19104-88ГОСТ 19104-88ГОСТ 19104-88ГОСТ 19104-88ГОСТ 19104-88ГОСТ 19104-88ГОСТ 19104-88ГОСТ 19104-88ГОСТ 19104-88ГОСТ 19104-88ГОСТ 19104-88ГОСТ 19104-88ГОСТ 19104-88ГОСТ 19104-88ГОСТ 19104-88ГОСТ 19104-88ГОСТ 19104-88ГОСТ 19104-88ГОСТ 19104-88ГОСТ 19104-88ГОСТ 19104-88ГОСТ 19104-88ГОСТ 19104-88ГОСТ 19104-88

Текстовое изменение № 1 от 01.11.1990

№ 1№ 1№ 1№ 1

© 2013 Ёшкин Кот :-) Карта сайта