| ||||||||||||||||||||||||||
Скачать ГОСТ 18825-84 Китель шерстяной ведомственного назначения. Технические условияДата актуализации: 10.08.2017
|
| Обозначение: | ГОСТ 18825-84 |
| Обозначение англ: | GOST 18825-84 |
| Статус: | действует |
| Название рус.: | Китель шерстяной ведомственного назначения. Технические условия |
| Название англ.: | Wool tunic for authorities departmental militarized gurad. Specifications |
| Дата добавления в базу: | 01.09.2013 |
| Дата актуализации: | 05.05.2017 |
| Дата введения: | 01.01.1986 |
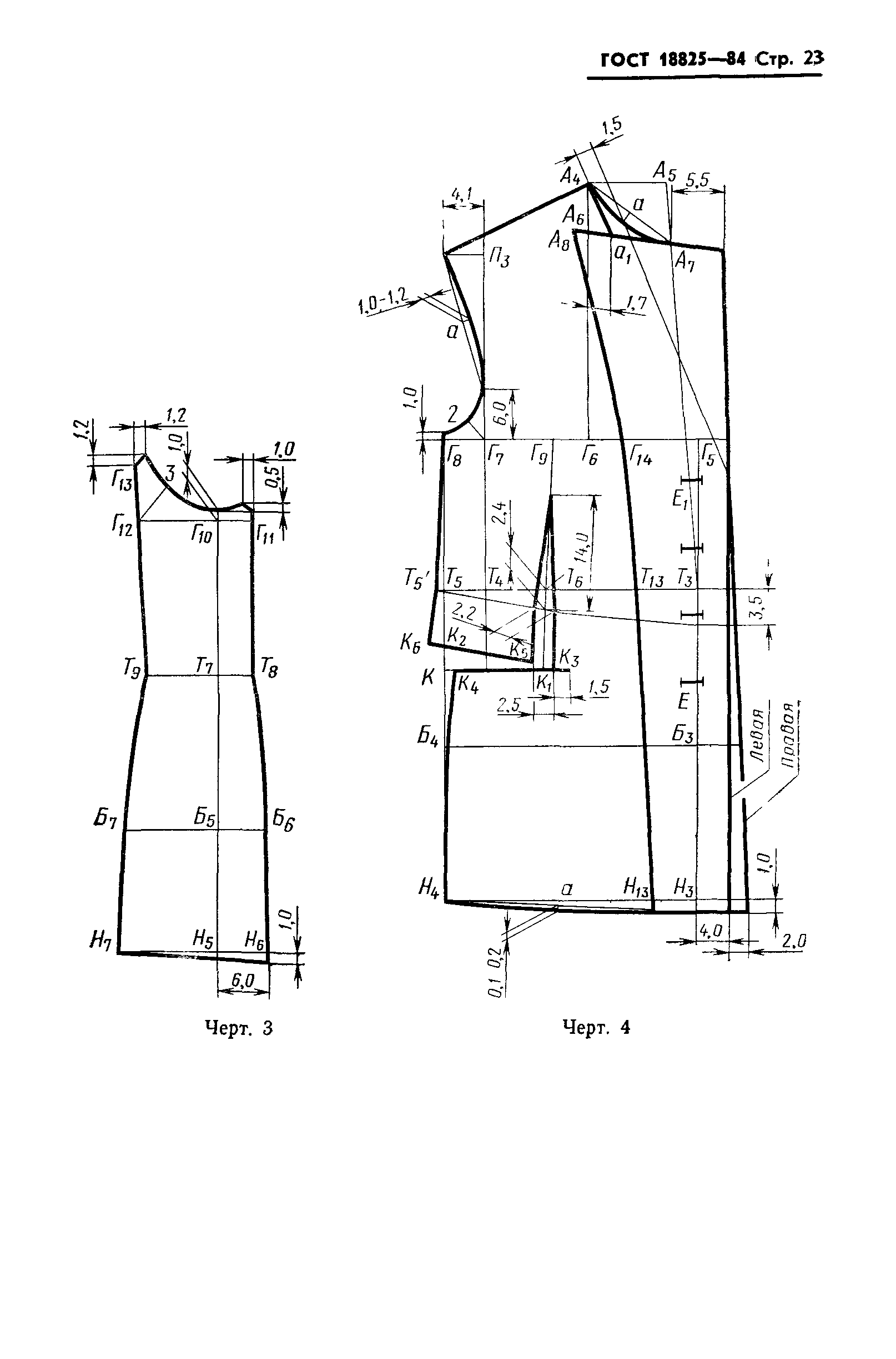
| Оглавление: | 1 Основные размеры 2 Технические требования 3 Правила приемки и методы контроля 4 Маркировка, упаковка, транспортирование и хранение Приложение 1 Пособие для построения чертежей лекал кителя Приложение 2 Спецификация деталей кителя |
| Утверждён: | 18.12.1984 Госстандарт СССР (USSR Gosstandart 4516) |
| Расположен в: |





































