| ||||||||||||||||||||||||||||||||||||||
Скачать ГОСТ 17531-72 Оправки кулачковые фланцевые с пневматическим зажимом. Конструкция и размерыДата актуализации: 10.08.2017
|
| Обозначение: | ГОСТ 17531-72 |
| Обозначение англ: | GOST 17531-72 |
| Статус: | заменен |
| Название рус.: | Оправки кулачковые фланцевые с пневматическим зажимом. Конструкция и размеры |
| Название англ.: | Flanged cam arbors with pneumatic clamp. Design and dimensions |
| Дата добавления в базу: | 01.10.2014 |
| Дата актуализации: | 05.05.2017 |
| Дата введения: | 01.01.1999 |
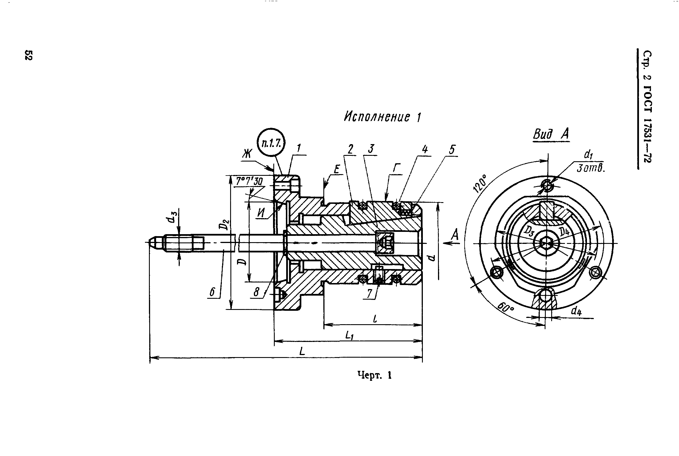
| Область применения: | Стандарт распространяется на кулачковые фланцевые оправки с пневматическим зажимом, предназначенные для установки и закрепления толстостенных заготовок при механической обработке на металлорежущих станках. |
| Оглавление: | 1 Конструкция и размеры оправок 2 Конструкция и размеры корпусов (деталь 1) 3 Конструкция и размеры втулок (деталь 3) 4 Конструкция и размеры тяг (деталь 6) Приложение к ГОСТ 17531-72 (рекомендуемое) Рекомендуемые размеры упорных втулок и примеры применения их с кулачковыми фланцевыми оправками |
| Разработан: | ВНИИНМАШ Управление станкоинструментальной промышленности и межотраслевых производств Государственного комитета стандарта Совета Министров СССР Министерство станкостроительной и инструментальной промышленности |
| Утверждён: | 02.02.1972 Государственный комитет стандартов Совета Министров СССР (USSR National Committee on Standards at the Cabinet of Ministers 353) 03.12.1971 Госкомстандартов Совета Министров СССР (172) |
| Издан: | Издательство стандартов (1972 г. ) |
| Расположен в: | |
| Заменяет собой: |
|
| Чем заменён: | |
| Нормативные ссылки: |
























