Информационная система
«Ёшкин Кот»

Скачать базу одним архивом
Скачать обновления
История создания базы
Карта сайта

Скачать ГОСТ 17467-88 Микросхемы интегральные. Основные размеры

Дата актуализации: 10.08.2017

ГОСТ 17467-88

Микросхемы интегральные. Основные размеры

Обозначение: ГОСТ 17467-88
Обозначение англ: GOST 17467-88
Статус:отменен в рф
Название рус.:Микросхемы интегральные. Основные размеры
Название англ.:Integrated microcircuits. Basic dimensions
Дата добавления в базу:01.09.2013
Дата актуализации:05.05.2017
Дата введения:01.09.2013
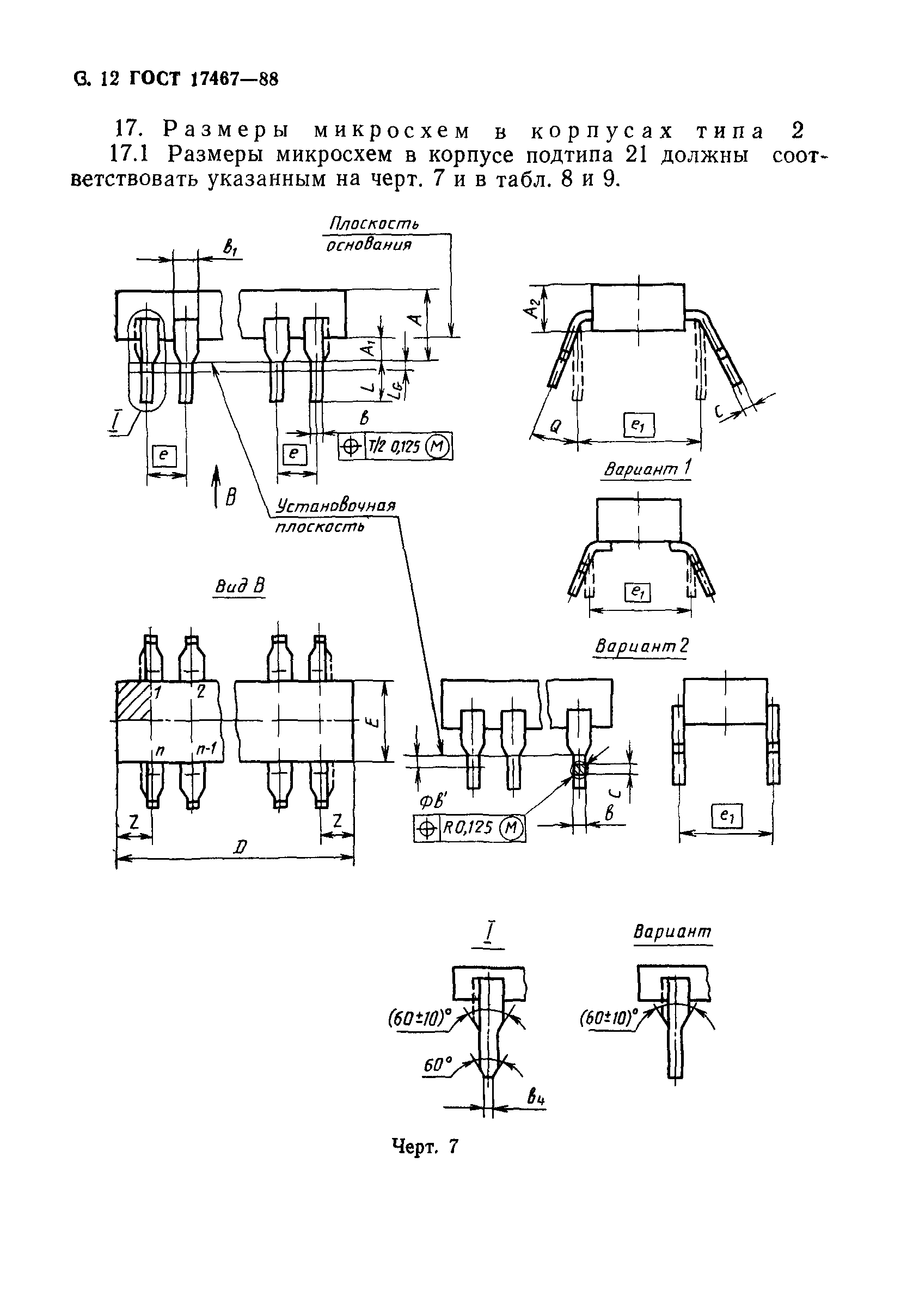
Область применения:Стандарт распространяется на интегральные микросхемы в корпусах и устанавливает их габаритные и присоединительные размеры. Стандарт не распространяется на микросхемы СВЧ диапазона.
Оглавление:Приложение 1 Термины и буквенные обозначения, применяемые в стандарте
Приложение 2 Типы и подтипы корпусов микросхем и их условные обозначения
Приложение 3 Указание о нанесении размеров на габаритных чертежах микросхем
Приложение 4 Формы для определения габаритных размеров микросхем
Приложение 5 Соответствие габаритно-присоединительных размеров микросхем в корпусах, условные обозначения которым присвоено до 1.01.89, типоразмерам по ГОСТ 17467
Утверждён:22.12.1988 Госстандарт СССР (USSR Gosstandart 4400)
Издан: Издательство стандартов (1989 г. )
Расположен в:Техническая документация Электроэнергия ЭЛЕКТРОНИКА Интегральные схемы. Микроэлектроника Печатные схемы и платы Экология ЭЛЕКТРОНИКА Интегральные схемы. Микроэлектроника Печатные схемы и платы
Заменяет собой:
  • РД 11 0422-87
  • ОСТ 11 073.924-81
  • ГОСТ 17467-79 «Микросхемы интегральные. Основные размеры»
Нормативные ссылки:
ГОСТ 17467-88ГОСТ 17467-88ГОСТ 17467-88ГОСТ 17467-88ГОСТ 17467-88ГОСТ 17467-88ГОСТ 17467-88ГОСТ 17467-88ГОСТ 17467-88ГОСТ 17467-88ГОСТ 17467-88ГОСТ 17467-88ГОСТ 17467-88ГОСТ 17467-88ГОСТ 17467-88ГОСТ 17467-88ГОСТ 17467-88ГОСТ 17467-88ГОСТ 17467-88ГОСТ 17467-88ГОСТ 17467-88ГОСТ 17467-88ГОСТ 17467-88ГОСТ 17467-88ГОСТ 17467-88ГОСТ 17467-88ГОСТ 17467-88ГОСТ 17467-88ГОСТ 17467-88ГОСТ 17467-88ГОСТ 17467-88ГОСТ 17467-88ГОСТ 17467-88ГОСТ 17467-88ГОСТ 17467-88ГОСТ 17467-88ГОСТ 17467-88ГОСТ 17467-88ГОСТ 17467-88ГОСТ 17467-88ГОСТ 17467-88ГОСТ 17467-88ГОСТ 17467-88ГОСТ 17467-88ГОСТ 17467-88ГОСТ 17467-88ГОСТ 17467-88ГОСТ 17467-88ГОСТ 17467-88ГОСТ 17467-88ГОСТ 17467-88ГОСТ 17467-88ГОСТ 17467-88ГОСТ 17467-88ГОСТ 17467-88ГОСТ 17467-88ГОСТ 17467-88ГОСТ 17467-88ГОСТ 17467-88ГОСТ 17467-88ГОСТ 17467-88ГОСТ 17467-88ГОСТ 17467-88ГОСТ 17467-88ГОСТ 17467-88

© 2013 Ёшкин Кот :-) Карта сайта