Информационная система
«Ёшкин Кот»

Скачать базу одним архивом
Скачать обновления
История создания базы
Карта сайта

Скачать ГОСТ 14810-69 Калибры-пробки гладкие двусторонние со вставками диаметром свыше 3 до 50 мм. Конструкция и размеры

Дата актуализации: 10.08.2017

ГОСТ 14810-69

Калибры-пробки гладкие двусторонние со вставками диаметром свыше 3 до 50 мм. Конструкция и размеры

Обозначение: ГОСТ 14810-69
Обозначение англ: GOST 14810-69
Статус:действует
Название рус.:Калибры-пробки гладкие двусторонние со вставками диаметром свыше 3 до 50 мм. Конструкция и размеры
Название англ.:Double-end internal gauges with inserts with diameter over 3 to 50 mm. Design and dimensions
Дата добавления в базу:01.09.2013
Дата актуализации:05.05.2017
Дата введения:01.01.1971
Оглавление:1 Конструкция и размеры гладких двусторонних калибров-пробок
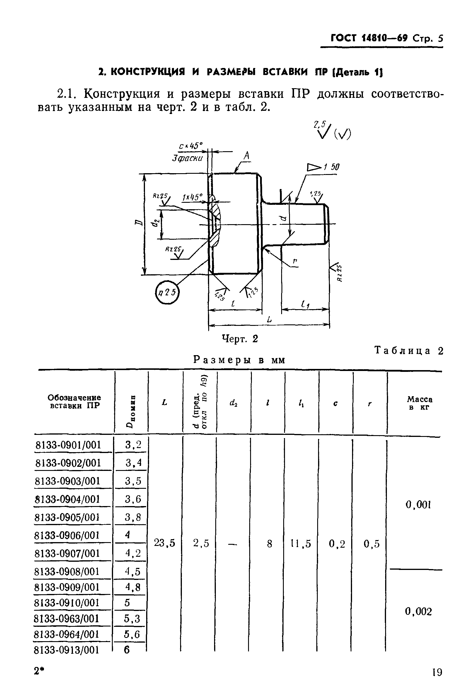
2 Конструкция и размеры вставки ПР (Деталь 1)
3 Конструкция и размеры вставки НЕ (деталь 2)
Утверждён:07.07.1969 Госстандарт СССР (USSR Gosstandart 771)
Расположен в:Техническая документация Электроэнергия МЕТРОЛОГИЯ И ИЗМЕРЕНИЯ. ФИЗИЧЕСКИЕ ЯВЛЕНИЯ Линейные и угловые измерения Измерительные приборы Экология МЕТРОЛОГИЯ И ИЗМЕРЕНИЯ. ФИЗИЧЕСКИЕ ЯВЛЕНИЯ Линейные и угловые измерения Измерительные приборы
Заменяет собой:
  • МН 4123-62 (Сведения из перечня "Указатель государственных стандартов СССР 1970 г.", Издательство комитета стандартов 1970)
ГОСТ 14810-69ГОСТ 14810-69ГОСТ 14810-69ГОСТ 14810-69ГОСТ 14810-69ГОСТ 14810-69ГОСТ 14810-69ГОСТ 14810-69ГОСТ 14810-69ГОСТ 14810-69ГОСТ 14810-69ГОСТ 14810-69ГОСТ 14810-69

© 2013 Ёшкин Кот :-) Карта сайта