Информационная система
«Ёшкин Кот»

Скачать базу одним архивом
Скачать обновления
История создания базы
Карта сайта

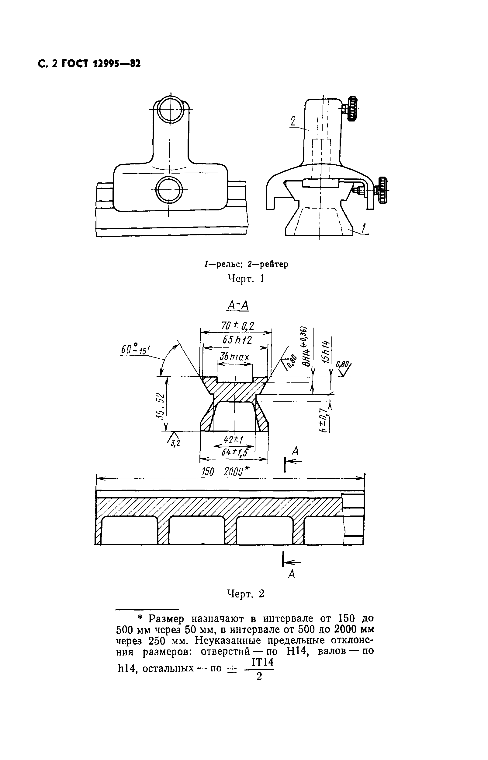
Скачать ГОСТ 12995-82 Скамья оптическая трапецеидального профиля. Основные и сопрягаемые размеры. Технические требования

Дата актуализации: 10.08.2017

ГОСТ 12995-82

Скамья оптическая трапецеидального профиля. Основные и сопрягаемые размеры. Технические требования

Обозначение: ГОСТ 12995-82
Обозначение англ: GOST 12995-82
Статус:действует
Название рус.:Скамья оптическая трапецеидального профиля. Основные и сопрягаемые размеры. Технические требования
Название англ.:Optical banch of trapezoidal profile. Main and conjugated dimensions. Technical requirements
Дата добавления в базу:01.09.2013
Дата актуализации:05.05.2017
Дата введения:01.01.1984
Оглавление:1. Основные и сопрягательные размеры
2. Технические требования
Утверждён:29.07.1982 Госстандарт СССР (USSR Gosstandart 2948)
Расположен в:Техническая документация Электроэнергия МЕТРОЛОГИЯ И ИЗМЕРЕНИЯ. ФИЗИЧЕСКИЕ ЯВЛЕНИЯ Оптика и оптические измерения Оптические измерительные приборы Экология МЕТРОЛОГИЯ И ИЗМЕРЕНИЯ. ФИЗИЧЕСКИЕ ЯВЛЕНИЯ Оптика и оптические измерения Оптические измерительные приборы
ГОСТ 12995-82ГОСТ 12995-82ГОСТ 12995-82ГОСТ 12995-82ГОСТ 12995-82ГОСТ 12995-82ГОСТ 12995-82

© 2013 Ёшкин Кот :-) Карта сайта