| ||||||||||||||||||||||||||||||||||
Скачать ГОСТ 12.2.054-81 Система стандартов безопасности труда. Установки ацетиленовые. Требования безопасностиДата актуализации: 10.08.2017
|
| Обозначение: | ГОСТ 12.2.054-81 |
| Обозначение англ: | GOST 12.2.054-81 |
| Статус: | действует |
| Название рус.: | Система стандартов безопасности труда. Установки ацетиленовые. Требования безопасности |
| Название англ.: | Occupational safety standards system. Acetilene installations. Safety requirements |
| Дата добавления в базу: | 01.09.2013 |
| Дата актуализации: | 05.05.2017 |
| Дата введения: | 01.07.1981 |
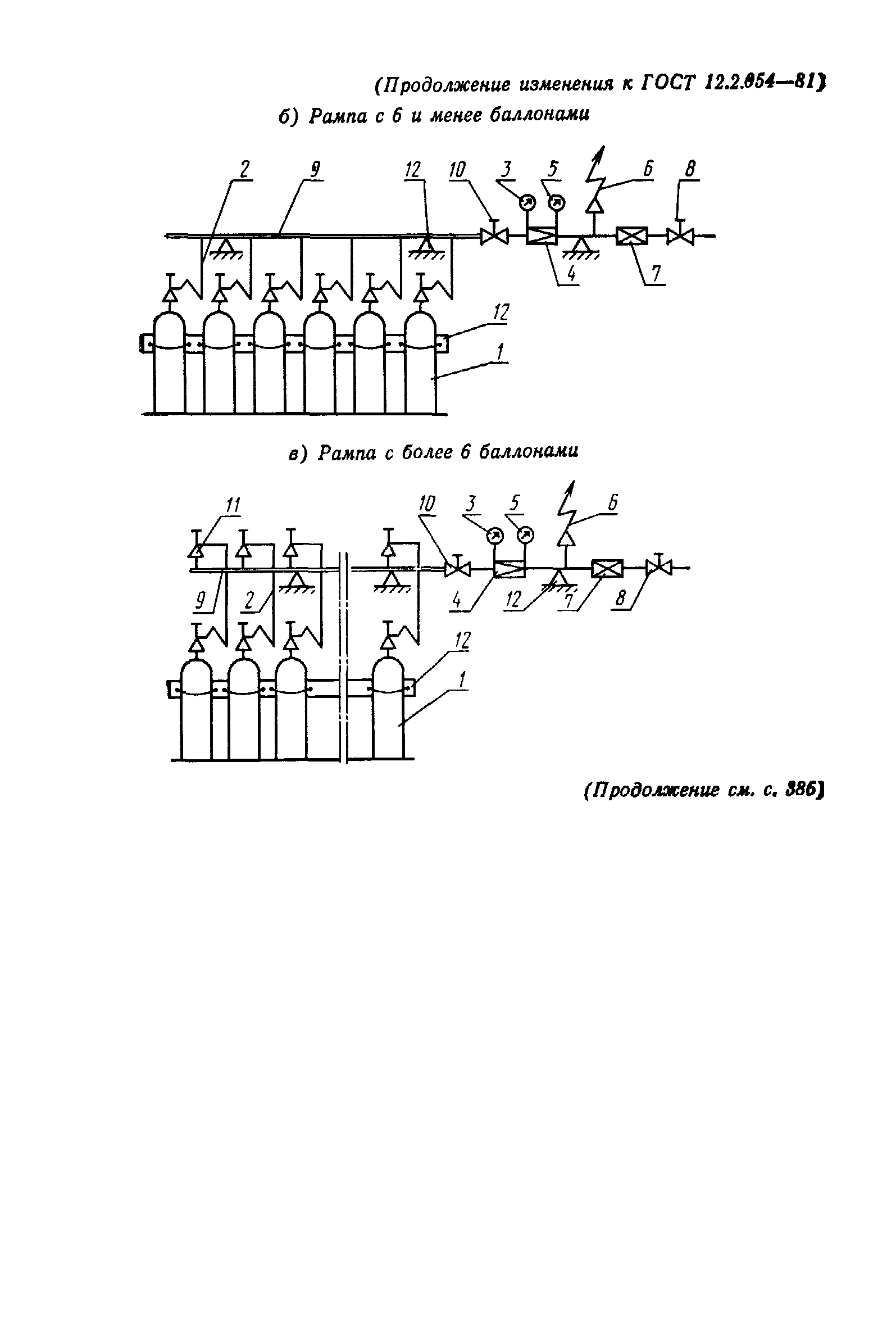
| Область применения: | Стандарт распрстраняется на ацетиленовые установки, включабщие стационарное оборудование для получения ацетилена при взаимодействий карбида кальция и воды, для хранения, очистки, сжатия, охлаждения, осушки, наполнения баллонов, хранения карбида, а также батареи ацетиленовых баллонов, каплеотделители, предохранительные устройства и ацетиленопроводы, и устанавливает требования безопасности к конструкции, изготовлению, испытанию, приемке и маркировке. |
| Оглавление: | 1. Общие требования 2. Требования к стационарным генераторам, газгольдерам, очистителям и осушителям ацетилена 3. Требования к каплеотделителям 4. Требования к запорной арматуре и предохранительным пламегасящим устройствам 5. Требования к батареям баллонов ацетилена 6. Требования к оборудованию для сжатия ацетилена 7. Требования к оборудованию для наполнения ацетиленом 8. Требования к измерительным приборам и арматуре 9. Методы испытаний 10. Маркировка 11. Документация Приложение 1 (справочное) Классификация предохранительных пламегасящих устройств Приложение 2 (справочное) Пояснения к терминам, применяемым в стандарте |
| Утверждён: | 19.05.1981 Государственный комитет СССР по стандартам (USSR National Committee on Standards 2456) |
| Издан: | Издательство стандартов (1981 г. ) ИПК Издательство стандартов (2002 г. ) |
| Расположен в: | |
| Список изменений: |
|
| Нормативные ссылки: |
|












Текстовое изменение № 2 от 01.02.1990




