Информационная система
«Ёшкин Кот»

Скачать базу одним архивом
Скачать обновления
История создания базы
Карта сайта

Скачать ГОСТ Р 51984-2002 Конвейеры шахтные ленточные. Общие технические условия

Дата актуализации: 10.08.2017

ГОСТ Р 51984-2002

Конвейеры шахтные ленточные. Общие технические условия

Обозначение: ГОСТ Р 51984-2002
Обозначение англ: GOST R 51984-2002
Статус:отменен
Название рус.:Конвейеры шахтные ленточные. Общие технические условия
Название англ.:Mine belt conveyers. General specifications
Дата добавления в базу:01.09.2013
Дата актуализации:05.05.2017
Дата введения:01.01.2014
Область применения:Стандарт распространяется на шахтные ленточные конвейеры, предназначенные для транспортирования горной массы и перевозки людей по горным выработкам с углами наклона от минус 25° до плюс 25°.
Оглавление:1 Область применения
2 Нормативные ссылки
3 Определения и обозначения
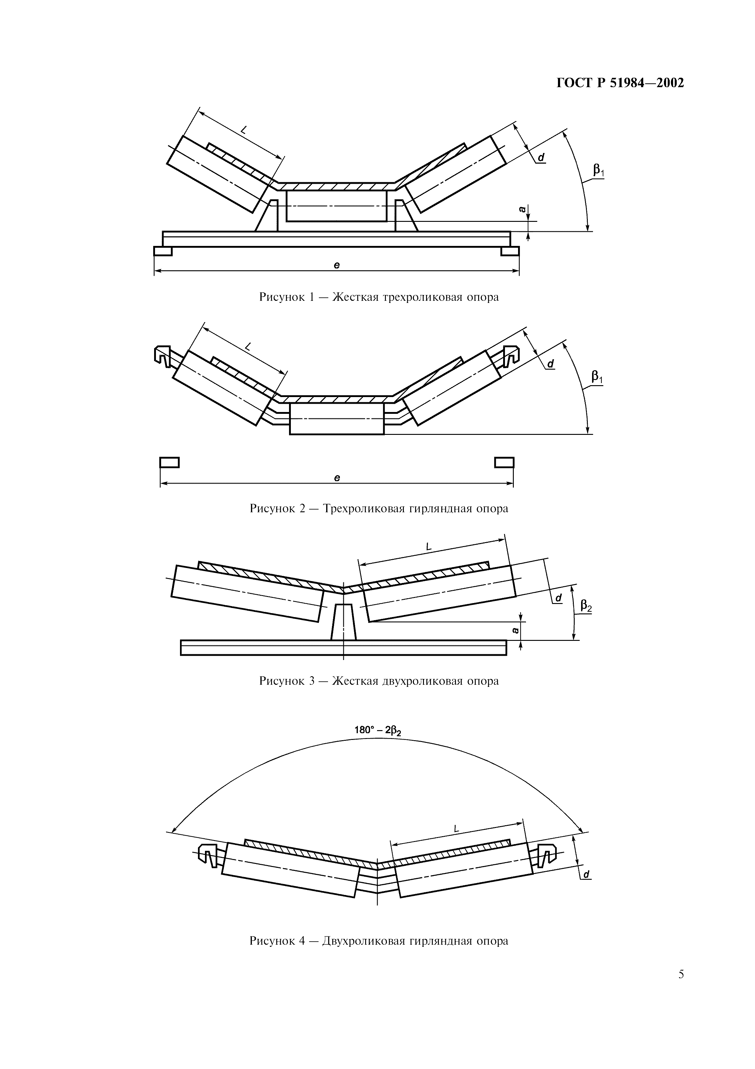
4 Основные параметры и размеры
5 Общие технические требования
   5.1 Требования назначения
   5.2 Конструктивные требования
   5.3 Требования надежности
   5.4 Требования унификации
   5.5 Комплектность
   5.6 Требования к материалам и покупным изделиям
   5.7 Маркировка
6 Требования безопасности
7 Правила приемки
8 Методы контроля
9 Транспортирование и хранение
10 Указания по эксплуатации
11 Гарантии изготовителя
Приложение А Метод определения 90 %-ного ресурса става
Приложение Б Порядок составления условного обозначения шахтных ленточных конвейеров
Приложение В Библиография
Разработан: ФГУП ННЦ ГП- ИГД им. А.А.Скочинского
ООО НПК ТРАНСБЕЛТ
Утверждён:15.12.2002 Госстандарт России (Russian Federation Gosstandart 476-ст)
Издан: ИПК Издательство стандартов (2003 г. )
Расположен в:Техническая документация Электроэнергия ГОРНОЕ ДЕЛО И ПОЛЕЗНЫЕ ИСКОПАЕМЫЕ Горное оборудование Оборудование для откатки и подъема Экология ГОРНОЕ ДЕЛО И ПОЛЕЗНЫЕ ИСКОПАЕМЫЕ Горное оборудование Оборудование для откатки и подъема Строительство Стандарты Другие государственные стандарты, применяемые в строительстве Горное дело и полезные ископаемые
Нормативные ссылки:
ГОСТ Р 51984-2002ГОСТ Р 51984-2002ГОСТ Р 51984-2002ГОСТ Р 51984-2002ГОСТ Р 51984-2002ГОСТ Р 51984-2002ГОСТ Р 51984-2002ГОСТ Р 51984-2002ГОСТ Р 51984-2002ГОСТ Р 51984-2002ГОСТ Р 51984-2002ГОСТ Р 51984-2002ГОСТ Р 51984-2002ГОСТ Р 51984-2002ГОСТ Р 51984-2002ГОСТ Р 51984-2002ГОСТ Р 51984-2002

© 2013 Ёшкин Кот :-) Карта сайта