| ||||||||||||||||||||||||||||||||||||
Скачать ГОСТ 8.563.2-97 Государственная система обеспечения единства измерений. Измерение расхода и количества жидкостей и газов методом переменного перепада давления. Методика выполнения измерений с помощью сужающих устройствДата актуализации: 10.08.2017
|
| Обозначение: | ГОСТ 8.563.2-97 |
| Обозначение англ: | GOST 8.563.2-97 |
| Статус: | отменен в рф |
| Название рус.: | Государственная система обеспечения единства измерений. Измерение расхода и количества жидкостей и газов методом переменного перепада давления. Методика выполнения измерений с помощью сужающих устройств |
| Название англ.: | State system for ensuring the uniformity of measurements. Measurement of liquids and gases flow rate and quantity by differential pressure method. Measurement procedure by orifice instruments |
| Дата добавления в базу: | 01.09.2013 |
| Дата актуализации: | 05.05.2017 |
| Дата введения: | 01.01.2007 |
| Область применения: | Стандарт устанавливает методику выполнения измерений (МВИ) расхода и количества жидкостей и газов с помощью измерительных комплексов. Положения стандарта распространяются на измерения расхода и количества среды измерительными комплексами как отечественного, так и зарубежного производства, изготовленными в соответствии с требованиями настоящего стандарта. |
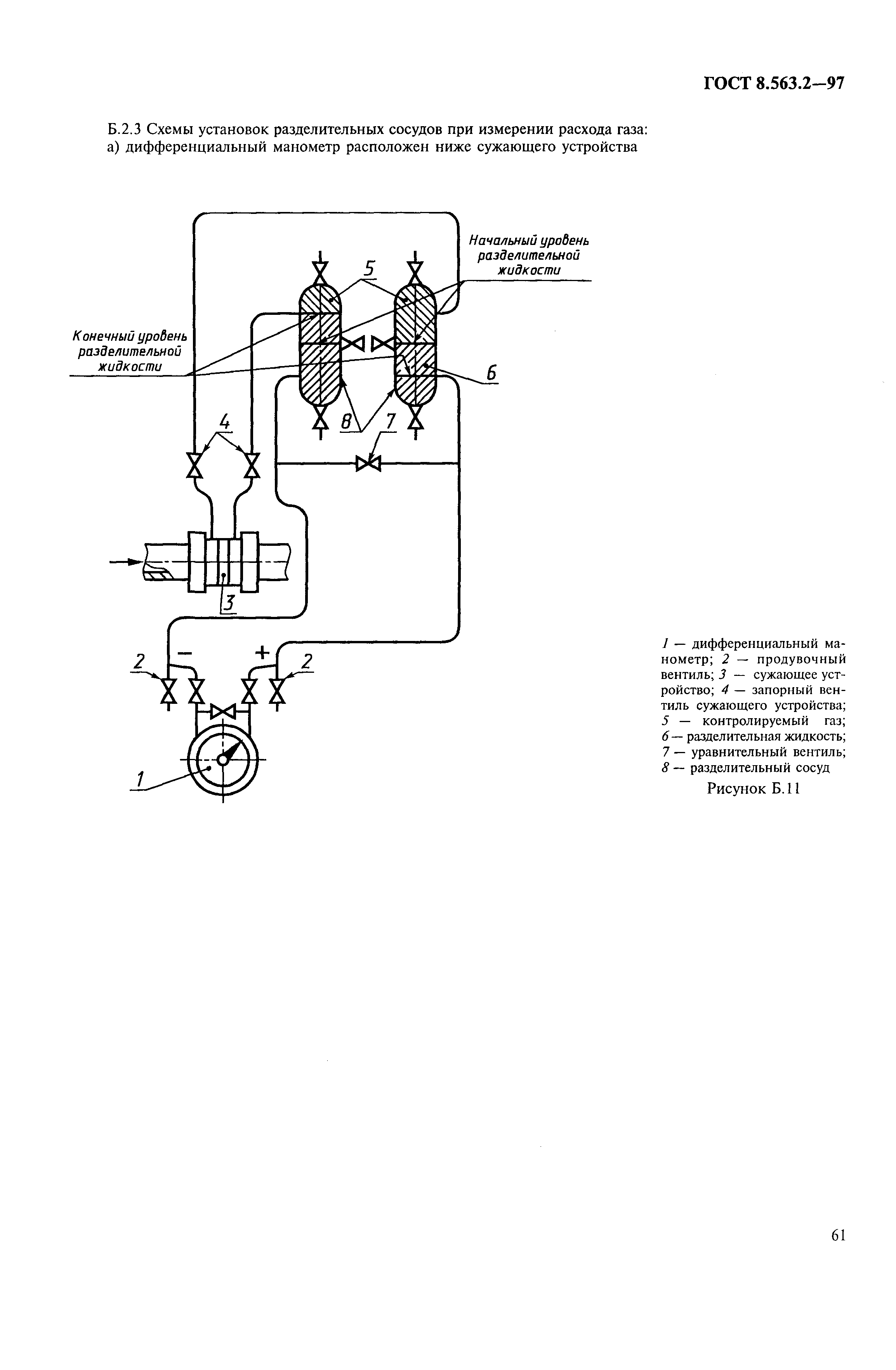
| Оглавление: | 1 Область применения 2 Нормативные ссылки 3 Обозначения 3.1 Обозначения параметров 3.2 Индексы обозначений параметров 4 Условия проведения измерений 5 Метод измерений 5.1 Уравнения расхода среды 5.2 Уравнения количества среды и теплоты сгорания 6 Средства измерений и требования к их монтажу 6.1 Измерительные комплексы 6.2 Средства измерений перепада давления и давления 6.3 средства измерений температуры 6.4 Средства измерений плотности, состава и влажности среды 6.5 Вычислительные устройства 7 Подготовка к измерениям и их проведение 8 Обработка результатов измерений 8.1 Расчет расхода среды 8.2 Расчет количества среды с помощью вычислительных устройств 8.3 Расчет количества среды по результатам планиметрирования диаграмм или по показаниям интегрирующих устройств 8.4 Дополнительные сведения о расчете расхода и количества среды 8.5 Требования к квалификации оператора 9 Оценка погрешности определения расхода и количества среды 9.1 Общие положения 9.2 Классификация погрешностей 9.3 Условия определения погрешности 9.4 Расчет погрешности результатов измерений 9.5 Составляющие погрешности 9.6 Погрешность измерений расхода и количества среды сужающими устройствами, установленными в параллельных измерительных трубопроводах Приложение А Зависимости, используемые при расчете расхода и количества среды Приложение Б Схемы установок разделительных сосудов Приложение В Схемы присоединения дифманометров Приложение Г Планиметрирование диаграмм и обработка показаний интегрирующих устройств Приложение Д Оценка погрешности измерений количества среды при нестационарном режиме течения потока Приложение Е Примеры расчета количества среды Приложение Ж Библиография |
| Разработан: | Фирма Газприборавтоматика ВНИИР Госстандарта России НПО ВНИИМ им. Д.И. Менделеева |
| Утверждён: | 11.12.1997 Госстандарт России (Russian Federation Gosstandart 410) 25.04.1997 Межгосударственный Совет по стандартизации, метрологии и сертификации (Inter-Governmental Council on Standardization, Metrology, and Certification 11-97) |
| Издан: | ИПК Издательство стандартов (1998 г. ) |
| Расположен в: | |
| Заменяет собой: |
|
| Нормативные ссылки: |
|
























































































