| ||||||||||||||||||||||||
Скачать Руководство по проектированию коммуникационных тоннелей и каналовДата актуализации: 10.08.2017 |
| Статус: | cправочные материалы, мп, тпр |
| Название рус.: | Руководство по проектированию коммуникационных тоннелей и каналов |
| Название англ.: | Guide to the Design of Utility Tunnels and Ducts |
| Дата добавления в базу: | 01.09.2013 |
| Дата актуализации: | 05.05.2017 |
| Область применения: | Руководство распространяется на проектирование сборных, сборно-монолитных и монолитных тоннелей и каналов, сооруженных на территориях промышленных предприятий открытым способом. В руководстве изложены общие положения по проектированию тоннелей и каналов, унификация внутренних размеров, даны материалы по нагрузкам, методы расчета несущих конструкций, приведены решения по гидроизоляции и основные технологические требования. |
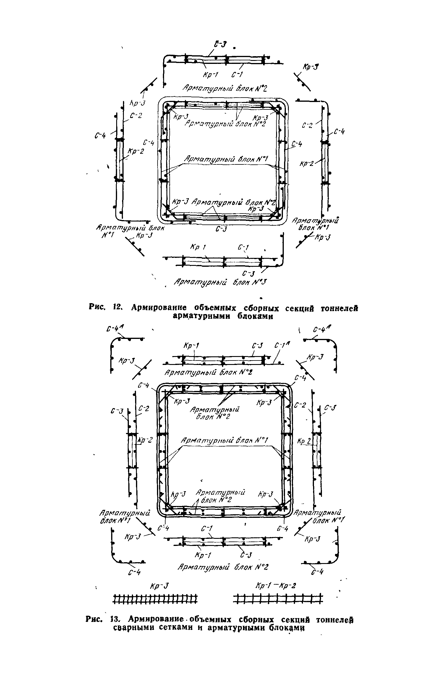
| Оглавление: | Предисловие 1 Общие положения 2 Унификация внутренних размеров 3 Конструкции тоннелей и каналов Узлы трасс тоннелей и каналов 4 Нагрузки и основные расчетные положения Нагрузки Основные расчетные положения 5 Методы расчета несущих конструкций 6 Гидроизоляция и защита конструкций от коррозии 7 Основные технологические требования Расположение коммуникаций внутри тоннелей и каналов Вентиляция Освещение Водоудаление Приложение 1 Нормативный объемный вес материалов Приложение 2 График для определения расчетного эквивалентного вертикального давления на перекрытие тоннелей и каналов от подвижных автодорожных нагрузок Приложение 3 Равномерно распределенные расчетные давления под колесами НК-80, Н-30 и Н-10 Приложение 4 График для определения расчетного вертикального эквивалентного давления на перекрытие тоннелей и каналов от подвижного состава железных дорог класса К-14 Приложение 5 Моменты в тоннелях с шарнирами в стенках Приложение 6 Моменты в тоннелях с шарнирами в уровне перекрытия Приложение 7 Моменты в тоннелях с жесткими узлами Приложение 8 Пример расчета и армирования тоннеля |
| Утверждён: | ЦНИИпромзданий Госстроя СССР (TsNIIpromzdaniy, USSR Gosstroy ) |
| Издан: | Стройиздат (1979 г. ) |
| Расположен в: |







































































