| ||||||||||||||||||||||||||||||||||||
Скачать ВСН 12-73 Указания по определению грузоподъемности деревянных мостов с учетом их технического состоянияДата актуализации: 10.08.2017
|
| Обозначение: | ВСН 12-73 |
| Обозначение англ: | VSN 12-73 |
| Статус: | действует |
| Название рус.: | Указания по определению грузоподъемности деревянных мостов с учетом их технического состояния |
| Название англ.: | Guidelines for Determining Load-Carrying Capacity of Wooden Bridges According to Their Operating Condition |
| Дата добавления в базу: | 01.09.2013 |
| Дата актуализации: | 05.05.2017 |
| Дата введения: | 01.06.1974 |
| Область применения: | В Указаниях изложены рекомендации по обследованию деревянных мостов, определению их грузоподъемности с учетом технического состояния, упрощенным испытаниям, пропуску единичных тяжелых нагрузок и временному усилению. Они предназначены для работников дорожно-эксплуатационной службы с целью оказания помощи в ускоренном определении грузоподъемности мостов и возможности пропуска по ним различных типов автомобилей, автопоездов и тракторов. |
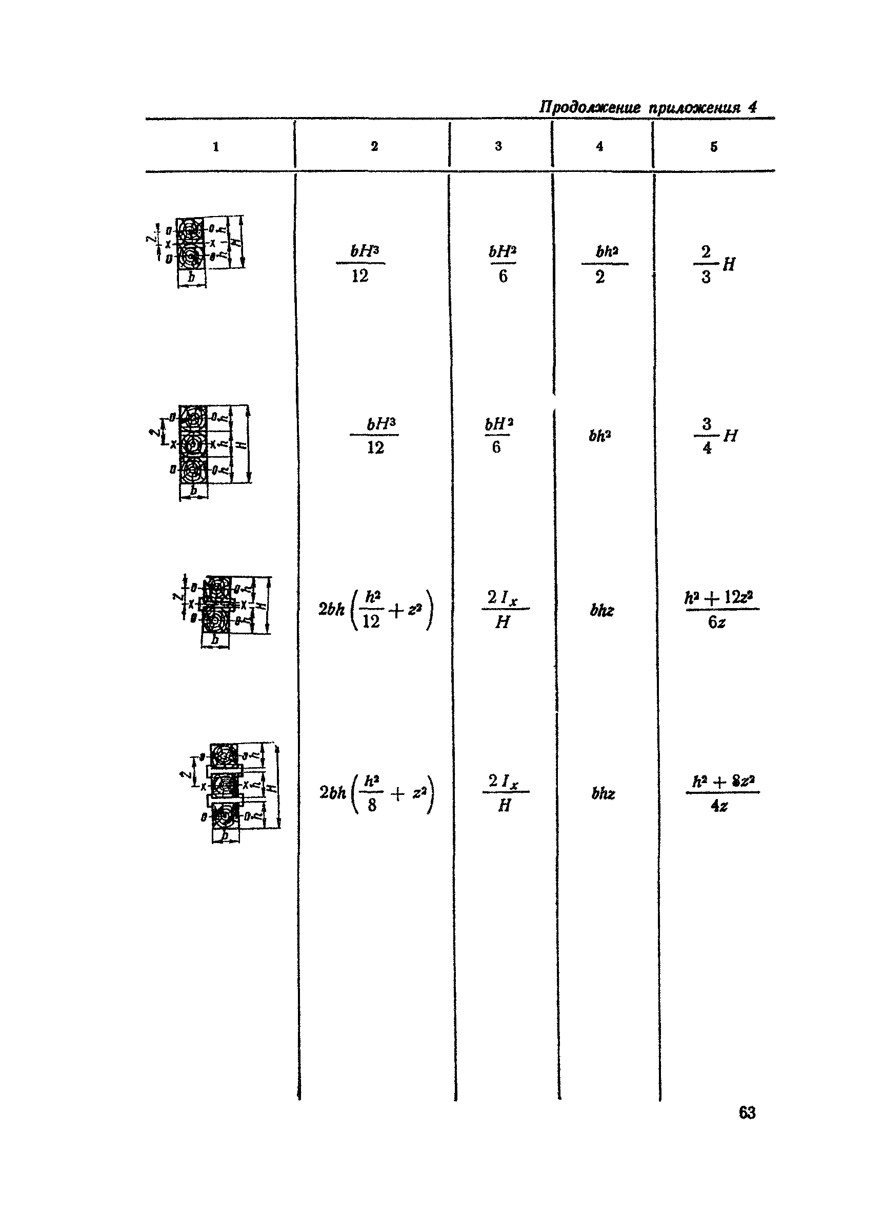
| Оглавление: | I Общие положения II Обследование деревянных мостов 1 Обследование проезжей части, пролетных строений и опор 2 Определение и учет загнивания элементов моста 3 Инструментальные измерения и съемки III Нормативы для определения грузоподъемности мостов IV Определение грузоподъемности мостов 1 Балочные мосты Определение грузоподъемности поперечин Определение грузоподъемности сближенных (разбросных) прогонов при автомобильной или колесной нагрузке Определение грузоподъемности сближенных прогонов при гусеничной нагрузке Определение грузоподъемности сосредоточенных прогонов при автомобильной или колесной нагрузке Определение грузоподъемности сосредоточенных прогонов при гусеничной нагрузке Определение грузоподъемности составных прогонов при автомобильной или колесной нагрузке 2 Опоры балочных мостов Определение грузоподъемности свайных опор балочных мостов 3 Мосты с фермами Определение грузоподъемности пролетных строений с дощато-гвоздевыми фермами Определение грузоподъемности узловых поперечных балок в мостах с решетчатыми фермами Определение грузоподъемности пролетных строений с фермами Гау-Журавского V Упрощенные испытании мостов, пропуск единичных тяжелых нагрузок и рекомендации по усилению 1 Упрощенные испытания мостов 2 Пропуск единичных тяжелых нагрузок 3 Краткие рекомендации по временному усилению мостов Приложение 1 Карта обследования моста Приложение 2 Площади F, статические моменты S, моменты инерции I и моменты сопротивления W для различных профилей бревен Приложение 3 Моменты инерции I и моменты сопротивления W бревен при одностороннем серповидном загнивании сверху Приложение 4 Моменты инерции, моменты сопротивления и статические моменты составных сечений, из бревен и брусьев Приложение 5 Эквивалентные нагрузки в тс/пог. м для треугольных линий влияния с вершиной в середине пролета от автомобилей и колесных тракторов, эксплуатируемых на дорогах РСФСР Приложение 6 Эквивалентные нагрузки в тс/пог. м для треугольных линий влияния с вершиной на конце пролета от автомобилей и колесных тракторов, эксплуатируемых на дорогах РСФСР Приложение 7 Характеристики гусеничных тракторов Приложение 8 Коэффициенты упругого распределения давления колеса а для определения грузоподъемности балочных мостов со сближенными прогонами Приложение 9 Потребность материалов на 1 м3 площади моста для пролетного строения и проезжей части Приложение 10 Коэффициенты упругого распределении давления гусеничной нагрузки а1 и а2 при распределении на три прогона Приложение 11 Коэффициенты упругого распределения давления гусеничной нагрузки а1, а2 и а3 при распределении на пять прогонов Приложение 12 Сумма ординат под продольными рядами колес одного автомобиля и площади линий влияния для определения грузоподъемности свайных опор. Четырехсвайная опора Приложение 13 Суммы ординат под продольными радами колес одного автомобиля и площадь линий влияния для определения грузоподъемности свайных опор. Пятисвайная опора |
| Разработан: | ДИЛ ВИСИ |
| Утверждён: | 11.04.1973 Минавтодор РСФСР (Russian Federation Minavtodor ) |
| Издан: | ГУП ЦПП (CPP GUP 2000 г. ) |
| Расположен в: | |
| Чем заменён: | |
| Нормативные ссылки: |















































































