| ||||||||||||||||||||||||||||||||||||||||
Скачать ГОСТ 20054-82 Трубы бетонные безнапорные. Технические условияДата актуализации: 10.08.2017
|
| Обозначение: | ГОСТ 20054-82 |
| Обозначение англ: | GOST 20054-82 |
| Статус: | взамен |
| Название рус.: | Трубы бетонные безнапорные. Технические условия |
| Название англ.: | Concrete non-pressure pipes. Specification |
| Дата добавления в базу: | 01.09.2013 |
| Дата актуализации: | 05.05.2017 |
| Дата введения: | 01.01.1983 |
| Дата окончания срока действия: | 01.07.2017 |
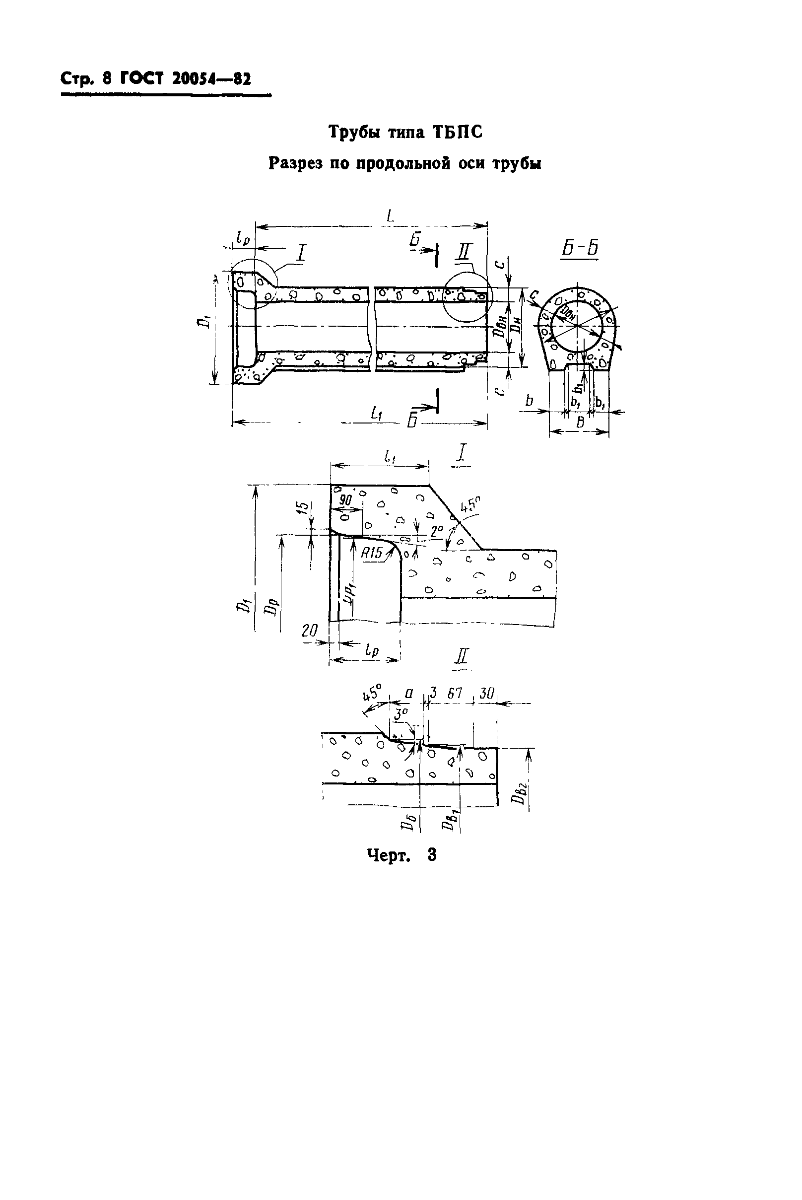
| Область применения: | Стандарт распространяется на бетонные безнапорные раструбные и фальцевые трубы с круглым отверстием, изготовляемые из тяжелого бетона и предназначенные для строительства в любых климатических условиях, а также при сейсмичности района строительства до 7 баллов включительно, подземных трубопроводов, по которым предусматривается транспортирование всех видов сточных вод самотеком. |
| Оглавление: | 1 Типы, основные параметры и размеры 2 Технические требования 3 Комплектность 4 Правила приемки 5 Методы контроля и испытаний 6 Маркировка, хранение и транспортирование |
| Разработан: | НИИЖБ Госстроя СССР Государственный проектный институт Союзводоканалпроект Госстроя СССР Министерство промышленности строительных материалов СССР Министерство строительного дорожного и коммунального машиностроения СССР |
| Утверждён: | 12.03.1982 Госстрой СССР (Государственный комитет Совета Министров СССР по делам строительства) (USSR Gosstroy 48) |
| Издан: | Издательство стандартов (1992 г. ) Издательство стандартов (1982 г. ) |
| Расположен в: | |
| Заменяет собой: |
|
| Чем заменён: | |
| Нормативные ссылки: |
|

























