| ||||||||||||||||||||||||||||||||
Скачать Сборник 10-6 Станционные здания железных дорог промышленных предприятий. Склады. Здания и сооружения транспорта. Сборники укрупненных сметных норм (УСН). Правила разработки и применения укрупненных сметных норм и расценокДата актуализации: 10.08.2017
|
| Обозначение: | Сборник 10-6 |
| Обозначение англ: | Сборник 10-6 |
| Статус: | действует |
| Название рус.: | Станционные здания железных дорог промышленных предприятий. Склады. Здания и сооружения транспорта. Сборники укрупненных сметных норм (УСН). Правила разработки и применения укрупненных сметных норм и расценок |
| Название англ.: | Railroad Stations of Industrial Facilities - Freight Depots |
| Дата добавления в базу: | 01.09.2013 |
| Дата актуализации: | 05.05.2017 |
| Дата введения: | 01.01.1989 |
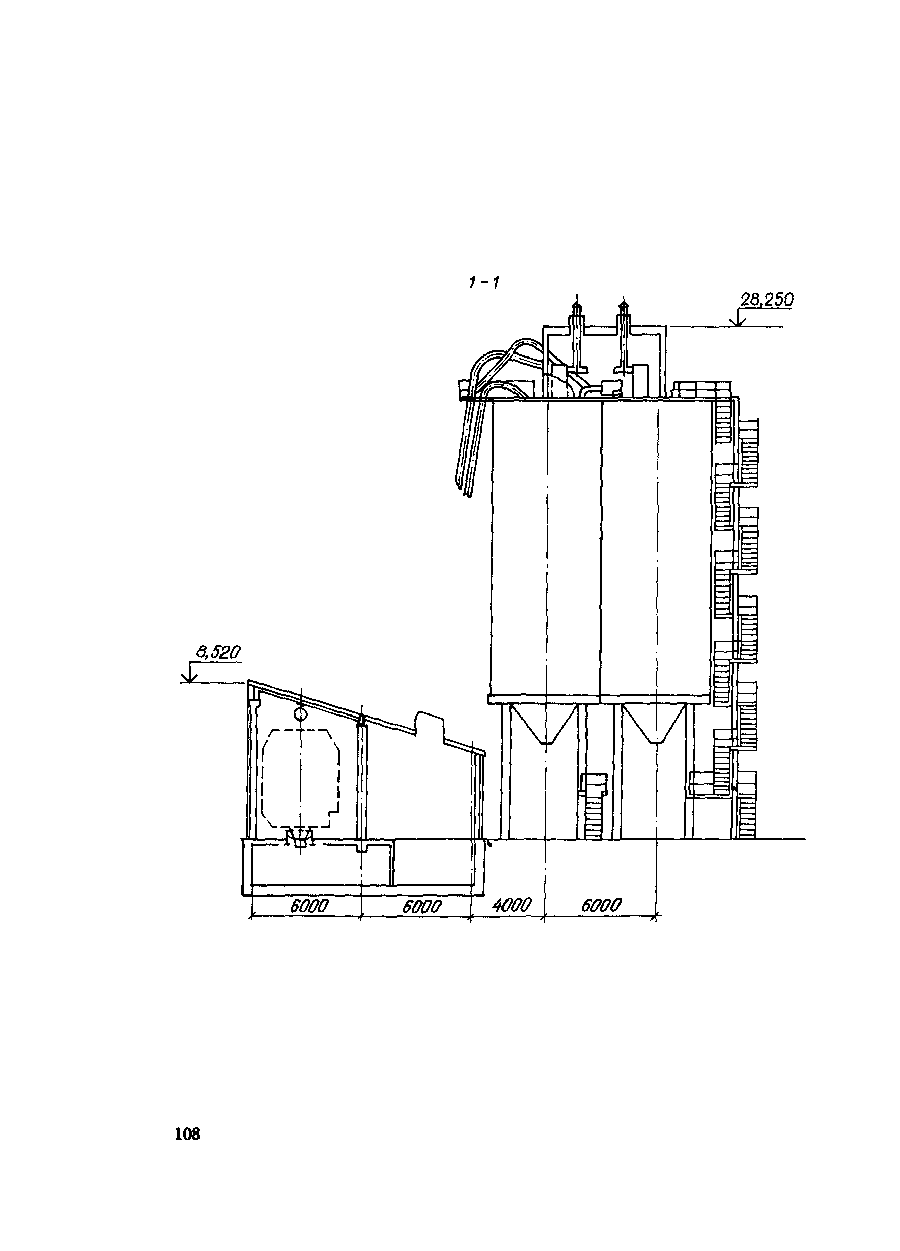
| Оглавление: | Общая часть §1. Прирельсовые склады заполнителей бетона вместимостью 4,5 и 7,5 тыс. м? с портальными разгрузчиками §2. Прирельсовые склады заполнителей бетона вместимостью 6 тыс. м? §3. Прирельсовые склады цемента вместимостью 1 и 2 тыс. т §4. Приемочное устройство складов цемента вместимостью 1 и 2 тыс. т §5. Прирельсовый павильонный блок складов минеральных удобрений вместимостью10 тыс. т §6. Прирельсовый склад спецодежды и предохранительных приспособлений с товарооборотом 3,5 млн руб. в год §7. Прирельсовый склад запасных частей вместимостью 2 тыс. т Приложение 1. Таблица массы грунта, подлежащего отвозке в отвал и доставке из отвала для обратной засыпки Приложение 2. Пример составления смет по УСН |
| Разработан: | Промтрансниипроект Госстроя СССР ЦНИИЭУС Госстроя России |
| Утверждён: | 25.05.1988 Госстрой СССР (Государственный комитет Совета Министров СССР по делам строительства) (USSR Gosstroy 90) |
| Издан: | Стройиздат (1989 г. ) |
| Расположен в: | |
| Заменяет собой: |
|











































































































































































































