| ||||||||||||||||||||||||||||||
Скачать Сборник 6-1.1 Эстакады под технологические трубопроводы. Здания и сооружения производственного назначения. Сборники укрупненных сметных норм (УСН). Правила разработки и применения укрупненных сметных норм и расценокДата актуализации: 10.08.2017
|
| Обозначение: | Сборник 6-1.1 |
| Обозначение англ: | Сборник 6-1.1 |
| Статус: | действует |
| Название рус.: | Эстакады под технологические трубопроводы. Здания и сооружения производственного назначения. Сборники укрупненных сметных норм (УСН). Правила разработки и применения укрупненных сметных норм и расценок |
| Название англ.: | Trestles for Process Piping |
| Дата добавления в базу: | 01.09.2013 |
| Дата актуализации: | 05.05.2017 |
| Дата введения: | 01.04.1985 |
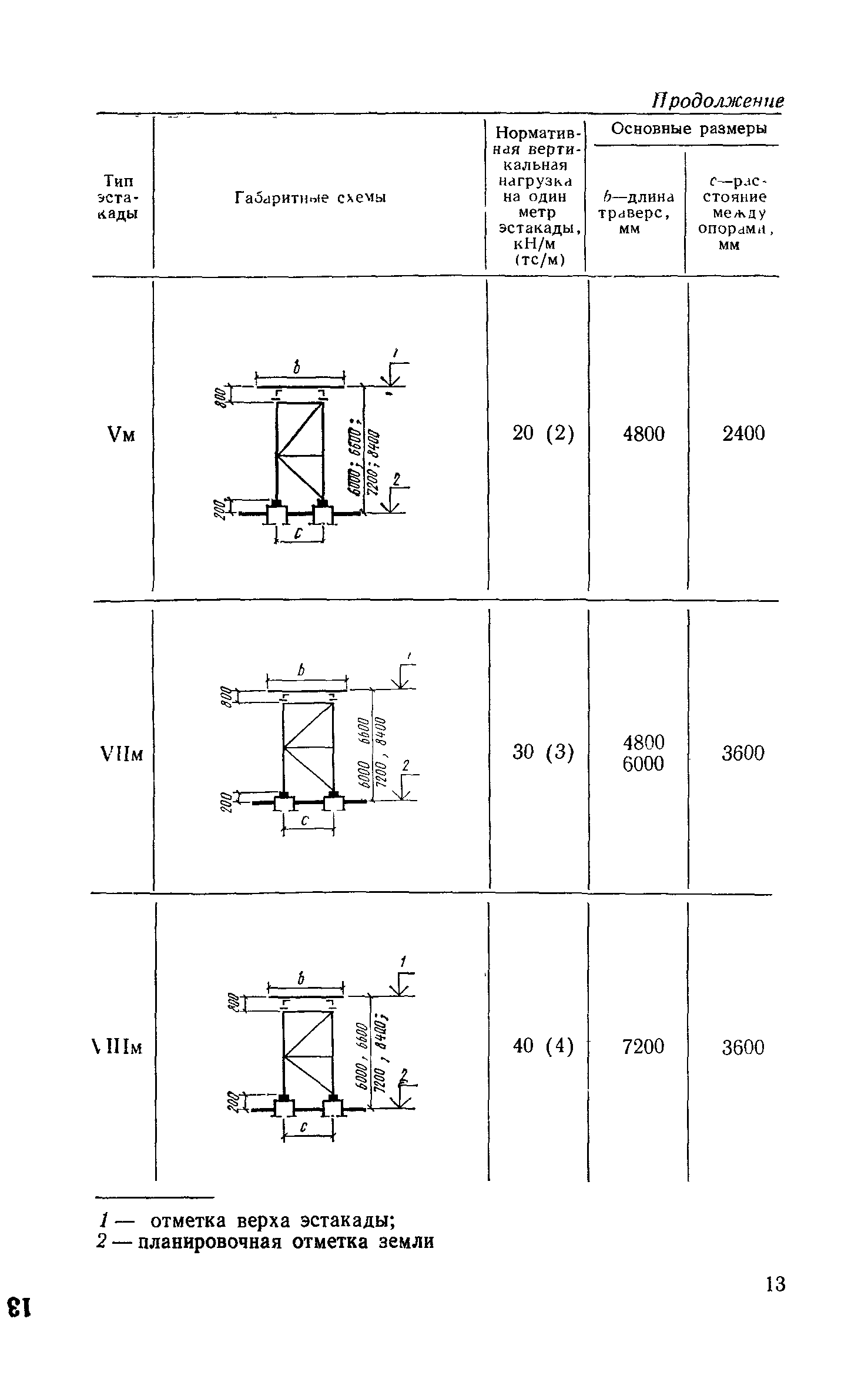
| Оглавление: | Общая часть Часть I. Одноярусные эстакады (серия 3.015-2/82) Техническая часть Габаритные схемы и нормативные вертикальные нагрузки на один метр одноярусных эстакад Раздел I. Унифицированные одноярусные комбинированные эстакады под технологические трубопроводы §1. Промежуточные и концевые температурные блоки, типы Iк-Iк; шаг опор 12 м; шаг траверс 3 м 1.1 Расстояние между температурными блоками 3 м 1.2 Расстояние между температурными блоками 6 м §2. Промежуточные и концевые температурные блоки, типы Iк-Vк; шаг опор 18 м; шаг траверс 3 м 2.1 Расстояние между температурными блоками 3 м 2.2 Расстояние между температурными блоками 6 м Раздел II. Унифицированные одноярусные железобетонные эстакады под технологические трубопроводы §3. Промежуточные и концевые температурные блоки; типы IIIж-Vж; шаг опор 12 м Расстояние между температурными блоками 3 и 6 м §4. Промежуточные и концевые температурные блоки; типы IIIж-Vж; шаг опор 18 м Расстояние между температурными блоками 3 и 6 м §5. Промежуточные и концевые температурные блоки; типы VIж-VIIIж; шаг опор 12 м Расстояние между температурными блоками 3 и 6 м Раздел III. Унифицированные одноярусные металлические эстакады под технологические трубопроводы; типы Iм-Ум; УПм-УШм §6. Промежуточные и концевые температурные блоки; шаг опор 12 м §7. Промежуточные и концевые температурные блоки; шаг опор 18 м Часть II. Двухъярусные эстакады (серия 3.015-3/82) Техническая часть Габаритные схемы и нормативные вертикальные нагрузки на один метр двухъярусной эстакады Раздел IV. Унифицированные двухъярусные комбинированные эстакады под технологические трубопроводы §8. Промежуточные и концевые температурные блоки Расстояние между температурными блоками 9 и 12 м Раздел V. Унифицированные двухъярусные железобетонные эстакады под технологические трубопроводы; типы IXж-XIIIж §9. Промежуточные и концевые температурные блоки Раздел VI. Унифицированные двухъярусные металлические эстакады под технологические трубопроводы, типы IXм-XIIIм §10. Промежуточные и концевые температурные блоки 10.1 Расстояние между температурными блоками 9 м Часть III. Отдельно стоящие опоры эстакад (серия 3.015-1/82) Техническая часть Габаритные схемы и нормативные вертикальные нагрузки на отдельно стоящие опоры §11. Отдельно стоящие опоры типа I §12. Отдельно стоящие железобетонные опоры типа II 12.1 Промежуточная опора 12.2 Промежуточная опора в местах поперечных отводов трубопроводов 12.3 Анкерная промежуточная опора §13. Отдельно стоящие металлические опоры типа II 13.1 Анкерная промежуточная опора 13.2 Анкерная концевая опора 13.3 Анкерная концевая угловая опора §14. Отдельно стоящие железобетонные опоры типа III 14.1 Промежуточная опора 14.2 Промежуточная опора в местах поперечных отводов трубопроводов 14.3 Анкерная промежуточная опора §15. Отдельно стоящие металлические опоры типа III 15.1 Промежуточная опора 15.2 Промежуточная опора в местах поперечных отводов трубопроводов 15.3 Анкерная промежуточная опора 15.4 Анкерная концевая опора 15.5 Анкерная концевая угловая опора §16. Отдельно стоящие железобетонные опоры типа IV 16.1 Промежуточная опора 16.2 Промежуточная опора в местах поперечных отводов трубопроводов и анкерная промежуточная опора §17. Отдельно стоящие металлические опоры типа IV 17.1 Промежуточная опора 17.2 Промежуточная опора в местах поперечных отводов трубопроводов 17.3 Анкерная промежуточная опора 17.4 Анкерная концевая опора 17.5 Анкерная концевая угловая опора Приложение. Пример составления сметы на общестроительные работы возведения металлической одноярусной эстакады |
| Разработан: | Госхимпроект |
| Утверждён: | 29.11.1984 Госстрой СССР (Государственный комитет Совета Министров СССР по делам строительства) (USSR Gosstroy 196) |
| Издан: | Стройиздат (1986 г. ) |
| Расположен в: |













































































































































































































































































































































































































