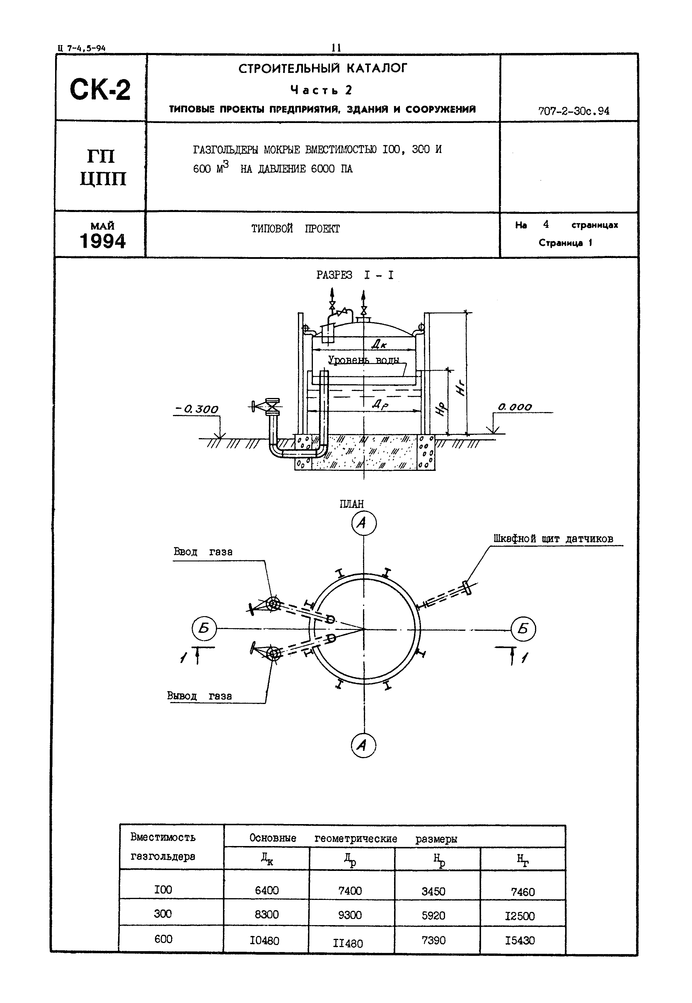
Скачать Типовой проект 707-2-30с.94 Газгольдеры мокрые вместимостью 100, 300 и 600 куб. м на давление 6000 МПаДата актуализации: 10.08.2017 Типовой проект 707-2-30с.94
Газгольдеры мокрые вместимостью 100, 300 и 600 куб. м на давление 6000 МПаОбозначение: | Типовой проект 707-2-30с.94 | Обозначение англ: | 707-2-30с.94 | Статус: | не определен законодательством | Название рус.: | Газгольдеры мокрые вместимостью 100, 300 и 600 куб. м на давление 6000 МПа | Дата добавления в базу: | 21.05.2015 | Дата актуализации: | 05.05.2017 | Дата введения: | 16.12.1993 | Расположен в: |
|
  
|