Скачать Типовой проект 902-1-28 Канализационная насосная станция на 5 насосов 10Ф-12 с решетками-дробилками РД-600 при глубине заложения подводящего коллектора 5,5 и 7,0 мДата актуализации: 10.08.2017 Типовой проект 902-1-28
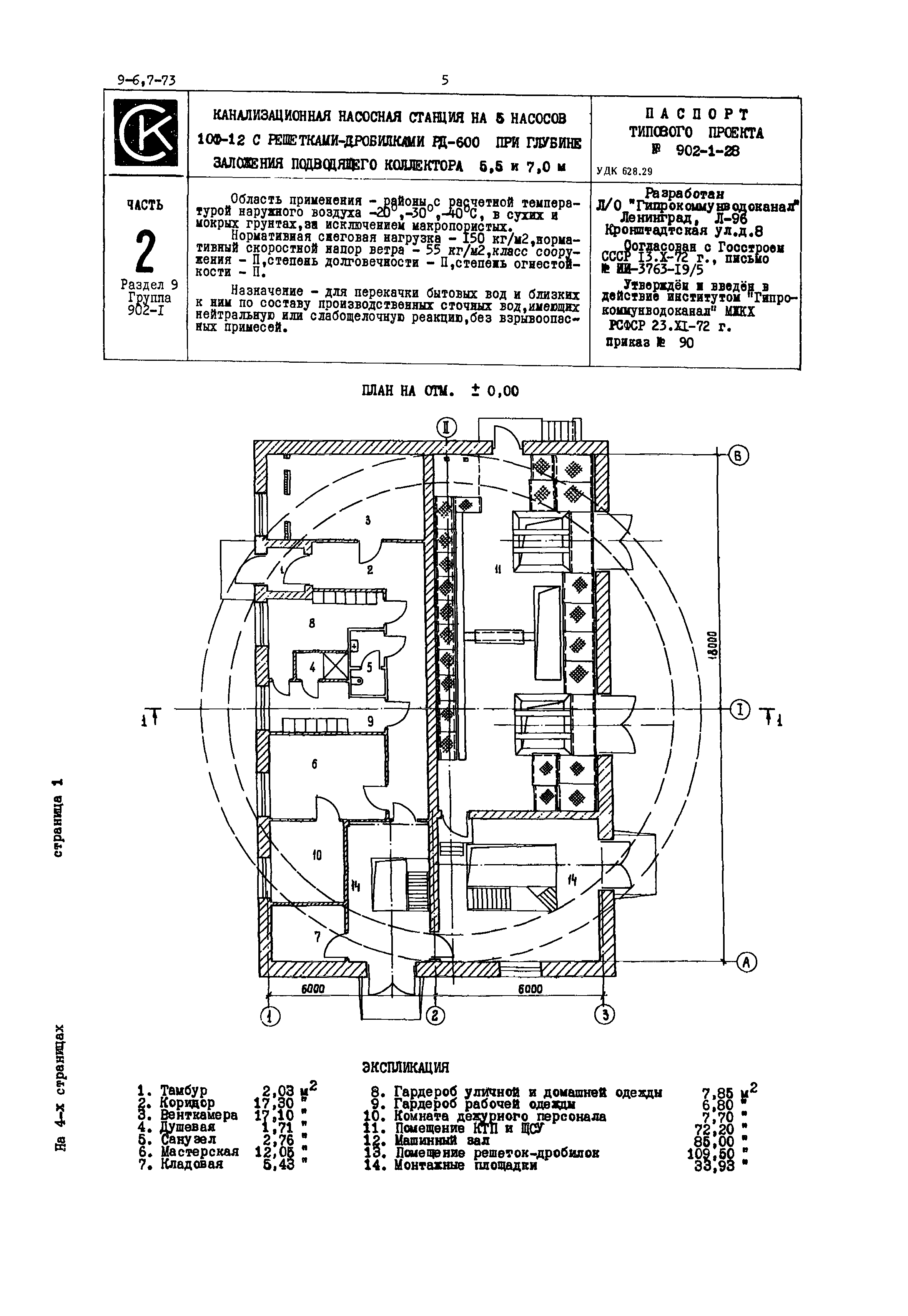
Канализационная насосная станция на 5 насосов 10Ф-12 с решетками-дробилками РД-600 при глубине заложения подводящего коллектора 5,5 и 7,0 мОбозначение: | Типовой проект 902-1-28 | Обозначение англ: | 902-1-28 | Статус: | заменен | Название рус.: | Канализационная насосная станция на 5 насосов 10Ф-12 с решетками-дробилками РД-600 при глубине заложения подводящего коллектора 5,5 и 7,0 м | Дата добавления в базу: | 01.10.2014 | Дата актуализации: | 05.05.2017 | Дата введения: | 01.06.1988 | Расположен в: |
|
  
|