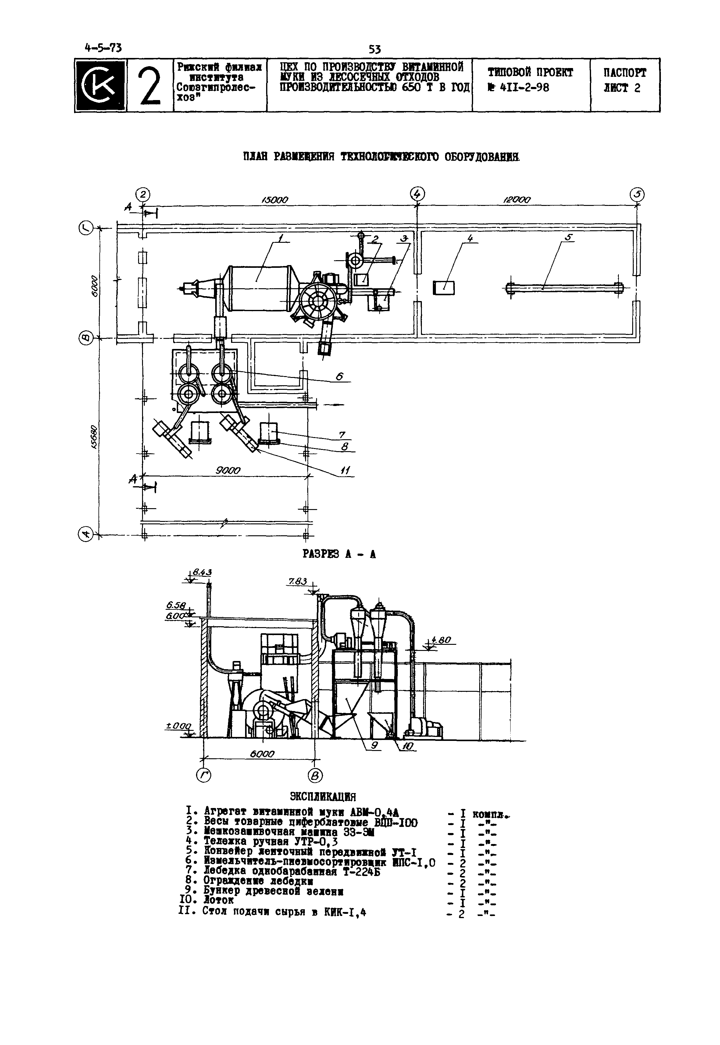
Скачать Типовой проект 411-2-98 Цех по производству витаминной муки из лесосечных отходов производительностью 650 т в годДата актуализации: 10.08.2017 Типовой проект 411-2-98
Цех по производству витаминной муки из лесосечных отходов производительностью 650 т в годОбозначение: | Типовой проект 411-2-98 | Обозначение англ: | 411-2-98 | Статус: | действует | Название рус.: | Цех по производству витаминной муки из лесосечных отходов производительностью 650 т в год | Дата добавления в базу: | 01.10.2014 | Дата актуализации: | 05.05.2017 | Расположен в: |
|
  
|