Скачать Типовой проект 901-1-37.86 Затопленный водоприемник бетонный в металлической оболочке с двухсторонним приемом воды и рыбозащитными устройствами производительностью 2,0 куб. м/сДата актуализации: 10.08.2017 Типовой проект 901-1-37.86
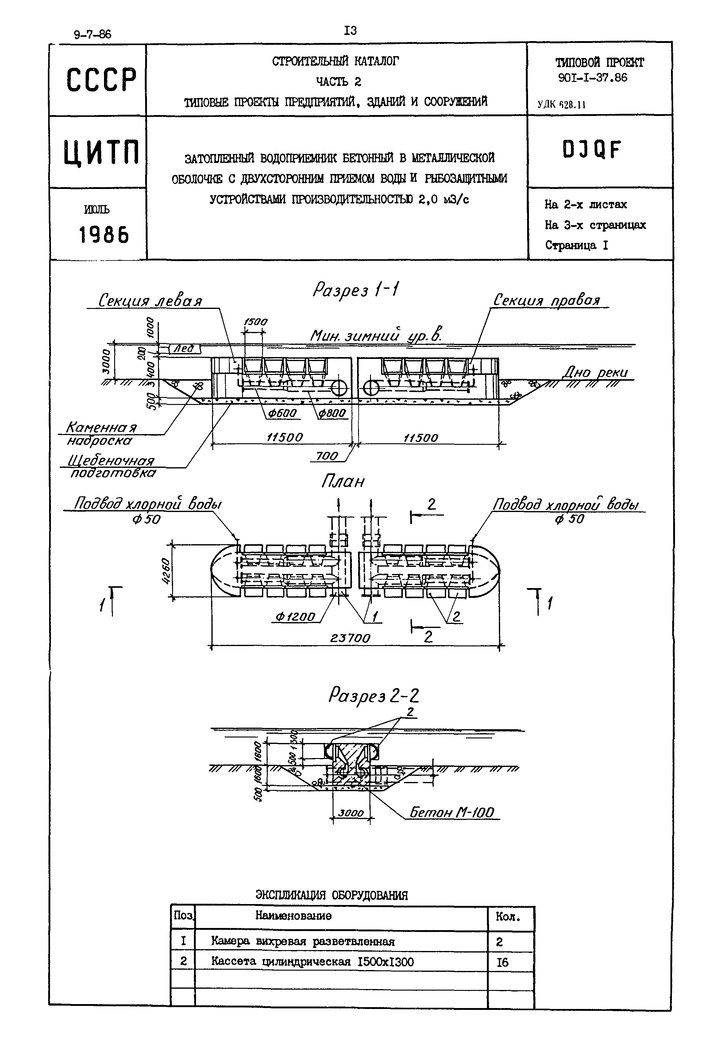
Затопленный водоприемник бетонный в металлической оболочке с двухсторонним приемом воды и рыбозащитными устройствами производительностью 2,0 куб. м/сОбозначение: | Типовой проект 901-1-37.86 | Обозначение англ: | 901-1-37.86 | Статус: | не определен законодательством | Название рус.: | Затопленный водоприемник бетонный в металлической оболочке с двухсторонним приемом воды и рыбозащитными устройствами производительностью 2,0 куб. м/с | Дата добавления в базу: | 01.10.2014 | Дата актуализации: | 05.05.2017 | Дата введения: | 29.01.1986 | Расположен в: |
|
 
|