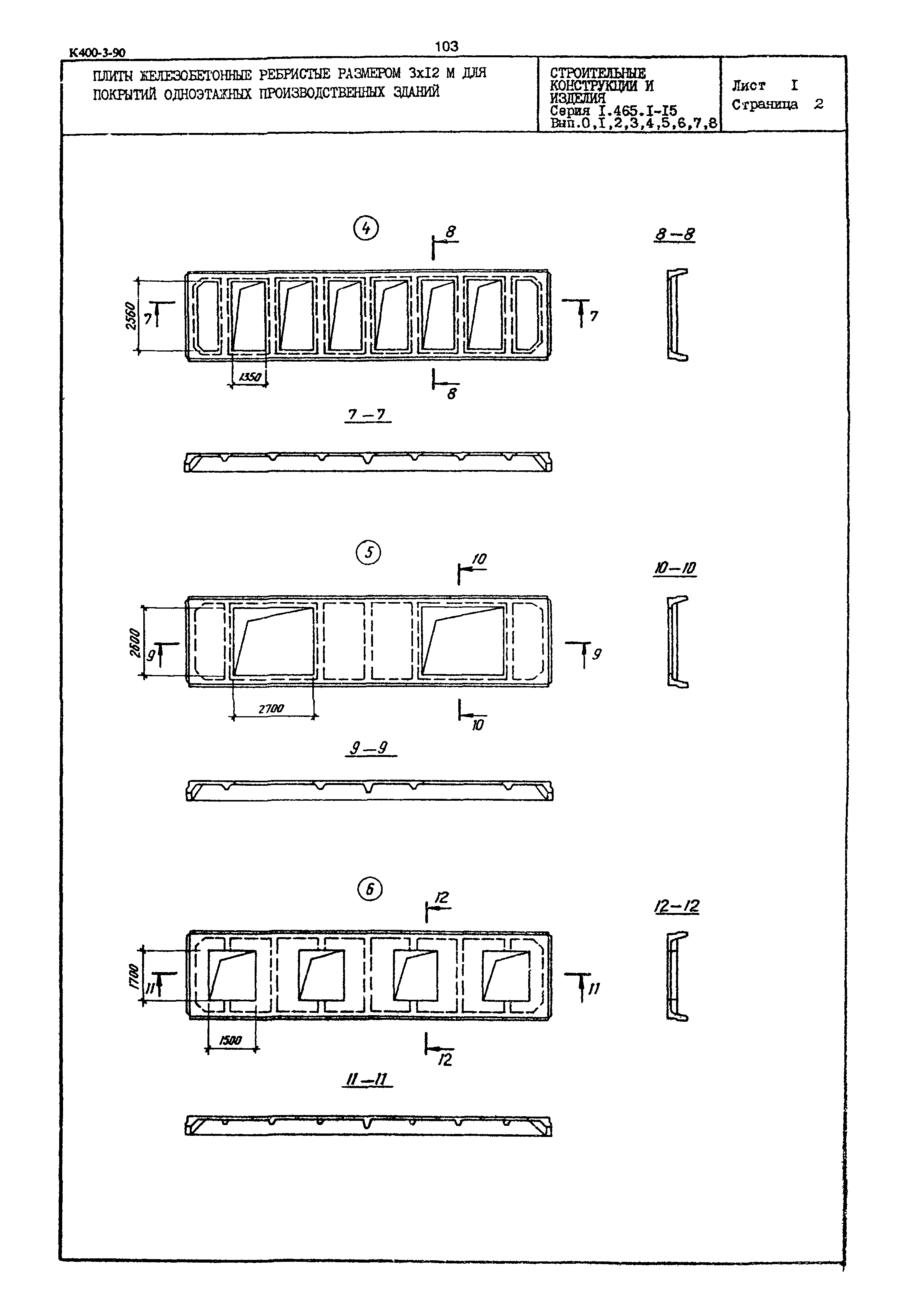
Скачать Серия 1.465.1-15 Плиты железобетонные ребристые размером 3х12 м для покрытий одноэтажных производственных зданийДата актуализации: 10.08.2017 Серия 1.465.1-15
Плиты железобетонные ребристые размером 3х12 м для покрытий одноэтажных производственных зданий| Обозначение: | Серия 1.465.1-15 | | Обозначение англ: | Series 1.465.1-15 | | Статус: | не определен законодательством | | Название рус.: | Плиты железобетонные ребристые размером 3х12 м для покрытий одноэтажных производственных зданий | | Дата добавления в базу: | 01.09.2013 | | Дата актуализации: | 05.05.2017 | | Дата введения: | 01.03.1990 | | Расположен в: |
|
             
|