Скачать Типовой проект 902-2-472.89 Отстойники канализационные радиальные первичные из сборного железобетона диаметром 24 м с самотечным удалением осадкаДата актуализации: 10.08.2017 Типовой проект 902-2-472.89
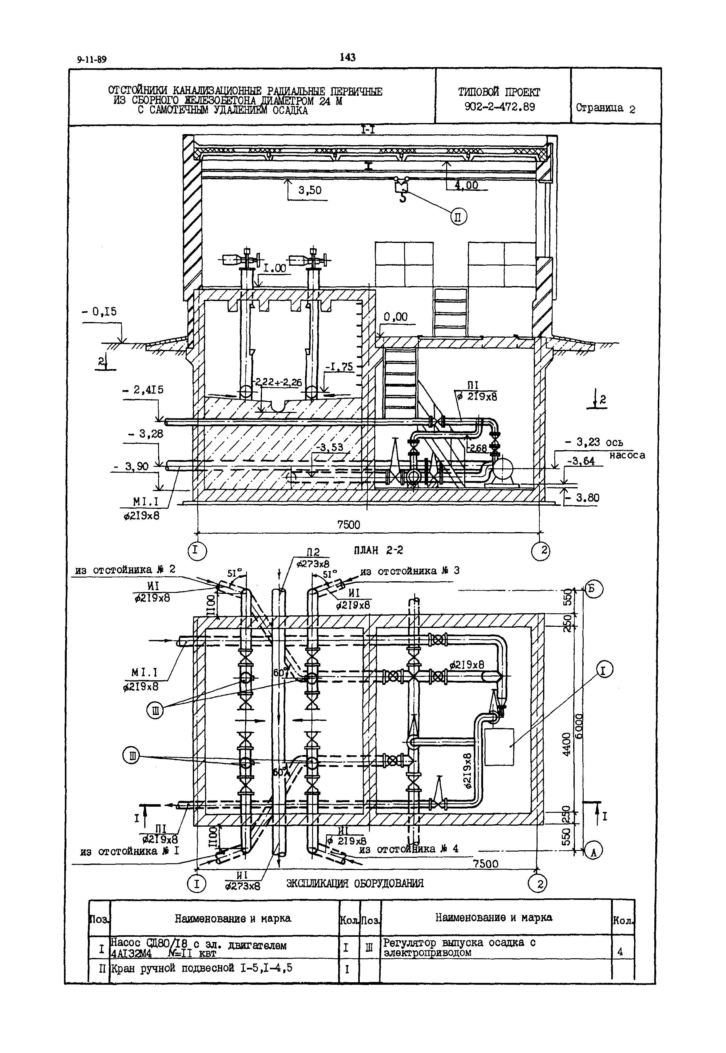
Отстойники канализационные радиальные первичные из сборного железобетона диаметром 24 м с самотечным удалением осадкаОбозначение: | Типовой проект 902-2-472.89 | Обозначение англ: | 902-2-472.89 | Статус: | не определен законодательством | Название рус.: | Отстойники канализационные радиальные первичные из сборного железобетона диаметром 24 м с самотечным удалением осадка | Дата добавления в базу: | 01.09.2013 | Дата актуализации: | 05.05.2017 | Дата введения: | 01.11.1989 | Расположен в: |
|
    
|