ГОСУДАРСТВЕННЫЙ СТАНДАРТ СОЮЗА ССР

ИЗДЕЛИЯ СКОБЯНЫЕ ВСПОМОГАТЕЛЬНЫЕ ДЛЯ ДЕРЕВЯННЫХ ОКОН И ДВЕРЕЙ. ТИПЫ

ГОСТ 5091-78

ГОСУДАРСТВЕННЫЙ КОМИТЕТ СОВЕТА МИНИСТРОВ СССР ПО ДЕЛАМ СТРОИТЕЛЬСТВА

Москва

ГОСУДАРСТВЕННЫЙ СТАНДАРТ СОЮЗА ССР

ИЗДЕЛИЯ СКОБЯНЫЕ ВСПОМОГАТЕЛЬНЫЕ ДЛЯ ДЕРЕВЯННЫХ ОКОН И ДВЕРЕЙ. ТИПЫ

ГОСТ 5091-78

Москва - 1978

РАЗРАБОТАН

Центральным проектно-конструкторским и технологическим бюро (ЦПКТБ) Главсантехпрома Минстройматериалов СССР Центральным научно-исследовательским и проектным институтом типового и экспериментального проектирования жилища (ЦНИИЭПжилища) Госгражданстроя

ИСПОЛНИТЕЛИ:

А.А. Зуев, П.Ф. Пахомов, В.П. Антонов

ВНЕСЕН Министерством промышленности строительных материалов СССР

Зам. министра А.С. Болдырев

ПОДГОТОВЛЕН К УТВЕРЖДЕНИЮ Отделом технического нормирования и стандартизации Госстроя СССР

Начальник отдела В. И. Сычев

УТВЕРЖДЕН И ВВЕДЕН В ДЕЙСТВИЕ Постановлением Государственного комитета Совета Министров СССР по делам строительства от 13 марта 1978 г. № 29

ГОСУДАРСТВЕННЫЙ СТАНДАРТ СОЮЗА ССР

ИЗДЕЛИЯ СКОБЯНЫЕ ВСПОМОГАТЕЛЬНЫЕ ДЛЯ ДЕРЕВЯННЫХ ОКОН И ДВЕРЕЙ. ТИПЫ

Типы и основные размеры

Auxiliary builders hardware for wooden windows and doors. Tupes.

ГОСТ

5091-78

Взамен
ГОСТ 5091-72

Постановлением Государственного комитета Совета Министров СССР по делам строительства от 13 марта 1978 г. № 29 срок введения установлен

с 01.01. 1980 г.

1. Настоящий стандарт распространяется на вспомогательные изделия для деревянных окон и дверей, применяемых в массовом строительстве жилых и общественных зданий.

(Измененная редакция. Изм. № 2)

2. Типы и основные размеры вспомогательных изделий, за исключением угольников, должны соответствовать указанным на черт. 1-12 и 14. Типы, типоразмеры и основные размеры угольников должны соответствовать указанным на черт. 13 и в табл. 2.

(Измененная редакция. Изм. № 2)

Условные обозначения типов и наименование вспомогательных изделий, рекомендуемая область их применения приведены в табл. 1.

(Измененная редакция. Изм. № 2)

Примеры рекомендуемой установки дверных закрывателей и фиксаторов приведены в приложении к настоящему стандарту.

(Измененная редакция. Изм. № 2)

Таблица 1

Условные обозначения типов

Наименования вспомогательных изделий

Рекомендуемые области применения

Номера чертежей

ЗД1

Закрыватель дверной верхнего расположения

Для наружных и внутренних дверей

1

ЗД3

Закрыватель дверной

Для внутренних дверей

3

ЗД4

Закрыватель дверной верхнего расположения

То же

4

ФК1

Фиксатор

Для окон со спарен­ными створками

5

ФК2

То же

Для окон со спаренными створками и форточных створок

6

ФК3

То же

Для окон с раздельными створками

7

ГД

Глазок дверной

Для входных дверей в квартиры

8

ЦД

Цепочка дверная

То же

9

УД1

Упор дверной

Для дверей

10

УД2

То же

То же

11

УО

Упор оконный

Для окон с раздель­ными створками

12

УГ

Угольник

Для окон

13

НГ

Нагель

Для крепления шиповых соединений

14

(Измененная редакция. Изм. № 1, 2)

Закрыватель дверной типа ЗД1

Черт. 1

* Диапазон регулирования - 40 мм.

(Измененная редакция. Изм. № 2)

Шурупы 1-5 ´ 40 (4 шт.) и 2-5 ´ 25 (2 шт.) по ГОСТ 1145-80 или ГОСТ 1146-80.

(Измененная редакция. Изм. № 2)

Условное обозначение:

ЗД1 ГОСТ 5091-78

Черт. 2 исключен (Измененная редакция. Изм. № 2).

Закрыватель дверной типа ЗД3

Черт. 3

Шурупы 1-4 ´ 35 (4 шт.) и 1-3 ´ 25 (2 шт.) по ГОСТ 1145-80 или ГОСТ 1146-80.

(Измененная редакция. Изм. № 2)

Условное обозначение:

ЗД3 ГОСТ 5091-78

Закрыватель дверной верхнего расположения типа ЗД4

Вариант исполнения крепления закрывателя

Черт. 4

(Измененная редакция. Изм. № 1, 2)

Шурупы 1-4 ´ 35 (6 шт.) по ГОСТ 1145-80 или ГОСТ 1146-80.

(Измененная редакция. Изм. № 2)

Условное обозначение:

ЗД4 ГОСТ 5091-78

Фиксатор типа ФК1

Черт. 5

Примечание. Допускается фиксируемую планку толщиной 4 мм изготавливать из стального прутка диаметром 8 мм.

Шурупы А4 ´ 30 (4 шт.) по ГОСТ 1145-80 или ГОСТ 1146-80.

(Измененная редакция. Изм. № 2)

Условное обозначение:

ФК1 ГОСТ 5091-78

Черт. 6 исключен. (Измененная редакция. Изм. № 2).

Фиксатор типа ФК3

Черт. 7

Шурупы 1-4 ´ 30 (5 шт.) по ГОСТ 1145-80 или ГОСТ 1146-80.

(Измененная редакция. Изм. № 2)

Пример условного обозначения фиксатора длиной 70 мм:

ФК3-70 ГОСТ 5091-78

Глазок дверной типа ГД

Черт. 8

Условное обозначение:

ГД ГОСТ 5091-78

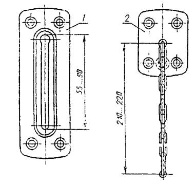
Цепочка дверная типа ЦД

1 - запорная планка; 2 - основание

Черт. 9

Примечание: Допускается крепить основание цепочки тремя шурупами.

(Измененная редакция. Изм. № 2)

Шурупы 1-4 ´ 30 (8 шт.) по ГОСТ 1145-80 или ГОСТ 1146-80.

(Измененная редакция. Изм. № 2)

Условное обозначение:

ЦД ГОСТ 5091-78

Упор дверной типа УД1

Черт. 10

Шурупы 1-3 ´ 25 (4-5 шт.) по ГОСТ 1145-80 или ГОСТ 1146-80.

(Измененная редакция. Изм. № 2)

Условное обозначение:

УД1ГОСТ 5091 -78

Упор дверной типа УД2

Черт. 11

Шурупы 1-5 ´ 40 (1 шт.) по ГОСТ 1145-80 или ГОСТ 1146-80.

(Измененная редакция. Изм. № 2)

Условное обозначение:

УД2 ГОСТ 5091-78

Упор оконный типа УО

Черт. 12

Шурупы 1-3 ´ 25 (2 шт.) по ГОСТ 1145-80 или ГОСТ 1146-80.

(Измененная редакция. Изм. № 2)

Условное обозначение:

УО ГОСТ 5091-78

Угольник типа УГ

Черт. 13

Таблица 2

Размеры в мм

Типоразмеры

Н

b

s

s1

a

l

l1

h

Шурупы по ГОСТ 1145-80

Размер

Количество

УГ50

50

12

1,4

0,8

36

8

-

2,2

А3 ´ 25

3

УГ75

75

14

1,4

1,0

30

8

16

2,5

А3 ´ 25

5

УГ100

100

16

1,6

1,2

40

12

22

3,0

А3 ´ З0

5

УГ125

125

18

1,8

1,4

50

16

25

3,5

А3 ´ З0

5

Примечание. Угольники типов УГ75, УГ100 и УГ125 допускается изготовлять с четырьмя отверстиями.

Пример условного обозначения угольника стороной Н = 50 мм, исполнения 1:

УГ50-1 ГОСТ 5091-78

Нагель типа НГ

Черт. 14

(Измененная редакция. Изм. № 2)

Пример условного обозначения нагеля длиной 33 мм:

НГ33 ГОСТ 5091-78

3. Технические требования, правила приемки, маркировка, упаковка, транспортирование, хранение и гарантийный срок эксплуатации вспомогательных изделий для деревянных окон и дверей должны соответствовать требованиям, предусмотренным ГОСТ 538-78 и настоящим стандартом.

(Измененная редакция. Изм. № 1, 2)

4. Конструкция дверных закрывателей типа ЗД1 должна обеспечивать плотное прилегание дверного полотна к коробке и регулирование угла раскрытия двери, а также возможность разъединения рычагов для полного раскрытия двери и регулирование продолжительности закрывания двери от 2 до 6 с.

Форму корпуса закрывателя стандарт не устанавливает.

(Измененная редакция. Изм. № 2)

5. Конструкциями фиксаторов должна предусматриваться возможность их установки как на правые, так и на левые створки окна.

6. Угол обозрения у дверного глазка должен быть не менее 90°.

7. Дверные цепочки следует испытывать при приемочных и типовых испытаниях на разрыв силой 1860 Н (200 кгс) в течение 1 мин.

(Измененная редакция. Изм. № 2)

8. Нагели должны изготовляться из цинково-алюминиевых или других сплавов твердостью 50-90 кгс/мм2 по ГОСТ 9012-59.

9. Вспомогательные изделия, за исключением нагелей, должны иметь защитное или защитно-декоративное покрытие по ГОСТ 538-78 в зависимости от установленной группы условий эксплуатации.

Группы условий эксплуатации изделий типов ГД, ЦД, УД1, УД2, УГ-1 (Л), изделий типов ЗД1, ЗД3, ЗД4, ФК1, ФК2, ФК3, УО-2, 3, 4 (С) по ГОСТ 9303-84.

(Измененная редакция. Изм. № 1, 2)

10. Дверные закрыватели должны безотказно выдерживать число циклов работы, указанных в табл. 3.

Таблица 3

Тип

закрывателя

Величина наработки, циклы, не менее

закрывателей, аттестуемых по первой категории качества

закрывателей, аттестуемых по высшей категории качества

ЗД4

200000

250000

(Измененная редакция. Изм. № 1, 2)

ПРИЛОЖЕНИЕ
Рекомендуемое

Примеры установки дверных закрывателей верхнего расположения и фиксаторов

(Измененная редакция. Изм. № 2)

Закрыватель дверной верхнего расположения типа ЗД1

1 - коробка; 2 - полотно

(Измененная редакция. Изм. № 2)

Закрыватель дверной верхнего расположения типа ЗД4

1 – коробка; 2 - полотно

(Измененная редакция. Изм. № 2)

Фиксатор типа ФК1

Черт. установки фиксатора типа ФК2 исключен. (Измененная редакция. Изм. № 2)

Фиксатор типа ФК3