ГОСТ 17177-94

Межгосударственный стандарт

МАТЕРИАЛЫ И ИЗДЕЛИЯ СТРОИТЕЛЬНЫЕ
ТЕПЛОИЗОЛЯЦИОННЫЕ

МЕТОДЫ ИСПЫТАНИЙ

 

Межгосударственная научно-техническая комиссия по стандартизации и техническому нормированию в строительстве (МНТКС)

Москва

Предисловие

1 РАЗРАБОТАН Научно-исследовательским институтом строительной физики (НИИСФ) и научно-исследовательским и проектным институтом Теплопроект (НИПИТеплопроект) Российской Федерации

ВНЕСЕН Минстроем России

2 ПРИНЯТ Межгосударственной научно-технической комиссией по стандартизации и техническому нормированию в строительстве (МНТКС) 17 ноября 1994 г.

За принятие проголосовали

Наименование государства

Наименование органа государственного управления строительством

Республика Армения

Госупрархитектуры Республики Армения

Республика Беларусь

Минстройархитектуры Республики Беларусь

Республика Казахстан

Минстрой Республики Казахстан

Кыргызская Республика

Госстрой Кыргызской Республики

Российская Федерация

Минстрой России

Республика Таджикистан

Госстрой Республики Таджикистан

Республика Узбекистан

Госкомархитектстрой Республики Узбекистан

Украина

Госкомградостроительства Украины

3 Приложения А, Б настоящего стандарта содержат аутентичный текст ИСО 8144 “Теплоизоляция. Маты минераловатные для теплоизоляции вентилируемых покрытий. Технические условия” и ИСО 8145 “Теплоизоляция. Плиты минераловатные для теплоизоляции покрытий зданий по настилам. Технические условия”

Приложения В, Г, Е настоящего стандарта содержат аутентичный текст ИСО 8145 “Теплоизоляция. Плиты минераловатные для теплоизоляции покрытий зданий по настилам. Технические условия”

Приложение Д настоящего стандарта содержит аутентичный текст ИСО 8144 “Теплоизоляция. Маты минераловатные для теплоизоляции вентилируемых покрытий. Технические условия”

4 ВВЕДЕН В ДЕЙСТВИЕ с 1 апреля 1996 г. в качестве государственного стандарта Российской Федерации Постановлением Минстроя России от 7 августа 1995 г. № 18-80

5 ВЗАМЕН ГОСТ 17177-87

 

Содержание

 

1 Область применения

2 Нормативные ссылки

3 Общие требования

4 Методы измерения линейных размеров

5 Метод контроля внешнего вида изделия

6 Методы контроля правильности геометрической формы

7 Метод определения плотности

8 Метод определения влажности

9 Метод ускоренного определения сорбционной влажности

10 Методы определения водопоглощения

11 Метод определения содержания органических веществ

12 Метод определения полноты поликонденсации фенолоформальдегидного связующего

13 Метод определения прочности на сжатие при 10%-ной линейной деформации

14 Метод определения предела прочности при сжатии

15 Метод определения прочности при изгибе

16 Метод определения прочности при растяжении

17 Метод определения сжимаемости и упругости

18 Метод определения гибкости

19 Метод определения линейной температурной усадки

20 Метод определения среднего диаметра волокон минеральной и стеклянной ваты

21 Метод определения кислотного числа

22 Метод ускоренного определения модуля кислотности минеральной ваты

Приложение А Методы измерения линейных размеров минераловатных и стекловатных матов и плит в соответствии с ИСО 8144 и ИСО 8145

Приложение Б Методы контроля правильности геометрической формы минераловатных и стекловатных матов и плит в соответствии с ИСО 8144 и ИСО 8145

Приложение В Метод определения прочности на сжатие минераловатных и стекловатных плит в соответствии с ИСО 8145

Приложение Г Метод определения разрушающей силы при испытании на изгиб минераловатных и стекловатных плит в соответствии с ИСО 8145

Приложение Д Метод определение прочности при растяжении минераловатных и стекловатных матов (удобства транспортировки и монтажа) в соответствии с ИСО 8144

Приложение Е Метод определения предела прочности на отрыв слоев минераловатных и стекловатных плит в соответствии с ИСО 8145

Приложение Ж Примеры построения калибровочных графиков

 

 

Введение

В настоящем стандарте, наряду с методами определения основных эксплуатационных свойств теплоизоляционных материалов и изделий, в качестве рекомендуемых включены методы испытания минераловатных и стекловолокнистых изделий, принятые Международной организацией по стандартизации (ИСО).

Рекомендуемые методы могут быть использованы при поставке продукции на экспорт, а также служить базой для последующего перехода минераловатной промышленности на международные методы испытаний.

 

МЕЖГОСУДАРСТВЕННЫЙ СТАНДАРТ

МАТЕРИАЛЫ И ИЗДЕЛИЯ СТРОИТЕЛЬНЫЕ ТЕПЛОИЗОЛЯЦИОННЫЕ

Методы испытаний

Thermal insulating materials and products
for building application. Test methods

Дата введения 1996-04-01

1 ОБЛАСТЬ ПРИМЕНЕНИЯ

Настоящий стандарт распространяется на строительные теплоизоляционные материалы и изделия и устанавливает методы определения следующих технических показателей:

— линейных размеров;

— внешнего вида;

— правильности геометрической формы;

— плотности;

— влажности;

— сорбционной влажности;

— водопоглощения;

— содержания органических веществ;

— полноты поликонденсации фенолоформальдегидного связующего;

— прочности на сжатие при 10 %-ной линейной деформации;

— предела прочности при сжатии;

— предела прочности при изгибе;

— предела прочности при растяжении;

— сжимаемости и упругости;

— гибкости;

— линейной температурной усадки;

— среднего диаметра волокон минеральной и стеклянной ваты;

— кислотного числа;

— модуля кислотности минеральной ваты (ускоренный метод).

Приложения АЕ настоящего стандарта распространяются только на маты и плиты из минеральной ваты и стеклянного волокна и устанавливают соответствующие требования Международной организации по стандартизации (ИСО) к методам определения следующих технических показателей:

— линейных размеров;

— правильности геометрической формы;

— прочности на сжатие;

— разрушающей силы при изгибе;

— прочности при растяжении;

— предела прочности на отрыв слоев.

2 НОРМАТИВНЫЕ ССЫЛКИ

В настоящем стандарте использованы ссылки на следующие стандарты:

ГОСТ 61-75 Кислота уксусная. Технические условия

ГОСТ 166-89 Штангенциркули. Технические условия

ГОСТ 427-75 Линейки измерительные металлические. Технические условия

ГОСТ 577-68 Индикаторы часового типа с ценой деления 0,001 мм. Технические условия

ГОСТ 2184-77 Кислота серная техническая. Технические условия

ГОСТ 2290-76 Бальзам пихтовый. Технические условия

ГОСТ 2603-79 Реактивы. Ацетон. Технические условия

ГОСТ 2889-80 Мастика битумная кровельная горячая. Технические условия

ГОСТ 3749-77 Угольники поверочные 90°. Технические условия

ГОСТ 4328-77 Реактивы. Натрия гидроокись. Технические условия

ГОСТ 5009-82 Шкурка шлифовальная тканевая. Технические условия

ГОСТ 6259-75 Реактивы. Глицерин. Технические условия

ГОСТ 6456-82 Шкурка шлифовальная бумажная. Технические условия

ГОСТ 6613-86 Сетки проволочные тканые с квадратными ячейками. Технические условия

ГОСТ 6672-75 Стекла покровные для микропрепаратов. Технические условия

ГОСТ 6709-72 Вода дистиллированная. Технические условия

ГОСТ 7502-89 Рулетки измерительные металлические. Технические условия

ГОСТ 9147-80 Посуда и оборудование лабораторные фарфоровые. Технические условия

ГОСТ 9284-75 Стекла предметные для микропрепаратов. Технические условия

ГОСТ 11078-78 Натр едкий очищенный. Технические условия

ГОСТ 12026-76 Бумага фильтровальная лабораторная. Технические условия

ГОСТ 18300-87 Спирт этиловый ректификованный технический. Технические условия

ГОСТ 18866-93 Щебень из доменного шлака для производства минеральной ваты. Технические условия

ГОСТ 19113-84 Канифоль сосновая. Технические условия

ГОСТ 21400-75 Стекло химико-лабораторное. Технические требования. Методы испытаний

ГОСТ 23932-90 Посуда и оборудование лабораторные стеклянные. Общие технические условия

ГОСТ 24104-88 Весы лабораторные общего назначения и образцовые. Общие технические условия

ГОСТ 25336-82 Посуда и оборудование лабораторные стеклянные. Типы, основные параметры и размеры

ГОСТ 26281-84 Материалы и изделия строительные теплоизоляционные. Правила приемки

3 ОБЩИЕ ТРЕБОВАНИЯ

3.1 Температура воздуха в помещении, в котором проводят испытания материалов и изделий, должна быть (22 ± 5) °С.

Время выдерживания образцов перед испытанием при определенной температуре и влажности воздуха указывают в нормативных документах на продукцию конкретного вида.

3.2 Число изделий или упаковочных единиц, отобранных от партии для проведения испытаний, принимают по ГОСТ 26281.

3.3 Число образцов (проб), отбираемых для испытаний от каждого изделия или каждой упаковочной единицы, устанавливают в нормативных документах на продукцию конкретного вида.

3.4 За результат испытания принимают среднее арифметическое значение  параллельных определений, рассчитываемое для каждого попавшего в выборку изделия или упаковочной единицы по формуле

,                                                (1)

где Xi — результат i-го испытания;

п — число результатов испытаний образцов (проб), отобранных от одного изделия (упаковочной единицы).

3.5 Высушивание образцов (проб) до постоянной массы должно производиться при температуре (105 ± 5) °С, если в нормативном документе на продукцию конкретного вида не указана другая температура.

Образцы (пробы) материалов или изделий считают высушенными до постоянной массы, если потеря их массы после повторного высушивания в течение 0,5 ч не превышает 0,1 %.

3.6 Результаты измерений или испытаний должны быть внесены в протокол испытаний, в котором указывают:

— наименование материала или изделия;

— обозначение нормативного документа, по которому изготавливают материал или изделие;

— дату изготовления;

— номер партии;

— номинальные размеры;

— вид и дату испытания;

— обозначение настоящего стандарта;

— количество образцов, подвергнутых испытанию;

— значение каждого параллельного определения;

— средние арифметические значения показателей по 3.4;

— название и адрес лаборатории, в которой проведены испытания;

— должности и фамилии лиц, проводивших испытания.

4 МЕТОДЫ ИЗМЕРЕНИЯ ЛИНЕЙНЫХ РАЗМЕРОВ

4.1 Общие требования — в соответствии с разделом 3.

4.2 Средства измерений

Линейка металлическая по ГОСТ 427.

Рулетка металлическая с ценой деления 1 мм по ГОСТ 7502.

Штангенциркуль по ГОСТ 166.

Шаблоны специальные металлические (рисунок 1).

Толщиномер игольчатый (рисунок 2) по технической документации.

Игла металлическая измерительная длиной не менее 150 мм и диаметром не более 6 мм с ценой деления 1 мм.

Труба опорная металлическая.

4.3 Предел допускаемой погрешности измерения размеров:

± 0,5 мм — линейкой, рулеткой, толщиномером, иглой;

± 0,1 мм — штангенциркулем.

4.4 Измерение длины и ширины

4.4.1 Для измерения размеров до 1 м применяют линейку, св. 1 м — рулетку. Длина измерительного инструмента должна быть не менее длины изделия.

4.4.2 Длину плиты, блока, мата измеряют в трех местах: на расстоянии (50 ± 5) мм от каждого края и посередине изделия.

Длину кирпича измеряют в двух местах: посередине изделия на каждой наибольшей грани.

Длину цилиндра измеряют по наружной поверхности вдоль четырех образующих, отстоящих друг от друга на 1/4 дуги окружности.

Длину полуцилиндра и сегмента измеряют по наружной поверхности в трех местах: на расстоянии (50 ± 5) мм от каждой продольной кромки и посередине изделия.

Длину развернутого шнура измеряют вдоль одной образующей.

4.4.3 Ширину плиты, блока и кирпича измеряют в трех местах: на расстоянии (50 ± 5) мм от каждого края и посередине изделия.

Ширину мата измеряют на расстоянии (50 ± 5) мм от каждого края и через каждый метр длины.

4.5 Измерение диаметра

4.5.1 Внутренний диаметр цилиндра, полуцилиндра и сегмента измеряют линейкой в четырех местах: на торцах цилиндра в двух взаимно перпендикулярных направлениях. Из полуцилиндров и сегментов предварительно собирают цилиндр. Место измерения не должно совпадать с разрезом цилиндра или соединительными стыками полуцилиндров и сегментов.

Допускается внутренний диаметр полуцилиндра или сегмента проверять специальным шаблоном (рисунок 1), помещая его внутри изделия поочередно меньшей и большей полуокружностью в трех местах: посередине изделия и на расстоянии (50 ± 5) мм от каждого торца. При этом меньшая полуокружность шаблона (DнD), соответствующая наименьшему предельному размеру внутреннего диаметра, должна касаться, а большая (Dн + D), соответствующая наибольшему предельному размеру внутреннего диаметра, не должна касаться нижней точки внутренней поверхности изделия (D — допускаемое отклонение внутреннего диаметра полуцилиндра или сегмента от номинального).

Рисунок 1 Шаблон

4.5.2 Диаметр шнура измеряют штангенциркулем в пяти местах, равномерно расположенных по длине. Первое и последнее измерения — на расстоянии не менее (150 ± 5) мм от концов шнура.

4.6 Измерение толщины ячеистых изделий

4.6.1 Толщину ячеистых плоских изделий измеряют штангенциркулем: в четырех местах посередине каждой стороны (для изделий длиной до 500 мм; в шести местах (по три измерения с каждой стороны изделия по направлению длины: на расстоянии (50 ± 5) мм от торцов и посередине) для изделий длиной св. 500 до 1000 мм; в восьми местах (по три измерения с каждой стороны изделия по направлению длины на расстоянии (50 ± 5) мм от торцов и посередине и по одному измерению посередине каждой стороны изделия по направлению ширины) для изделий длиной св. 1000 мм.

Допускается в нормативных документах на продукцию конкретного вида устанавливать другое число точек измерения толщины.

4.6.2 Толщину ячеистых полуцилиндров и сегментов измеряют штангенциркулем в шести местах: по два измерения на расстоянии (50 ± 5) мм от каждого торца и посередине каждого торца изделия.

4.7 Измерение толщины плоских волокнистых изделий

4.7.1 Измерение толщины производят толщиномером (рисунок 2). Масса основания 6 с корпусом 5 толщиномера должна создавать удельную нагрузку (500 ± 7,5) Па, если в нормативных документах на продукцию конкретного вида не указана другая нагрузка.

4.7.2 Для проведения измерения толщиномер устанавливают на поверхности изделия, помещенного на столе. Затем винтом 3 освобождают вставку толщиномера, левой рукой придерживают корпус 5, а правой — ручку 1. Нажимая правой рукой на ручку 1, опускают вниз вставку 4 с иглой 8, при этом игла 8 вертикально прокалывает изделие до упора о поверхность стола. После этого левой рукой плавно опускают корпус толщиномера с основанием на изделие. Через 5 мин (если в нормативных документах на продукцию конкретного вида не указано другое время) по шкале 11 при помощи указателя на стекле 12 отсчитывают толщину изделия.

1 ручка; 2 втулка; 3 — зажимной винт; 4 — вставка; 5 — корпус; 6 — основание; 7 — крепежный винт; 8 — игла; 9 — табличка; 10 — крепежный винт; 11 — шкала; 12 — стекло

Рисунок 2 Толщиномер

4.7.3 В плите измеряют толщину в пяти местах: в центре и в четырех углах, располагая иглу толщиномера на расстоянии (150 ± 5) мм от смежных краев плиты.

4.7.4 В матах измеряют толщину в четырех углах на расстоянии (150 ± 5) мм от смежных краев, затем через каждый метр длины мата в трех местах по ширине: в двух местах на расстоянии (150 ± 5) мм от краев и один раз по средней линии.

Измерение толщины прошивных изделий производят со смещением от указанных выше мест таким образом, чтобы игла толщиномера располагалась между швами.

4.8. Измерение толщины стенок волокнистых цилиндров и полуцилиндров

4.8.1 Измерение изделий производят на опорной трубе при помощи металлической измерительной иглы.

Цилиндр или полуцилиндр устанавливают на опорную трубу такого диаметра, который соответствует номинальному внутреннему диаметру цилиндра и полуцилиндра, указанному в таблице 1.

Таблица 1

В миллиметрах

Внутренний диаметр цилиндра (полуцилиндра)

Наружный диаметр опорной трубы

18

От 9 до 13

21

” 12 ” 16

25

” 14 ” 20

27

” 16 ” 22

32

” 19 ” 27

38

” 21 ” 33

45

” 27 ” 40

57

” 34 ” 52

60

” 38 ” 55

76

” 45 ” 71

89

” 53 ” 84

102

” 60 ” 97

108

” 64 ” 103

114

” 72 ” 109

133

” 76 ” 128

159

” 95 ” 154

168

” 102 ” 163

194

” 108 ” 189

219

” 133 ” 214

273

” 163 ” 268

325

” 219 ” 320

377

” 273 ” 372

426

” 325 ” 421

Толщину стенки изделия измеряют иглой, прокалывая стенку на всю толщину перпендикулярно к наружной поверхности.

Толщину стенки цилиндра измеряют в шести местах: в середине и в двух местах на расстоянии (50 ± 5) мм от торцов по направлению каждой из двух диаметрально расположенных образующих цилиндра.

Толщину стенки полуцилиндра измеряют в трех местах: в середине и в двух местах на расстоянии (50 ± 5) мм от торцов по направлению средней образующей полуцилиндра.

 

Примечание — Допускается толщину стенки цилиндра измерять штангенциркулем в восьми местах: на торцах в двух взаимно перпендикулярных направлениях, а полуцилиндра — в шести местах: по два измерения на расстоянии (50 ± 5) мм от торцов и посередине каждого торца изделия.

 

4.9 Обработка результатов

4.9.1 Результат каждого из измеренных значений длины, ширины, толщины, диаметра отдельного изделия не должен превышать значения предельного отклонения, установленного в нормативном документе на продукцию конкретного вида для каждого номинального размера.

Значение каждого геометрического размера округляют до 1 мм.

4.10 При проведении сертификации минераловатных и стекловатных матов и плит в соответствии с требованиями ИСО их линейные размеры следует определять по приложению А.

5 МЕТОД КОНТРОЛЯ ВНЕШНЕГО ВИДА ИЗДЕЛИЯ

5.1 Сущность метода заключается в визуальном осмотре изделий и линейных измерениях замеченных дефектов.

5.2 Средства контроля

Линейка металлическая по ГОСТ 427.

Штангенциркуль по ГОСТ 166.

Метр складной металлический.

5.3 Предел допускаемой погрешности измерения дефектов: линейкой ± 0,5 мм, штангенциркулем ± 0,1 мм.

5.4 Проведение контроля

5.4.1 У волокнистых изделий осматривают состояние поверхности изделия или покровного материала и устанавливают число дефектов. Размеры обнаруженных дефектов (дыры, разрывы, проколы, трещины и пр.) измеряют линейкой. За результат принимают наибольшее значение.

У вертикально-слоистых матов измеряют линейкой ширину зазора между полосами посередине изделия по направлению его длины: через пять полос при длине мата до 2,5 м и через десять полос — св. 2,5 м. За результат измерения принимают наибольшее значение.

Ширину продольной кромки покровного материала вертикально-слоистых матов измеряют с погрешностью ± 1 мм через 500 м по длине мата, но не менее чем в шести местах.

5.4.2 У ячеистых изделий измеряют глубину отбитости или притупленности ребра, прикладывая два смежных звена складного метра к смежным поверхностям изделия и измеряя линейкой в направлении биссектрисы угла, образованного звеньями складного метра, расстояние от его вершины до поверхности изделия.

Глубину отбитости или притупленности угла измеряют, прикладывая одно звено складного метра к ребру, а другое, смежное звено, — к грани изделия и измеряя линейкой в направлении биссектрисы угла, образованного звеньями складного метра, расстояние от его вершины до поверхности изделия.

При измерении глубины впадины к изделию прикладывают ребром линейку и при помощи второй линейки или штангенциркуля измеряют максимальный зазор между дном впадины и ребром приложенной линейки.

При измерении высоты выпуклости к ее вершине прикладывают ребром линейку параллельно поверхности изделия и измеряют другой линейкой зазоры между ребром линейки и поверхностью изделия по обе стороны выпуклости.

При измерении глубины впадин и высоты выпуклостей изделий с цилиндрической поверхностью ребро линейки ориентируют вдоль образующей, с плоской поверхностью — произвольно.

За результат измерения высоты выпуклости принимают значение наибольшего зазора, округленное до 1 мм.

6 МЕТОДЫ КОНТРОЛЯ ПРАВИЛЬНОСТИ ГЕОМЕТРИЧЕСКОЙ ФОРМЫ

6.1 Средства контроля

Линейки металлические с пределом измерения 150, 500 и 1000 мм по ГОСТ 427.

Рулетка измерительная металлическая с ценой деления 1 мм по ГОСТ 7502.

Угольник поверочный типа УП с Н = 160 мм по ГОСТ 3749.

Штангенциркуль по ГОСТ 166.

Метр складной металлический.

6.2 Предел допускаемой погрешности измерения:

± 0,5 мм — линейкой и рулеткой;

± 0,1 мм — штангенциркулем.

6.3 Измерение отклонения от перпендикулярности

Отклонение от перпендикулярности смежных граней плиты, кирпича и блока проверяют в четырех местах: посередине боковых и торцевых граней; в цилиндре, полуцилиндре и сегменте в двух местах: посередине торцевых граней.

Для измерения отклонения от перпендикулярности граней угольник прикладывают опорной поверхностью к торцевым (боковым) граням так, чтобы его измерительная поверхность касалась одной из наибольших граней в изделиях с плоскими поверхностями или одной из образующих цилиндрической поверхности в цилиндрах, полуцилиндрах и сегментах, и измеряют линейкой наибольший зазор между измерительной поверхностью угольника и поверхностью изделия. Результат измерения округляют до 1 мм.

6.4 Определение разности длин диагоналей

Для определения разности длин диагоналей измеряют длины двух диагоналей:

— в изделии с плоскими поверхностями — на наибольшей грани;

— в полуцилиндрах — измеряя расстояние между вершинами диагонально расположенных наружных углов в плоскости, образованной ребрами;

— в сегментах — измеряя расстояние между вершинами диагонально расположенных внутренних углов.

В изделии с поврежденным углом (углами) вершину угла устанавливают при помощи складного метра, прикладывая одно его звено к боковому ребру, а другое смежное звено — к торцевому ребру.

6.5 Измерение отклонения от прямолинейности

Отклонение от прямолинейности ребра изделия проверяют путем приложения к нему по всей длине ребра линейки и измерения расстояния между ними другой линейкой в местах:

— наибольшего зазора — для ребра с вогнутостью;

— зазоров по краям — для работы с выпуклостью.

За результат измерения отклонения от прямолинейности ребра с выпуклостью принимают значение наибольшего из измеренных зазоров, округленное до 1 мм.

6.6 Определение разнотолщинности

Разнотолщинность вычисляют как разность между наибольшим и наименьшим значениями толщины, полученными при измерении изделия в соответствии с разделом 4.

6.7 Измерение отклонения от плоскостности

Отклонение от плоскостности граней плиты, кирпича или блока проверяют на двух наибольших гранях путем приложения к ним ребра линейки и измерения другой линейкой зазоров между поверхностью изделия и ребром приложенной линейки. В каждой проверяемой грани линейку прикладывают посередине последовательно в двух направлениях: вдоль всей длины и вдоль всей ширины изделия, и измеряют:

— наибольший зазор — для поверхности с вогнутостью;

— зазоры по краям — для ребра с выпуклостью.

За результат измерения отклонения от прямолинейности ребра с выпуклостью принимают значение наибольшего из измеренных зазоров, округленное до 1 мм.

6.8 Измерение отклонения от цилиндричности

Отклонение от цилиндричности изделий определяют путем приложения ребра линейки к образующей цилиндрической поверхности и измерения другой линейкой зазоров между поверхностью изделия и ребром приложенной линейки.

Линейку прикладывают к цилиндрической поверхности цилиндра последовательно в четырех перпендикулярно расположенных местах, а полуцилиндра и сегмента — в трех местах (посередине и на расстоянии (50 ± 5) мм от краев изделия) и измеряют:

— наибольший зазор — для поверхности с вогнутостью;

— зазоры по краям — для поверхности с выпуклостью.

За результат измерения отклонения от цилиндричности поверхности изделия с выпуклостью принимают значение наибольшего из измеренных зазоров, округленное до 1 мм.

6.9 При проведении сертификации минераловатных и стекловатных матов и плит в соответствии с требованиями ИСО правильность их геометрической формы следует определять в соответствии с приложением Б.

7 МЕТОД ОПРЕДЕЛЕНИЯ ПЛОТНОСТИ

7.1 Метод не распространяется на теплоизоляционные изделия из ячеистого бетона и сыпучие зернистые материалы.

7.2 Определение плотности плоских, фасонных и шнуровых изделий

7.2.1 Средства контроля

Весы, имеющие предел допускаемой погрешности взвешивания не более 0,5 %.

Линейка металлическая по ГОСТ 427.

Рулетка металлическая с ценой деления 1 мм по ГОСТ 7502.

Штангенциркуль по ГОСТ 166.

Толщиномер игольчатый (рисунок 2).

Электрошкаф сушильный, обеспечивающий температуру нагрева до 105 °С и автоматическое регулирование температуры с пределом допускаемой погрешности ± 5 °С.

7.2.2 Отбор образцов

Плотность определяют на образцах или на изделиях, в которых отклонения от правильной формы не превышают предельных значений, установленных в нормативных документах на продукцию конкретного вида.

Определение плотности на образцах допускается для изделий, имеющих длину более 500 мм. При этом длина образца должна быть не менее 500 мм, ширина — не менее 500 мм или равна ширине изделия.

Плотность органических ячеистых изделий определяют на образцах размером [(50 х 50 х 50) ± 1] мм, не имеющих уплотненного верхнего слоя, для изделий номинальной толщиной более 50 мм и размером [(40 х 40 х 40) ± 1]мм — для изделий номинальной толщиной 50 мм, если в нормативных документах на изделия конкретного вида не указаны другие размеры.

Длина образца шнура должна быть не менее 1000 мм.

7.2.3 Порядок проведения испытания

Отобранное для испытания изделие или образец взвешивают с погрешностью не более 0,5 %. Затем измеряют в соответствии с разделом 4 размеры изделия или образца (длину, ширину, толщину, диаметр) и вычисляют его объем.

Если изделие (образец) имеет покровный материал, масса которого превышает 2 % массы изделия (образца), то ее необходимо вычесть из массы изделия (образца). Объем изделия (образца), вычисляют без учета толщины покровного материала, если его номинальная толщина превышает 1 мм.

7.2.4 Обработка результатов

Плотность  в килограммах на кубический метр вычисляют по формулам:

— для изделий (образцов) без покровного материала

,                            (2)

где т — масса изделия (образца), кг;

W влажность изделия (образца), определенная в соответствии с разделом 8, %;

V — объем изделия (образца), м3;

— для образцов органических ячеистых изделий

,                                          (3)

где т1 масса высушенного образца, кг;

— для изделий (образцов) с покровным материалом

,                            (4)

где т2 — масса изделия (образца) с покровным материалом, кг;

т3 масса покровного материала после отделения от него теплоизоляционного, слоя, кг;

— для шнура или его образца

,                        (5)

где т4 масса шнура (образца) с оплеткой, кг;

т5 масса оплетки 1 пог. м шнура, кг/м;

l — длина шнура (образца), м;

D диаметр шнура, м.

7.3 Определение плотности рыхлых волокнистых материалов

7.3.1 Метод не распространяется на волокнистые рыхлые материалы плотностью до 40 кг/м3.

7.3.2 Средства контроля

Толщиномер проб для определения плотности рыхлых волокнистых материалов (рисунок 3) по технической документации.

Весы с пределом допускаемой погрешности взвешивания ± 1 г.

Электрошкаф сушильный, обеспечивающий температуру нагрева до 105 °С и автоматическое регулирование температуры с пределом допускаемой погрешности ± 5 °С.

7.3.3 Порядок проведения испытаний

При помощи храповика 1 шток прибора 10 (рисунок 3) с диском 8 поднимают в крайнее верхнее положение и поворачивают его влево на 90°. Предварительно взвешенную пробу волокнистого материала массой (500 ± 10) г укладывают горизонтальными слоями в цилиндр 6. Затем кронштейн 2 поворачивают обратно на 90° и при помощи храповика 1 шток 10 с диском 8 опускают в цилиндр 6 на испытуемый материал, при этом освобождается канат храповика 1. Через 5 мин выдержки материала под удельной нагрузкой (2000 ± 30) Па производят с погрешностью не более 0,5 мм отсчет показания толщины пробы по шкале прибора. Пробу удаляют через нижнюю часть цилиндра 6, выдвинув задвижку 7.

1 храповик; 2 — кронштейн; 3 колонна; 4 — установочный винт; 5 — основание; 6 — цилиндр; 7 — задвижка; 8 — диск; 9 корпус; 10 — шток

Рисунок 3 Толщиномер проб

7.3.4 Обработка результатов

Объем рыхлого волокнистого материала V под удельной нагрузкой (2000 ± 30) Па вычисляют в кубических метрах с округлением до 0,0001 м3 по формуле

V = R2 h,                                    (6)

где R внутренний радиус цилиндра, м;

h — высота сжатого слоя материала в цилиндре, м.

Плотность материала  в килограммах на кубический метр под удельной нагрузкой (2000 ± 30) Па вычисляют по формуле

,                            (7)

где т — масса пробы рыхлого волокнистого материала, кг;

V — объем, занимаемый пробой в приборе под удельной нагрузкой (2000 ± 30) Па, м3;

W — влажность материала, определенная в соответствии с разделом 8, %.

Результат определения округляют до 1 кг/м3.

8 МЕТОД ОПРЕДЕЛЕНИЯ ВЛАЖНОСТИ

8.1 Метод не распространяется на теплоизоляционные изделия из ячеистых бетонов и фибролитовые плиты.

8.2 Общие требования — в соответствии с разделом 3.

8.3 Средства контроля

Электрошкаф сушильный, обеспечивающий температуру нагрева до 105 °С и автоматическое регулирование температуры с пределом допускаемой погрешности ± 5 °С.

Весы, имеющие предел допускаемой погрешности взвешивания +0,01 г.

Стаканчики стеклянные типа СВ или СН по ГОСТ 25336 или тигли по ГОСТ 9147.

Эксикатор по ГОСТ 25336.

Кальций хлористый плавленый.

8.4 Порядок проведения испытания

Пробу массой (5 ± 0,1) г помещают в предварительно высушенный и взвешенный стаканчик или тигель и высушивают в сушильном электрошкафу до постоянной массы в соответствии с разделом 3.

После высушивания перед каждым повторным взвешиванием стаканчик или тигель с пробой охлаждают в эксикаторе над хлористым кальцием.

Влажность органических ячеистых изделий определяют на образцах размерами, указанными в 7.2.2. Образцы высушивают в соответствии с разделом 3 и охлаждают в эксикаторе над хлористым кальцием.

 

Примечание — При подготовке проб (образцов) к испытанию необходимо с изделия удалить покровный материал.

 

8.5 Обработка результатов

Влажность W в процентах вычисляют по формуле

,                            (8)

где т1 — масса стаканчика или тигля с пробой до высушивания, г;

т2 масса стаканчика или тигля с пробой, высушенной до постоянной массы, г;

т3 масса стаканчика или тигля, г.

Влажность органических ячеистых изделий вычисляют по формуле

,                            (9)

где т4 масса образца до сушки, г;

т5 масса образца после сушки, г.

Результат вычисления округляют до 0,1 %.

9 МЕТОД УСКОРЕННОГО ОПРЕДЕЛЕНИЯ СОРБЦИОННОЙ ВЛАЖНОСТИ

9.1 Общие требования к методу — в соответствии с разделом 3.

9.2 Сущность метода заключается в измерении массы воды, адсорбированной образцом сухого материала при определенных условиях в течение заданного времени.

9.3 Средства контроля

Электрошкаф сушильный, обеспечивающий температуру нагрева до 105 °С и автоматическое регулирование температуры с пределом допускаемой погрешности ± 5 °С.

Весы аналитические, имеющие предел допускаемой погрешности взвешивания ± 0,2 мг.

Стаканчик (бюкс) стеклянный по ГОСТ 23932.

Эксикатор по ГОСТ 25336.

Кальций хлористый плавленый.

9.4 Порядок подготовки к испытанию

Пробу массой (5 ± 1) г помещают в предварительно высушенный и взвешенный стаканчик (бюкс) и высушивают до постоянной массы в соответствии с разделом 3, взвешивают и до проведения испытания хранят в эксикаторе над хлористым кальцием.

Сорбционную влажность органических ячеистых изделий определяют на образцах размерами, указанными в 7.2.2. Образцы высушивают в соответствии с разделом 3 и охлаждают в эксикаторе над хлористым кальцием.

Для проведения испытания может использоваться проба (образец) материала после определения на ней влажности в соответствии с разделом 8.

9.5 Порядок проведения испытания

Стаканчик с пробой материала помещают над водой в эксикатор и выдерживают в течение 24 или 72 ч. Затем стаканчик с пробой материала вынимают из эксикатора и взвешивают. Объем проб материала, одновременно помещенных в эксикатор, не должен превышать 50 % объема воздушного пространства в эксикаторе.

Образцы органических ячеистых изделий после сушки взвешивают, помещают над водой в эксикатор и выдерживают в течение 24 ч при температуре (22 ± 5) °С, после чего снова взвешивают.

9.6 Обработка результатов

Сорбционную влажность Wсорб в процентах вычисляют по формуле

,                        (10)

где m1 масса бюкса с пробой после выдерживания над водой, г;

т2 масса бюкса с пробой, высушенной до постоянной массы, г;

т3 — масса бюкса, г.

Сорбционную влажность органических ячеистых изделий вычисляют по формуле

,                        (11)

где т4 масса образца после выдерживания над водой, г;

т5 — масса высушенного образца, г;

Результат определения округляют до 0,1 %.

10 МЕТОДЫ ОПРЕДЕЛЕНИЯ ВОДОПОГЛОЩЕНИЯ

10.1 Общие требования — в соответствии с разделом 3.

10.2 Средства контроля

Электрошкаф сушильный, обеспечивающий температуру нагрева до 105 °С и автоматическое регулирование температуры с пределом допускаемой погрешности ± 5 °С.

Весы, имеющие предел допускаемой погрешности взвешивания ± 0,01 г.

Ванна из нержавеющего материала, имеющая сетчатые подставку и пригруз из нержавеющего материала (рисунок 4).

Поддон для взвешивания с размерами в плане 120 х 120 мм, высотой бортов 10 мм.

Эксикатор по ГОСТ 25336.

Кальций хлористый плавленый.

10.3 Метод определения водопоглощения при полном погружении образца в воду

10.3.1 Сущность метода заключается в измерении массы воды, поглощенной образцом сухого материала при полном погружении в воду в течение заданного времени.

1 — сетчатый пригруз; 2 образец; 3 — сетчатая подставка; 4 — ванна

Рисунок 4 Ванна с образцом, полностью погруженным в воду

10.3.2 Порядок подготовки к испытанию

Для испытания из изделия вырезают образец в форме прямоугольного параллелепипеда длиной и шириной (100 ± 2) мм и толщиной, равной толщине изделия.

Из органических ячеистых изделий вырезают образец размером [(50 х 50 х 50) ± 1] мм. При толщине изделий меньше 50 мм высоту образца принимают равной толщине изделия.

Образцы высушивают до постоянной массы в соответствии с разделом 3 и охлаждают в эксикаторе над хлористым кальцием.

10.3.3 Порядок проведения испытания

В ванну 4 (рисунок 4) на сетчатую подставку 3 помещают образец 2 и фиксируют его положение сетчатым пригрузом 7. Затем заливают в ванну воду температурой (22 ± 5) °С так, чтобы уровень воды был выше пригруза на 20 — 40 мм.

Через 24 ч после залива воды образец переносят на подставку и через 30 с взвешивают на сухом поддоне. Массу воды, вытекшей из образца во время взвешивания в поддон, включают в массу насыщенного водой образца.

Образцы из органических ячеистых изделий через 24 ч после залива воды вынимают, протирают фильтровальной бумагой и взвешивают.

10.4 Метод определения водопоглощения при частичном погружении образца в воду

10.4.1 Сущность метода заключается в измерении массы воды, впитанной образцом сухого материала, частично погруженным в воду, в течение заданного времени.

10.4.2 Для испытания вырезают образец по форме прямоугольного параллелепипеда длиной и шириной (100 ± 2) мм и толщиной (30 ± 2) мм.

Если толщина изделия больше 30 мм, то излишек срезают с одной стороны. Образец высушивают до постоянной массы, затем охлаждают в эксикаторе над хлористым кальцием и взвешивают.

10.4.3 В ванну 3 (рисунок 5) на сетчатую подставку 2 помещают несрезанной плоскостью образец 1.

1 — образец; 2 сетчатая подставка; 3 — ванна с водой

Рисунок 5 Ванна с образцом, частично погруженным в воду

Затем заливают в ванну воду температурой (22 ± 5) °С так, чтобы образец был погружен в воду на (5 ± 1) мм. При этом уровень воды в ванне поддерживают постоянным. После выдержки в течение 24 ч образец вынимают из воды и переносят на сетчатую подставку, через 30 с помещают в сухой поддон и взвешивают.

Массу воды, вытекшей из образца во время взвешивания в поддон, включают в массу насыщенного водой образца.

10.5 Обработка результатов

Водопоглощение при полном или частичном погружении образца Wп в процентах по массе вычисляют по формуле

,                   (12)

где т1 масса образца после насыщения водой и поддона для взвешивания, г;

т2 — масса образца, предварительно высушенного до постоянной массы, г;

т3 — масса сухого поддона для взвешивания, г.

Водопоглощение органических ячеистых изделий при полном погружении образца  в процентах по объему вычисляют по формуле

,                          (13)

где т4 масса образца после насыщения водой, г;

т5 — масса образца, предварительно высушенного до постоянной массы, г;

V — объем образца, см3;

в плотность воды, г/см3.

11 МЕТОД ОПРЕДЕЛЕНИЯ СОДЕРЖАНИЯ ОРГАНИЧЕСКИХ ВЕЩЕСТВ

11.1 Общие требования — в соответствии с разделом 3.

11.2 Сущность метода основана на измерении потери массы пробы после прокаливания ее при определенной температуре в течение заданного времени.

11.3 Средства контроля

Электропечь камерная, обеспечивающая температуру нагрева до 600 °С и автоматическое регулирование температуры с пределом допускаемой погрешности ± 10 °С.

Весы, имеющие предел допускаемой погрешности взвешивания ± 0,01 г.

Тигель фарфоровый по ГОСТ 9147.

Эксикатор по ГОСТ 25336.

Кальций хлористый плавленый.

11.4 Подготовка к испытанию

В предварительно прокаленный и взвешенный тигель помещают пробу массой (5 ± 0,1) г и высушивают до постоянной массы в соответствии с разделом 3. До испытания пробу хранят в эксикаторе над хлористым кальцием.

Для испытания может быть использована проба материала или изделия после определения в ней влажности в соответствии с разделом 8.

11.5 Порядок проведения испытания

Тигель с пробой помещают в камерную электропечь и при температуре (600 ± 10) °С выдерживают в течение 2 ч. Затем тигель с пробой охлаждают в эксикаторе над хлористым кальцием и взвешивают.

11.6 Обработка результатов

Содержание органических веществ Zо в процентах вычисляют по формуле

,                            (14)

где т1 масса тигля с пробой, высушенной до постоянной массы, г;

т2 масса тигля с пробой после прокаливания, г;

т3 — масса тигля, г.

Результат испытания округляют до 0,1%.

12 МЕТОД ОПРЕДЕЛЕНИЯ ПОЛНОТЫ ПОЛИКОНДЕНСАЦИИ ФЕНОЛОФОРМАЛЬДЕГИДНОГО СВЯЗУЮЩЕГО

12.1 Метод распространяется на неорганические волокнистые материалы и изделия, содержащие фенолоформальдегидное связующее.

12.2 Общие требования — в соответствии с разделом 3.

12.3 Сущность метода заключается в определении потери в массе пробы материала или изделия после экстрагирования неотвержденной части связующего ацетоном.

12.4 Средства контроля

Электропечь камерная, обеспечивающая температуру нагрева до 600 °С и автоматическое регулирование температуры с пределом допускаемой погрешности ± 10 °С.

Электрошкаф сушильный, обеспечивающий температуру нагрева до 105 °С и автоматическое регулирование температуры с пределом допускаемой погрешности ± 5 °С.

Весы аналитические, имеющие предел допускаемой погрешности взвешивания ± 0,2 мг.

Прибор Сокслета для экстрагирования.

Тигель фарфоровый по ГОСТ 25336 с пористой пластиной из стекла (ПОР 160) по ГОСТ 21400.

Ступка с пестиком по ГОСТ 9147.

Чашка ЧБВ по ГОСТ 25336.

Пятиокись фосфора по технической документации или кислота серная концентрированная по ГОСТ 2184.

Кальций хлористый плавленый.

Эфир петролейный.

Ацетон по ГОСТ 2603.

12.5 Пробу массой (40 ± 1) г измельчают в фарфоровой ступке. Порошок перемешивают стеклянной палочкой, насыпают в чашку высотой слоя не более 20 мм и выдерживают для удаления влаги в эксикаторе с концентрированной серной кислотой или пятиокисью фосфора в течение 24 ч. Из высушенного порошка отбирают две пробы массой (10 ± 0,2) г каждая. Одна проба предназначена для определения содержания органических веществ, другая — неотвержденного фенолоформальдегидного связующего и гидрофобизирующей добавки (при ее наличии в материалах и изделиях).

12.6 Проведение анализа

12.6.1 В одной пробе, подготовленной по 12.5, определяют содержание органических веществ в соответствии с разделом 11.

12.6.2 Вторую пробу, подготовленную по 12.5, помещают в предварительно взвешенный фильтрующий тигель с пористой пластиной и взвешивают. Затем тигель закрывают фильтровальной бумагой и помещают в прибор Сокслета таким образом, чтобы во время экстрагирования верхняя часть тигля на 4 — 5 мм выступала над поверхностью растворителя.

Соединяют прибор с холодильником и нагревают колбу с растворителем до его кипения. Нагрев должен обеспечить сифонирование примерно 10 — 12 раз в час.

Гидрофобизирующее вещество, содержащееся в пробе, экстрагируют петролейным эфиром в течение 3 ч. По окончании экстрагирования тигель вместе с пробой (без фильтра) высушивают при температуре (40 ± 5) °С до постоянной массы, затем охлаждают в эксикаторе с хлористым кальцием и взвешивают. После этого тигель снова закрывают фильтром, помещают в прибор Сокслета и экстрагируют ацетоном в течение 10 ч для удаления неотвержденной растворимой части связующего. После экстрагирования тигель вместе с пробой (без фильтра) помещают в сушильный шкаф, высушивают до постоянной массы, затем охлаждают в эксикаторе над хлористым кальцием и взвешивают.

 

Примечание — В случае отсутствия гидрофобизируюших веществ экстрагирование петролейным эфиром не проводят.

 

12.6.3 Содержание гидрофобизирующего вещества Z1 в процентах вычисляют по формуле

,                (15)

где т1 — масса пробы до экстрагирования петролейным эфиром, г;

т2 — масса пробы после экстрагирования петролейным эфиром, г.

Примечание — В случае отсутствия гидрофобизирующего вещества т1 = т2.

12.6.4 Содержание связующего вещества Z в процентах вычисляют по формуле

Z = Zо - Z1,                        (16)

где Zо — содержание органических веществ, определенное в соответствии с разделом 11 на пробе, подготовленной по 12.5.

12.6.5 Полноту поликонденсации связующего вещества Ср в процентах вычисляют по формуле

,             (17)

где т3 масса пробы после экстрагирования ацетоном, г.

13 МЕТОД ОПРЕДЕЛЕНИЯ ПРОЧНОСТИ НА СЖАТИЕ ПРИ 10 %-НОЙ ЛИНЕЙНОЙ ДЕФОРМАЦИИ

13.1 Метод распространяется на неорганические волокнистые и органические ячеистые теплоизоляционные изделия.

13.2 Общие требования — в соответствии с разделом 3.

13.3 Сущность метода заключается в измерении значения сжимающих усилий, вызывающих деформацию образца по толщине на 10 % при соответствующих условиях испытания.

13.4 Средства испытания

Машина испытательная, обеспечивающая скорость нагружения образца 5 — 10 мм/мин и позволяющая измерить нагрузку с погрешностью, не превышающей 1 % значения сжимающего усилия.

Индикатор часового типа по ГОСТ 577.

Линейка металлическая по ГОСТ 427.

Штангенциркуль по ГОСТ 166.

13.5 Порядок подготовки к испытанию

Из изделия выпиливают образец в форме параллелепипеда длиной и шириной (100 ± 1) мм и толщиной, равной толщине изделия.

Предел допускаемой погрешности измерения длины и ширины образца линейкой ± 0,5 мм, штангенциркулем ± 0,1 мм.

Для органических ячеистых изделий изготавливают образцы размерами, указанными в 7.2.2.

13.6 Порядок проведения испытания

Для проведения испытания образец помещают в машину таким образом, чтобы сжимающее усилие действовало по вертикальной оси образца, и измеряют нагрузку, при которой он уплотняется (деформируется) на 10 %. Измерение деформации образца производят индикатором часового типа. Отчет деформации образцов начинают при удельной нагрузке на образец (2000 ± 100) Па (кроме образцов органических ячеистых изделий).

13.7 Обработка результатов

Прочность на сжатие при 10 %-ной линейной деформации 10 в мегапаскалях (кгс/см2) вычисляют по формуле

,                                         (18)

где Р— нагрузка при 10 %-ной линейной деформации, Н (кгс);

l — длина образца, мм (см);

b ширина образца, мм (см).

Результат испытания округляют до 0,01 МПа.

13.8 При проведении сертификации минераловатных и стекловатных плит в соответствии с требованиями ИСО их прочность на сжатие следует определять по приложению В.

14 МЕТОД ОПРЕДЕЛЕНИЯ ПРЕДЕЛА ПРОЧНОСТИ ПРИ СЖАТИИ

14.1 Метод не распространяется на теплоизоляционные изделия из ячеистых бетонов.

14.2 Общие требования — в соответствии с разделом 3.

14.3 Сущность метода заключается в измерении значения сжимающих усилий, вызывающих разрушение образца при соответствующих условиях испытания.

14.4 Средства контроля

Машина испытательная, обеспечивающая скорость нагружения образца 5 — 10 мм/мин и позволяющая измерить значение нагрузки с погрешностью, не превышающей 1 % значения разрушающего усилия.

Штангенциркуль по ГОСТ 166.

14.5 Порядок подготовки к испытанию

Из изделия выпиливают образец в форме куба с размером ребра (100 ± 1) мм, если в нормативном документе на конкретный вид продукции не указаны другие размеры.

Длину и ширину верхнего и нижнего основания образца измеряют штангенциркулем по двум параллельным ребрам. Предел допускаемой погрешности измерения ± 0,1 мм.

Длиной и шириной образца считают среднее арифметическое значение четырех измерений длины и ширины верхнего и нижнего оснований.

 

Примечание — Допускается при толщине изделия менее 100 мм составлять куб указанного размера из двух образцов в форме параллелепипеда высотой (50±5) мм. Две половины составного образца притирают друг к другу и измеряют длину каждого ребра штангенциркулем. В подготовленном для испытания образце длины всех параллельных ребер не должны различаться более чем на 0,5 мм.

 

14.6 Порядок проведения испытания

Целый или составной по высоте образец устанавливают в машину так, чтобы сжимающее усилие было направлено по вертикальной оси образца.

Разрушающей считают наибольшую нагрузку, отмеченную при испытании образца в момент его разрушения.

14.7 Обработка результатов

Предел прочности при сжатии R в мегапаскалях (кгс/см2) вычисляют по формуле

,                                         (19)

где Р — разрушающая нагрузка , Н (кгс);

l — длина образца, мм (см);

b — ширина образца, мм (см).

Результат испытания округляют до 0,01 МПа.

15 МЕТОД ОПРЕДЕЛЕНИЯ ПРЕДЕЛА ПРОЧНОСТИ ПРИ ИЗГИБЕ

15.1 Общие требования — в соответствии с разделом 3.

15.2 Сущность метода заключается в измерении значения усилия, вызывающего разрушение образца при его изгибе при соответствующих условиях испытания.

15.3 Средства испытания

Машина испытательная, обеспечивающая скорость нагружения образца центральной сосредоточенной нагрузкой 5 — 10 мм/мин и позволяющая снять отсчет разрушающей нагрузки с погрешностью не более 1 %.

Штангенциркуль по ГОСТ 166.

15.4 Порядок подготовки к испытанию

Из изделия выпиливают образец квадратного сечения с размером ребра (40 ± 2) мм и длиной (200±3)мм.

При толщине изделия менее 40 мм из него выпиливают образец шириной (40 ± 2) мм и максимально возможной толщины. Перед испытанием образец подшлифовывают.

Для органических ячеистых изделий образцы выпиливают длиной (160 ± 1) мм, шириной и толщиной (30 ± 1) мм, если в нормативных документах на изделия конкретного вида не указаны другие размеры.

Ширину и толщину измеряют штангенциркулем в средней части двух противоположных граней образца. Предел допускаемой погрешности измерения ± 0,1 мм.

Шириной и толщиной образца считают среднее арифметическое значение двух измерений.

15.5 Порядок проведения испытания

Образец укладывают на две цилиндрические опоры диаметром (10 ± 0,1) мм. Расстояние между осями опор должно быть (160 ± 1) мм.

Нагрузка на образец должна передаваться через валик диаметром (10 ± 0,1) мм, приложенный по всей ширине образца на равном расстоянии от опор и перемещающийся со скоростью 5 — 10 мм/мин.

При испытании органических ячеистых изделий образец устанавливают на опоры так, чтобы концы образца выходили за оси опор не менее чем на 15 мм. При этом расстояние между опорами должно быть (120 ± 1) мм, радиус закругления опор — (6 ± 0,1) мм.

Нагружающее устройство должно иметь форму полуцилиндра радиусом (6 ± 1) мм и перемещаться со скоростью 5 — 10 мм/мин.

Разрушающей считают наибольшую нагрузку, отмеченную при испытании образца в момент его разрушения.

 

Примечание — Допускается изменение диаметра опор и расстояния между ними, если в нормативных документах на конкретные виды продукции установлены другие размеры образцов.

 

15.6 Обработка результатов

Предел прочности при изгибе Rизг в мегапаскалях (кгс/см2) вычисляют по формуле

Rизг = ,                                   (20)

где Р — разрушающая нагрузка , Н (кгс);

l — расстояние между осями опор, мм (см);

b ширина образца, мм (см);

h высота образца, мм (см).

Результат испытания округляют до 0,01 МПа.

15.7 При проведении сертификации минераловатных и стекловатных плит в соответствии с требованиями ИСО разрушающую силу при испытании их на изгиб следует определять по приложению Г.

16 МЕТОД ОПРЕДЕЛЕНИЯ ПРЕДЕЛА ПРОЧНОСТИ ПРИ РАСТЯЖЕНИИ

16.1 Метод распространяется на неорганические волокнистые материалы и изделия.

16.2 Общие требования — в соответствии с разделом 3.

16.3 Сущность метода заключается в измерении значения растягивающих усилий, вызывающих разрушение образца материала или изделия при заданных условиях испытания.

16.4 Средства испытаний

Машина разрывная, обеспечивающая растяжение образца со скоростью движения активного захвата (20 ± 1) мм/мин и позволяющая измерить значение разрушающего усилия с погрешностью не более 1 %.

Зажимы игольчатые (рисунок 6).

Линейка металлическая по ГОСТ 427.

Толщиномер (рисунок 2).

16.5 Порядок подготовки к испытанию

Из материала или изделия с плоской поверхностью вырезают образец в форме параллелепипеда длиной (280 ± 3) мм, шириной (70 ± 2) мм и толщиной, равной толщине материала или изделия. Из изделия с цилиндрической поверхностью вырезают образец указанной длины и ширины и максимально возможной толщины.

Ширину образца измеряют линейкой с двух сторон посередине его длины и на расстоянии (50 ± 5) мм от каждого торца. Предел допускаемой погрешности измерения линейкой ± 0,5 мм.

Шириной образца считают среднее арифметическое значение шести измерений.

Толщиной образца, вырезанного из материала или изделия с плоской поверхностью, считают толщину материала (изделия), из которого он вырезан, определенную и соответствии с разделом 4.

16.6 Порядок проведения испытания

Образец с обоих концов закрепляют в игольчатые зажимы (рисунок 6) так, чтобы расстояние между зажимами было (200 ± 1) мм и помещают в прибор. Растягивающее усилие передают на образец через игольчатые зажимы при скорости движения активного захвата (20 ± 1) мм/мин. Разрушающим считают наибольшее усилие, отмеченное при испытании образца в момент его разрушения. При разрушении образца в зажимах или около них результат считают недействительным.

1 — образец; 2 — игольчатый зажим

Рисунок 6 — Схема закрепления образца в игольчатых зажимах

16.7 Обработка результатов

Предел прочности при растяжении Rраст в мегапаскалях (кгс/см2) вычисляют по формуле

Rраст = ,                                    (21)

где Р — разрушающая нагрузка, Н (кгс);

b ширина образца, мм (см);

h — толщина образца, мм (см).

Результат испытания округляют до 0,01 МПа.

16.8 При проведении сертификации минераловатных и стекловатных матов и плит в соответствии с требованиями ИСО прочность матов при растяжении следует определять по приложению Д, прочность плит на отрыв слоев — по приложению Е.

17 МЕТОД ОПРЕДЕЛЕНИЯ СЖИМАЕМОСТИ И УПРУГОСТИ

17.1 Метод распространяется на неорганические волокнистые изделия.

17.2 Общие требования — в соответствии с разделом 3.

17.3 Сущность метода заключается в измерении толщины образца изделия при воздействии сжимающей удельной нагрузки в определенной последовательности.

17.4 Средства испытании

Прибор для определения сжимаемости и упругости (рисунок 7) по технической документации.

17.5 Порядок подготовки к испытанию

Из изделия изготавливают образец, имеющий в плане форму квадрата со стороной (100 ± 1) мм, толщиной, равной толщине изделия.

17.6 Порядок проведения испытания

В исходном положении подвижные части прибора (рисунок 7) зафиксированы в верхнем положении. Испытуемый образец устанавливают на основание 9. Отпустив винт 16, пластину 8 приближают к поверхности образца, винт 16 снова зажимают. Далее отпускают винт 13 и, придерживая рукой кронштейн 7, опускают на образец пластину 8, создавая удельную нагрузку (500 ± 7,5) Па, и выдерживают при данной нагрузке 5 мин. После этого зажимают винт 13, по миллиметровой шкале отсчитывают первоначальную толщину образца (h). Затем при помощи держателя 5 индикатор 4 подводят к опоре 14, устанавливают на его шкале показание 10 мм и арретируют ею измерительную ось фиксатором 3. Далее освобождают винт 16 и, придерживая рукой кронштейн 7, нагружают образец удельной нагрузкой (2000 ± 30) Па и выдерживают при данной нагрузке 5 мин. После этого винт 16 зажимают, фиксатор 3 опускают и по шкале индикатора отсчитывают изменение толщины .

Если ?h превышает 10 мм, толщину образца после деформации h1 под удельной нагрузкой (2000 ± 0) Па отсчитывают по миллиметровой шкале 6.

Подняв измерительную ось индикатора и зафиксировав ее индикатором 3, освобождают винт 16, поднимают движущуюся часть прибора вместе с пластиной 8 и вновь закрепляют винтом 16.

Через 15 мин после снятия нагрузки на поверхность образца повторно опускают пластину 8, выдерживают в таком положении 5 мин, если в нормативных документах на изделия конкретного вида не указано другое время выдержки, и затем закрепляют ее винтом 13.

Отжав фиксатор 3, дают измерительной оси индикатора опуститься на пластину 8 и по шкале индикатора отсчитывают изменение толщины h1.

Если h1 превышает 10 мм, толщину образца после снятия нагрузки (2000 ± 30) Па под нагрузкой (500 ± 7,5) Па отсчитывают по миллиметровой шкале 6.

1 столик; 2 — направляющая; 3 — фиксатор; 4 — индикатор; 5 держатель; 6 шкала; 7 кронштейн; 8 — пластина; 9 основание; 10 — опора; 11 — палец; 12 — держатель; 13 — винт; 14 — опора; 15 — шток; 16 — винт; 17 кронштейн.

Рисунок 7 — Прибор для определения сжимаемости и упругости

17.7 Обработка результатов

Сжимаемость Сж в процентах вычисляют по формулам:

— при отсчете по индикатору

Сж = ;                              (22)

при отсчете по миллиметровой шкале

Сж = ,                          (23)

где h — толщина образца под удельной нагрузкой (500 ± 7,5) Па, мм;

h1 — толщина образца после деформации под удельной нагрузкой (2000 ± 30) Па, мм;

h изменение толщины образца под удельной нагрузкой (2000 ± 30) Па, мм.

Упругость У в процентах вычисляют по формулам:

— при отсчете по индикатору

У = ;                            (24)

— при отсчете по миллиметровой шкале

У = ;                                   (25)

где h2 — толщина образца после снятия нагрузки (2000 ± 30) Па, мм;

h1 изменение толщины образца после снятия удельной нагрузкой (2000 ± 30) Па, мм.

Результат определений округляют до 0,1 %.

18 МЕТОД ОПРЕДЕЛЕНИЯ ГИБКОСТИ

18.1 Метод распространяется на неорганические волокнистые материалы и изделия.

18.2 Общие требования — в соответствии с разделом 3.

18.3 Оборудование

Устройство для определения гибкости теплоизоляционных материалов (рисунок 8) по технической документации.

18.4 Отбор образцов

Из плоского материала или изделия вырезают образец шириной (100 ± 5) мм и толщиной, равной толщине изделия. Длина образца должна быть не менее длины окружности цилиндра, на котором будут проводиться испытания.

От шнурового материала отрезают образец длиной (300 ± 5) мм.

18.5 Проведение испытания

Испытание образца проводят на цилиндре, диаметр которого указан в нормативном документе на продукцию конкретного вида.

Образец плоского материала или изделия берут за два края по длине и прикладывают к цилиндру таким образом, чтобы середина длины образца касалась образующей цилиндра. Затем одновременно оба края образца изгибают так, чтобы он касался всей поверхности цилиндра.

Образец шнура берут за два края по длине и прикладывают к цилиндру таким образом, чтобы получился полный виток.

18.6 Оценка результата испытания

Гибкость образца оценивают визуально по разрывам и расслоениям на его поверхности.

1 — опора; 2 — прижимная планка; 3 — цилиндр; 4 гайка; 5 — опора; 6 основание

Рисунок 8 — Устройство для определения гибкости

19 МЕТОД ОПРЕДЕЛЕНИЯ ЛИНЕЙНОЙ ТЕМПЕРАТУРНОЙ УСАДКИ

19.1 Метод распространяется па теплоизоляционные неорганические ячеистые изделия.

19.2 Общие требования — в соответствии с разделом 3.

19.3 Сущность метода заключается в измерении изменения длины образца изделия до и после воздействия на него определенной температуры в течение заданного времени.

19.4 Средства испытаний

Электропечь камерная, имеющая автоматическое регулирование температуры с пределом допускаемой погрешности ±10 °С.

Устройство для определения линейной усадки (рисунок 9) по технической документации.

Штангенциркуль по ГОСТ 166 с пределом допускаемой погрешности ± 0,1 мм.

19.5 Порядок подготовки к испытанию

Из изделия выпиливают образец в форме параллелепипеда квадратного сечения со стороной размером (40 ± 1) мм, длиной (100 ± 2) мм, если в нормативном документе на конкретный вид продукции не указаны другие размеры.

В подготовленном для испытания образце длины ребер не должны различаться более чем на 0,5 мм.

19.6 Порядок проведения испытания

Длину образца измеряют штангенциркулем по средним линиям двух противоположных граней. Длиной образца l считают среднее арифметическое двух измерений, округленное до 0,1 мм.

В устройство (рисунок 9), отведя наконечник 2 индикатора 1, помещают образец 5 таким образом, чтобы двумя смежными гранями он был плотно прижат к основанию 3 и боковой стенке 6, а одним из торцов — к упору 4. Затем наконечник индикатора опускают до соприкосновения с торцом образца и снимают показание индикатора И1.

1 — индикатор часового типа; 2 — наконечник измерительного стержня индикатора; 3 основание; 4 — упор; 5 — образец; 6 — боковая стенка

Рисунок 9 — Устройство для определения линейной усадки

Образец вынимают из устройства, маркируют грани, прилегающие к основанию и боковой стенке, и помещают его в горизонтальном положении в камерную электропечь на керамическую подставку толщиной (20 ± 5) мм.

Расстояние между образцами и от образцов до нагревательных стенок или нагревателей должно быть не менее 30 мм.

При температуре испытания до 150 °С образец помещают в электропечь, предварительно разогретую до указанной температуры. При температуре испытания св. 150 °С образец помещают в электропечь при температуре не более 100 °С и затем повышают температуру непрерывно и равномерно со скоростью не более 5 °С/мин до температуры на 50 °С ниже температуры испытания, а последнее 50 °С до достижения температуры испытания — не более 2 °С/мин.

При температуре, предусмотренной нормативным документом на продукцию конкретного вида, поддерживаемой с пределом допускаемой погрешности ± 10 °С, образец выдерживают в течение 8 ч.

После этого образец охлаждают в печи до температуры не более 150 °С, а далее — в помещении, затем вторично помещают в устройство (рисунок 9) так, чтобы к основанию 3 и стенке 6 были прижаты маркированные грани, и снимают показания индикатора И2.

19.7 Обработка результатов

Линейную температурную усадку  в процентах вычисляют по формуле

,                            (26)

где И1 — показания индикатора до нагревания образца, мм;

И2 — показания индикатора после нагревания образца, мм;

l — длина образца до нагревания, мм.

Результат испытания округляют до 0,1%.

20 МЕТОД ОПРЕДЕЛЕНИЯ СРЕДНЕГО ДИАМЕТРА ВОЛОКОН МИНЕРАЛЬНОЙ И СТЕКЛЯННОЙ ВАТЫ

20.1 Метод не распространяется на вату, состоящую преимущественно из волокон диаметром до 3 мкм.

20.2 Общие требования — в соответствии с разделом 3.

20.3 Средства испытания

Микрометр окулярный винтовой МОВ1 — 15 по технической документации или окуляр 8 со шкалой.

Объект-микрометр ОМП по технической документации.

Препаратоводитель СТ-11.

Объектив 60 ± 0,85 или иммерсионный объектив 90 ± 1,25.

Микроскоп Биолам (Р) или Полам (Л или Р) либо другой, приспособленный к работе при использовании всех вышеперечисленных приборов.

Осветитель ОИ-35 или ОИ-19.

Микроскоп бинокулярный БМ-51 — 2 либо лупа бинокулярная БД-2.

Стекла покровные по ГОСТ 6672.

Стекла предметные по ГОСТ 9284.

Электрошкаф сушильный, обеспечивающий температуру нагрева до 105 °С и автоматическое регулирование температуры с пределом допускаемой погрешности ± 5 °С.

Пинцет.

Ножницы.

Иголка.

5 %-ный раствор в спирте этиловом ректификате по ГОСТ 18300 бальзама кедрового сибирского по технической документации либо бальзама пихтового натурального по ГОСТ 2290, либо канифоли сосновой по ГОСТ 19113.

Глицерин по ГОСТ 6259.

20.4 Порядок подготовки к испытанию

Из 10 пучков волокон, отобранных из различных мест пробы материала, готовят десять препаратов. Из каждого отобранного пучка ваты на отдельном предметном стекле готовят один препарат, содержащий не менее 100 волокон.

Пучок волокон берут пинцетом и ножницами обрезают один из его концов на расстоянии около 5 мм от пинцета. Затем делают второй срез ближе к пинцету на расстоянии 2 — 3 мм от первого таким образом, чтобы отрезанные кусочки волокон расположились посередине стекла. Рядом с ними на стекло наносят каплю 5 %-ного раствора кедрового либо пихтового бальзама, либо канифоли в этиловом спирте. Затем, наблюдая через бинокулярный микроскоп или лупу, отрезанные кусочки волокон иголкой переносят в каплю и равномерно одним слоем распределяют на предметном стекле. Препараты выдерживают в течение 30 — 40 мин в сушильном шкафу при температуре 70 — 105 °С в зависимости от применяемого раствора. После этого препарат охлаждают в помещении.

 

Примечания

1 При работе с объективом 60 ± 0,85 вместо раствора кедрового или пихтового бальзама, или канифоли можно применять 2 — 3 капли глицерина.

2 При определении среднего диаметра волокон в изделиях со связующим для приготовления препарата используют пробы после выгорания связующего в соответствии с разделом 12.

 

20.5 Проведение анализа

Остывшие препараты поочередно устанавливают в препаратоводитель столика микроскопа. При работе с объективом 60 ± 0,85 на середину препарата с приклеенными волокнами наносят 2 — 3 капли глицерина и сверху плотно прикладывают покровное стекло. Излишек глицерина, выходящий за пределы покровного стекла, удаляют фильтровальной бумагой, добиваясь полного прилипания покровного стекла к препарату. При работе с иммерсионным объективом 90 ± 1,25 измерения проводят без покровного стекла, осторожно погружая объектив прямо в каплю глицерина. Затем включают освещение и движением ручек препаратоводителя добиваются совпадения центра препарата с оптической осью микроскопа. Измерения начинают с волокна, расположенного наиболее близко к полю зрения. Движением одной ручки препаратоводителя волокно переводят в центр поля зрения. Вращением столика микроскопа ориентируют волокно в поле зрения вертикально.

В журнал записывают значения диаметра волокна в делениях окулярного микрометра или шкалы окуляра. Возвращают столик микроскопа в исходное положение. Затем движением одной произвольно выбранной ручки препаратоводителя передвигают препарат до появления второго волокна в центре поля зрения и повторяют все вышеперечисленные приемы измерения. Движением той же ручки препаратоводителя добиваются появления в поле зрения последующих волокон, которые все подряд без пропуска измеряют в точке пересечения их с центром зрения независимо от того, попадают ли в эту точку искривленные, утолщенные или утонченные участки волокон. В одном препарате измеряют 10 волокон. Средний диаметр Dc в микрометрах рассчитывают по формуле

Dc = qЦ,                            (27)

где q — средний диаметр волокон в делениях окулярного микрометра;

Ц — цена деления окулярного микрометра, мкм.

Средний диаметр волокон материала вычисляют как среднее арифметическое значение измерений 100 волокон и округляют до 1 мкм.

21 МЕТОД ОПРЕДЕЛЕНИЯ КИСЛОТНОГО ЧИСЛА

21.1 Метод распространяется на органические ячеистые изделия (пенопласты).

21.2 Сущность метода заключается в определении объема гидрооксида натрия, израсходованного на титрование пробы.

21.3 Средства испытания

Весы лабораторные общего назначения 2-го класса точности с наибольшим пределом взвешивания до 500 г по ГОСТ 24104.

Секундомер II класса точности по технической документации.

Колба коническая вместимостью 250 мл по ГОСТ 23932.

Пипетка исполнений 2 и 3 по технической документации.

Натрия гидроокись по ГОСТ 4328, 0,05 н. раствор.

Вода дистиллированная по ГОСТ 6709.

Фенолфталеин, 1 %-ный спиртовой раствор.

Бумага фильтровальная марок ФНБ, ФНС по ГОСТ 12026.

Шкурка шлифовальная типа I по ГОСТ 6456 или по ГОСТ 5009.

21.4 Порядок проведения испытания

Образец произвольной формы массой не менее 5 г, вырезанный из плиты не позднее чем через сутки после окончания вспенивания, измельчают вручную при помощи шлифовальной шкурки. 1 г полученного порошка, взвешенного с погрешностью 0,02 г, помещают в коническую колбу вместимостью 250 мл и смешивают со (100 ± 1) мм воды, взбалтывают не менее 5 мин. Затем раствор отфильтровывают и отбирают три пробы по (20 ± 0,5) мл каждая. Каждую пробу помещают в коническую колбу вместимостью 250 мл, добавляют 2 — 3 капли фенолфталеина и титруют 0,05 н. раствором гидрооксида натрия до появления устойчивой бледно-розовой окраски, сохраняющейся не менее 30 с.

21.5 Обработка результатов

Кислотное число Х в мг КОН/г определяют по формуле

,                                                (28)

где V — объем 0,05 н. раствора гидрооксида натрия, израсходованный на титрование пробы, мл;

k — коэффициент нормальности;

14 — коэффициент пересчета от NaOH к КОН;

т — масса навески, г.

22 МЕТОД УСКОРЕННОГО ОПРЕДЕЛЕНИЯ МОДУЛЯ КИСЛОТНОСТИ МИНЕРАЛЬНОЙ ВАТЫ

22.1 Сущность метода

Сущность метода заключается в определении количества уксусной (или соляной) кислоты, израсходованной на растворение единицы массы пробы минеральной ваты, и установлении по калибровочному графику модуля кислотности (Мк).

Калибровочные графики строят для каждого предприятия-изготовителя в зависимости от применяемого сырья.

22.2 Аппаратура, материалы, реактивы

Чашка выпарительная вместимостью 50 мл по ГОСТ 9147.

Пестик и ступка фарфоровые по ГОСТ 9147.

Электропечь камерная, обеспечивающая температуру нагрева до 600 °С и автоматическое регулирование температуры с пределом допускаемой погрешности ± 10 °С.

Часы песочные.

Сетка № 005 по ГОСТ 6613.

Весы лабораторные по ГОСТ 24104.

Стакан лабораторный вместимостью 100 мм по ГОСТ 25336.

Колба коническая вместимостью 100 мл по ГОСТ 25336.

Бюретка вместимостью 50 мл, исполнение 3 по технической документации.

Пипетка вместимостью 10 и 20 мм, исполнение 2 по технической документации.

Мешалка электромагнитная.

Бумага фильтровальная (белая лента) по ГОСТ 12026.

Кислота уксусная по ГОСТ 61, 1 н. раствор.

Кислота соляная, 1 н. раствор.

Натр едкий по ГОСТ 11078, 0,2 н. раствор.

Калия гидрат окиси (кали едкое).

Фенолфталеин (индикатор), 0,1 %-ный раствор.

Метиловый красный (индикатор), 0,1 %-ный раствор.

22.3 Подготовка к анализу

Пробу минеральной ваты массой (5 ± 0,5) г помещают в выпарительную чашку и обжигают в камерной электропечи при температуре (600 ± 10) °С в течение 15 — 20 мин для удаления замасливателя или связующего, затем охлаждают до температуры (22 ± 5) °С, растирают в фарфоровой ступке до прохождения через сетку № 005.

22.4 Проведение анализа

22.4.1 Определение количества уксусной кислоты, израсходованной на растворение пробы минеральной ваты при водостойкости более 4

Порошок минеральной ваты массой (0,5 ± 0,01) г, подготовленный в соответствии с 22.3, взвешивают на лабораторных весах с погрешностью ± 0,0002 г, помещают в стакан вместимостью 100 мл, заливают при помощи пипетки 20 мл раствора уксусной кислоты и перемешивают электромагнитной мешалкой в течение 15 мин. При отсутствии электромагнитной мешалки допускается перемешивать вручную путем взбалтывания до полного растворения порошка.

После перемешивания раствор фильтруют через фильтровальную бумагу в сухой стакан. 10 мл фильтрата переносят при помощи пипетки в коническую колбу вместимостью 100 мл, титруют раствором едкого натра или калия (далее — раствор щелочи) в присутствии фенолфталеина до появления розовой окраски и определяют объем раствора щелочи V1, израсходованный на титрование фильтрата.

В другую колбу вливают 10 мл раствора уксусной кислоты, титруют раствором щелочи в присутствии фенолфталеина также до появления розовой окраски и определяют объем раствора щелочи V2, израсходованный на титрование уксусной кислоты.

22.4.2 Определение количества соляной кислоты, израсходованной на растворение пробы минеральной ваты при водостойкости менее 4

Приготовление фильтрата, титрование и определение объема раствора щелочи, израсходованного на титрование фильтрата и соляной кислоты, осуществляют аналогично 22.4.1. При этом время перемешивания электромагнитной мешалкой должно быть не менее 20 мин, а титрование фильтрата соляной кислотой проводят в присутствии индикатора метилового красного до появления желтой окраски.

22.5 Обработка результатов

22.5.1 Количество уксусной или соляной кислоты z в грамм-эквивалентах, израсходованное на растворение 1 г пробы, вычисляют по формуле

,                              (29)

где С — концентрация раствора щелочи, г-экв./л;

V2 — объем 0,2 н. раствора щелочи, израсходованный на титрование 1 н. раствора уксусной или соляной кислоты, мл;

V1 — объем 0,2 н. раствора щелочи, израсходованный на титрование фильтрата, мл;

т — масса пробы, г.

22.5.2 Значение Z принимают как среднее арифметическое трех определений.

Разброс в значениях Z при параллельных определениях не должен превышать ± 0,001.

22.5.3 Мк минеральной ваты находят в координатах: модуль кислотности — количество уксусной или соляной кислоты, израсходованное на растворение единицы массы пробы минеральной ваты.

22.6 Построение калибровочного графика

22.6.1 Для построения калибровочного графика из одних и тех же компонентов шихты, взятых в различных соотношениях (10 — 15 вариантов) с таким расчетом, чтобы минимальный Мк шихты отличался от максимального не менее чем на 0,4 — 0,5, получают минеральную вату.

22.6.2 Для каждой пробы минеральной ваты рассчитывают Мк на основании результатов химического анализа по ГОСТ 18866, а количество уксусной или соляной кислоты Z определяют в соответствии с 22.4.2 - 22.5.2.

На основании полученных данных строят калибровочный график в координатах (Мк; Z 10-3). Примеры построения калибровочных графиков приведены в приложении Ж.

22.6.3 При частичной или полной замене на предприятии-изготовителе хотя бы одного компонента шихты, строят новый калибровочный график.

ПРИЛОЖЕНИЕ А

(рекомендуемое)

МЕТОДЫ ИЗМЕРЕНИЯ ЛИНЕЙНЫХ РАЗМЕРОВ МИНЕРАЛОВАТНЫХ И СТЕКЛОВАТНЫХ МАТОВ И ПЛИТ В СООТВЕТСТВИИ С ИСО 8144 И ИСО 8145

A.1 Методы распространяются на теплоизоляционные маты и плиты из минеральной и стеклянной ваты на синтетическом связующем.

А.2 Общие требования — в соответствии с разделом 3.

А.3 Инструменты, приборы

Линейка металлическая по ГОСТ 427.

Рулетка металлическая с ценой деления 1 мм по ГОСТ 7502.

Толщиномер игольчатый (рисунки А1 и А2).

Прибор для определения толщины (рисунок А4).

А.4 Предел допускаемой погрешности измерения размеров линейкой, рулеткой, толщиномером, прибором для измерения толщины ± 0,5 мм.

А.5 Измерение длины и ширины

А.5.1 Для измерения размеров до 1 м применяют линейку, св. 1 м — рулетку. Длина измерительного инструмента должна быть не менее длины изделия.

А.5.2 Мат, плиту кладут на плоскую горизонтальную твердую поверхность.

А.5.3 Длину l мата, плиты измеряют и двух местах: на расстоянии (100 ± 5) мм от каждого края.

А.5.4 Ширину h мата, плиты измеряют в трех местах: на расстоянии (100 ± 5) мм от каждого края и посередине изделия.

А.5.5 Выраженный в миллиметрах результат каждого измерения длины мата округляют до ближайшею числа, кратного 5; длины плиты — до ближайшего целого числа; ширины мата — до ближайшего числа, кратного 2; ширины плиты — до ближайшего целого числа. Вычисляют среднее арифметическое значение округленных результатов двух измерений длины мата, плиты и округленных результатов трех измерений ширины.

А.5.6 В протоколе испытания указывают средние арифметические значения результатов измерения длины и ширины мата, плиты.

А.6 Измерение толщины матов

А.6.1 Сущность метода заключается в измерении расстояния между плоской твердой поверхностью, на которой лежит мат, и пластиной, свободно лежащей на этой поверхности и создающей заданную удельную нагрузку.

А.6.2 Толщину измеряют игольчатым толщиномером (рисунки A1 и А2), состоящим из пластины, которая создает заданную удельную нагрузку, и иглы.

Пластина с рукояткой должна создавать удельную нагрузку (50 ± 1,5) Па.

Иглу изготавливают из стального прутка. Длина иглы должна быть больше измеряемой толщины не менее чем на 100 мм. Один из концов иглы должен быть заострен.

 

Примечание — Другие измерительные приборы могут быть использованы дли измерения толщины, если пластина прибора имеет форму квадрата со стороной 200 мм и создает удельную нагрузку (50 ± 1,5) Па.

1 — отверстие, диаметр которого достаточен для того, чтобы вставить иглу в направлении, перпендикулярном пластине; 2 жесткий материал; 3 — канавка для большого пальца;

Рисунок А1 — Пластина, создающая заданную удельную нагрузку

Рисунок А2 — Игла

А.6.3 Мат кладут на плоскую горизонтальную твердую поверхность. Если мат поставляется свернутым в виде рулона, то рулон полностью раскатывают. Отрезают первый и последний 0,5 м рулона, т. к. они не должны подвергаться испытанию. Оставшуюся часть рулона разрезают на куски длиной 1 — 1,5 м. Куски кладут на плоскую горизонтальную твердую поверхность.

Если мат имеет обкладку, то его или вырезанные из него куски кладут обкладкой вниз.

Мат, который в упакованном виде деформирован так, что его толщина составляет менее 90 % номинальной, должен быть подготовлен к измерению толщины. Процедура подготовки описана ниже:

а) берут мат или кусок за длинную сторону и держат вертикально так, чтобы его другая длинная сторона находилась на расстоянии примерно 450 мм от пола;

б) роняют мат или кусок на пол;

в) повторяют операции а) и б) для мата или куска, предварительно взяв его за другую длинную сторону;

г) повторяют операции а), б) и в) для всех кусков, вырезанных из мата.

Измерение толщины проводят не раньше, чем через 5 мин после окончания подготовки к измерению.

А.6.4 Для проведения измерения пластину медленно кладут на мат или вырезанный из него кусок так, чтобы ее центр совпадал с первой точкой, в которой следует провести измерение толщины. Вращая иглу, прокалывают ею мат или кусок в вертикальном направлении до упора о твердую горизонтальную поверхность, на которой лежит мат или кусок. Прижимают иглу к рукоятке большим пальцем и извлекают ее из мата или куска, держа ее прижатой к пластине. Измеряют расстояние от заостренного конца иглы до пластины с погрешностью не более 1 мм. Это расстояние равно толщине мата или куска в том месте, в котором проведено измерение.

А.6.5 Толщину мата или вырезанного из него куска измеряют в четырех точках (рисунок A3).

Рисунок A3 — Расположение точек, в которых проводят измерения толщины мата

А.6.6 Выраженный в миллиметрах результат каждого измерения толщины округляют до ближайшего целого числа. Вычисляют среднее арифметическое значение округленных результатов четырех измерений толщины.

А.6.7 В протоколе испытания указывают среднее арифметическое значение результатов измерения толщины мата.

А.7 Измерение толщины плит

А.7.1 Толщину измеряют прибором (рисунок А4), в состав которого входят:

— плоская жесткая опорная плита 6, имеющая форму квадрата со стороной 300 мм;

— жесткая рама 4, укрепленная на этой плите;

— индикатор с круговой шкалой 3, цена деления которой 0,1 мм;

— верхняя плоская пластина 2, имеющая форму круга диаметром 200 мм и создающая совместно со стержнем индикатора удельную нагрузку (100 ± 3) Па.

 

Примечание — Измерение толщины может быть проведено при помощи любого измерительного прибора, часть которого составляет диск диаметром 200 мм, создающий удельную нагрузку (100 ± 3) Па.

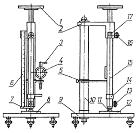
1 — образец; 2 — верхняя плоская пластина, имеющая форму круга; 3 — индикатор перемещения с круговой шкалой; 4 — жесткая рама; 5 — нижняя плоская пластина; 6 — плоская жесткая опорная плита

Рисунок А4 — Схема прибора для измерения толщины

А.7.2 Для проведения измерения помещают плиту между нижней и верхней пластинами прибора. Верхнюю пластину медленно опускают на плиту так, чтобы она свободно легла на поверхность плиты и ее центр совпадал с первой точкой, в которой следует провести измерение толщины. Верхняя пластина не должна заходить за кромку образца. Показание индикатора равно толщине плиты в том месте, в котором проведено измерение.

А.7.3 Толщину плиты измеряют в двух точках (рисунок А5).

Рисунок А5 — Расположение точек, в которых измеряют толщины плиты

А.7.4 Выраженный в миллиметрах результат каждого измерения толщины округляют до ближайшего целого числа. Вычисляют среднее арифметическое значение округленных результатов двух измерений.

А.7.5 В протоколе испытания указывают округленные результаты двух измерений толщины плиты и их среднее арифметическое значение.

 

ПРИЛОЖЕНИЕ Б

(рекомендуемое)

МЕТОДЫ КОНТРОЛЯ ПРАВИЛЬНОСТИ ГЕОМЕТРИЧЕСКОЙ ФОРМЫ МИНЕРАЛОВАТНЫХ И СТЕКЛОВАТНЫХ МАТОВ И ПЛИТ В СООТВЕТСТВИИ С ИСО 8144 И ИСО 8145

Б.1 Методы распространяются на теплоизоляционные маты и плиты из минеральной и стеклянной ваты на синтетическом связующем.

Б.2 Общие требования — в соответствии с разделом 3.

Б.3 Инструменты

Линейка деревянная, длина которой больше длины плиты не менее чем на 150 мм.

Линейка металлическая с ценой деления 1 мм по ГОСТ 427.

Рулетка металлическая с ценой деления 1 мм по ГОСТ 7502.

Угольник поверочный типа УП с Н = 160 мм по ГОСТ 3749.

Угольник поверочный типа УШ с Н = 630 мм по ГОСТ 3749.

Два одинаковых деревянных бруска длиной (100±1) мм, шириной (25±0,5) мм, толщиной (25±0,5) мм

Б.4 Предел допускаемой погрешности измерения линейкой и рулеткой — ±0,5 мм

Б.5 Измерение отклонения от прямоугольности по ширине матов, плит

Б.5.1 Измерение отклонения от прямоугольности проводят для матов, длина которых менее 3 м, и плит. Сущность метода заключается в измерении отклонения углов, образуемых боковыми гранями мата, плиты, от прямого угла.

Б.5.2 Мат, плиту кладут на плоскую горизонтальную твердую поверхность. Поверочный угольник кладут на эту поверхность так, чтобы одна из его сторон была направлена вдоль длинной грани мата, плиты, а другая сторона угольника — вдоль смежной с ней короткой грани этого изделия (рисунок Б.1). Измеряют расстояние а между кромкой угольника и короткой гранью мата, плиты в том месте, где оно максимально.

Б.5.3 Повторяют измерение на противоположной короткой грани мата, плиты.

Рисунок Б.1 — Измерение отклонения от прямоугольности по ширине мата, плиты

Б.5.4 Выраженный и миллиметрах результат каждого измерения округляют до ближайшего целого числа.

По двум измерениям значениям расстояния а и значению ширины b мата вычисляют для каждой короткой грани отклонение от прямоугольности по ширине мата, выраженное в миллиметрах на 100 мм его ширины.

По двум измеренным значениям расстояния а и значению ширины плиты b вычисляют для каждой короткой грани отклонение от прямоугольности плиты, выраженное в миллиметрах на 1000 мм ее ширины.

Б.5.5 В протоколе испытания указывают максимальное из двух вычисленных значений отклонений от прямоугольности по ширине мата, плиты.

Б.6 Измерение отклонения от прямоугольности по толщине плит

Б.6.1 Сущность метода заключается в измерении отклонения углов, образуемых короткими боковыми гранями плиты с ее лицевыми гранями, от прямого угла.

Б.6.2 Плиту кладут на плоскую горизонтальную твердую поверхность. Ставят поверочный угольник на эту поверхность рядом с одним из углов плиты (рисунок Б.2).

Рисунок Б.2 — Измерение отклонения от прямоугольности по толщине плиты

Измеряют расстояние а между кромкой угольника и ребром плиты, образуемым короткой боковой и лицевой гранями, в том месте, где оно максимально.

Б.6.3 Повторяют измерение для трех остальных углов плиты.

Б.6.4 Выраженный в миллиметрах результат каждого измерения округляют до ближайшего целого числа. Вычисляют среднее арифметическое значение округленных результатов четырех измерений.

Б.6.5 В протоколе испытаний указывают выраженное в миллиметрах среднее арифметическое значение результатов четырех измерений отклонения от прямоугольности по толщине плит.

Б.7 Измерение отклонения от плоскостности плит

Б.7.1 Сущность метода заключается в измерении локального отклонения от плоскостности плиты при помощи деревянной поверочной линейки.

Б.7.2 Плиту кладут на плоскую горизонтальную твердую поверхность выпуклой стороной вниз. На плите устанавливают два деревянных бруска, толщина которых известна и равна у, на бруски вдоль плиты кладут деревянную поверочную линейку (рисунок Б.3).

Рисунок Б.3 — Измерение отклонения от плоскостности плиты

При помощи металлической линейки измеряют максимальное расстояние х от нижней кромки поверочной линейки до поверхности лицевой грани плиты.

Б.7.3 Повторяют измерение, установив бруски так, что положенная на них поверочная линейка расположена перпендикулярно своему первоначальному положению, т.е. поперек плиты.

Б.7.4 Вычисляют два значения локального отклонения от плоскостности плиты, каждое из которых равно разности (ху). Выраженные в миллиметрах результаты вычислений округляют до ближайшего целого числа. Вычисляют в процентах отношения двух округленных значений разности (х—у) соответственно к длине и ширине плиты.

Б.7.5 В протоколе испытания указывают два значения локального отклонения от плоскостности плиты и значения отношения этих отклонений соответственно к длине и ширине плиты.

 

ПРИЛОЖЕНИЕ В

(рекомендуемое)

МЕТОД ОПРЕДЕЛЕНИЯ ПРОЧНОСТИ НА СЖАТИЕ МИНЕРАЛОВАТНЫХ И СТЕКЛОВАТНЫХ ПЛИТ В СООТВЕТСТВИИ С ИСО 8145

B.1 Метод распространяется на теплоизоляционные плиты из минеральной и стеклянной ваты на синтетическом связующем.

В.2 Общие требования — в соответствии с разделом 3.

В.3 Сущность метода заключается в определении сопротивления плиты деформации сжатия при выдерживании ее под сжимающей нагрузкой при температуре, воздействию которой плита подвергается в процессе эксплуатации.

В.4 Аппаратура, приборы, инструменты

Линейка металлическая по ГОСТ 427.

Прибор для определения толщины (рисунок А.4).

Электрошкаф сушильный, обеспечивающий температуру нагрева до 80 °С и автоматическое регулирование температуры с пределом допускаемой погрешности ±2 °С.

В.5 Предел допускаемой погрешности измерения линейкой и прибором для измерения толщины ±0,5 мм.

В.6 Из плиты вырезают образец в форме параллелепипеда длиной и шириной (100±1) мм и толщиной, равной толщине плиты. Допускается проведение испытания на образце большего размера, длина и ширина которого не превышает (300±3) мм, а толщина равна толщине плиты.

Плиты с обкладками могут быть испытаны без предварительного удаления обкладок. Если результаты испытания образцов с обкладками неудовлетворительны, то испытание повторяют на образцах, вырезанных из плит, обкладки которых предварительно удалены.

В.7 Определяют первоначальную толщину d1 образца под удельной нагрузкой 100 Па по приложению А. Прилагают к образцу равномерно распределенную удельную нагрузку (20±0,3) кПа.

Выдерживают образец под этой нагрузкой при температуре (23±2) °С и относительной влажности воздуха (60±10) % в течение 24 ч. Определяют толщину d2, образца под этой удельной нагрузкой по истечении 24 ч.

В течение последующих 24 ч образец выдерживают под удельной нагрузкой (20±0,3) кПа при температуре (80±2) °С. По истечении 24 ч определяют толщину d3 образца под этой удельной нагрузкой.

B.8 Вычисляют относительное изменение толщины d образца после его выдерживания в течение 24 ч при температуре 23 °С по формуле

.                               (B.1)

Вычисляют относительное изменение толщины d' образца после его выдерживания в течение 24 ч при температуре 80 °С по формуле

.                              (B.2)

Выраженные в процентах результаты вычислений округляют до целого числа.

В.9 В протоколе испытания указывают значения относительного изменения толщины испытываемого образца при температурах 23 и 80 °С.

 

 

ПРИЛОЖЕНИЕ Г

(рекомендуемое)

МЕТОД ОПРЕДЕЛЕНИЯ РАЗРУШАЮЩЕЙ СИЛЫ ПРИ ИСПЫТАНИИ НА ИЗГИБ МИНЕРАЛОВАТНЫХ И СТЕКЛОВАТНЫХ ПЛИТ В СООТВЕТСТВИИ С ИСО 8145

Г.1 Метод распространяется на теплоизоляционные плиты из минераловатной и стеклянной ваты на синтетическом связующем.

Г.2 Общие требования — в соответствии с разделом 3.

Г.3 Сущность метода заключается в измерении значения усилия, вызывающего разрушение образца при его изгибе при заданных условиях испытания.

Г.4 Аппаратура, оборудование, инструменты

Машина испытательная, обеспечивающая скорость нагружения образца центральной сосредоточенной нагрузкой 9 — 11 мм/мин, позволяющая снять отсчет разрушающей нагрузки с погрешностью не более 2 %.

Линейка металлическая по ГОСТ 427.

Штангенциркуль по ГОСТ 166.

Прибор для измерения толщины (рисунок А4) по технической документации.

Г.5 Предел допускаемой погрешности измерения линейкой — ±5 мм; штангенциркулем — ±0,1 мм.

Г.6 Из плиты вырезают образец в форме параллелепипеда длиной (300±3) мм, шириной (150±1,5) мм и толщиной, равной толщине плиты. Образец вырезают в произвольном месте плиты, но не ближе 50 мм от его края.

Длину и ширину образца измеряют металлической линейкой, толщину — прибором для измерения толщины. Выраженные в миллиметрах результаты измерений округляют до ближайшего целого числа.

Г.7 Образец укладывают на две цилиндрические опоры диаметром (30±5) мм. Если образец имеет обкладку, то его кладут на опоры обкладкой вверх. Опоры должны быть прямыми, ровными для того, чтобы в процессе испытания не нарушался контакт образца с опорами. Длина каждой опоры должна быть не менее 150 мм. Расстояние между осями опор должно быть (250±1) мм. При испытании образцов, вырезанных из плит, толщина которых более 50 мм, расстояние между осями опор должно быть равно толщине плиты, умноженной на пять.

Прикладывают к образцу силу при помощи нагружающего устройства, представляющего собой цилиндр, диаметр и длина которого равны соответственно диаметру и длине опоры.

Скорость перемещения нагружающего устройства должна быть 9—11 мм/мин.

Разрушающей считают наибольшую нагрузку, отмеченную при испытании образца в момент его разрушения.

Г.8 Выраженный в ньютонах результат измерения разрушающей нагрузки округляют до ближайшего целого числа.

Г.9 В протоколе испытания указывают значение разрушающей нагрузки.

 

ПРИЛОЖЕНИЕ Д

(рекомендуемое)

МЕТОД ОПРЕДЕЛЕНИЯ ПРОЧНОСТИ ПРИ РАСТЯЖЕНИИ МИНЕРАЛОВАТНЫХ И СТЕКЛОВАТНЫХ МАТОВ (УДОБСТВО ТРАНСПОРТИРОВКИ И МОНТАЖА) В СООТВЕТСТВИИ С ИСО 8144

Д.1 Метод распространяется на теплоизоляционные маты из минеральной и стеклянной ваты на синтетическом связующем.

Д.2 Общие требования — в соответствии с разделом 3.

Д.3 Сущность метода заключается в определении способности мата не разрушаться под действием напряжения растяжения, возникающего при транспортировании и монтаже.

Д.4 Аппаратура, оборудование, приспособления, инструменты

Линейка металлическая по ГОСТ 427.

Рулетка металлическая с ценой деления 1 мм по ГОСТ 7502.

Толщиномер игольчатый (рисунки А1 и А2).

Машина разрывная или ведро, в которое можно насыпать 9 — 10 кг сухого песка и запас сухого песка массой 9 — 10 кг.

Весы, обеспечивающие взвешивание с погрешностью не более 0,5 %.

Зажимы (рисунок Д1) или любой другой конструкции.

Д.5 Предел допускаемой погрешности измерения размеров линейкой, рулеткой, толщиномером — ±0,5 мм.

Д.6 Из мата вырезают образец, ширина и толщина которого равны соответственно ширине и толщине мата, а длина превышает его ширину не менее чем в два раза. Если длина мата превышает его ширину менее чем в два раза, то в качестве образца используют целый мат. Если ширина мата превышает 500 мм, то из него вырезают образец шириной 500 мм.

Длину и ширину образца измеряют металлической линейкой или рулеткой, толщину — игольчатым толщиномером по приложению А.

Д.7 Образец с обеих сторон закрепляют в зажимы (рисунок Д1). При помощи веревок, прикрепленных к зажимам, подвешивают образец вертикально в разрывной машине или прикрепляют к нижнему зажиму ведро. Аккуратно при помощи разрывной машины или добавляя песок в ведро, увеличивает силу, действующую на образец, до значения, равного наименьшей из следующих двух величин: удвоенный вес мата и вес мата длиной 10 м.

Сила, действующая на образец, равна сумме веса образца, веса нижнего зажима и растягивающего усилия, создаваемого разрывной машиной. Если в качестве приспособления, при помощи которого на образец воздействуют заданной силой, используют ведро с песком, то сила, действующая на образец, равна сумме веса образца, веса нижнего зажима, веса ведра и веса песка.

1 — зажим; 2 крыльчатая гайка; 3 — точка подвеса; 4 — веревка; 5 — ведро с песком или захват разрывной машины

Рисунок Д1 — Зажим и оборудование в сборе

Выдерживают образец под нагрузкой в течение 1 мин.

Если разрушение образца произошло около зажима, то результат этого испытания аннулируют.

Д.8 В протоколе испытания указывают, произошло или нет разрушение образца при выдерживании его под нагрузкой в течение 1 мин.

 

ПРИЛОЖЕНИЕ Е

(рекомендуемое)

МЕТОД ОПРЕДЕЛЕНИЯ ПРЕДЕЛА ПРОЧНОСТИ НА ОТРЫВ СЛОЕВ МИНЕРАЛОВАТНЫХ И СТЕКЛОВАТНЫХ ПЛИТ В СООТВЕТСТВИИ С ИСО 8145

E.1 Метод распространяется на теплоизоляционные плиты из минеральной и стеклянной ваты на синтетическом связующем.

Е.2 Общие требования — в соответствии с разделом 3.

Е.3 Сущность метода заключается в измерении растягивающего усилия, вызывающего разрушение образца при заданных условиях испытания.

Е.4 Аппаратура, инструменты, материалы

Машина разрывная, обеспечивающая растяжение образца со скоростью 9 — 11 мм/мин и позволяющая измерить значение разрушающего усилия с погрешностью не более 1 %.

Линейка металлическая по ГОСТ 427.

Прибор для измерения толщины (рисунок А4).

Мастика битумная по ГОСТ 2889.

Две плоских жестких пластины длиной и шириной (200 ± 1) мм.

Е.5 Предел допускаемой погрешности измерения линейкой и прибором для измерения толщины — ± 0,5 мм.

Е.6 Из плиты вырезают образец в форме параллелепипеда длиной и шириной (200 ± 1) мм и толщиной, равной толщине плиты. Образец вырезают в произвольном месте плиты, но не ближе 50 мм от ее края.

Е.7 При помощи битумной мастики приклеивают к образцу две жесткие плоские пластины (рисунок E1). При приклеивании прикладывают давление, величина которого не больше, чем давление, достаточное для хорошего контакта поверхностей пластин и образца.

Образец помещают в разрывную машину. Прикладывают к образцу растягивающее усилие при скорости движения активного захвата 9 — 11 мм/мин. Разрушающей считают наибольшую нагрузку, отмеченную при испытании образца в момент его разрушения.

Если разрушение образца произошло по приклеивающему слою, то результаты испытания этого образца аннулируют.

Е.8 Предел прочности на отрыв слоев отр в мегапаскалях (кгс/см2) вычисляют по формуле

?отр = ,                                      (Е.1)

где Р — разрушающая нагрузка, Н (кгс);

l — длина образца, мм (см);

b ширина образца, мм (см).

Результат испытания округляют до 0,01 МПа.

Е.9 В протоколе испытания указывают значение предела прочности на отрыв слоев.

1 — плоская жесткая пластина; 2 — образец

Рисунок Е.1 — Определение предела прочности на отрыв слоев

 

ПРИЛОЖЕНИЕ Ж

(рекомендуемое)

ПРИМЕРЫ ПОСТРОЕНИЯ КАЛИБРОВОЧНЫХ ГРАФИКОВ

Пример 1

Калибровочный график минеральной ваты с водостойкостью более 4. Сырье: доменные шлаки, кирпичный бой

Рисунок Ж.1

Таблица Ж.1

Z · 10-3

11,22

12,10

12,30

12,50

12,74

13,07

13,59

13,70

13,91

Мк

1,23

1,14

1,12

1,10

1,08

1,04

1,00

0,97

0,98

Пример 2

Калибровочный график минеральной ваты с водостойкостью менее 4. Сырье: базальт, известняк

Рисунок Ж.2

Таблица Ж.2

Z · 10-3

3,40

5,34

10,24

11,58

13,28

14,12

Мк

2,77

2,40

2,02

1,80

1,59

1,38

 

 

Ключевые слова: теплоизоляция, материалы, изделия, испытание, метод