ГОСТ 12248-96

МЕЖГОСУДАРСТВЕННЫЙ СТАНДАРТ

ГРУНТЫ.

МЕТОДЫ ЛАБОРАТОРНОГО
ОПРЕДЕЛЕНИЯ ХАРАКТЕРИСТИК
ПРОЧНОСТИ И ДЕФОРМИРУЕМОСТИ

МЕЖГОСУДАРСТВЕННАЯ НАУЧНО-ТЕХНИЧЕСКАЯ КОМИССИЯ
ПО СТАНДАРТИЗАЦИИ, ТЕХНИЧЕСКОМУ НОРМИРОВАНИЮ
И СЕРТИФИКАЦИИ В СТРОИТЕЛЬСТВЕ (МНТКС)

Москва

Предисловие

1 РАЗРАБОТАН Государственным предприятием Научно-исследовательским, проектно-изыскательским и конструкторско-технологическим институтом оснований и подземных сооружений им. Н.М. Герсеванова (НИИОСП им. Н.М. Герсеванова) с участием Государственного дорожного научно-исследовательского института (Союздорнии), Производственного и научно-исследовательского института по инженерным изысканиям в строительстве (ПНИИИС), Акционерного общества «Всероссийский научно-исследовательский институт гидротехники им. Б.Е. Веденеева» (АО ВНИИГ им. Б.Е. Веденеева), Акционерного общества «Научно-исследовательский институт энергетических сооружений» (АО НИИЭС) Российской Федерации

ВНЕСЕН Минстроем России

2 ПРИНЯТ Межгосударственной научно-технической комиссией по стандартизации, техническому нормированию и сертификации в строительстве (МНТКС) 15 мая 1996 г.

За принятие проголосовали

Наименование государства

Наименование органа государственного управления строительства

Азербайджанская Республика

Госстрой Азербайджанской Республики

Республика Армения

Госупрархитектуры Республики Армения

Республика Беларусь

Минстройархитектуры Республики Беларусь

Республика Казахстан

Минстрой Республики Казахстан

Кыргызская Республика

Госстрой Кыргызской Республики

Республика Молдова

Минархстрой Республики Молдова

Российская Федерация

Минстрой России

Республика Таджикистан

Госстрой Республики Таджикистан

Республика Узбекистан

Госкомархитектстрой Республики Узбекистан

3 ВВЕДЕН ВЗАМЕН ГОСТ 12248-78, ГОСТ 17245-79, ГОСТ 23908-79, ГОСТ 24586-90, ГОСТ 25585-83, ГОСТ 26518-85

4 ВВЕДЕН в действие с 1 января 1997 г.. в качестве государственного стандарта Российской Федерации постановлением Минстроя России от 1 августа 1996 г. № 15-86

МЕЖГОСУДАРСТВЕННЫЙ СТАНДАРТ

ГРУНТЫ.

МЕТОДЫ ЛАБОРАТОРНОГО ОПРЕДЕЛЕНИЯ
ХАРАКТЕРИСТИК ПРОЧНОСТИ
И ДЕФОРМИРУЕМОСТИ

SOILS.
LABORATORY METHODS FOR DETERMINING
THE STRENGTH AND STRAIN CHARACTERISTICS

Дата введения 1997-01-01

1 Область применения

Настоящий стандарт устанавливает методы лабораторного определения характеристик прочности и деформируемости грунтов при их исследовании для строительства.

2 Нормативные ссылки

В настоящем стандарте использованы ссылки на следующие стандарты:

ГОСТ 2789-73 Шероховатость поверхности. Параметры и характеристики

ГОСТ 5180-84 Грунты. Методы лабораторного определения физических характеристик

ГОСТ 9378-93 Образцы шероховатости поверхности (сравнения). Общие технические условия

ГОСТ 12536-79 Грунты. Методы лабораторного определения гранулометрического (зернового) и микроагрегатного состава

ГОСТ 23161-78 Грунты. Методы лабораторного определения характеристик просадочности

ГОСТ 24143-80 Грунты. Методы лабораторного определения характеристик набухания и усадки

ГОСТ 25584-90 Грунты. Методы лабораторного определения коэффициента фильтрации

ГОСТ 30416-96 Грунты. Лабораторные испытания. Общие положения.

3 Определения

В настоящем стандарте применяют следующие термины.

Эффективное напряжение - напряжение, действующее в скелете грунта, определяемое как разность между полным напряжением в образце грунта и давлением в поровой жидкости.

Коэффициент фильтрационной cv и вторичной cα консолидации - показатели, характеризующие скорость деформации грунта при постоянном давлении за счет фильтрации воды (cv) и ползучести грунта (cα).

Ползучесть - развитие деформаций грунта во времени при неизменном напряжении.

Стадия незатухающей ползучести - процесс деформирования грунта с постоянной или увеличивающейся скоростью при неизменном напряжении.

Остальные термины, используемые в настоящем стандарте, приведены в ГОСТ 30416.

4 Общие положения

4.1 Настоящий стандарт устанавливает следующие методы лабораторного определения характеристик прочности и деформируемости грунтов:

- одноплоскостного среза, одноосного сжатия, трехосного сжатия, компрессионного сжатия - для немерзлых грунтов;

- испытание шариковым штампом, одноплоскостного среза по поверхности смерзания, одноосного сжатия, компрессионного сжатия - для мерзлых грунтов.

Примечание - По специальному заданию могут применяться другие методы испытаний и конструкции приборов, обеспечивающие моделирование процесса нагружения грунта.

4.2 Общие требования к лабораторным испытаниям грунтов, оборудованию и приборам, лабораторным помещениям, способы изготовления образцов для испытаний приведены в ГОСТ 30416.

4.3 Для испытываемых грунтов должны быть определены физические характеристики по ГОСТ 5180: влажность (суммарная влажность для мерзлых грунтов), плотность, плотность частиц, влажность границ текучести и раскатывания, гранулометрический состав песков, а в необходимых случаях и глинистых грунтов по ГОСТ 12536, а также вычислены плотность сухого грунта, коэффициент пористости, коэффициент водонасыщения (степень заполнения объема пор льдом и незамерзшей водой), число пластичности и показатель текучести (для немерзлых грунтов).

Дополнительные необходимые характеристики грунтов приводятся в отдельных методах испытаний.

4.4 В процессе испытаний грунтов ведут журналы по формам, приведенным в приложении А.

5 Методы определения характеристик прочности и деформируемости немерзлых грунтов

5.1 МЕТОД ОДНОПЛОСКОСТНОГО СРЕЗА

5.1.1 Сущность метода

5.1.1.1 Испытание грунта методом одноплоскостного среза проводят для определения следующих характеристик прочности: сопротивления грунта срезу τ, угла внутреннего трения φ, удельного сцепления с для песков (кроме гравелистых и крупных), глинистых и органо-минеральных грунтов.

5.1.1.2 Эти характеристики определяют по результатам испытаний образцов грунта в одноплоскостных срезных приборах с фиксированной плоскостью среза путем сдвига одной части образца относительно другой его части касательной нагрузкой при одновременном нагружении образца нагрузкой, нормальной к плоскости среза. Для глинистых грунтов по специальному заданию может быть проведен повторный срез образца по фиксированной плоскости - срез «плашка по плашке».

Примечание - Не допускается испытывать грунты, выдавливаемые в процессе испытания в зазор между подвижной и неподвижной частями срезной коробки.

5.1.1.3 Сопротивление грунта срезу определяют как предельное среднее касательное напряжение, при котором образец грунта срезается по фиксированной плоскости при заданном нормальном напряжении. Для определения с и φ необходимо провести не менее трех испытаний при различных значениях нормального напряжения.

5.1.1.4 Испытания проводят по следующим схемам:

- консолидированно-дренированное испытание - для песков и глинистых грунтов независимо от их степени влажности в стабилизированном состоянии;

- неконсолидированно-недренированное испытание - для водонасыщенных глинистых и органо-минеральных грунтов в нестабилизированном состоянии и просадочных грунтов, приведенных в водонасыщенное состояние замачиванием без приложения нагрузки.

5.1.1.5 Для испытаний используют образцы грунта ненарушенного сложения с природной влажностью или в водонасыщенном состоянии или образцы нарушенного сложения с заданными значениями плотности и влажности (в том числе при полном водонасыщении), или образцы, отобранные из уплотненного массива, для искусственно уплотненных грунтов.

При этом образцы просадочных грунтов испытывают в водонасыщенном состоянии, а набухающих - при природной влажности.

Примечание - В необходимых случаях сопротивление сразу может определяться: для просадочного грунта при природной влажности или при влажности на границе раскатывания, если последняя превышает природную; для засоленного - на образцах предварительно выщелоченного грунта после стабилизации суффозионной осадки при заданном нормальном давлении; для набухающих грунтов - в условиях полного водонасыщения после стабилизации свободного набухания или набухания (уплотнения) при заданном нормальном давлении; для насыпных грунтов - при их максимальной, требуемой или достигаемой плотности.

5.1.1.6 Образцы должны иметь форму цилиндра диаметром не менее 70 мм и высотой от 1/3 до 1/2 диаметра.

Примечание - Для однородных глинистых грунтов (без включений) допускается при испытаниях в полевых лабораториях уменьшать диаметр образца до 56 мм.

5.1.2 Оборудование и приборы

5.1.2.1 В состав установки для испытания грунта методом одноплоскостного среза должны входить:

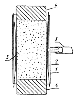
- срезная коробка, состоящая из подвижной и неподвижной частей и включающая рабочее кольцо с внутренними размерами по 5.1.1.6, жестких сплошного и перфорированного штампов;

- механизм для вертикального нагружения образца;

- механизм создания касательной нагрузки;

- устройства для измерения деформаций образца и прикладываемой нагрузки.

Примечание - Для испытания образца песчаных грунтов применяют срезную коробку с нижней подвижной частью.

5.1.2.2 Конструкция срезного прибора должна обеспечивать первоначальное вертикальное давление на образец (от веса штампа и измерительных приборов на нем) не более 0,025 МПа.

5.1.2.3 При тарировке срезной коробки в соответствии с паспортом на прибор устанавливают поправки на преодоление трения подвижной части срезной коробки.

5.1.2.4 При необходимости предварительного уплотнения образца могут применяться уплотнители, позволяющие производить уплотнение при заданном давлении и сохранении природной или заданной влажности, а также в условиях полного водонасыщения.

В состав уплотнителя должны входить следующие основные узлы:

- цилиндрическая обойма, в которую помещается рабочее кольцо с образцом;

- жесткий перфорированный штамп;

- механизм для вертикального нагружения образца;

- ванна для водонасыщения образца;

- гидроизолирующие элементы;

- устройство для измерения вертикальных деформаций образца.

5.1.3 Подготовка к испытанию

5.1.3.1 Образец грунта изготавливают с учетом требований 5.1.1.5 и 5.1.1.6.

5.1.3.2 Изготовленный образец взвешивают и в зависимости от схемы испытания и вида грунта приступают или к его предварительному уплотнению, или сразу к испытанию на срез.

5.1.3.3 Предварительное уплотнение образца при консолидированно-дренированном испытании проводят непосредственно в рабочем кольце срезного прибора или в уплотнителе.

5.1.3.4 При предварительном уплотнении в уплотнителе рабочее кольцо с подготовленным образцом грунта следует поместить в обойму уплотнителя, а затем собранную обойму установить в ванну уплотнителя на перфорированный вкладыш (предварительно торцы образца необходимо покрыть влажным бумажным фильтром). Далее необходимо установить на образец перфорированный штамп, произвести регулировку механизма нагрузки, установить приборы для измерения вертикальных деформаций грунта и записать их начальные показания.

5.1.3.5 Для испытаний образцов грунта в условиях полного водонасыщения необходимо предварительно замочить образцы, заполнив ванну уплотнителя водой.

При испытании просадочных грунтов, имеющих природную влажность меньше wр, необходимо доувлажнить образцы до влажности, равной wр.

Образцам набухающих грунтов, предназначенным для определения сопротивления срезу в условиях полного водонасыщения после стабилизации деформаций набухания при заданном нормальном давлении р, необходимо передать до начала замачивания давление р.

Время насыщения образцов водой должно быть не менее значений, указанных в таблице 5.1.

Таблица 5.1

Грунты

Время насыщения образцов водой, не менее

Время выдерживания ступеней, не менее

Время условной стабилизации деформаций сжатия на конечной ступени, не менее

Пески

10 мин

5 мин

20 мин

Глинистые (непросадочные и ненабухающие):

 

 

 

супеси

3 ч

30 мин

2 ч

суглинки с Iр < 12 %

6 ч

6 ч

      »           с Ip ³ l2 %

12 ч

12 ч

глины        с Ip < 22 %

12 ч

12 ч

      »           с Ip ³ 22 %

36 ч

12 ч

Просадочные

Как для непросадочных

30 мин

3 ч

Набухающие

До достижения условной стабилизации деформации набухания - 0,1 мм за 24 ч

30 мин

Как для ненабухающих

5.1.3.6 При проведении испытаний на повторный срез образец грунта разрезают на две части острым ножом или леской по плоскости первого среза, тщательно заравнивают торцевые поверхности обеих половин, соединяют их между собой и помещают в рабочее кольцо срезного прибора.

5.1.4 Проведение консолидированно-дренированного испытания

5.1.4.1 Предварительное уплотнение образца, за исключением образцов просадочных грунтов, испытываемых в водонасыщенном состоянии, производят при нормальных давлениях р, при которых определяют сопротивление срезу t. Нормальные давления передают на образец грунта ступенями Dр.

Значения р и Dр приведены в таблице в таблице 5.2.

Таблица 5.2

В мегапаскалях

Грунты

Нормальное давление при предварительном уплотнении

Ступени давления

Пески средней крупности плотные; глины с IL < 0

0,1; 0,3; 0,5

0,1

Пески средней крупности и средней плотности; пески мелкие плотные и средней плотности; супеси и суглинки с IL £ 0,5; глины с 0 < IL, £ 0,5

0,1; 0,2; 0,3

0,05

Пески средней крупности и мелкие рыхлые; пески пылеватые независимо от плотности; супеси, суглинки и глины с IL > 0,5

0,1; 0,15; 0,2

0,025 до p = 0,1 и далее 0,05

Примечание - Нормальное давление р при предварительном уплотнении образцов просадочного грунта, испытываемых в водонасыщенном состоянии, должно составлять 0,3 МПа и возрастать ступенями Dр = 0,05 МПа.

Примечания

1 В отельных случаях, предусмотренных программой испытаний, могут назначаться более высокие нормальные давления по сравнению с приведенными в таблице 5.2.

2 Если при заданных нормальных давлениях зависимость τ = f(σ) на начальном участке имеет существенно нелинейный характер, значения должны быть изменены так, чтобы соблюдалась линейность указанной зависимости.

5.1.4.2 Каждую ступень давления при предварительном уплотнении выдерживают в течение времени, указанного в таблице 5.1, а конечную ступень - до достижения условной стабилизации деформаций сжатия образца грунта.

За критерий условной стабилизации деформации принимают ее приращение, не превышающее 0,01 мм за время, указанное в таблице 5.1.

5.1.4.3 В процессе предварительного уплотнения образцов грунта, а при их испытаниях в водонасыщенном состоянии и в период замачивания в журнале испытаний регистрируют вертикальные деформации образцов. В конце каждой ступени нагружения записывают показания приборов для измерения деформаций, а на последней ступени фиксируют наступление условной стабилизации деформации сжатия образца грунта.

При замачивании образца грунта вертикальные деформации следует фиксировать по окончании замачивания, а для набухающих грунтов фиксируют наступление условной стабилизации деформации набухания (таблица 5.1).

5.1.4.4 После предварительного уплотнения, если оно проводилось в уплотнителе, следует быстро разгрузить образец и перенести рабочее кольцо с образцом в срезную коробку. Далее закрепляют рабочее кольцо в срезной коробке, устанавливают перфорированный штамп, производят регулировку механизма нагрузки, устанавливают зазор 0,5 - 1 мм между подвижной и неподвижной частями срезной коробки, устанавливают измерительную аппаратуру для регистрации вертикальных деформаций образца и записывают ее начальное показание в журнале испытания.

В случае предварительного уплотнения образцов грунта в условиях полного водонасыщения перед разгрузкой образца удаляют воду из ванны уплотнителя.

5.1.4.5 На образец грунта передают то же нормальное давление, при котором происходило предварительное уплотнение грунта, за исключением образцов просадочного грунта, испытываемых в водонасыщенном состоянии. В этом случае нормальное давление при срезе должно составлять 0,1; 0,2; 0,3 МПа.

Испытание на повторный срез выполняют при том же нормальном давлении, при котором был осуществлен первый срез.

Нормальную нагрузку следует передать на образец в одну ступень и выдержать ее не менее:

5 мин - для песков;

15 мин - для супесей;

30 мин - для суглинков и глин;

10 мин - при повторном срезе.

5.1.4.6 После передачи на образец грунта нормальной нагрузки приводят в рабочее состояние механизм создания касательной нагрузки и прибор для измерения деформаций среза грунта и записывают его начальное показание.

При передаче касательной нагрузки ступенями их значения должны составлять 5 % значения нормальной нагрузки, при которой производят срез. На каждой ступени нагружения записывают показания приборов для измерения деформаций среза через каждые 2 мин, уменьшая интервал между измерениями до 1 мин в период затухания деформации до ее условной стабилизации.

За критерий условной стабилизации деформации среза принимают скорость деформации, не превышающую 0,01 мм/мин.

5.1.4.7 При непрерывно возрастающей касательной нагрузке скорость среза должна быть постоянной и соответствовать указанной в таблице 5.3. Деформации среза фиксируют не реже чем через 2 мин.

Таблица 5.3

Грунты

Скорость среза, мм/мин

Пески

£ 0,5

Супеси

£ 0,1

Суглинки

£ 0,05

Глины с Ip 30 %

£ 0,02

Глины с Ip > 30 %

£ 0,01

5.l.4.8 Испытание следует считать законченным, если при приложении очередной ступени касательной нагрузки происходит мгновенный срез (срыв) одной части образца по отношению к другой или общая деформация среза превысит 5 мм.

При проведении среза с постоянной скоростью за окончание испытаний принимают момент, когда срезающая нагрузка достигнет максимального значения, после чего наблюдается некоторое ее снижение, или установление постоянного значения, или общая деформация среза превысит 5 мм.

5.1.4.9 После окончания испытания следует разрушить образец, извлечь рабочее кольцо с образцом из прибора и отобрать пробы для определения влажности из зоны среза образца.

5.1.4.10 В процессе испытания ведут журнал, форма которого приведена в приложении А.

5.1.5 Проведение неконсолидированно-недренированного испытания

5.1.5.1 Рабочее кольцо с образцом грунта помещают в срезную коробку и закрепляют в ней. Далее устанавливают сплошной штамп, производят регулировку механизма нагрузки, устанавливают зазор 0,5 - 1 мм между подвижной и неподвижной частями срезной коробки, устанавливают приборы для измерения деформации среза и записывают начальные показания.

5.1.5.2 На образец грунта передают в одну ступень нормальное давление р, при котором будет производиться срез образца. Значения р принимают по таблице 5.4.

Если при давлениях 0,125 и 0,15 МПа происходит выдавливание грунта в зазор между подвижной и неподвижной частями срезной коробки, необходимо их уменьшить на 0,025 МПа.

Таблица 5.4

Грунты

Нормальное давление р, МПа

Глинистые и органо-минеральные грунты с показателем текучести:

 

IL < 0,5

0,1; 0,15; 0,2

0,5 £ IL < 1,0

0,05; 0,1; 0,15

IL ³ 1,0

0,025; 0,075; 0,125

5.1.5.3 Сразу после передачи нормальной нагрузки приводят в действие механизм создания касательной нагрузки и производят срез образца грунта не более чем за 2 мин с момента приложения нормальной нагрузки.

При передаче касательной нагрузки ступенями их значения не должны превышать 10 % значения нормального давления, при котором производится срез (5.1.5.2), и приложение ступеней нагрузки должно следовать через каждые 10 - 15 с.

При передаче непрерывно возрастающей касательной нагрузки скорость среза принимают в интервале 2 - 3 мм/мин так, чтобы срез проходил в течение указанного времени.

5.1.5.4 Момент окончания испытания устанавливают в соответствии с указаниями 5.1.4.8. По окончании испытания следует зафиксировать максимальную касательную нагрузку в процессе испытания и произвести операции, предусмотренные 5.1.4.9.

5.1.5.5 В процессе испытания ведут журнал, форма которого приведена в приложении А.

5.1.6 Обработка результатов

5.1.6.1 По измеренным в процессе испытания значениям касательной и нормальной нагрузок вычисляют касательные и нормальные напряжения τ и σ, МПа, по формулам *:

* Здесь и далее 1 кН/см2 = 10 МПа.

                                                                    (5.1)

                                                                   (5.2)

где Q и F - соответственно касательная и нормальная силы к плоскости среза, кН;

А - площадь среза, см2.

Определение τ необходимо проводить не менее чем при трех различных значениях р.

Из каждого значения τ вычитают поправку за счет трения в приборе по заранее построенной тарировочной кривой. При фиксации хода испытаний автоматическими приборами в полученную диаграмму среза также вносят поправку за счет трения в приборе.

По измеренным в процессе испытания значениям деформаций среза Dl, соответствующим различным напряжениям t, строят график зависимости Dl = f(τ) (см. приложение Б).

За сопротивление грунта срезу принимают максимальное значение τ, полученное по графику Dl = f(τ) или диаграмме среза на отрезке Dl, не превышающем 5 мм.

Если τ возрастает монотонно, то за сопротивление грунта срезу следует принимать τ при Dl = 5 мм.

5.1.6.2 Угол внутреннего трения φ и удельное сцепление с определяют как параметры линейной зависимости

τ = σtgφ + c,                                                      (5.3)

где τ и σ определяют по формулам (5.1), (5.2).

При проведении повторных срезов зависимость (5.3) записывают в виде

τ = σtgφ + (Σw + сc),                                       (5.4)

где Sw - удельное сцепление, определяемое по испытанию на повторный срез;

сс - часть общего удельного сцепления с за вычетом Sw.

5.1.6.3 Угол внутреннего трения j и удельное сцепление с, МПа, вычисляют по формулам:

                                         (5.5)

                                          (5.6)

где τi - опытные значения сопротивления срезу, определенные при различных значениях σi и относящиеся к одному инженерно-геологическому элементу или отдельному монолиту грунта (при n ³ 3);

n - число испытаний.

Примечание - Для оценки разброса экспериментальных данных и выявления ошибок испытаний перед вычислением tgφ и с строят график зависимости τ = f(σ) (см. приложение Б).

5.2 МЕТОД ОДНООСНОГО СЖАТИЯ

5.2.1 Сущность метода

5.2.1.1 Испытание грунта методом одноосного сжатия проводят для определения следующих характеристик прочности: предела прочности на одноосное сжатие R для полускальных и водонасыщенных глинистых грунтов; сопротивления недренированному сдвигу си для водонасыщенных глинистых грунтов.

5.2.1.2 Предел прочности на одноосное сжатие определяют как отношение приложенной к образцу вертикальной нагрузки, при которой происходит разрушение образца, к площади его первоначального поперечного сечения.

Примечание - Предел прочности для образца водонасыщенного грунта, имеющего относительную вертикальную деформацию в момент разрушения ε > 0,1, определяют с учетом увеличения площади его поперечного сечения.

5.2.1.3 Для испытаний используют образцы грунта ненарушенного сложения.

Для полускальных грунтов влажность испытываемого образца должна соответствовать природной влажности, воздушно-сухому или водонасыщенному состоянию, для водонасыщенных глинистых грунтов - природной влажности.

5.2.1.4 Для полускальных грунтов образец должен иметь форму цилиндра диаметром от 40 до 100 мм и отношение высоты к диаметру от 1:1 до 2:1 или форму прямоугольного параллелепипеда с торцевыми гранями размером от 40´40 до 100´100 мм и отношением высоты к размеру ребра торцевых граней от 1:1 до 2:1. Торцевые поверхности образца должны быть отшлифованы.

Для глинистых грунтов образец должен иметь форму цилиндра диаметром не менее 38 мм и отношением высоты к диаметру 2:1.

Примечания

1 При соотношении высоты к диаметру (или размеру ребра торцевых граней) 1:1 образец следует изготавливать возможно большего диаметра (или с возможно большим размером ребра торцевой грани).

2 Образец трещиноватого или выветрелого полускального грунта должен иметь диаметр (или размер ребра торцевой грани) не менее 60 мм.

3 Образец полускального грунта, имеющий сквозные трещины, видимые невооруженным глазом, не допускается к испытанию.

5.2.2 Оборудование и приборы

В состав установки для испытания грунта на одноосное сжатие должны входить:

- механизм для вертикального нагружения образца (пресс с гидравлическим приводом - для полускальных грунтов, прибор одноосного сжатия ИГП-10 или П-12М - для глинистых грунтов либо другой подходящий пресс);

- устройство для измерения вертикальной деформации образца.

Примечание - Плиты пресса должны быть отполированы.

5.2.3 Подготовка к испытанию

5.2.3.1 Образец грунта изготавливают с учетом требований 5.2.1.3 и 5.2.1.4.

Для всех образцов помимо определения необходимых физических характеристик должны быть отмечены характерные особенности (слоистость, трещиноватость, наличие включений и др.).

5.2.3.2 Образец водонасыщенного глинистого грунта, изготовленный методом режущего кольца, извлекают из кольца с помощью выталкивателя.

5.2.3.3 Образец грунта помещают в центре опорной плиты пресса (или столика прибора одноосного сжатия) и приводят в соприкосновение с ним верхнюю площадку пресса.

5.2.3.4 Устанавливают приборы для измерения прикладываемого усилия и перемещения торца образца и записывают их начальные показания.

5.2.4 Проведение испытания

5.2.4.1 Нагружение испытываемого образца грунта производят равномерно, без ударов, увеличивая нагрузку непрерывно с заданной скоростью нагружения или скоростью деформирования образца грунта.

Скорость нагружения образца полускального грунта должна составлять 0,01 - 0,05 МПа/с.

Нагружение образца глинистого грунта производят со скоростью приращения относительной вертикальной деформации образца 0,02 за 1 мин, или скорость нагружения выбирают в зависимости от предполагаемой прочности грунта таким образом, чтобы время проведения испытания составило 5 - 7 мин.

5.2.4.2 Испытание проводят до разрушения образца. В случае испытания образца глинистого грунта при отсутствии видимых признаков разрушения испытание прекращают при относительной вертикальной деформации образца ε = 0,15.

5.2.4.3 В процессе испытания ведут журнал, форма которого приведена в приложении А.

5.2.5 Обработка результатов

5.2.5.1 Предел прочности на одноосное сжатие R, МПа, полускального грунта и глинистого при e £ 0,1 вычисляют с точностью 0,1 МПа по формуле

                                                              (5.7)

где F - нагрузка, при которой происходит разрушение, кН;

А0 - начальная площадь поперечного сечения образца грунта, см.

Предел прочности глинистых грунтов при ε > 0,1 вычисляют по формуле (5.7), где вместо А0 принимают текущую площадь среднего поперечного сечения образца А, см2, вычисленную в соответствии с приложением В.

5.2.5.2 Сопротивление недренированному сдвигу с, МПа, водонасыщенного глинистого грунта, соответствующее сцеплению грунта при неконсолидированно-недренированном испытании, определяют по значению предела прочности по формуле

                                                                   (5.8)

5.3 МЕТОД ТРЕХОСНОГО СЖАТИЯ

5.3.1 Сущность метода

5.3.1.1 Испытание грунта медом трехосного сжатия проводят для определения следующих характеристик прочности и деформируемости: угла внутреннего трения φ, удельного сцепления с, сопротивления недренированному сдвигу си, модуля деформации Е и коэффициента поперечной деформации v для песков, глинистых, органо-минеральных и органических грунтов.

5.3.1.2 Эти характеристики определяют по результатам испытаний образцов грунта в камерах трехосного сжатия, дающих возможность бокового расширения образца грунта в условиях трехосного осесимметричного статического нагружения при σ1 ³ σ2 = σ3,

где σ1 - максимальное главное напряжение;

σ2, σ3 - минимальные, они же промежуточные главные напряжения.

Результаты испытаний оформляют в виде графиков зависимости деформаций образца от нагрузки и изменения деформаций во времени.

5.3.1.3 Испытания вертикальной нагрузкой проводят при заданном всестороннем давлении на образец грунта или заданном среднем нормальном напряжении.

Примечания

1 Значения заданных всесторонних давлений и средних нормальных напряжений определяют в программе испытаний в зависимости от предполагаемого состояния в исследуемом грунтовом массиве.

При отсутствии данных значения всестороннего давления могут быть приняты в таблице 5.5.

2 При наличии специального обоснования могут быть приняты другие траектории нагружения образца грунта при испытаниях.

5.3.1.4 Испытания для определения характеристик прочности проводят не менее чем для трех образцов исследуемого грунта при различных значениях всестороннего давления на образец.

Испытания для определения характеристик деформируемости проводят при заданном всестороннем давлении на образец.

5.3.1.5 Испытания проводят по следующим схемам:

- неконсолидированно-недренированное испытание - для определения сопротивления недренированному сдвигу водонасыщенных глинистых, органо-минеральных и органических грунтов природной плотности;

- консолидированно-недренированное испытание - для определения характеристик прочности глинистых, органо-минеральных и органических грунтов в нестабилизированном состоянии;

- консолидированно-дренированное испытание - для определения характеристик прочности и деформируемости любых дисперсных грунтов в стабилизированном состоянии.

5.3.1.6 Для испытаний используют образцы грунта ненарушенного сложения с природной влажностью или образцы нарушенного сложения с заданными значениями плотности и влажности.

5.3.1.7 Образцы должны иметь форму цилиндра диаметром не менее 38 мм и отношением высоты к диаметру от 2:1 до 2,5:1.

5.3.2 Оборудование и приборы

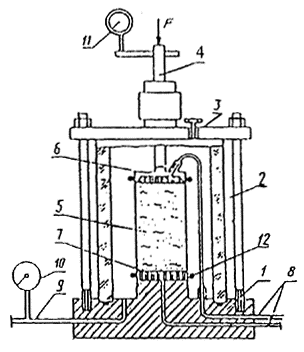
5.3.2.1 В состав установки для испытания грунтов методом трехосного сжатия должны входить:

- камера трехосного сжатия с набором жестких сплошных и перфорированных штампов и уплотнителей к ним;

- устройство для создания, поддержания и измерения давления в камере;

- механизм для вертикального нагружения образца;

- устройства для измерения вертикальных и объемных деформаций образца;

- приборы для измерения давления в поровой жидкости образца (устройства, основанные на компенсационном принципе, и датчики давления высокой жесткости);

- резиновые оболочки толщиной не более 0,25 мм;

- расширитель для заключения образца в резиновую оболочку.

Принципиальная схема камеры трехосного сжатия приведена в приложении Г.

5.3.2.2 Конструкция камеры трехосного сжатия должна обеспечивать:

- боковое расширение образца;

- отжатие воды из образца;

- герметичность основных деталей;

- минимально возможное трение штока во втулке камеры.

5.3.2.3 Измерительные устройства (приборы) должны обеспечивать погрешность:

- при измерении вертикальной нагрузки на образец - не более 1 % нагрузки при разрушении образца;

- при измерении давления в камере - не более 2 % заданного;

- при измерении вертикальной деформации образца - по ГОСТ 30416;

- при измерении объемных деформаций образца - не более 0,03 % начального объема образца.

5.3.2.4 Камеру трехосного сжатия тарируют в соответствии с требованиями приложения Д.

5.3.3 Подготовка к испытанию

5.3.3.1 Образец грунта изготавливают с учетом требований 5.3.1.6 и 5.3.1.7.

Примечание - Для уменьшения трения в процессе вырезания образца с помощью цилиндрической формы ее внутренний диаметр может быть несколько больше внутреннего диаметра режущей кромки.

5.3.3.2 Образец грунта ненарушенного сложения, изготовленный методом режущего кольца, извлекают из кольца с помощью выталкивателя, измеряют его диаметр и высоту и взвешивают.

Торцы образца покрывают влажными бумажными фильтрами и помещают его между штампами. С помощью расширителя, конструкция которого приведена в приложении Е, на образец надевают резиновую оболочку. Закрепляют оболочку на боковых поверхностях штампов резиновыми или металлическими уплотнителями.

5.3.3.3 Образец грунта со штампами помещают на основание камеры. До помещения образца водонасыщенного грунта систему трубок, подводящих воду к штампам, и отверстия в штампах заполняют дистиллированной дезаэрированной водой до появления ее на поверхности штампов и вытеснения пузырьков воздуха. Излишек воды убирают фильтровальной бумагой.

5.3.3.4 Образец связного грунта нарушенного сложения с заданными значениями плотности и влажности, изготовленный в разъемной форме методом послойного трамбования или под прессом, извлекают из разъемной формы и проводят операции, указанные в 5.3.3.2 и 5.3.3.3.

5.3.3.5 При изготовлении образца несвязного грунта нарушенного сложения на внутреннюю поверхность формы предварительно помещают резиновую оболочку, концы которой загибают на края формы. Основанием образца служит штамп, покрытый бумажным фильтром.

5.3.3.6 Образец несвязного грунта помещают на основание камеры в форме. Концы резиновой оболочки закрепляют на штампах (5.3.3.2). Затем разъемную форму снимают. До снятия формы образец вакуумируют с помощью вакуумного насоса, создавая разрежение не более 0,01 МПа.

5.3.3.7 После помещения образца на основание камеры проводят следующие операции:

- корпус камеры с поднятым в верхнее положение штоком устанавливают на основание и проверяют положение штока по отношению к центру образца;

- корпус камеры закрепляют на основании;

- заполняют камеру рабочей жидкостью (дистиллированной прокипяченной водой) с полным удалением пузырьков воздуха;

- устанавливают прибор для измерения вертикальных деформаций образца;

- присоединяют приборы для измерения объемных деформаций образца грунта и (или) давления в поровой жидкости (в зависимости от схемы испытаний);

- записывают начальные показания приборов.

5.3.4 Проведение неконсолидированно-недренированного испытания

5.3.4.1 Предварительное обжатие образца осуществляют в соответствии с программой испытаний или производят в условиях отсутствия дренажа всесторонним давлением в камере, равным среднему полному давлению, воздействующему на грунт в условиях природного залегания, в течение 30 мин.

5.3.4.2 Вертикальное нагружение испытываемого образца производят равномерно, без ударов ступенями нагрузки, равными 10 % эффективного напряжения в образце грунта после предварительного обжатия, определяемого разностью между полным давлением в камере и давлением в поровой жидкости образца, или от значения вертикального эффективного бытового давления, заданного программой испытаний, с интервалами 15 с или непрерывно, обеспечивая приращение относительной вертикальной деформации образца грунта 0,02 за 1 мин.

5.3.4.3 Показания прибора для измерения вертикальной деформации образца грунта записывают на каждой ступени нагружения (по достижении заданной нагрузки) или через 15 с при непрерывном увеличении нагрузки.

5.3.4.4 Испытание продолжают до момента разрушения образца или до возникновения пластического течения без приращения нагрузки. При отсутствии видимых признаков разрушения испытание прекращают при относительной вертикальной деформации образца грунта ε1 = 0,15.

5.3.4.5 После окончания испытания образец грунта разгружают, сбрасывают давление в камере и сливают рабочую жидкость.

5.3.4.6 Образец грунта извлекают из камеры и отбирают из него пробы для контрольного определения влажности.

5.3.4.7 В процессе испытания ведут журнал, форма которого приведена в приложении А.

5.3.5 Проведение консолидированно-недренированного испытания

5.3.5.1 Образец уплотняют всесторонним давлением в камере σ3, заданным программой испытаний или принятым по таблице 5.5. Давление передают ступенями (таблица 5.5). При этом обеспечивают отжатие воды из образца грунта.

Таблица 5.5

В мегапаскалях

Грунты

Давление в камере s3 при предварительном уплотнении

Ступени давления

1

2

3

Пески крупные и средней крупности плотные

Глины с IL £ 0

0,1; 0,3; 0,5

0,1

Пески средней крупности, средней плотности, пески мелкие плотные и средней плотности

Глинистые: супеси и суглинки с IL £ 0,5, глины с 0 < IL £ 0,5

0,1; 0,2; 0,3

0,05

Пески средней крупности и мелкие рыхлые, пески пылеватые независимо от плотности

Глинистые: супеси, суглинки, глины с IL > 0,5

0,1; 0,15; 0,20

0,025 до σ3 = 0,1 далее 0,05

Органо-минеральные и органические грунты

0,05; 0,075; 0,1

0,025

Примечание - При больших значениях заданного давления в камере ступени давления принимают равными 10 % конечного давления.

5.3.5.2 Каждую ступень всестороннего давления при консолидации выдерживают не менее:

5 мин - для песков;

15 мин - для глинистых, органо-минеральных и органических грунтов.

Конечную ступень давления выдерживают до условной стабилизации объемной деформации образца грунта.

5.3.5.3 За критерий условной стабилизации объемной деформации образца грунта принимают приращение относительной объемной деформации, не превышающее 0,0003 за время, указанное в таблице 5.6.

Таблица 5.6

Грунты

Время условной стабилизации объемной деформации, ч

Пески

0,5

Глинистые:

 

супеси

6

суглинки

 

      с Ip £ 12 %

6

      » Ip > 12 %

12

глины

24

Органо-минеральные и органические грунты

24

Примечания

1 При измерении объемных деформаций температура рабочей жидкости не должна меняться более чем на 1 °С.

2 Для грунтов с Sr » 1,0 объемные деформации образца грунта могут быть измерены по объему воды, вытесненной из образца.

5.3.5.4 Отсчеты по прибору для измерения объемной деформации образца грунта записывают на каждой ступени всестороннего давления в камере, а на конечной ступени давления:

через 0,5 ч - для песков;

через 1 ч в течение рабочего дня, далее - в начале и в конце рабочего дня до условной стабилизации объемной деформации - для глинистых, органо-минеральных и органических грунтов.

5.3.5.5 После уплотнения перекрывают дренаж и проводят испытания образца грунта в соответствии с 5.3.4.2 - 5.3.4.6. При этом ступени давления принимают равными 10 % заданного всестороннего давления в камере.

5.3.5.6 В процессе испытания ведут журнал, форма которого приведена в приложении А.

5.3.6 Проведение консолидированно-дренированного испытания

5.3.6.1 Образец грунта уплотняют в соответствии с 5.3.5.1 - 5.3.5.4.

5.3.6.2 После уплотнения образец грунта испытывают для определения характеристик прочности в соответствии с 5.3.6.3 - 5.3.6.8, a для определения характеристик деформируемости - в соответствии с 5.3.6.9 - 5.3.6.12.

5.3.6.3 При испытаниях для определения характеристик прочности образец грунта нагружают вертикальной нагрузкой при соблюдении следующих условий:

- при постоянном всестороннем давлении в камере σ3 - для песков;

- при постоянном всестороннем давлении в камере σ3 или при постоянном среднем нормальном напряжении в образце - для глинистых, органо-минеральных и органических грунтов.

5.3.6.4 Для сохранения постоянства среднего нормального напряжения в образце при приложении нагрузки уменьшают всестороннее давление в камере на Dσ3.

Значение Dσ3, МПа, определяют по формуле

                                                             (5.9)

где DF - приращение вертикальной нагрузки на каждой ступени нагружения или за 5 мин при непрерывном увеличении нагрузки, кН;

А - площадь поперечного сечения образца, см2.

5.3.6.5 Вертикальное давление на образец передают ступенями, равными 10 % заданного всестороннего давления в камере, или непрерывно, обеспечивая приращение относительной вертикальной деформации образца грунта 0,003 за 1 мин.

5.3.6.6 При передаче нагрузки ступенями каждую ступень нагружения выдерживают до условной стабилизации вертикальной деформации образца, за критерий которой принимают приращение относительной вертикальной деформации, не превышающее 0,0001 за 1 мин.

5.3.6.7 Отсчеты по прибору для измерения вертикальной деформации образца грунта записывают через каждые 2 мин, а при затухании деформации - через 1 мин.

5.3.6.8 Испытание проводят до разрушения образца (5.3.4.4) и далее проводят операции в соответствии с 5.3.4.5, 5.3.4.6.

5.3.6.9 При испытаниях для определения характеристик деформируемости вертикальное давление на образец передают ступенями при постоянном всестороннем давлении в камере σ3.

5.3.6.10 Ступени давления в зависимости от всестороннего давления в камере принимают по таблице 5.7.

Таблица 5.7

Грунты

Ступень вертикального давления на образец грунта, % заданного всестороннего давления в камере при номерах ступеней

1

2 - 6

7 и далее

Пески

30

30

15

Глинистые:

 

 

 

супеси

10

20

10

суглинки:

 

 

 

с IL £ 0,5

10

20

10

» IL > 0,5

8

15

8

глины

 

 

 

с IL £ 0,5

6

15

6

» IL > 0,5

5

10

5

Органо-минеральные и органические грунты

5

10

5

5.3.6.11 Каждую ступень давления выдерживают до условной стабилизации вертикальной деформации образца, за критерий которой принимают приращение относительной вертикальной деформации, не превышающее 0,0001 за время, указанное в таблице 5.6.

5.3.6.12 Отсчеты по приборам для измерения вертикальных и объемных деформаций образца грунта записывают на каждой ступени давления:

через 1, 5, 15, 30 мин и далее через 0,5 ч - для песков;

через 1, 5, 15, 30 мин, 1, 2, 4, 6 и 8 ч, а затем в начале и в конце рабочего дня - для глинистых, органо-минеральных и органических грунтов.

5.3.6.13 Испытание проводят до разрушения образца (5.3.4.4) или прекращают при заданном вертикальном давлении, определенном с учетом предполагаемого напряженного состояния в исследуемом грунтовом массиве, и далее проводят операции в соответствии с 5.3.4.5 и 5.3.4.6.

5.3.6.14 В процессе испытания ведут журнал, форма которого приведена в приложении А.

5.3.7 Обработка результатов

5.3.7.1 По результатам испытания образца грунта в условиях трехосного сжатия вычисляют:

- абсолютную вертикальную деформацию образца грунта Dh, мм, с учетом поправки на сжатие камеры;

- относительную вертикальную деформацию образца грунта ε1 по формуле

                                                                 (5.10)

где h - начальная высота образца, мм;

- абсолютную объемную деформацию образца грунта DV, см3, с учетом поправки на расширение камеры;

- относительную объемную деформацию образца грунта εv по формуле

                                                           (5.11)

где V - начальный объем образца, см3;

- напряжение σ1, МПа, по формуле

                                              (5.12)

где F - вертикальная нагрузка, кН;

А - площадь поперечного сечения образца, см2;

σ3 - всестороннее давление в камере, МПа;

Ас - площадь поперечного сечения штока, см2.

Примечания

1 При необходимости вводят поправку на трение штока во втулке камеры.

2 При относительной вертикальной деформации образца грунта, превышающей 0,03, учитывают изменение площади А в процессе испытания.

Для любого момента испытаний площадь Аi определяют по формулам:

- для недренированного испытания

                                                      (5.13)

- для дренированного испытания

                                                          (5.14)

В случае увеличения объема образца εv принимают со знаком плюс.

5.3.7.2 При определении характеристик прочности по вычисленным значениям строят график зависимости ε1 = f1 - σ3) для испытаний, проведенных при различных значениях σ3 (приложение Ж).

На графиках определяют значения (σ1 - σ3)р, соответствующие моменту разрушения образца грунта (точка перегиба графика) или относительной вертикальной деформации образца ε1 = 0,15.

5.3.7.3 Сопротивление недренированному сдвигу си, МПа, определяют по результатам неконсолидированно-недренированного испытания по формуле

                                                    (5.15)

где  и  - значения σ1 и σ3 при разрушении образца, МПа;

п - число испытаний.

5.3.7.4 Угол внутреннего трения φ и удельное сцепление с, МПа, вычисляют по формулам:

                                                           (5.16)

                                                               (5.17)

где N - вычисляют по формуле (5.5), М - (5.6), в которых tgφ, с, τi и σi необходимо заменить на N, М,  и  соответственно.

Примечания

1 При измерении давления в поровой жидкости σ1 и σ3 заменяют на σ¢1 и σ¢3, вычисляемые по формулам:

σ¢1 = σ1 - и;                                                                                             (5.18)

σ¢3 = σ3 - и,                                                                                              (5.19)

где и - давление и поровой жидкости, МПа.

2 Для оценки разброса экспериментальных данных и выявления ошибок испытаний перед вычислением tgj и с строят график зависимости σ1 = f3) при разрушении образцов (приложение Ж).

5.3.7.5 При определении характеристик деформируемости по вычисленным значениям строят графики зависимости ε1 = f1) и εv = f1) (приложение Ж). На графиках принимают линейную аппроксимацию участков для заданных программой испытаний диапазонов напряжений.

5.3.7.6 Модуль деформации Е, МПа, и коэффициент поперечной деформации v определяют при испытаниях (или этапах испытаний), проведенных при постоянном значении всесторонних напряжений σ3 (Dσ3 = 0), и вычисляют по формулам:

                                                                (5.20)

                                                                 (5.21)

где Dσ1 - приращение напряжений σ1 в заданном диапазоне;

Dε1 и Dε3 - приращение относительных вертикальной и поперечной деформаций образца

                                                    (5.22)

где Dεv - приращение относительной объемной деформации образца.

5.3.7.7 По данным испытаний грунта в условиях трехосного сжатия могут быть определены модуль сдвига G и модуль объемной деформации K в соответствии с приложением И.

5.4 МЕТОД КОМПРЕССИОННОГО СЖАТИЯ

5.4.1 Сущность метода

5.4.1.1 Испытание грунта методом компрессионного сжатия проводят для определения следующих характеристик деформируемости: коэффициента сжимаемости m0, модуля деформации Е, структурной прочности на сжатие рstr, коэффициентов фильтрационной и вторичной консолидации сv и сa для песков мелких и пылеватых, глинистых грунтов с показателем текучести IL > 0,25, органо-минеральных и органических грунтов, относительного суффозионного сжатия esf и начального давления суффозионного сжатия psf для засоленных (содержащих легко- и среднерастворимые соли) песков (кроме гравелистых), супесей и суглинков,

5.4.1.2 Эти характеристики определяют по результатам испытаний образцов грунта в компрессионных приборах (одометрах) или компрессионно-фильтрационных приборах (для определения характеристик суффозионного сжатия), исключающих возможность бокового расширения образца грунта при его нагружении вертикальной нагрузкой.

Результаты испытаний должны быть оформлены, как правило, в виде графиков зависимостей деформаций образца от нагрузки и их изменения во времени.

5.4.1.3 Диапазон давлений, при которых проводят испытания, определяется в программе испытаний или принимается в пределах полуторного значения проектного давления на грунт.

5.4.1.4 Для испытаний используют образцы грунта ненарушенного сложения с природной влажностью или водонасыщенные или образцы нарушенного сложения с заданными значениями плотности и влажности.

Образец должен иметь форму цилиндра диаметром не менее 71 мм и отношение высоты к диаметру 1:3,5.

5.4.2 Оборудование и приборы

5.4.2.1 В состав установки для испытания грунта в условиях компрессионного сжатия должны входить:

- компрессионный прибор (одометр), состоящий из рабочего кольца с внутренними размерами по 5.4.1.4, цилиндрической обоймы, перфорированного вкладыша под рабочее кольцо и поддона с емкостью для воды;

- механизм для вертикального нагружения образца грунта;

- устройства для измерения вертикальных деформаций образца грунта.

При определении характеристик суффозионного сжатия применяют компрессионно-фильтрационный прибор, конструкция которого приведена в приложении К.

5.4.2.2 Конструкция компрессионного прибора должна обеспечивать:

- подачу воды к образцу снизу и отвод ее;

- первоначальную нагрузку на образец, создаваемую весом штампа и закрепленными на нем измерительными приборами не более 0,0025 МПа.

Дополнительно к этим требованиям конструкция компрессионно-фильтрационного прибора должна обеспечивать:

- подачу воды к образцу грунта снизу (схема восходящего потока) или сверху (схема нисходящего потока);

- отвод воды, профильтровавшейся через образец грунта, и накопление ее в мерном сосуде;

- непрерывную на протяжении всего испытания фильтрацию воды, герметичность основных деталей прибора.

5.4.2.3 Компрессионные и компрессионно-фильтрационные приборы тарируют на сжатие с помощью металлического вкладыша. Максимальное давление при тарировке принимают равным 1,0 МПа, нагружение ступенями давления - 0,05 МПа с выдержкой по 2 мин.

5.4.3 Подготовка к испытанию

5.4.3.1 Образец грунта изготавливают с учетом требований 5.4.1.4.

5.4.3.2 При испытании для определения характеристик суффозионной сжимаемости дополнительно к физическим характеристикам должны быть определены: коэффициент фильтрации по ГОСТ 25584, количество легко- и среднерастворимых солей (степень засоленности) и их качественный состав (по результатам анализа водной и соляно-кислой вытяжек). По специальному заданию для засоленных глинистых грунтов определяют емкость поглощения и состав обменных катионов.

5.4.3.3 Образец грунта в рабочем кольце взвешивают, покрывают с торцов влажными фильтрами и помещают в компрессионный прибор.

5.4.3.4 После помещения образца проводят следующие операции:

- устанавливают образец на перфорированный штамп;

- регулируют механизм нагружения образца;

- устанавливают приборы для измерения вертикальных деформаций образца;

- записывают начальные показания приборов.

5.4.3.5 При необходимости водонасыщение образца проводят путем фильтрации воды снизу вверх под арретиром. Для этого заполняют поддон водой. Водонасыщение проводят для глинистых грунтов в течение 2 - 5 сут, для песков - до момента появления воды над штампом.

5.4.4 Проведение испытания для определения характеристик m0, Е и рstr

5.4.4.1 Нагружение испытываемого образца проводят равномерно, без ударов ступенями нагрузки.

5.4.4.2 Первую ступень давления р1 при испытании песков, в том числе заторфованных, принимают в зависимости от коэффициента пористости е по таблице 5.8, а последующие ступени давления р, принимают равными 0,0125; 0,025; 0,05; 0,1 МПа и далее с интервалом 0,1 МПа до заданного значения нагрузки (5.4.1.3).

Таблица 5.8

Коэффициент пористости е

е ³ 0,75

0,75 > e > 0,6

e £ 0,6

Первая ступень давления p1, МПа

0,0125

0,025

0,05

Примечание - В отдельных случаях, предусмотренных заданием, могут быть приняты более дробные ступени давления р1 исходя из особенностей деформируемости грунта, условий отсыпки и условий возведения сооружения.

5.4.4.3 При испытании глинистых грунтов, в том числе органо-минеральных, для определения их структурной прочности на сжатие рstr первую и последующие ступени давления принимают равными 0,0025 МПа до момента начала сжатия образца грунта. Начало сжатия следует считать при относительной вертикальной деформации образца грунта ε > 0,005. При дальнейшем нагружении за очередную ступень давления принимают ближайшее большее значение по 5.4.4.2.

5.4.4.4 Для глинистых водонасыщенных грунтов в случае их частичного разуплотнения после отбора и подъема образца на поверхность для определения рstr следует вычислять относительное разуплотнение ε1 по формуле

                                            (5.23)

где Dhн - увеличение высоты образца при разуплотнении, см;

h - высота образца до испытания, см;

е0 - начальный коэффициент пористости грунта после подъема образца на поверхность;

Sr - коэффициент водонасыщения грунта после подъема образца на поверхность.

5.4.4.5 На каждой ступени нагружения образца грунта снимают отсчеты по приборам для измерения вертикальных деформаций в следующей последовательности: первый отсчет - сразу после приложения нагрузки, затем через 0,25; 0,5; 1; 2; 5; 10; 20; 30 мин и далее с интервалом 1 ч в течение рабочего дня, а затем в начале и конце рабочего дня до условной стабилизации деформации образца.

5.4.4.6 За критерий условной стабилизации деформации принимают скорость деформации образца, не превышающую 0,01 мм за последние 4 ч наблюдений для песков, 16 ч - для глинистых и 24 ч - для органо-минеральных и органических грунтов.

5.4.4.7 При испытании насыпных грунтов с заданными плотностью и влажностью ступени давления и время их выдержки принимают по 5.4.4.2, 5.4.4.3, 5.4.4.5 и 5.4.4.6 или в соответствии с программой испытаний в зависимости от начального коэффициента увлажнения грунта Kw по таблице 5.9.

Таблица 5.9

Kw

рi, МПа

Dti, ч

< 1,2

0,02

1

1,20 - 1,25

0,015

3

1,26 - 1,35

0,010

10

> 1,35

0,01

24

Примечание - Последняя ступень нагрузки выдерживается до условной стабилизации деформации в соответствии с 5.4.4.6.

5.4.4.8 В необходимых случаях по специальному заданию может быть произведена разгрузка образца грунта в последовательности, обратной порядку нагружения, а также повторное испытание грунта на сжимаемость, последовательность которого аналогична последовательности первого нагружения.

При разгрузке последняя ступень должна соответствовать давлению, создаваемому весом штампа и смонтированного на нем измерительного оборудования (5.4.2.2).

Регистрацию деформации образца при разгрузке следует вести через интервалы времени, указанные в 5.4.4.5, а критерий условной стабилизации деформации принимать по 5.4.4.6.

5.4.4.9 После окончания испытания образца грунта необходимо удалить воду сверху образца и из поддона, опустить арретир, снять нагрузку, взвесить рабочее кольцо с грунтом, определить влажность и массу сухого грунта.

5.4.4.10 В процессе испытания ведут журнал, форма которого приведена в приложении А.

5.4.5 Проведение испытания для определения характеристик консолидации сv и сa

5.4.5.1 Испытание проводят при постоянном давлении, равном проектному давлению на грунт или другому заданному давлению. Давление на образец грунта передают сразу после приведения разуплотнившегося грунта к природному состоянию (5.4.4.4) или после предварительного уплотнения грунта заданной нагрузкой. Деформации образца регистрируют через промежутки времени, указанные в 5.4.4.5, до момента достижения условной стабилизации деформации в соответствии с 5.4.4.6.

5.4.5.2 При определении сv и сa насыпных глинистых грунтов с заданными плотностью и влажностью учитывают при необходимости реальный градиент напора поровой жидкости, значение которого задается в программе испытаний.

Давление на образец грунта р, МПа, при котором будет создан заданный градиент напора, определяется по формуле

р = I × l,                                                                    (5.24)

где I - заданный градиент напора, МПа/см;

l - длина пути фильтрации воды из образца, см.

5.4.5.3 После окончания испытания проводят операции по 5.4.4.9.

5.4.5.4 В процессе испытания ведут журнал, форма которого приведена в приложении А.

5.4.6 Проведение испытания для определения характеристик суффозионной сжимаемости ssf и psf

5.4.6.1 Испытания засоленных грунтов в компрессионно-фильтрационном приборе следует выполнять по схемам:

- «одной кривой» (при испытании одного образца грунта) - для определения характеристик сжимаемости грунта природной влажности при различных давлениях, относительной просадочности и относительного суффозионного сжатия при одном заданном значении давления;

- «трех кривых» (при испытании трех образцов грунта) - для определения при различных давлениях характеристик сжимаемости грунта природной влажности, относительной просадочности и относительного суффозионного сжатия.

5.4.6.2 Компрессионно-фильтрационные испытания грунтов выполняют по схеме нисходящего или восходящего потока (фильтрующей жидкости, а также при любых значениях градиента напора I при условии отсутствия механической суффозии.

5.4.6.3 При испытании по схеме «одной кривой» нагрузку на образец грунта природной влажности производят ступенями нагружения до заданного давления р, аналогично компрессионному испытанию (5.4.4.2, 5.4.4.3, 5.4.4.5, 5.4.4.6). После условной стабилизации деформации образца грунта при давлении р его необходимо замочить водой, продолжая замачивание до условной стабилизации просадки по ГОСТ 23161. После окончания просадочных деформаций или в случае их отсутствия следует начать непрерывную фильтрацию воды через образец (при заданном давлении р) до условной стабилизации суффозионного сжатия (5.4.6.6).

5.4.6.4 Испытание по схеме «трех кривых» проводят на трех образцах грунта ненарушенного сложения, отобранных из одного монолита и отличающихся по плотности сухого грунта не более чем на 0,05 г/см3, или на трех образцах нарушенного сложения, имеющих одинаковые (заданные) степень засоленности и плотность сухого грунта.

Один образец испытывают при природной влажности. При этом нагрузку на образец грунта производят ступенями нагружения до заданного давления р в соответствии с 5.4.4.2 и 5.4.4.3.

Второй образец надлежит перед нагружением замочить (без применения арретира) до полного водонасыщения и затем прикладывать нагрузку на образец ступенями нагружения до заданного давления в соответствии с 5.4.4.2, 5.4.4.3, 5.4.4.5, 5.4.4.6. Водонасыщение следует производить в соответствии с 5.4.3.5.

После условной стабилизации сжатия водонасыщенного грунта необходимо начать непрерывную фильтрацию воды через образец (при неизменном заданном давлении р) до условной стабилизации суффозионного сжатия.

Третий образец следует замочить до полного водонасыщения (без передачи нагрузки на образец грунта и без применения арретира) и затем производить выщелачивание солей (рассоление грунта) путем непрерывной фильтрации воды иди жидкости заданного состава через образец. После условного рассоления грунта необходимо прикладывать нагрузку на образец ступенями до заданного давления р (в соответствии с 5.4.4.2, 5.4.4.3, 5.4.4.5, 5.4.4.6), поддерживая образец в водонасыщенном состоянии.

5.4.6.5 За критерий условного расселения грунта при выщелачивании солей без нагрузки (при испытании по схеме «трех кривых») следует принимать значения βt, приведенные в таблице 5.10.

Таблица 5.10

Содержание водорастворимых солей, %

Значение bt в зависимости от вида грунта, д.е., не менее

Песок

Супесь

Суглинок

< 5

0,80

0,65

0,60

5 - 10

0,85

0,70

0,65

11 - 20

0,90

0,80

0,75

21 - 30

0,95

0,90

0,85

> 30

1,00

0,95

0,90

5.4.6.6 За критерий условной стабилизации суффозионного сжатия грунта при заданном давлении р следует принимать приращение относительной деформации Dεsf, не превышающее 0,001 при приращении степени выщелачивания солей Dβt = 0,1, а также при условии, что степень выщелачивания солей βt (5.4.7.17) составляет не менее 0,6.

5.4.6.7 После начала фильтрации воды через образец грунта показания индикаторов деформаций следует регистрировать в первый час через 15 мин, далее через час (но не менее 5 раз) в течение рабочего дня, затем один раз в день при испытании грунтов, содержащих легкорастворимые соли, и один раз в 2 - 3 дня при испытании грунтов, содержащих среднерастворимые соли.

5.4.6.8 В процессе выщелачивания солей необходимо отбирать фильтраты для определения в них количества солей по массе плотного остатка: первый фильтрат - после сбора 50 мл жидкости, второй - через 2 - 3 сут., далее - один раз в неделю при испытании грунтов, содержащих легкорастворимые соли, и один раз в две недели при испытании грунтов, содержащих среднерастворимые соли.

5.4.6.9 После завершения испытания рабочее кольцо с влажным грунтом взвешивают, производят контрольное измерение высоты образца грунта в кольце, определяют влажность грунта и массу сухого грунта, а также количественный и качественный состав солей.

5.4.6.10 В процессе испытания ведут журнал, форма которого приведена в приложении А.

5.4.7 Обработка результатов

5.4.7.1 Для определения характеристик т0, Е и рstr по результатам испытания для каждой ступени нагружения вычисляют:

- абсолютную вертикальную стабилизированную деформацию образца грунта Dh, мм, как среднее арифметическое показаний измерительных приборов за вычетом поправки на деформацию компрессионного прибора D;

- относительную вертикальную деформацию образца грунта по формуле (5.10).

5.4.7.2 По вычисленным значениям строят график зависимости ε = f(p) (см. приложение Л).

Через точки графика проводят осредняющую плавную кривую или аппроксимируют эти точки монотонной зависимостью (например, экспоненциальной в соответствии с приложением М).

Значение давления, соответствующее точке пересечения кривой (см. график 1 приложения Л) с осью давления р, равно значению структурной прочности на сжатие рstr.

В случае частичного разуплотнения грунта (см. график 2) за рstr принимают абсциссу точки А графика ε = f(p) с ординатой εi = Dhн/h, определенной по формуле (5.23).

5.4.7.3 Вычисляют коэффициенты пористости ei грунта при давлениях pi по формуле

еi = е0 - εi(1 + е0).                                                    (5.25)

5.4.7.4 Коэффициент сжимаемости т0, МПа-1, в заданном интервале давлений рi и pi+1 вычисляют с точностью 0,001 МПа-1 по формуле

                                                       (5.26)

где ei и ei+1 - коэффициенты пористости, соответствующие давлениям рi и pi+1.

5.4.7.5 Модуль деформации Е, МПа, в интервале давлений рi и pi+1 вычисляют с точностью 0,1 МПа по формулам:

                                                        (5.27)

или

                                                            (5.28)

где ei и ei+1 - значения относительного сжатия, соответствующие давлениям pi и pi+1;

m0 - коэффициент сжимаемости, соответствующий интервалу давления от pi до pi+1;

b - коэффициент, учитывающий отсутствие поперечного расширения грунта в компрессионном приборе и вычисляемый по формуле

                                                           (5.29)

где v - коэффициент поперечной деформации, определяемый по результатам испытаний в приборах трехосного сжатия по 5.3.

При отсутствии экспериментальных данных допускается принимать v равным: 0,30 - 0,35 - для песков и супесей; 0,35 - 0,37 - для суглинков; 0,2 - 0,3 при IL < 0; 0,3 - 0,38 при 0 £ IL £ 0,25; 0,38 - 0,45 при 0,25 < IL £ 1,0 - для глин. При этом меньшие значения v принимают при большей плотности грунта.

5.4.7.6 Коэффициент фильтрационной консолидации сv и коэффициент вторичной консолидации сa определяют в соответствии с приложением Н.

5.4.7.7 При определении характеристик суффозионной сжимаемости строят график зависимости относительных деформаций от вертикального давления e = f(p) (приложение П). При этом относительную деформацию образца грунта определяют по формуле (5.10), в которой значение h заменяют hng, где hng - высота образца грунта при давлении, равном напряжению от собственного веса грунта на глубине отбора образца.

5.4.7.8 В случае набухания засоленного грунта при испытании по схеме «трех кривых» необходимо определить свободное относительное набухание εsw по ГОСТ 24143, а точку, соответствующую esw, включить в график ε = f(p), откладывая ее на оси ординат вверх от оси абсцисс.

5.4.7.9 При испытании по схемам «одной кривой» и «трех кривых» характеристики сжатия засоленного грунта природной влажности определяют в соответствии с 5.4.7.4 и 5.4.7.5.

5.4.7.10 При испытании по схеме «одной кривой» относительную просадочность засоленного грунта esl следует определять по ГОСТ 23161.

5.4.7.11 Относительное суффозионное сжатие грунта εsf при испытании по схеме «одной кривой» и при наличии просадочных деформаций следует определять как дополнительное относительное сжатие образца грунта при заданном давлении и непрерывной фильтрации воды по формуле

                                       (5.30)

где Dhsf - суффозионное сжатие грунта при постоянной фильтрации и заданном давлении (абсолютное суффозионное сжатие), мм;

hsat,p - высота образца замоченного грунта при заданном давлении, мм;

hsf,p - высота образца грунта после сжатия в условиях постоянной фильтрации жидкости при заданном давлении, мм.

5.4.7.12 Относительное суффозионное сжатие грунта esf при испытании по схеме «одной кривой» и при отсутствии просадочных деформаций следует определять по формуле

                                           (5.31)

где hр - высота образца грунта природной влажности при заданном давлении, мм.

5.4.7.13 Относительную просадочность esl для различных давлений при испытаниях по схеме «трех кривых» следует определять как разность значений относительного сжатия образцов в водонасыщенном состоянии esat,p и природной влажности ew или разность ординат соответствующих кривых графиков e = f(p).

5.4.7.14 Относительное суффозионное сжатие esf для различных давлений при испытании по схеме «трех кривых» следует определять как разность значений относительного сжатия образцов выщелоченного грунта и в водонасыщенном состоянии или разность ординат соответствующих кривых графика e = f(p). По значениям esf следует строить график зависимости относительного суффозионного сжатия от давления (приложение П).

5.4.7.15 Начальное давление суффозионного сжатия рsf следует определять по графику зависимости относительного суффозионного сжатия от давления esf = f(p), принимая за рsf давление, при котором относительное суффозионное сжатие составляет 0,01.

5.4.7.16 Относительное суффозионное сжатие вычисляют с точностью 0,001, начальное давление суффозионного сжатия - с точностью 0,02 МПа.

5.4.7.17 В процессе компрессионно-фильтрационного испытания грунта при непрерывной фильтрации воды и заданном давлении р следует строить график зависимости относительного суффозионного сжатия esf от степени выщелачивания солей bt, д.е., (приложение П), определяемой по формуле

                                                (5.32)

где k - число определений плотного остатка фильтрации за время испытаний;

Vw - объем воды, профильтровавшейся через образец грунта за период между двумя последующими определениями плотного остатка, л;

 - среднее арифметическое значение двух последующих определений плотного остатка фильтратов за вычетом плотного остатка фильтрующей жидкости, г/л;

Dsal - степень засоленности грунта (принимают по результатам определений средней степени засоленности монолита, из которого вырезают образец грунта), д.е.;

т1 - масса сухого образца грунта перед началом испытаний, г.

5.4.7.18 После окончания компрессионно-фильтрационного испытания, а также после выщелачивания солей без нагрузки и последующего загружения образца следует произвести корректировку графика esf = f(βt), подставляя в формулу (5.32) вместо значения Dsal значение начальной степени засоленности образца грунта D0,sal, определяемой по формуле

                                       (5.33)

где т2 - масса сухого образца грунта после окончания испытания, г;

D1,sal - степень засоленности образца грунта после окончания испытания, д.е.

6 Методы определения характеристик прочности и деформируемости мерзлых грунтов

6.1 МЕТОД ИСПЫТАНИЯ ШАРИКОВЫМ ШТАМПОМ

6.1.1 Сущность метода

6.1.1.1 Испытание мерзлого грунта шариковым штампом проводят для определения предельно длительного значения эквивалентного сцепления с мелких и пылеватых песков и глинистых грунтов, кроме заторфованных засоленных и сыпучемерзлых разностей этих грунтов.

6.1.1.2 Предельно длительное значение эквивалентного сцепления определяют по глубине погружения шарикового штампа в образец грунта от заданной нагрузки при температуре испытаний не ниже минус 5 °С.

6.1.1.3 Значение нагрузки определяют из условия, что давление в образце на первой ступени нагружения должно быть равным напряжению от собственного веса грунта на горизонте отбора образца, а на последней - расчетному сопротивлению грунта под подошвой фундамента R, задаваемому программой испытаний.

Примечание - При отсутствии данных значение R допускается принимать по приложению Р.

6.1.1.4 Для испытаний используют образцы мерзлого грунта ненарушенного сложения с природной влажностью и льдистостью. Толщина прослоек льда в образце должна быть не более 2 мм, а льдистость i £ 0,4.

Образцы должны иметь форму цилиндра диаметром не менее 71 мм и отношение высоты к диаметру 1:3,5.

6.1.2 Оборудование и приборы

6.1.2.1 В состав установки для испытаний мерзлого грунта шариковым штампом должны входить:

- шариковый штамп диаметром (22 ± 2) мм с опорной плитой и подвижным столиком;

- плоский штамп для предварительного обжатия образца грунта;

- рабочее кольцо для отбора грунта;

- механизм для вертикального нагружения образца грунта;

- устройство для измерения глубины погружения шарикового штампа.

Принципиальная схема установки приведена в приложении С.

6.1.3 Подготовка к испытанию

6.1.3.1 Образец грунта изготавливают с учетом требований 6.1.1.4.

6.1.3.2 После выдерживания образца в рабочем кольце в течение 12 ч при температуре испытания проводят предварительное обжатие образца через плоский штамп давлением, равным напряжению от собственного веса грунта на горизонте отбора образца, в течение 15 с. После обжатия образец разгружают.

6.1.3.3 Образец грунта в рабочем кольце помещают на подвижный столик установки и производят следующие операции:

- покрывают образец защитным кружком из глянцевой или парафинированной бумаги, в котором должно быть вырезано отверстие диаметром, на 2 - 3 мм превышающим диаметр шарикового штампа;

- устанавливают на образец грунта шариковый штамп и центрируют его, фиксируя момент касания шариком поверхности грунта по показаниям приборов для измерения деформаций образца грунта;

- закрепляют стержень штампа стопорным винтом;

- записывают начальные показания приборов.

6.1.4 Проведение испытания

6.1.4.1 К образцу грунта плавно, не допуская ударов, прикладывают нагрузку, увеличивая ее ступенями, общее число которых должно быть не менее пяти.

6.1.4.2 Нагрузку F, кН, на последней ступени нагружения вычисляют по формуле

F = 0,18db2R,                                                           (6.1)

где db - диаметр шарикового штампа, см;

R - расчетное сопротивление грунта под подошвой фундамента, МПа, принимаемое по 6.1.1.3.

При назначении нагрузки должно соблюдаться условие

0,005db < S15 < 0,05db,                                            (6.2)

где S15 - глубина погружения шарикового штампа в образец грунта через 15 мин после приложения нагрузки, см.

При несоблюдении условия (6.2) следует произвести корректировку нагрузки.

6.1.4.3 На каждой ступени нагружения снимают отсчеты по всем приборам для измерения вертикальной деформации образца грунта через 5, 10, 20, 30 и 60 мин после приложения нагрузки, затем через 2 ч в течение рабочего дня и далее два раза в сутки (в начале и конце рабочего дня) до условной стабилизации деформации.

6.1.4.4 За критерий условной стабилизации деформации принимают приращение вертикальной деформации, не превышающее 0,01 мм за 12 ч.

В обоснованных случаях может быть проведено испытание в ускоренном режиме продолжительностью 8 ч.

6.1.4.5 Испытание заканчивают после достижения условной стабилизации глубины погружения шарикового штампа (6.1.4.4) или, если испытание проводят в ускоренном режиме, через 8 ч после начала испытания.

6.1.4.6 Может быть проведено повторное испытание на том же образце при соблюдении условия: центр следующего погружения шарикового штампа должен отстоять от границ предыдущих отпечатков шарика и от края образца не менее чем на половину диаметра шарика.

6.1.4.7 В процессе испытания ведут журнал, форма которого приведена в приложении А.

6.1.5 Обработка результатов

6.1.5.1 По показаниям устройств для измерения деформаций определяют глубину погружения шарикового штампа в грунт в конце испытания (по достижении условной стабилизации деформации или через 8 ч - при ускоренном режиме испытания).

6.1.5.2 Предельно длительное значение эквивалентного сцепления мерзлого грунта сeq, МПа, определяют с точностью 0,01 МПа по формуле

                                                    (6.3)

где F - нагрузка на шариковый штамп, кН;

db - диаметр шарикового штампа, см;

Sb - глубина погружения шарикового штампа в грунт в конце испытания, см;

k - безразмерный коэффициент, равный 1 при испытаниях до условной стабилизации деформации и 0,8 - при ускоренном режиме.

6.2 МЕТОД ОДНОПЛОСКОСТНОГО СРЕЗА ПО ПОВЕРХНОСТИ СМЕРЗАНИЯ

6.2.1 Сущность метода

6.2.1.1 Испытание мерзлого грунта методом одноплоскостного среза по поверхности смерзания проводят для определения следующих характеристик прочности: сопротивления срезу мерзлого грунта, грунтового раствора и льда по поверхности их смерзания с материалом (фундамента или другим твердым материалом) Raf; сопротивления срезу мерзлого грунта по поверхности смерзания с другим грунтом или грунтовым раствором Rsh; сопротивления срезу льда по поверхности смерзания с грунтом или грунтовым раствором Rsh,i.

6.2.1.2 Эти характеристики определяют по результатам испытаний образцов грунта в одноплоскостных срезных приборах с фиксированной плоскостью среза путем приложения к образцу грунта, смороженного с образцом материала фундамента, грунтовым раствором или льдом, касательной нагрузки при одновременном нагружении образца нагрузкой, нормальной к плоскости среза.

6.2.1.3 Предельно длительные значения сопротивления срезу мерзлого грунта по поверхности смерзания Raf, Rsh или Rsh,i определяют как наибольшие касательные напряжения, при которых произошла стабилизация деформации среза образца при заданном нормальном напряжении.

6.2.1.4 Для испытаний используют образцы грунта или грунтового раствора ненарушенного и нарушенного сложений.

Образцы должны иметь форму цилиндра диаметром не менее 70 мм и высотой от 1/2 до 1/3 диаметра.

6.2.1.5 Диаметр образца материала должен быть равным диаметру образца грунта.

6.2.2 Оборудование и приборы

6.2.2.1 В состав установки для испытания мерзлого грунта методом одноплоскостного среза по поверхности смерзания должны входить:

- срезной прибор с фиксированной плоскостью среза;

- рабочее кольцо для образца грунта, грунтового раствора, льда с внутренними размерами по 6.2.1.4;

- формы для смораживания образца грунта с материалом фундамента, грунтовым раствором, льдом и грунтом;

- механизмы для создания касательной и нормальной нагрузок;

- устройства для измерения деформаций образца.

Принципиальная схема срезного прибора приведена в приложении Т.

6.2.2.2 Конструкция срезного прибора должна обеспечивать возможность приложения касательной нагрузки до 10 кН.

6.2.2.3 Формы для смораживания изготавливают из материала низкой теплопроводности (например, органического стекла). Толщина стенок колец формы из органического стекла должна быть не менее 20 мм.

Конструкция формы должна обеспечивать возможность одностороннего промораживания образца через его торцевые поверхности и исключать отжатие и отток воды из грунта при его промораживании.

Принципиальные схемы форм приведены в приложении У. В форме первого типа подготавливают образцы вида «грунт (грунтовый раствор, лед) - материал» для определения Raf (6.2.1.1), в форме второго типа - образцы вида «грунт - грунтовый раствор (лед, грунт)» - для определения Rsh и Rsh,i.

6.2.3 Подготовка к испытанию

6.2.3.1 Образец грунта изготавливают с учетом требований 6.2.1.4 и приложения У.

6.2.3.2 Образец материала изготавливают с учетом требований приложения У диаметром, равным диаметру образца грунта, и высотой, определяемой конструкцией срезного прибора.

6.2.3.3 Подготовленный к испытанию образец помещают в срезную коробку прибора и производят следующие операции:

- закрепляют образец так, чтобы плоскость смерзания располагалась в зазоре между подвижной и неподвижной частями прибора, составляющем 1 - 2 мм;

- устанавливают на образец грунта штамп для передачи нормального давления и центрируют его;

- закрепляют устройства для намерения деформаций образца грунта;

- устанавливают срезной прибор на станину под пресс и центрируют;

- освобождают подвижную часть срезной коробки, присоединяют к ней механизм для создания касательной нагрузки;

- записывают начальные показания устройств для измерения деформаций образца и фиксируют время начала испытания.

6.2.4 Проведение испытания

6.2.4.1 К образцу грунта плавно, не допуская ударов, прикладывают нормальную нагрузку и затем первую ступень касательной нагрузки.

6.2.4.2 Значение нормального давления, при котором проводят испытание, определяют в программе испытаний. При отсутствии данных это давление принимают равным 0,1 МПа.

6.2.4.3 Значение первой ступени касательной нагрузки Q1 и ступени последующего нагружения DQ, кН, при испытаниях по определению среза мерзлого грунта, грунтового раствора с материалом фундамента и сопротивления срезу мерзлого грунта по поверхности смерзания с другим грунтом или грунтовым раствором определяют в соответствии с 6.2.4.4. При недостаточном количестве образцов значения Q1 и DQ могут быть определены по формулам:

Q1 = t1Аaf;                                                                (6.4)

DQ = DtAaf,                                                             (6.5)

где t1 - касательное напряжение, МПа, принимаемое по таблице 6.1;

Aаf - площадь смерзания образца грунта с образцом материала фундамента, см2;

Dt - приращение касательного напряжения на каждой ступени нагружения, МПа, принимаемое по таблице 6.2.

Таблица 6.1

Грунты

Значение касательного напряжения t1, МПа, на первой ступени нагружения при температуре грунта, °С

-0,3

-0,5

-1

-1,5

-2

-2,5

-3

-3,5

-4

-6

-8

-10

При определении Raf

Пески

0,04

0,06

0,09

0,11

0,14

0,16

0,18

0,20

0,23

0,26

0,31

0,35

Глинистые

0,03

0,04

0,07

0,09

0,11

0,13

0,14

0,16

0,18

0,21

0,24

0,27

При определении Rsh

Пески

0,05

0,08

0,12

0,15

0,17

0,19

0,21

0,22

0,24

0,29

0,34

0,38

Глинистые

0,03

0,05

0,08

0,10

0,12

0,13

0,15

0,16

0,18

0,21

0,24

0,27

Примечания

1 Значения t1 при определении сопротивления срезу мерзлых грунтов, грунтовых растворов по поверхности смерзания Raf с металлическим материалом фундамента следует принимать с коэффициентом 0,7.

2 Значения t1 при определении Rsh при смораживании разнородных грунтов следует принимать для наименее прочного грунта.

3 Если на первой ступени нагружения наблюдается незатухающая ползучесть, значения t1 необходимо уменьшить в два раза.

Таблица 6.2

Температура испытываемого грунта, °C

Приращение касательного напряжения Dt, МПа

От 0 до -1

0,01

Ниже -1 до -3

0,02

Ниже -3 до -6

0,03

Ниже -6

0,04

При определении Dt учитывают уменьшение площади сдвига в течение испытания.

6.2.4.4 Значение первой ступени касательной нагрузки Q1, кН, при испытаниях по определению сопротивлений срезу льда по поверхности смерзания с материалом фундамента, мерзлого грунта, льда - с другими материалами и льда с грунтом или грунтовым раствором следует устанавливать в соответствии с заданием, а при его отсутствии - определять на основании результатов предварительно проведенных испытаний при непрерывном быстром воздействии нагрузки по формуле

Q1 = 0,1Raf,оAaf,                                                       (6.6)

где Raf,о - условно-мгновенное сопротивление срезу мерзлого грунта, льда по поверхности смерзания, определяемое в соответствии с 6.2.4.9 и 6.2.5.4, МПа.

Далее увеличивают касательную нагрузку ступенями нагружения DQ, кН, значения которых при отсутствии задания определяют по формуле

DQ = Q1/2.                                                               (6.7)

6.2.4.5 На каждой ступени нагружения записывают показания приборов (устройств) для измерения деформации среза образца через интервалы времени, принимаемые по указаниям 6.1.4.3, до достижения условной стабилизации деформации (6.1.4.4).

6.2.4.6 Если на очередной ступени нагружения стабилизации деформации не наблюдается, то нагрузку выдерживают до возникновения деформирования с постоянной скоростью, которое считается достигнутым, когда скорость деформирования в течение двух следующих друг за другом 12-часовых интервалов сохраняется постоянной.

6.2.4.7 Испытание заканчивают, когда деформирование с постоянной скоростью установлено не менее чем для двух ступеней касательной нагрузки.

6.2.4.8 После окончания испытания отбирают пробы для определения влажности из зоны среза.

6.2.4.9 При проведении испытания при непрерывном быстром возрастании нагрузки к образцу плавно, не допуская ударов, прикладывают касательную нагрузку, увеличивая ее непрерывно и обеспечивая такую постоянную скорость деформирования образца, чтобы время от начала испытания до момента разрушения образца составляло 20 - 30 с.

В процессе испытания производят автоматическую запись касательной нагрузки на образец, а при отсутствии системы автоматической записи фиксируют нагрузку q0, кН, в момент его разрушения.

6.2.4.10 В процессе испытания ведут журнал, форма которого приведена в приложении А.

6.2.5 Обработка результатов

6.2.5.1 В процессе испытаний строят график зависимости деформаций грунта l во времени при различных значениях касательного напряжения (приложение Ф).

6.2.5.2 Предельно длительное значение сопротивления срезу мерзлого грунта по поверхности смерзания Raf, Rsh, Rsh,i определяют как наибольшее касательное напряжение, при котором произошла стабилизация деформации образца при заданном нормальном напряжении.

6.2.5.3 При определении Raf, Rsh, Rsh,i вводят поправку на трение в срезном приборе по заранее построенной тарировочной кривой.

6.2.5.4 По результатам испытаний при непрерывном быстром возрастании нагрузки определяют условно-мгновенное значение сопротивления срезу мерзлого грунта, льда по поверхности смерзания Rаf,о, МПа, по формуле

Rаf,о = Q0/Aaf.                                                           (6.8)

6.3 МЕТОД ОДНООСНОГО СЖАТИЯ

6.3.1 Сущность метода

6.3.1.1 Испытание мерзлого грунта методом одноосного сжатия проводят для определения следующих характеристик прочности и деформируемости: предела прочности на одноосное сжатие Rс, Rос, модуля линейной деформации Е, коэффициента поперечного расширения v, коэффициента нелинейной деформации А, коэффициента вязкости сильнольдистых грунтов h для песков (кроме гравелистых и крупных) и глинистых грунтов (кроме заторфованных, засоленных и сыпучемерзлых разностей указанных грунтов).

6.3.1.2 Эти характеристики определяют по результатам нагружения образцов грунта вертикальной нагрузкой в условиях свободного бокового расширения с доведением образца до хрупкого разрушения или достижения незатухающей ползучести.

6.3.1.3 Для испытаний используют образцы мерзлого грунта ненарушенного сложения с природной влажностью и льдистостью.

Толщина прослоек льда в образце должна быть не более 2 мм, а льдистость i £ 0,4.

При определении коэффициента вязкости сильнольдистых грунтов толщина прослоек льда в образце должна быть не более 10 мм.

6.3.1.4 Образцы должны иметь форму цилиндра диаметром 71,4 и высотой 140 мм или диаметром 49 и высотой 100 мм.

6.3.2 Оборудование и приборы

6.3.2.1 В состав установки для испытания мерзлого грунта методом одноосного сжатия должны входить:

- платформы (подвижная и неподвижная) с набором штампов для установки и крепления образца грунта;

- механизм для вертикального нагружения образца;

- устройства для измерения продольных и поперечных деформаций.

Принципиальная схема установки приведена в приложении X.

6.3.2.2 Конструкция установки и механизма для вертикального нагружения образца грунта должна обеспечивать:

- возможность нагружения образца грунта непрерывно при постоянной скорости деформирования образца не менее 1 мм/с;

- общую нагрузку на образец грунта не менее 30 кН;

- возможность деформации образца не менее 30 мм.

6.3.3 Подготовка к испытанию

6.3.3.1 Образец грунта изготавливают с учетом требований 6.3.1.3 и 6.3.1.4.

6.3.3.2 Образец грунта извлекают из кольца, помещают между нижним и верхним штампами и производят следующие операции:

- закрепляют паровлагонепроницаемую оболочку на боковых поверхностях штампов;

- на образец устанавливают устройства для измерения поперечных деформаций;

- образец со штампами помещают на нижнюю неподвижную платформу установки и центрируют;

- закрепляют устройства для измерения продольных деформаций образца.

6.3.3.3 После выдерживания образца грунта в установке производят предварительное обжатие образца давлением, равным напряжению от собственного веса грунта на горизонте отбора образца (но не более половины условно-мгновенного значения предела прочности на одноосное сжатие), в течение 15 с. Затем образец разгружают, записывают показания приборов и фиксируют время начала испытаний.

6.3.4 Проведение испытания при непрерывном быстром возрастании нагрузки для определения условно-мгновенного значения предела прочности на одноосное сжатие Rос

6.3.4.1 К образцу плавно, не допуская ударов, прикладывают нагрузку, увеличивая ее непрерывно и обеспечивая постоянную скорость деформирования образца не менее 1 мм/с.

6.3.4.2 Испытание должно продолжаться до момента разрушения образца, если разрушение носит хрупкий характер, или до момента, когда относительная продольная деформация достигнет значения e ³ 0,20, если образец деформируется вязко, без видимых признаков разрушения.

6.3.4.3 В процессе испытания производят автоматическую запись нагрузки на образец и его деформаций. При отсутствии системы автоматической записи фиксируют нагрузку и высоту образца грунта в момент его разрушения или вязкого деформирования.

6.3.4.4 В процессе испытания ведут журнал, форма которого приведена в приложении А.

6.3.5 Проведение испытания на ползучесть для определения предельно длительного значения предела прочности на одноосное сжатие Rс и характеристик деформируемости Е, v, А

6.3.5.1 К образцу плавно, не допуская ударов, прикладывают нагрузку, увеличивая ее равными ступенями нагружения. Время приложения нагрузки на каждой ступени должно быть не более 30 с. На каждой ступени осевое напряжение в образце должно быть постоянным (sz,i = const).

6.3.5.2 Нагрузку на образец грунта Fi, кН, на каждой ступени нагружения определяют по формуле

Fi = psz,idi2/4,                                                         (6.9)

где di - средний диаметр образца грунта в момент приложения очередной ступени нагружения, см.

6.3.5.3 Напряжение sz,i, МПа, на каждой ступени нагружения определяют по формуле

sz,i = Rосni/10,                                                          (6.10)

где Rос - условно-мгновенное значение предела прочности грунта на одноосное сжатие, определяемое по результатам испытания при непрерывном быстром возрастании нагрузки, МПа (6.3.7.2);

пi - порядковый номер ступени нагружения.

6.3.5.4 Значение sz,i, может быть определено по формуле

sz,i = Rni/5,                                                              (6.11)

где R - расчетное сопротивление грунта под подошвой фундамента, определяемое в соответствии с приложением Р.

6.3.5.5 Для обеспечения постоянства осевого напряжения в образце на каждой ступени нагружения дополнительно увеличивают нагрузку Fi на DFi,j при увеличении диаметра образца на 3 % (2 мм для образцов диаметром 71,4 мм) с момента начала испытания или предшествующего догружения.

Значение DFi,j, кН, определяют по формуле

                                      (6.12)

где di,j - диаметр образца в момент догружения, см;

di,j-1 - диаметр образца в момент приложения ступени нагружения или предшествующего догружения, см.

6.3.5.6 Продолжительность действия каждой ступени нагружения должна составлять 24 ч.

6.3.5.7 На каждой ступени нагружения записывают показания устройств для измерения деформаций через интервалы времени, принимаемые по 6.1.4.3, и строят график зависимости продольной деформации образца грунта от времени - кривую ползучести (приложение Ц).

6.3.5.8 Испытание продолжают до тех пор, пока процесс деформирования образца не перейдет в стадию незатухающей ползучести (стадия незатухающей ползучести считается достигнутой, когда деформации образца будут развиваться с постоянной или увеличивающейся скоростью) или относительная продольная деформация образца достигнет 0,20.

Скорость деформации считают постоянной, если в трех последовательных интервалах измерений деформация изменяется не более чем на 0,02 мм за 2 ч.

6.3.5.9 В процессе испытания ведут журнал, форма которого приведена в приложении А.

6.3.6 Проведение испытания на ползучесть для определения коэффициента вязкости сильнольдистых грунтов h

6.3.6.1 К образцу грунта прикладывают нагрузку в соответствии с требованиями 6.3.5.1.

6.3.6.2 Нагрузку на образец на каждой ступени нагружения определяют по 6.3.5.2 - 6.3.5.4.

6.3.6.3 Для обеспечения постоянства осевого напряжения выполняют требования 6.3.5.5.

6.3.6.4 Каждую ступень нагружения выдерживают до условной стабилизации продольной деформации образца грунта, принимаемой по 6.1.4.4, или до достижения стадии незатухающей ползучести.

6.3.6.5 На каждой ступени нагружения записывают показания приборов для измерения деформаций образца грунта через интервалы времени, принимаемые по 6.1.4.3.

6.3.6.6 В процессе испытания ведут журнал, форма которого приведена в приложении А.

6.3.6.7 В процессе испытания для каждой ступени нагружения выполняют следующие операции:

- строят кривую ползучести (приложение Ц);

- на кривой ползучести выделяют линейные участки, отражающие деформирование образца грунта с постоянной скоростью, если оно имело место при данном значении напряжения;

- для выделенных линейных участков определяют значение скорости деформирования образца Vi, мм/ч, по формуле

                                                                 (6.13)

где Dhi - разность продольных деформаций образца грунта в конце и начале периода деформирования грунта с постоянной скоростью на i-й ступени нагружения, мм;

Dti - продолжительность периода деформирования образца грунта с постоянной скоростью на i-й ступени нагружения, ч;

- по вычисленным значениям определяют значения скорости относительного деформирования образца грунта , 1/ч, на i-й ступени нагружения по формуле

                                                                   (6.14)

где h - начальная высота образца грунта, мм.

6.3.6.8 На основании полученных значений  строят реологическую кривую, отражающую зависимость  = fi) (приложение Ц).

Реологическую кривую на начальном участке аппроксимируют прямой наилучшего приближения к экспериментальным точкам графически или методом наименьших квадратов.

6.3.6.9 Испытание заканчивают, когда на начальном линейном участке реологической кривой получено не менее трех экспериментальных точек и столько же за его пределами после перехода рассматриваемой зависимости в нелинейную.

Если указанное условие не выполняется, то необходимо увеличить число ступеней нагружения.

6.3.7 Обработка результатов

6.3.7.1 Обработку результатов испытаний выполняют одновременно с проведением самих испытаний и переход к следующему этапу испытаний (ступени нагружения, догружения и т.д.) осуществляют после обработки результатов на предыдущем этапе.

6.3.7.2 По результатам испытания при непрерывном быстром возрастании нагрузки (6.3.4) определяют условно-мгновенное значение предела прочности на одноосное сжатие Rос, МПа, по формулам:

 - при хрупком разрушении образца;         (6.15)

 - при пластическом разрушении образца,       (6.16)

где А0 и Аm - соответственно начальная и конечная (после проведения испытания) площади поперечного сечения образца, см2;

F - разрушающая нагрузка, кН, определяемая по 6.3.4.2.

6.3.7.3 Предельно длительное значение предела прочности на одноосное сжатие грунта Rс, МПа, определяют по результатам испытания на ползучесть, проведенного в соответствии с 6.3.5, по формуле

Rс = 0,6sk-1,                                                             (6.17)

где sk-1 - напряжение в образце грунта на ступени нагружения, предшествующей k-й ступени, на которой процесс деформирования образца переходит в стадию незатухающей ползучести (6.3.5.8), МПа.

6.3.7.4 По результатам этого же испытания (6.3.5) определяют также характеристики деформируемости мерзлого грунта Е, А и v в соответствии с приложением Ш.

6.3.7.5 По результатам испытания, проведенного в соответствии с 6.3.6, определяют коэффициент вязкости сильнольдистых грунтов h, МПа × ч, с точностью 10 МПа × ч по формуле

                                                            (6.18)

где s1 - напряжение, соответствующее точке А пересечения линейного участка реологической кривой (6.3.6.8) с осью абсцисс, МПа;

s2 - напряжение, соответствующее конечной точке В линейного участка реологической кривой, МПа;

 - то же, что и в 6.3.6.7.

6.4 МЕТОД КОМПРЕССИОННОГО СЖАТИЯ

6.4.1 Сущность метода

6.4.1.1 Испытание мерзлого грунта методом компрессионного сжатия проводят для определения следующих характеристик деформируемости: коэффициента сжимаемости пластично-мерзлых грунтов тf, коэффициента оттаивания Аth и сжимаемости при оттаивании m для песков и глинистых грунтов (кроме песков гравелистых и крупных), а также заторфованных, засоленных и сыпучемерзлых разностей указанных грунтов.

6.4.1.2 Эти характеристики определяют по результатам испытаний образцов грунта в компрессионных приборах (одометрах), исключающих возможность бокового расширения образца грунта при его нагружении вертикальной нагрузкой в мерзлом или оттаянном состоянии.

Результаты испытаний оформляют в виде графиков зависимостей деформаций образца от нагрузки и их изменения во времени.

6.4.1.3 Нагрузку при испытаниях определяют из условия, что на первой ступени нагружения давление должно быть равно напряжению от собственного веса на глубине отбора образца, а на последней ступени - расчетному сопротивлению грунта под подошвой фундамента R, задаваемому в программе испытаний.

Примечание - При отсутствии данных значение R допускается принимать в соответствии с приложением Р.

6.4.1.4 Для испытаний используют образцы мерзлого грунта ненарушенного сложения с природной влажностью и льдистостью.

Толщина прослоек льда в образце должна быть не более 2 мм, а льдистость ii £ 0,4.

Образцы должны иметь форму цилиндра диаметром не менее 71 мм и отношение высоты к диаметру 1:3,5.

6.4.2 Оборудование и приборы

В состав установки для испытаний грунта методом компрессионного сжатия должны входить:

- компрессионный прибор (одометр);

- механизм для вертикального нагружения образца грунта;

- устройства для измерения вертикальных деформаций образца грунта.

6.4.3 Подготовка к испытанию

6.4.3.1 Образец грунта изготавливают с учетом требований 6.4.1.4.

6.4.3.2 Для испытываемых грунтов дополнительно к физическим характеристикам, указанным в 4.3, должны быть определены следующие характеристики: тип криогенной текстуры, влажность за счет ледяных включений и льдистость.

6.4.3.3 Образец грунта в рабочем кольце помещают в направляющий цилиндр одометра и производят следующие операции:

- на образец грунта ставят штамп и центрируют его;

- закрепляют устройства для измерения вертикальных деформаций образца грунта симметрично относительно оси штампа;

- одометр устанавливают на станину под пресс и центрируют;

- выдерживают образец при температуре испытания;

- записывают начальные показания приборов;

- фиксируют температуру и время начала испытания.

6.4.4 Проведение испытания

6.4.4.1 К образцу плавно, не допуская ударов, прикладывают нагрузку первой ступени нагружения, создавая давление, отвечающее требованиям 6.4.1.3.

6.4.4.2 После стабилизации деформации (в соответствии с 6.4.4.3) увеличивают нагрузку на образец ступенями нагружения в соответствии с 6.4.1.3. Число ступеней должно быть не менее пяти.

6.4.4.3 Каждую ступень нагружения следует прикладывать после условной стабилизации вертикальной деформации образца грунта на предшествующей ступени, принимаемой по 6.1.4.4.

6.4.4.4 При испытаниях для определения Аth и т после условной стабилизации деформации на первой ступени нагружения производят оттаивание образца грунта, повышая температуру воздуха в помещении для испытаний, и фиксируют при этом деформации образца грунта также до достижения условной стабилизации деформации. Далее продолжают испытание грунта в оттаявшем состоянии. Приращение давления при этом на последующих ступенях принимают 0,05 МПа для глинистых грунтов и 0,075 МПа - для песков.

6.4.4.5 На каждой ступени нагружения записывают показания приборов (устройств) для измерения вертикальной деформации образца грунта через интервалы времени, принимаемые по 6.1.4.3.

6.4.4.6 В процессе испытания ведут журнал, форма которого приведена в приложении А.

6.4.5 Обработка результатов

6.4.5.1 По результатам испытания для каждой ступени нагружения вычисляют:

- абсолютную стабилизированную вертикальную деформацию образца грунта Dhi, мм, как среднее арифметическое показание приборов (устройств для измерения вертикальной деформации образца грунта);

- относительную стабилизированную вертикальную деформацию образца грунта εf и εth по формулам:

- при испытании для определения тf - по формуле (5.10), в которую вместо значения ε подставляют значение εf;

- при испытании для определения Аth и m

                                                      (6.19)

где Dhi - абсолютная стабилизированная деформация образца грунта после оттаивания, мм;

Dhg - абсолютная стабилизированная деформация образца грунта на первой ступени нагружения (при давлении, равном напряжению от собственного веса грунта на глубине отбора образца, и до его оттаивания), мм;

h - высота образца грунта после обжатия (до его оттаивания), мм.

6.4.5.2 По вычисленным значениям строят графики зависимости εf = f(p) или εth = f(p) (приложение Щ), где р - давление в образце на каждой ступени нагружения, МПа.

6.4.5.3 Коэффициенты сжимаемости пластично-мерзлого грунта mf,i, МПа-1, определяют как величины, численно равные тангенсам углов наклона аi прямых, проведенных из начала координат через точки рi и εf,i с точностью 0,001 МПа-1 по формуле

                                                    (6.20)

Примечание - По значениям коэффициента сжимаемости mf,i, может быть вычислен модуль деформации Еi = b/mf,i, где b - коэффициент, равный 0,8.

6.4.5.4 Коэффициенты оттаивания Аth и сжимаемости при оттаивании т мерзлого грунта определяют по прямой наилучшего приближения к экспериментальным точкам (приложение Щ), построенной графически или методом наименьших квадратов, как отрезок, отсекаемый этой прямой на оси eth, и тангенс угла ее наклона к оси р.

ПРИЛОЖЕНИЕ А
(рекомендуемое)

ФОРМЫ ПЕРВОЙ И ПОСЛЕДУЮЩИХ СТРАНИЦ ЖУРНАЛОВ ЛАБОРАТОРНЫХ ИСПЫТАНИЙ ГРУНТОВ

Форма первой страницы журнала

Организация (лаборатория) ___________________________________________________

Журнал испытаний грунта
методом
___________________________

Объект (пункт) ______________________________________________________________

Сооружение ________________________________________________________________

Шурф (скважина) № _________________________________________________________

Глубина отбора образца, м ____________________________________________________

Лабораторный номер образца _________________________________________________

Наименование грунта ________________________________________________________

Сложение грунта ____________________________________________________________

Визуальное описание грунта в лаборатории _____________________________________

___________________________________________________________________________

Вид испытания _____________________________________________________________

Прибор (тип, номер) _________________________________________________________

Схема испытания ____________________________________________________________

Схема фильтрации __________________________________________________________

Сведения о замачивании _____________________________________________________

Жидкость для замачивания (фильтрации) _______________________________________

Дата испытаний: начало _____________________ окончание _______________________

Данные о рабочем кольце (образце):

Высота, мм _________________________________________________________________

Диаметр, мм ________________________________________________________________

Площадь, см2 _______________________________________________________________

Объем, см3 _________________________________________________________________

Масса, г ___________________________________________________________________

Масса с грунтом, г __________________________________________________________

Масса образца, ______________________________________________________________

Физические характеристики грунта

Характеристика

Значение

Примечание

до опыта

после опыта

 

 

 

 

Журнал
испытаний для определения сопротивления немерзлого грунта одноплоскостному срезу и сопротивления мерзлого грунта срезу по поверхности смерзания с материалом фундамента

Предварительное уплотнение

(немерзлых грунтов)

Номер образца __________________

Дата испытания

Масса груза на подвеске рычага, кг

Давление на образец р, МПа

Время снятия отсчета ti, ч

Показания индикатора вертикальных деформаций

Вертикальная деформация образца Dh, мм

Относительное сжатие (набухание) e

Примечание

 

 

 

 

 

 

 

 

Срез грунта

Номер образца _____________________________

Дата испытания

Температура испытания Т, °С

Время снятия отсчета ti, ч

Время от начала опыта t, ч

Давление на образец грунта р, МПа

Касательная нагрузка Q, кН

Касательное напряжение t, МПа

Показания индикатора деформаций среза

Абсолютная деформация среза l, мм

Абсолютная деформация среза с учетом поправки на трение в приборе l - D, мм

Приращение деформации среза Dl, мм

Скорость деформации среза V1, мм/сут

Температура контрольного образца То, °С

Примечание

 

 

 

 

 

 

 

 

 

 

 

 

 

 

Примечание - Температура испытаний и контрольного образца, а также скорость деформации среза указываются при испытании мерзлых грунтов.

Журнал
испытания грунта методом одноосного сжатия

Номер образца ________________________

Дата испытания

Разрушающая сила F, МПа

Относительная вертикальная деформация в момент разрушения e

Предел прочности образца грунта на одноосное сжатие R, МПа, в состоянии

Примечание

при природной влажности

в воздушно-сухом состоянии

в водонасыщенном состоянии

природной влажности

воздушно-сухом

водонасыщенном

отдельного образца

средний

отдельного образца

средний

отдельного образца

средний

 

 

 

 

 

 

 

 

 

 

 

 

Журнал
испытания грунта методом трехосного сжатия

Номер образца __________________

Дата испытания

Время снятия отсчета ti, ч

Время от начала опыта t, ч

Давление σ3 в камере, МПа

Вертикальная нагрузка

Давление в поровой жидкости

Вертикальные деформации

Объемные деформации

Вертикальное

Примечание

Нагрузка на рычаг F, кН, или показания динамометра

Площадь образца Ai, см2

Давление pi, МПа

Показания по прибору

и, МПа

Показания по прибору

Деформация с поправкой Dh, мм

Относительная деформация e1

Показания волюмометра, см

Объемная деформация с поправкой DV, см3

Относительная деформация ev

напряжения s1, МПа

 

 

 

 

 

 

 

 

 

 

 

 

 

 

 

 

 

Журнал
испытания грунта методом компрессионного сжатия

Номер образца __________________

Дата испытания

Температура испытания Т, °С

Время снятия отсчета ti, ч

Время от начала опыта t, ч

Номер ступени нагружения

Масса груза на подвеске рычага прибора, кг

Давление на образец грунта pi, МПа

Показание индикаторов деформаций

Абсолютная деформация образца Dhi, мм

Поправка на деформацию прибора D, мм

Абсолютная деформация с учетом поправки Dhi - D, мм

Относительная деформация образца e

Примечание

n1

n2

среднее

 

 

 

 

 

 

 

 

 

 

 

 

 

 

 

Обработка кривой консолидации методом «корень квадратный из времени»

Давление pi, МПа

Высота образца h, мм

Общая деформация Dh, мм

Деформация за ступень нагрузки D.hi, мм

Относительная деформация за ступень нагрузки εi

Время от начала приложения ступени нагрузки t, мин

Корень квадратный из времени , мин

Время, соответствующее 90 % фильтрационной консолидации, t90, мин

Коэффициент фильтрационной консолидации cv, см2/мин (см2/год)

 

 

 

 

 

 

 

 

 

Обработка кривой консолидации логарифмическим методом

Давление pi, МПа

Высота образца h, мм

Общая деформация Dh, мм

Деформация за ступень нагрузки Dhi, мм

Относительная деформация за ступень нагрузки ei

Время от начала приложения ступени нагрузки t, мин

Деформация, соответствующая 50 % первичного уплотнения, e50

Время, требуемое для 50 % первичного уплотнения, t50, мин

Коэффициент фильтрационной консолидации cv, см2/мин (см2/год)

Вторичная консолидация

деформация

время

коэффициент вторичной консолидации ca

et1

et2

lgt1

lgt2

 

 

 

 

 

 

 

 

 

 

 

 

 

 

Журнал
испытания засоленного грунта на суффозионное сжатие

Номер образца ______________________

Дата испытания

Температура испытания, Т, °С

Время снятия отсчета ti, ч

Время от начала опыта t, ч

Номер ступени нагружения

Масса груза на подвеске рычага прибора, кг

Давление на образец грунта pi, МПа

Показание индикаторов деформаций

Абсолютная деформация образца Dhi, мм

Поправка на деформацию прибора D, мм

Абсолютная деформация с учетом поправки Dhi - D, мм

Относительное сжатие (набухание) образца грунта e

Объем профильтровавшейся воды Vw, л

Плотный остаток фильтрата Х, г/л

Градиент напора I, МПа/см

Примечание

n1

n2

среднее

 

 

 

 

 

 

 

 

 

 

 

 

 

 

 

 

 

 

Обработка результатов испытания

Давление pi, МПа

Абсолютная деформация образца грунта Dh, мм

Относительная деформация e

Относительная просадочность esl

Относительное набухание esw

Относительное суффозионное сжатие esf

Начальное давление суффозионного сжатия рsf, МПа

Приращение относительной суффозионной осадки Desf

Степень выщелачивания солей, bt, д.е.

Примечание

в процессе опыта

приращение степени выщелачивания Dbt

откорректированное значение bс

 

 

 

 

 

 

 

 

 

 

 

 

Журнал
испытания мерзлого грунта шариковым штампом

Номер образца _________________

Дата испытания

Температура испытания, Т, °С

Время снятия отсчета ti, ч

Время от начала опыта t, ч

Отсчет по датчику деформаций

Глубина погружения шарикового штампа Sb, мм

Предельно длительное значение эквивалентного сцепления сeq, МПа

Примечание

 

 

 

 

 

 

 

 

Журнал
испытания мерзлого грунта методом одноосного сжатия

1 Испытание при непрерывном быстром возрастании нагрузки

Номер образца ____________________

Дата испытания

Температура испытания, Т, °С

Время снятия отсчета ti, ч

Время от начала опыта t, ч

Характер деформирования образца

Разрушающая нагрузка, F, кН

Значения диаметра образца после испытания d, мм

Средняя площадь сечения образца после испытания А, см2

Высота образца в момент разрушения h, мм

Условно-мгновенное сопротивление одноосному сжатию Rос, МПа

Примечание

1-е

2-е

3-е

среднее

 

 

 

 

 

 

 

 

 

 

 

 

 

 

2 Испытание на ползучесть

Номер образца

Дата испытания

Температура испытания, Т, °С

Время снятия отсчета ti, ч

Время от начала опыта t, ч

Номер ступени нагружения

Давление на образец pi, МПа

Отсчеты по приборам для измерения деформаций

продольных

поперечных

1

2

среднее значение

1

2

3

4

5

6

среднее значение

1

2

3

4

5

6

7

8

9

10

11

12

13

14

15

16

 

 

 

 

 

 

 

 

 

 

 

 

 

 

 

 

Продолжение

Продольная деформация h, мм

Поперечная деформация sx, мм

Относительная продольная деформация e

Относительная поперечная деформация eх

Средняя площадь поперечного сечения образца А, см2

Приращение площади поперечного сечения DА, см2

Время между отсчетами ti - ti-1, ч

Приращение продольной информации Dhi, мм

Скорость продольной деформации v, мм/ч

Скорость относительной продольной деформации , 1/ч

Примечание

17

18

19

20

21

22

23

24

25

26

27

 

 

 

 

 

 

 

 

 

 

 

ПРИЛОЖЕНИЕ Б
(рекомендуемое)

ОБРАЗЕЦ ГРАФИЧЕСКОГО ОФОРМЛЕНИЯ РЕЗУЛЬТАТОВ ИСПЫТАНИЯ ГРУНТА МЕТОДОМ ОДНОПЛОСКОСТНОГО СРЕЗА

График Dl = f(t)

Масштаб графика:

по горизонтали

10 мм - 1 мм для Dl;

по вертикали 20 мм - 0,1 МПа для t.

График t = f(s)

Масштаб графика:

по горизонтали

20 мм - 0,1 МПа для s;

по вертикали

20 мм - 0,1 МПа для t.

Рисунок Б.1

ПРИЛОЖЕНИЕ В
(рекомендуемое)

ОПРЕДЕЛЕНИЕ ПЛОЩАДИ ДЕФОРМИРОВАННЫХ ОБРАЗЦОВ ГЛИНИСТЫХ ГРУНТОВ

1 Если разрушению образца предшествуют значительные деформации, необходимо при расчете предела прочности на одноосное сжатие учитывать увеличение площади образца.

Площадь А определяют непосредственно измерением диаметра образца штангенциркулем с погрешностью 0,1 мм и последующим расчетом.

2 В предположении о постоянстве объема грунта при испытании  отношение  может быть определено по относительной вертикальной деформации e.

При сохранении цилиндрической формы (Ah = A0h0)

                                                              (В.1)

Если образец после сжатия приобретает форму бочки, причем диаметр торца бочки сохраняется равным начальному диаметру образца

                                           (В.2)

ПРИЛОЖЕНИЕ Г
(рекомендуемое)

ПРИНЦИПИАЛЬНАЯ СХЕМА УСТАНОВКИ ДЛЯ ИСПЫТАНИЯ ГРУНТА МЕТОДОМ ТРЕХОСНОГО СЖАТИЯ

1 - основание камеры; 2 - корпус камеры; 3 - вентиль для выпуска воздуха; 4 - шток; 5 - образец грунта в оболочке; 6 - верхний штамп; 7 - нижний штамп; 8 - трубки для дренирования и измерения давления в поровой жидкости; 9 - трубка для заполнения камеры и измерения давления в камере; 10 - манометр; 11 - индикатор; 12 - уплотнитель

Рисунок Г.1

ПРИЛОЖЕНИЕ Д
(рекомендуемое)

ТАРИРОВКА КАМЕРЫ ТРЕХОСНОГО СЖАТИЯ

1 Тарировка камеры на сжатие

Для тарировки между штампами, покрытыми влажными бумажными фильтрами, помещают металлический вкладыш размерами, равными размерам испытываемого образца грунта. Штамп нагружают ступенями вертикального давления 0,01; 0,025; 0,05; 0,10 МПа и далее по 0,10 МПа, выдерживая их по 5 мин до максимального давления, определяемого предельными нагрузками при испытаниях грунта. На каждой ступени давления записывают показания прибора для измерения вертикальной деформации грунта.

Тарировку производят при трехкратном нагружении и разгрузке, каждый раз с заменой фильтров на новые.

По средним из трех опытов данным составляют таблицу деформаций камеры при различных давлениях.

2 Тарировка камеры на расширение

Для тарировки на металлический вкладыш и штампы (пункт 1) надевают резиновую оболочку и закрепляют ее на боковых поверхностях штампов резиновыми или металлическими кольцами.

Камеру заполняют рабочей жидкостью и создают в ней всестороннее давление такими же ступенями, как и при тарировке на сжатие (пункт 1), выдерживая их по 30 мин. На каждой ступени давления записывают показания волюмометра.

По средним из трех опытов данным составляют таблицу объемных деформаций камеры при различных всесторонних давлениях.

3 Определение трения штока во втулке камеры

При наличии зазора между штоком и штампом в камере создают давление до момента, когда начнется движение стрелки прибора, измеряющего вертикальные деформации образца грунта. В этот момент записывают показания манометра и вычисляют усилие на 1 см2 площади поперечного сечения штока.

ПРИЛОЖЕНИЕ Е
(рекомендуемое)

РАСШИРИТЕЛЬ ДЛЯ ЗАКЛЮЧЕНИЯ ОБРАЗЦА ГРУНТА В РЕЗИНОВУЮ ОБОЛОЧКУ

1 - металлический цилиндр; 2 - резиновая оболочка; 3 - гибкая трубка к источнику разрежения; 4 - штампы; 5 - образец грунта

Рисунок Е.1

ПРИЛОЖЕНИЕ Ж
(рекомендуемое)

ОБРАЗЕЦ ГРАФИЧЕСКОГО ОФОРМЛЕНИЯ РЕЗУЛЬТАТОВ ИСПЫТАНИЯ ГРУНТА МЕТОДОМ ТРЕХОСНОГО СЖАТИЯ

1 При определении характеристик прочности

График e1 = f(s1 - s3)

Масштаб графика: по горизонтали 10 мм - 0,02 МПа для (s1 - s3);

по вертикали 10 мм - 0,01 для e1.

График sр1 = f(sр3).

Масштаб графика: по горизонтали 10 мм - 0,02 МПа для sр3

по вертикали 10 мм - 0,02 МПа для sр1.

2 При определении характеристик деформируемости

Графики e1 = f(s1) и ev = f(s1).

Масштаб графиков: по горизонтали 10 мм - 0,05 МПа для s1;

по вертикали 10 мм - 0,01 для e1, ev.

Рисунок Ж.1

ПРИЛОЖЕНИЕ И
(рекомендуемое)

ОПРЕДЕЛЕНИЕ МОДУЛЯ СДВИГА G И МОДУЛЯ ОБЪЕМНОЙ ДЕФОРМАЦИИ K

1 По результатам консолидированно-дренированного и консолидированно-недренированного (с измерением давления в поровой жидкости) испытаний образцов исследуемого грунта в условиях трехосного сжатия при различных значениях постоянного всестороннего давления в камере составляют графический «паспорт» зависимостей (см. рисунок И.1)

si = f(s¢), , ev = f(s¢), еi = f(si),

где  - интенсивность касательных напряжений;

 - интенсивность деформаций сдвига;

 - среднее эффективное напряжение;

ev = e1 + 2e3 - объемная деформация.

2 Частные значения модуля сдвига Gk и модуля объемной деформации Kk, соответствующие различным значениям ei вычисляют по формулам:

                                                               (И.1)

                                                               (И.2)

где si,k, s¢k, ev,k - по «паспорту испытаний».

3 Зависимость модуля сдвига G от еi и s¢ аппроксимируется выражением

                                                           (И.3)

где                                                                                                       (И.4)

здесь С1 и j1 - параметры графика  в случае линейной зависимости;

а и b - постоянные коэффициенты, определяемые методом наименьших квадратов из выражения

                                                     (И.5)

4 Зависимость модуля объемной деформации K от еi и s¢ аппроксимируется выражением

K = d + fs,                                                              (И.6)

где параметры d и f определяют по графику зависимости частных значений Kk от s' для различных значений еi.

Графический «паспорт» обработки результатов испытания грунта методом трехосного сжатия

Для консолидированно-дренированного испытания

1, 2, 3 ... - номера испытаний

Для консолидированно-недренированного испытания

1, 2, 3 ... - номера испытаний

Рисунок И.1

ПРИЛОЖЕНИЕ К
(рекомендуемое)

ПРИНЦИПИАЛЬНЫЕ СХЕМЫ КОМПРЕССИОННО-ФИЛЬТРАЦИОННЫХ ПРИБОРОВ

Для испытаний по схеме нисходящего потока воды

Для испытаний по схеме восходящего потока воды

1 - корпус; 2 - поддон корпуса: 3 - основание корпуса; 4 - рабочее кольцо; 5 - направляющее кольцо; 6 - перфорированный вкладыш; 7 - перфорированный штамп; 8 - крышка; 9 - втулка; 10 - шток; 11 - спускная пробка; 12 - штуцер; 13 - резиновая прокладка; 14 -заглушка; 15 - прижимное кольцо верхнее; 16 - прижимное кольцо нижнее; 17 - гайка; 18 - стойка; 19 - шланг; 20 - стеклянная трубка; 21 - индикатор; 22 - держатель индикатора; 23 - опорная пятка индикатора; 24 - шарик; 25 - образец испытываемого грунта

Рисунок К.1

ПРИЛОЖЕНИЕ Л
(рекомендуемое)

ОБРАЗЕЦ ГРАФИЧЕСКОГО ОФОРМЛЕНИЯ РЕЗУЛЬТАТОВ ИСПЫТАНИЯ ГРУНТА МЕТОДОМ КОМПРЕССИОННОГО СЖАТИЯ

Графики е = f(р)

Масштаб графиков: по горизонтали 10 мм - 0,025 МПа для р;

по вертикали 10 мм - 0,02 для e.

Относительное сжатие водонасыщенного грунта в зависимости от давления р

Относительное сжатие глинистого грунта при частичном разуплотнении в зависимости от давления р

А - точка графика, принимаемая по ординате равной e = Dhн/h; pstr - структурная прочность при испытании грунта в компрессионном приборе

Рисунок Л.1

ПРИЛОЖЕНИЕ М
(рекомендуемое)

ОПРЕДЕЛЕНИЕ ПАРАМЕТРОВ КОМПРЕССИОННОЙ КРИВОЙ

Для определения параметров компрессионной кривой, представленной экспоненциальной зависимостью, ее логарифмируют:

lg(ei - ek) = lgb - aнpilge,                                           (M.1)

где lgе = 0,43429.

Для определения еk берут две произвольные точки на компрессионной кривой е1, p1 и е2 и р2.

Затем выбирают третью точку р3 = 0,5(р1 + р2) и для нее находят по кривой е3.

Из трех прологарифмированных уравнений:

                                          (М.2)

                                         (М.3)

                                           (М.4)

находят значение еk

                                                   (М.5)

Для определения параметров а и b разбивают всю совокупность точек компрессионной кривой на две группы. Суммируют каждую группу и составляют два уравнения для первой и второй групп точек:

                                  (М.6)

где п - число членов в каждой группе.

Из двух уравнений находят неизвестные параметры ан и b.

ПРИЛОЖЕНИЕ Н
(рекомендуемое)

ОПРЕДЕЛЕНИЕ КОЭФФИЦИЕНТОВ ФИЛЬТРАЦИОННОЙ И ВТОРИЧНОЙ КОНСОЛИДАЦИИ

1 Для определения коэффициента фильтрационной консолидации сv кривую консолидации (2 настоящего приложения) следует обработать методом «квадратного корня из времени», а при одновременном определении коэффициентов фильтрационной сv и вторичной сa (за счет ползучести грунта) консолидации - логарифмическим методом.

На кривой консолидации выделяют участки фильтрационной и вторичной консолидации, а для насыпных грунтов с заданными значениями влажности и плотности - еще участок дофильтрационной консолидации.

2 Для определения коэффициента фильтрационной консолидации сv, методом «квадратного корня из времени» по результатам испытаний грунта под постоянным давлением на основании записей в журнале испытаний грунта (приложение А) строят кривую консолидации в координатах: относительная деформация за ступень давления (ордината) - корень квадратный из времени в минутах (абсцисса) (рисунок Н.1).

К начальному участку кривой проводят касательную аb и из точки пересечения касательной с осью ординат проводят вторую прямую ас, абсциссы которой равны 1,15 соответствующих абсцисс прямой аb.

По пересечению прямой ас с экспериментальной кривой определяют время t90, соответствующее степени консолидации 0,90.

3 Коэффициент фильтрационной консолидации сv, см2/мин (см2/год), вычисляют по формуле

                                                              (H.1)

где Т90 - коэффициент (фактор времени), соответствующий степени консолидации 0,90, равный 0,848;

h - высота образца (средняя между начальной высотой и высотой после завершения опыта на консолидацию), см. При двухсторонней фильтрации принимается высота, равная h/2;

t90 - время, мин.

4 Для определения cv и ca логарифмическим методом строят кривую консолидации в координатах: относительная деформация e (ордината) - логарифм времени lgt (абсцисса) (рисунок Н.2).

5 По кривой следует найти деформацию, соответствующую 100 %-ному первичному сжатию при заданной нагрузке. Для этого проводят касательную к конечному участку кривой e = f(lgt).

Затем проводят касательную к самой крутой части кривой. Точка пересечения этих касательных соответствует 100 %-ному первичному сжатию грунта.

Сжатие, следующее за 100 %-ным первичным сжатием, определяется как вторичное сжатие за счет деформаций ползучести.

6 На кривой e = f(lgt) следует найти значение относительной деформации, соответствующее нулевому первичному сжатию.

Для этого в начальной части кривой выбирают точки с абсциссами 0,1 и 0,4. Разность ординат данных точек, отложенная выше начальной точки графика, определит приведенный нуль d0.

7 Для определения коэффициента фильтрационной консолидации логарифмическим методом для заданного давления определяют время, требуемое для 50 %-ного первичного сжатия. Для этого вычисляют деформацию, соответствующую 50 %-ному первичному сжатию, равную среднему арифметическому между деформациями, соответствующими нулевому (d0) и 100 %-ному сжатию (e100).

Время, требующееся для 50 %-ного первичного сжатия заданным давлением, находят графически по зависимости e = f(lgt).

Коэффициент фильтрационной консолидации cv, см2/мин (см2/год), вычисляют по формуле

                                                              (Н.2)

где Т50 - коэффициент (фактор времени), соответствующий степени консолидации 0,5, равный 0,197;

h - то же, что и в (H.1);

t50 - время, соответствующее 50 %-ному первичному сжатию, мин.

8 Коэффициент вторичной консолидации (безразмерная величина) сa определяют по тангенсу угла между прямой, параллельной оси абсцисс, и прямолинейным отрезком кривой на участке вторичной консолидации (рисунок Н.3) по формуле

                                        (Н.3)

где e(t2) и e(t1) - значения деформации образца на участке вторичной консолидации;

t1 и t2 - время, соответствующее деформациям e(t1) и e(t2), мин.

9 Для насыпных грунтов с заданными значениями влажности и плотности кривая консолидации в зависимости от свойств грунтов может иметь три участка (кривая а) или два (кривая б): дофильтрационной консолидации, фильтрационной консолидации и консолидации ползучести (рисунок Н.4).

Коэффициент дофильтрационной консолидации с¢a вычисляют по тангенсу угла наклона касательной к первому участку кривой e = f(lgt), окончание которого определяется пересечением касательных к первому и второму участкам кривой по формуле

                                        (Н.4)

Коэффициент фильтрационной консолидации вычисляют по формуле (Н.2), где      (Н.5)

Коэффициент вторичной консолидации вычисляют по формулам:

- для кривой а                                                                  (Н.6)

- для кривой б                                                                  (Н.7)

ГРАФИКИ КРИВЫХ КОНСОЛИДАЦИИ ГРУНТА

График обработки кривой консолидации методом «корень квадратный из времени»

Масштаб графика: по горизонтали 10 мм - 1 мин для времени;

по вертикали 10 мм - 0,01 для e.

t90 - время, соответствующее степени консолидации грунта 0,90

Рисунок Н.1

График обработки кривой консолидации логарифмическим методом

Масштаб графика: по горизонтали - время откладывается на логарифмической шкале;

по вертикали 10 мм - 0,01 для e.

d0 - приведенный нуль

Рисунок Н.2

График зависимости относительной деформации от логарифма времени (lgt) для определения вторичной консолидации

Масштаб графика: по горизонтали - время откладывается на логарифмической шкале;

по вертикали 20 мм - 0,01 для e.

Рисунок Н.3

График зависимости относительной деформации от логарифма времени (lgt) для определения параметров консолидации для насыпных грунтов с заданными значениями влажности и плотности

Рисунок. Н.4

ПРИЛОЖЕНИЕ П
(рекомендуемое)

ОБРАЗЕЦ ГРАФИЧЕСКОГО ОФОРМЛЕНИЯ РЕЗУЛЬТАТОВ ИСПЫТАНИЯ ЗАСОЛЕННОГО ГРУНТА ПРИ СЖАТИИ В КОМПРЕССИОННО-ФИЛЬТРАЦИОННОМ ПРИБОРЕ

Масштаб графиков: по горизонтали    20 мм - 0,025 МПа для р,

                                                                10 мм - 0,1 для bt;

                                                                по вертикали 10 мм - 0,01 для e.

График e = f(p) (по схеме «одной кривой»)

График e = f(p) (по схеме «трех кривых»)

1, 2, 3 - относительное сжатие e грунта соответственно: природной влажности, в водонасыщенном состоянии и выщелоченного без нагрузки в зависимости от давления; 4 - относительное сжатие грунта в результате замачивания (относительная просадочность) при заданном давлении р; 5 - относительное суффозионное сжатие грунта при фильтрации воды и заданном давлении р, 6 - деформация грунта при набухании esv; 7 - зависимость относительного суффозионного сжатия esf от давления (рsf - начальное давление суффозионного сжатия)

График esf = f(bt)

1 - зависимость относительного суффозионного сжатия от степени выщелачивания солей, получаемая в процессе проведения испытания при D > D0; 2 - то же при D < D0; 3 - откорректированная зависимость

Рисунок П.1

ПРИЛОЖЕНИЕ Р
(рекомендуемое)

РАСЧЕТНЫЕ СОПРОТИВЛЕНИЯ МЕРЗЛОГО ГРУНТА R ПОД ПОДОШВОЙ ФУНДАМЕНТА

В мегапаскалях

Грунты

R при температуре испытаний Т, °С

-0,3

-0,5

-1

-1,5

-1

-2,5

-3

-3,5

-4

-6

-8

-10

При льдистости грунтов ii < 0,2

 

 

 

 

 

 

 

 

 

 

 

 

1 Пески средней крупности

0,55

0,95

1,25

1,45

1,6

1,8

1,95

2,0

2,2

2,6

2,95

3,3

2 Пески мелкие и пылеватые

0,45

0,7

0,9

1,1

1,3

1,4

1,6

1,7

1,8

2,2

2,55

2,86

3 Супеси

0,3

0,5

0,7

0,8

1,05

1,15

1,30

1,40

1,5

1,9

2,25

2,5

4 Суглинки и глины

0,25

0,45

0,55

0,65

0,8

0,9

1,0

1,1

1,2

1,55

1,9

2,2

При льдистости грунтов ii ³ 0,2

 

 

 

 

 

 

 

 

 

 

 

 

Все виды грунтов, указанные в пп. 1 - 4

0,2

0,3

0,4

0,5

0,6

0,7

0,75

0,85

0,95

1,25

1,55

1,75

ПРИЛОЖЕНИЕ С
(рекомендуемое)

ПРИНЦИПИАЛЬНАЯ СХЕМА УСТАНОВКИ ДЛЯ ИСПЫТАНИЯ МЕРЗЛОГО ГРУНТА ШАРИКОВЫМ ШТАМПОМ

1 - шариковый штамп; 2 - подвижной стержень с держателем шарика; 3 - ручка стопорного винта; 4 - стойки; 5 - рычажный пресс (с соотношением плеч рычага 5:1); 6 - опорная плита; 7 - подвижной столик; 8 - уравнительные винты; 9 - контргруз; 10 - гири; 11 - индикатор деформаций; 12 - образец грунта

Рисунок C.1

ПРИНЦИПИАЛЬНАЯ СХЕМА УСТАНОВКИ ДЛЯ ИСПЫТАНИЯ МЁРЗЛОГО ГРУНТА МЕТОДОМ ОДНОПЛОСКОСТНОГО СРЕЗА ПО ПОВЕРХНОСТИ СМЕРЗАНИЯ

1 - мерзлый грунт; 2 - материал; 3 - рабочее кольцо; 4 - срезная каретка; 5 - корпус прибора; 6 - боковой штамп, 7 - опорная плита; 8 - динамометр

Рисунок Т.1 - Схема одноплоскостного срезного прибора типа ПРС для определения сопротивления мерзлого грунта срезу по поверхности смерзания

Схема испытания по поверхности смерзания мерзлого грунта, грунтового раствора и льда по материалу

Схема испытания по поверхности смерзания мерзлого грунта по грунту, грунтовому раствору и льду

 

1 - подвижная часть прибора (срезная каретка); 2 - неподвижная часть прибора (корпус); 3 - образец; Q - касательная нагрузка; F - нормальная нагрузка

Рисунок T.2 - Схемы испытаний на одноплоскостном срезном приборе типа ПРС для определения сопротивления мерзлого грунта срезу по поверхности смерзания

ПРИЛОЖЕНИЕ У
(рекомендуемое)

РЕКОМЕНДАЦИИ ПО ИЗГОТОВЛЕНИЮ ОБРАЗЦОВ МАТЕРИАЛА И ГРУНТА ДЛЯ ИСПЫТАНИЯ МЕТОДОМ ОДНОПЛОСКОСТНОГО СРЕЗА ПО ПОВЕРХНОСТИ СМЕРЗАНИЯ

1 Изготовление образцов материала фундамента или других твердых материалов (скальных и полускальных горных пород, строительных материалов и др.) следует производить таким образом, чтобы их шероховатость по поверхности смерзания соответствовала требованиям задания. При отсутствии задания шероховатость поверхности образца материала должна соответствовать шероховатости материала в естественных условиях.

Изготовление образцов материала фундамента с такой же шероховатостью поверхности, как у фундамента (не подвергнутой специальной обработке), должно производиться с учетом следующих требований:

- деревянные образцы должны быть изготовлены из необработанной древесины и их поверхность должна быть остругана; при замораживании образцов древесина должна быть в водонасыщенном состоянии;

- стальные образцы должны иметь «горячекатаную» или «холоднокатаную» поверхность в зависимости от вида проката, используемого для изготовления образцов на токарных, фрезерных или строгальных станках без шлифования их поверхности, если образцы применяют взамен горячекатаной стали, и со шлифованием - взамен холоднокатаной;

- бетонные образцы должны быть изготовлены с виброуплотнением в гладкой металлической опалубке, поверхность которой перед бетонированием покрывают известковым или глинистым раствором; на поверхности образцов, смерзающихся с грунтом, не должно быть раковин и зажелезненных участков.

При изготовлении образцов материала фундамента, поверхности которого подвергают специальной обработке каким-либо способом, поверхность образцов следует обрабатывать таким же способом.

Применение других способов обработки поверхностей образцов для придания им такой же шероховатости, как у боковой поверхности фундамента, допускается при условии инструментальной оценки класса шероховатости в соответствии с ГОСТ 2789. Шероховатость допускается оценивать путем сравнения с эталонной поверхностью, изготовленной в соответствии с требованиями ГОСТ 9378.

2 Образец вида «грунт (грунтовый раствор) - материал» готовят в следующей последовательности: в опорное кольцо формы первого типа помещают материал, затем на него устанавливают рабочее кольцо срезного прибора, на которое помещают зашитое кольцо формы. Рабочее кольцо заполняют заранее подготовленным грунтом или грунтовым раствором заданного состава и влажности. При заполнении рабочего кольца грунтом нарушенного сложения добиваются требуемой плотности грунта. Крышку формы устанавливают в ее положение в зависимости от заданных условий промораживания, а именно: при промораживании через грунт - снизу; при промораживании через материал - сверху. При отсутствии данных образец промораживают через материал.

Форму с образцом устанавливают для промораживания в помещение или холодильный шкаф с заданной отрицательной температурой воздуха.

3 Образец вида «лед - материал» подготавливают в следующей последовательности: образец материала помещают в опорное кольцо формы первого типа, на него устанавливают рабочее кольцо срезного прибора, на которое помещают защитное кольцо формы и снизу устанавливают крышку формы. Форму переносят в помещение с заданной отрицательной температурой, где после ее охлаждения производят намораживание льда на материал.

Лед намораживают слоями толщиной до 5 мм, причем каждый новый слой намораживается после полного замерзания предыдущего.

Для намораживания применяют воду, охлажденную до температуры замерзания.

Если заданием требуется испытать лед природного сложения или лед, образованный в условиях, моделирующих природные, то образец льда вырезают из монолита по форме рабочего кольца срезного прибора, закладывают его в рабочее кольцо и смораживают с материалом через слой охлажденной до температуры замерзания воды толщиной до 3 мм, налитой на охлажденную контактную поверхность.

4 Образец вида «грунт - грунтовый раствор (грунт)» подготавливают в следующей последовательности:

- для грунта ненарушенного сложения - вырезают из монолита грунта образец по форме рабочего кольца срезного прибора и помещают его в рабочее кольцо;

- для грунта нарушенного сложения - рабочее кольцо прибора заполняют заранее подготовленным грунтом заданного состава и влажности, добиваясь требуемой плотности грунта, после чего грунт замораживают. Условия охлаждения образца при замораживании определяются заданием. При отсутствии данных образец грунта промораживают в условиях всестороннего охлаждения;

- мерзлый грунт в рабочем кольце срезного прибора устанавливают в опорное кольцо формы второго типа. На это рабочее кольцо устанавливают второе такое же рабочее кольцо и на него помещают защитное кольцо формы второго типа. Верхнее рабочее кольцо заполняют предварительно охлажденным до температуры замерзания грунтовым раствором или грунтом заданного состава и влажности и производят смораживание образца через верхний или нижний торец.

5 Образец вида «грунт - лед» подготавливают в следующей последовательности: сборку формы второго типа, подготовку и промораживание образца грунта производят в соответствии с 6.2.3.3. Лед намораживают на мерзлый грунт во втором кольце срезного прибора слоями толщиной до 5 мм или примораживают образец природного льда через слой охлажденной до температуры замерзания воды толщиной до 3 мм. Все операции выполняют в помещении с отрицательной температурой.

6 Во время промораживания измеряют температуру контрольного образца грунта, в который помещают термодатчик термоизмерительного устройства.

Промораживание заканчивают, когда температура контрольного образца достигнет значения температуры воздуха в помещении. После этого образец извлекают из формы, герметизируют и сохраняют до испытаний.

Форма типа I для приготовления образцов вида «грунт (грунтовый раствор, лед) - материал»

Форма типа II для приготовления образцов вида «грунт - грунтовый раствор (лед, грунт)»

1 - рабочее кольцо срезного прибора; 2 - материал; 3 - грунт (лед, грунтовый раствор); 3-а - грунт; 4 - опорное кольцо; 5 - крышка формы; 6 - защитное кольцо формы

Рисунок У.1 - Схемы форм для приготовления образцов

ПРИЛОЖЕНИЕ Ф
(рекомендуемое)

ОБРАЗЕЦ ГРАФИЧЕСКОГО ОФОРМЛЕНИЯ РЕЗУЛЬТАТОВ ИСПЫТАНИЯ ГРУНТА МЕТОДОМ ОДНОПЛОСКОСТНОГО СРЕЗА ПО ПОВЕРХНОСТИ СМЕРЗАНИЯ

Рисунок Ф.1

ПРИЛОЖЕНИЕ Х
(рекомендуемое)

ПРИНЦИПИАЛЬНАЯ СХЕМА УСТАНОВКИ ДЛЯ ИСПЫТАНИЯ МЕРЗЛОГО ГРУНТА МЕТОДОМ ОДНООСНОГО СЖАТИЯ

1 - образец грунта, 2 - неподвижная платформа; 3 - подвижная платформа; 4 - шток, 5 - направляющее устройство; 6 - верхний штамп, 7 - нижний штамп; 8 - паровлагонепроницаемая оболочка; 9 - резиновое прижимное кольцо; 10 - динамометр; 11 - измеритель продольных деформаций; 12 - измеритель поперечных деформаций; 13 - продольная тяга

Рисунок X.1

ПРИЛОЖЕНИЕ Ц
(рекомендуемое)

ОБРАЗЕЦ ГРАФИЧЕСКОГО ОФОРМЛЕНИЯ РЕЗУЛЬТАТОВ ИСПЫТАНИЯ МЕРЗЛОГО ГРУНТА МЕТОДОМ ОДНООСНОГО СЖАТИЯ

Рисунок Ц.1

Рисунок Ц.2

ПРИЛОЖЕНИЕ Ш
(рекомендуемое)

ОПРЕДЕЛЕНИЕ ХАРАКТЕРИСТИК ДЕФОРМИРУЕМОСТИ МЕРЗЛОГО ГРУНТА ПО РЕЗУЛЬТАТАМ ИСПЫТАНИЯ МЕТОДОМ ОДНООСНОГО СЖАТИЯ

1 Модуль линейной деформации Е и коэффициент нелинейной деформации А определяют по зависимости, устанавливающей связь между относительными продольными деформациями e, напряжениями s и временем действия нагрузки t

e(s,t) = f(s)tα,                                                         (Ш.1)

где f(s) - функция напряжений s для времени t их действия, равного 1 ч, которую принимают в виде:

f(s) = s/Е0 - для модели линейно деформируемого основания;

f(s) = (s/А0)1/m - для модели нелинейно деформируемого основания,

где Е0 и А0 - параметры функции f(s);

т - коэффициент нелинейности по напряжениям.

2 Предельно длительные значения Е и А вычисляют по формулам:

Е = Е0tαu;                                                                 (Ш.2)

А = А0tαu,                                                                 (Ш.3)

где tu - время, равное сроку службы здания или сооружения и принимаемое tи = 50 лет = 4,38 × 105 ч;

α - коэффициент нелинейности во времени.

3 Для установления зависимости (Ш.1) исходные данные испытаний (6.3.5) обрабатывают в соответствии с теорией наследственной ползучести. Используя кривую ползучести (6.3.5.7), последовательно вычисляют ряд значений ei,j, имеющих смысл деформаций, которые развились бы под действием постоянного напряжения (i = l, 2,...), соответствующего напряжению i-й ступени нагружения, за время tj. Вычисления проводят по формуле

ei,j = ei-1,j + Dei,j.                                                      (Ш.4)

где ei-1,j - полная относительная продольная деформация предшествующей ступени нагружения в момент времени tj, вычисленная по этой формуле ранее при e0,j = 0;

Dei,j - приращение относительной деформации, определяемое по кривой ползучести (6.3.5.7) и представляющее собой разность между деформацией, накопленной к моменту, когда i-я ступень нагрузки действовала в течение времени tj, и деформацией, накопленной к началу действия i-й ступени нагрузки.

Моменты времени tj назначают одинаковыми для каждой ступени нагружения с учетом указаний 6.1.4.3.

Результаты представляют в виде семейства кривых ползучести при постоянных напряжениях s (рисунок Ш.1).

4 Для определения параметра a и набора значений f(si) полученные значения ei,j представляют в виде семейства параллельных прямых в координатах х = lnt, у = lns1 (рисунок Ш.2). Далее a и f(si) вычисляют по формулам:

a = b;                                                                      (Ш.5)

f(si) = eaj,                                                                (Ш.6)

где аj и b - параметры, определяемые графически или способом наименьших квадратов (пункт 8).

5 Для модели линейно деформируемого основания набор значений f(si) аппроксимируют прямой в координатах х = si; у = f(si) (рисунок Ш.3) и вычисляют значение Е0 по формуле

Е0 = 1/с,                                                                   (Ш.7)

где с - параметр, определяемый графически или способом наименьших квадратов (пункт 9).

6 Для модели нелинейно деформируемого основания набор значений f(si) аппроксимируют прямой в координатах х = lnsi; у = lnf(si) (рисунок Ш.4) и вычисляют значения А0 и т по формулам:

А0 = еа;                                                                    (Ш.8)

т = 1/b,                                                                   (Ш.9)

где а и b - параметры, определяемые графически или способом наименьших квадратов (пункт 10).

7 Коэффициент поперечного расширения v определяют из зависимости, устанавливающей связь между относительными продольными e и поперечными eх деформациями

eх = ve.                                                                    (Ш.10)

Для определения v экспериментальные данные (относительные продольные и поперечные деформации) в конце каждой ступени нагружения, определяемые по пункту 3, представляют в координатах х = e; у = eх (рисунок Ш.3). Далее значения v вычисляют по формуле

v = l/c,                                                                      (Ш.11)

где с - параметр, определяемый графически или способом наименьших квадратов (пункт 9).

8 Параметры aj и b уравнения семейства параллельных прямых у = aj + bх определяют графически (рисунок Ш.2), при этом:

Рисунок Ш.1

Рисунок Ш.2

Рисунок Ш.3

Рисунок Ш.4

aj - в масштабе чертежа равен отрезку, отсекаемому на оси ординат (у) j-й из семейства параллельных прямых наилучшего приближения к экспериментальным точкам;

b - в масштабе чертежа равен тангенсу угла наклона семейства параллельных прямых к оси абсцисс (х).

Способом наименьших квадратов параметры aj и b определяют по формулам:

                                                         (Ш.12)

                                  (Ш.13)

где       и                                                                              (Ш.14)

- средние значения координат экспериментальных точек соответственно xj,i и yj,i;

nj - число точек в j-й выборке;

k - число j-х выборок.

9 Параметр с уравнения прямой, проходящей через начало координат у = сх, определяют графически (рисунок Ш.3), при этом с в масштабе чертежа равен тангенсу угла наклона к оси абсцисс (х) прямой наилучшего приближения к экспериментальным точкам, проходящей через начало координат.

Способом наименьших квадратов параметр с определяют по формуле

                                                             (Ш.15)

где хi и уi - координаты экспериментальных точек;

n - число точек.

10 Параметры а и b уравнения прямой у = а + bx определяют графически (рисунок Ш.4), при этом:

а - в масштабе чертежа равен отрезку, отсекаемому на оси ординат (у) прямой наилучшего приближения к экспериментальным точкам;

b - в масштабе чертежа ранен тангенсу угла наклона прямой к оси абсцисс (х).

Способом наименьших квадратов параметры а и b определяют по формулам:

                                   (Ш.16)

                                       (Ш.17)

где хi, yi и п - то же, что и в пункте 9.

11 Исходные данные и результаты расчета записывают в таблицу . Ш.1

Таблица Ш.1.

ПРИЛОЖЕНИЕ Щ
(рекомендуемое)

ОБРАЗЕЦ ГРАФИЧЕСКОГО ОФОРМЛЕНИЯ РЕЗУЛЬТАТОВ ИСПЫТАНИЯ МЕРЗЛОГО ГРУНТА МЕТОДОМ КОМПРЕССИОННОГО СЖАТИЯ

Рисунок Щ.1

Рисунок Щ.2

Ключевые слова: грунты, прочность, деформируемость, методы лабораторного определения, строительство

СОДЕРЖАНИЕ

1 Область применения. 2

2 Нормативные ссылки. 2

3 Определения. 2

4 Общие положения. 2

5 Методы определения характеристик прочности и деформируемости немерзлых грунтов. 3

6 Методы определения характеристик прочности и деформируемости мерзлых грунтов. 25

Приложение А Формы первой и последующих страниц журналов лабораторных испытаний грунтов. 28

Приложение Б Образец графического оформления результатов испытания грунта методом одноплоскостного среза. 28

Приложение В Определение площади деформированных образцов глинистых грунтов. 28

Приложение г Принципиальная схема установки для испытания грунта методом трехосного сжатия. 28

Приложение д Тарировка камеры трехосного сжатия. 28

Приложение Е Расширитель для заключения образца грунта в резиновую оболочку. 28

Приложение ж Образец графического оформления результатов испытания грунта методом трехосного сжатия. 28

Приложение и Определение модуля сдвига g и модуля объемной деформации k. 28

Приложение к Принципиальные схемы компрессионно-фильтрационных приборов. 28

Приложение л Образец графического оформления результатов испытания грунта методом компрессионного сжатия. 28

Приложение м Определение параметров компрессионной кривой. 28

Приложение н Определение коэффициентов фильтрационной и вторичной консолидации. 28

Приложение П Образец графического оформления результатов испытания засоленного грунта при сжатии в компрессионно-фильтрационном приборе. 28

Приложение р Расчетные сопротивления мерзлого грунта r под подошвой фундамента. 28

Приложение с Принципиальная схема установки для испытания мерзлого грунта шариковым штампом. Принципиальная схема установки для испытания мёрзлого грунта методом одноплоскостного среза по поверхности смерзания. 28

Приложение у Рекомендации по изготовлению образцов материала и грунта для испытания методом одноплоскостного среза по поверхности смерзания. 28

Приложение ф Образец графического оформления результатов испытания грунта методом одноплоскостного среза по поверхности смерзания. 28

Приложение х Принципиальная схема установки для испытания мерзлого грунта методом одноосного сжатия. 28

Приложение Ц Образец графического оформления результатов испытания мерзлого грунта методом одноосного сжатия. 28

Приложение ш Определение характеристик деформируемости мерзлого грунта по результатам испытания методом одноосного сжатия. 28

Приложение щ Образец графического оформления результатов испытания мерзлого грунта методом компрессионного сжатия. 28