Информационная система
«Ёшкин Кот»

XXXecatmenu

МЕТОДИЧЕСКАЯ ДОКУМЕНТАЦИЯ В СТРОИТЕЛЬСТВЕ

Общество с ограниченной ответственностью
«ТЕКТОПЛАН»

МЕТОДИКА ГЕОДЕЗИЧЕСКОГО МОНИТОРИНГА
ТЕХНИЧЕСКОГО СОСТОЯНИЯ
ВЫСОТНЫХ И УНИКАЛЬНЫХ ЗДАНИЙ
И СООРУЖЕНИЙ

МДС 13-22.2009

Москва 2010

Методика служит пособием специалистам при подготовке проектной документации по строительству, реконструкции, ремонту и безопасной эксплуатации высотных зданий и других уникальных сооружений. Методика может быть использована в проектных и учебных организациях, а также при обучении слушателей, проходящих повышение квалификации послевузовского образования.

Методика разработана ООО «Тектоплан» по заданию Управления научно-технической политики в строительной отрасли Департамента градостроительной политики, развития и реконструкции города Москвы.

В разработке документа принимали участие следующие специалисты:

ООО «Тектоплан»: канд. техн. наук В.Д. Фельдман, инж. Л.М. Мережко; ОАО «ГСПИ»: д-р техн. наук Г.Е. Рязанцев, кандидаты техн. наук В.А. Горелов, А.А. Жидков, С.П. Буюкян, И.А. Назаров, Е.Д. Лавриненко; ФГУП «ЦНИИСК им. В.А. Кучеренко» - д-р техн. наук П.Г. Еремеев; МГУГиК (МИИГАиК) - проф., канд. техн. наук Д.Ш. Михелев; ООО «Простор» - канд. техн. наук В.В. Нефедов.

МДС 13-22.2009 распространяется как нормативный документ и рекомендуется к утверждению в качестве стандарта саморегулируемых организаций (СРО).

СОДЕРЖАНИЕ

Предисловие. 3

1. Организация и технология геодезического мониторинга. 4

1.1. Общие требования организации и проведения геодезического мониторинга. 4

1.2. Исходная высотная и плановая основа геодезического мониторинга. 8

1.3. Общие требования к расположению высотных и плановых деформационных марок. 9

2. Особенности геодезического мониторинга высотных зданий и сооружений. 9

3. Особенности геодезического мониторинга большепролетных зданий и сооружений. 12

4. Методы и способы измерений высотных и плановых деформаций в процессе геодезического мониторинга. 16

4.1. Методы измерения высотных смещений. 16

4.2. Способы измерения плановых смещений. 21

5. Математическая обработка результатов геодезического мониторинга. 30

5.1. Математическая обработка высотных измерений. 30

5.2. Математическая обработка плановых измерений. 32

5.3. Корреляционный анализ величин деформаций. 33

5.4. Анализ и оформление материалов мониторинга. 34

5.5. Программное обеспечение математической обработки. 35

6. Автоматизированные методы геодезического мониторинга высотных и большепролетных зданий и сооружений в процессе эксплуатации. 36

6.1. Порядок проектирования, разработки и создания автоматизированных систем контроля (АСК) деформаций в процессе эксплуатации. 37

6.2. Автоматизированные системы геодезического мониторинга высотных зданий и сооружений. 38

6.3. Автоматизированная система контроля деформаций большепролетных сооружений на основе моторизованных электронных тахеометров. 48

7. Метрологическое обеспечение. 52

8. Техника безопасности. 52

8.1. Общие требования безопасности. 52

8.2. Требования безопасности перед началом работ. 53

8.3. Требования безопасности во время выполнения геодезического мониторинга. 53

Приложение 1. Форма технического задания на проведение геодезического мониторинга. 54

Приложение 2. Пример технического задания на проведение геодезического мониторинга большепролетного спортивного сооружения в период эксплуатации. 55

Приложение 3. Конструкции осадочных деформационных марок и способы их установки. 57

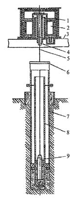
Приложение 4. Глубинные реперы. Конструкция и требования к глубине закладки. 61

Приложение 5. Пример определения наиболее устойчивого репера. 64

Приложение 6. Примеры уникальных большепролетных сооружений, построенных в москве. 64

Приложение 7. Пример расположения деформационных марок большепролетного спортивного сооружения (план) 65

Приложение 8. Примеры расположения деформационных марок. 65

Приложение 9. Определение угла i 67

Приложение 10. Образец записи в журнале высокоточного нивелирования. 68

Приложение 11. Алгоритм вычисления кренов с использованием вероятнейшей плоскости. 68

Приложение 12. Таблица абсолютных и текущих осадок деформационных марок высотного здания. 72

Приложение 13. Схема расположения деформационных марок на фундаментной плите высотного здания и линии равных осадок. 72

Приложение 14. Графики осадок деформационных марок высотного здания. 73

Приложение 15. Графики осадок деформационных марок 2, 18, 14 высотного здания. 74

Приложение 16. Таблица вычисления коэффициентов корреляции с оценкой надежности их значений. 74

Приложение 17. Пример оформления результатов определения крена высотного здания. 75

Приложение 18. Пример оформления цикла наблюдений за планово-высотными деформациями опорного контура. 75

Приложение 19. Термины и определения. 76

Приложение 20. Перечень нормативной и рекомендательной документации по мониторингу. 78

Список литературы.. 80

 

ПРЕДИСЛОВИЕ

Настоящая методика подготовлена в рамках создания нормативно-технической базы научно-технического сопровождения (НТСС) и мониторинга геодезическими методами наиболее ответственных уникальных зданий и сооружений, к которым относятся, в первую очередь, многофункциональные высотные здания и большепролетные конструкции, к которым предъявляются повышенные требования по безопасности.

Мониторинг является одним из важнейших инструментов обеспечения надежности и безопасности высотных и большепролетных зданий и сооружений в период их строительства и эксплуатации. Значительный объем инструментального мониторинга в период строительства и эксплуатации выполняется геодезическими методами. Геодезическими методами определяются как местные, так и общие деформации зданий и сооружений, отклонения несущих, ограждающих конструкций от вертикали и проектного положения, осадки фундаментов и грунтов, по которым конкретно судят о техническом состоянии здания или сооружения.

Методика разработана на основе отечественных и зарубежных норм с учетом имеющегося опыта уникального строительства в Москве.

Дано описание автоматизированных систем контроля деформаций, основанных на геодезических методах измерения (гидростатика, видоизмерительные системы и т.д.). Впервые в нашей стране приводятся рекомендации по построению и составу автоматизированных систем мониторинга на основе использования моторизованных электронных тахеометров.

В методике приведены термины и определения, перечень нормативной и рекомендательной документации по мониторингу общего характера, даются ссылки на научно-техническую литературу, более глубоко раскрывающую теорию вопроса и практику применения.

1. ОРГАНИЗАЦИЯ И ТЕХНОЛОГИЯ ГЕОДЕЗИЧЕСКОГО МОНИТОРИНГА

1.1. Общие требования организации и проведения геодезического мониторинга

1.1.1. Настоящая методика содержит основные рекомендации по организации и проведению мониторинга технического состояния высотных, большепролетных и других уникальных зданий и сооружений геодезическими методами.

1.1.2. Методика разработана с учетом специфики производства геодезических измерений в условиях современного строительства и эксплуатации зданий и сооружений в Москве и на основании существующей нормативно-технической документации по мониторингу.

1.1.3. Порядок проведения мониторинга состояния строительных конструкций большепролетных, высотных и других уникальных зданий и сооружений, строящихся и эксплуатируемых в Москве, определен постановлением Правительства Москвы № 320-ПП от 18.05.04 г.

1.1.3.1. По строящимся объектам при экспертизе проектов в Москомархитектуре и Мосгорэкспертизе определяют необходимость проведения мониторинга как в период строительства, так и в процессе дальнейшей эксплуатации. Мосгорстройнадзор выдает разрешение на производство строительных работ только при наличии подтверждения на проведение мониторинга на возводимом объекте и наличии специального раздела в проекте производства геодезических работ (ППГР), предусматривающего проведение геодезического мониторинга.

1.1.3.2. Целесообразность проведения мониторинга по эксплуатируемым объектам определяет Экспертная комиссия по оценке надежности конструктивных решений и проверке технического состояния строительных конструкций большепролетных, высотных и других уникальных сооружений, проектируемых и построенных в Москве (распоряжение Правительства Москвы № 320-РП от 03.03.04 г.).

1.1.3.3. Для высотных зданий, большепролетных сооружений с пролетами более 36 м проведение мониторинга обязательно на всех стадиях строительства и эксплуатации.

1.1.4. Мониторинг геодезическими методами (инструментальный геодезический мониторинг) - комплекс периодических инженерно-геодезических измерений, выполняемых с целью определения количественных параметров общих деформаций зданий и сооружений, их несущих ограждающих конструкций, фундаментов, оснований фундаментов и грунтов на всех стадиях строительства и в процессе эксплуатации.

1.1.5. Геодезический мониторинг является составной частью общего геотехнического мониторинга и проводится современными традиционными геодезическими методами и приборами в период возведения зданий и сооружений. После возведения зданий и сооружений надлежит преимущественно использовать автоматизированные системы контроля деформации.

1.1.6. Геодезический мониторинг включает измерения (наблюдения), фиксацию результатов измерений, их математическую обработку, вычисление параметров деформаций и составление заключений (при превышении измеренных параметров допустимых значений).

1.1.7. Технологии и методики геодезического мониторинга разрабатываются в составе ППГР в разделе «Геодезический мониторинг» на основании технического задания. Примеры технического задания на геодезический мониторинг высотного и большепролетного здания и сооружения приведены в приложениях 1 и 2.

1.1.8. В техническом задании должны быть указаны: наименование и местоположение объекта, данные о назначении здания или сооружения с наименованием и привязкой мест наблюдений, цель, задачи и периодичность наблюдений, расчетные величины деформаций, требуемая точность измерения деформаций, вид отчетности о выполненных измерениях.

К техническому заданию прикладывают планы или схемы предполагаемых мест закладки деформационных марок, разрезы зданий или сооружений с основными размерами и высотными отметками.

1.1.9. В разделе ППГР «Геодезический мониторинг» в рабочей программе приводят сведения о наличии пунктов геодезической сети, описание мест закладки исходной геодезической основы с обоснованием выбора типа репера (исходного пункта), конструкцию и места расположения деформационных марок, расчет точности измерения деформации, методы измерений и применяемые приборы, порядок обработки результатов измерений.

Обработка результатов измерений должна включать проверку полевых журналов, оценку точности полевых измерений, уравнивание, вычисление величин деформаций, составление ведомостей по каждому циклу измерений и графическое оформление материалов.

Обработку результатов измерений завершают составлением научно-технического отчета, оформленного в соответствии с ГОСТ 7.32-2001 «Система стандартов по информации, библиотечному и издательскому делу. Отчет о научно-исследовательской работе. Структура и правила оформления».

1.1.10. К выполнению геодезических измерений по мониторингу высотных и уникальных зданий и сооружений привлекают геодезические специализированные организации, имеющие лицензии на выполнение геодезических работ в строительстве. Наличие строительной лицензии является обязательным до перехода в режим работы саморегулируемых организаций и получения допусков на вышеуказанные работы.

1.1.11. Число инженерно-технических работников, занятых в геодезическом мониторинге, определяют исходя из объема, сложности и специфики измерений.

Сроки и цикличность проведения измерений должны быть увязаны с этапами и календарным графиком строительства. При проведении мониторинга в период эксплуатации объекта цикличность проведения измерений определяют по заданию, согласованному с главным проектировщиком объекта.

1.1.12. Для измерения общих и местных деформаций в процессе геодезического мониторинга создают и закрепляют на объекте мониторинга исходную планово-высотную основу и деформационные марки, предназначенные для наблюдений за осадками и горизонтальными смещениями несущих конструкций зданий и сооружений (так называемую деформационную сеть).

Расположение деформационных марок на объекте согласуется с проектировщиком.

Исходная основа и деформационная сеть должны сохраняться на весь период строительства и эксплуатации.

1.1.13. Типовое обоснование для осуществления геодезического мониторинга объекта включает в себя:

исходную высотную и плановую основу;

привязочные ходы;

высотную деформационную сеть;

плановую деформационную сеть.

Исходная планово-высотная основа для уникальных сооружений должна обеспечивать преемственность наблюдений в периоды строительства и эксплуатации. Ее закрепляют на местности глубинными реперами и пунктами полигонометрии, размещаемыми вне зоны действия предполагаемых деформаций (как правило, 1,5Н, где Н - высота сооружения).

Деформационную сеть закрепляют осадочными (приложение 3) и плановыми деформационными марками. В качестве плановых деформационных марок используют призменные отражатели или пластиковые катафотные отражатели.

От стабильности исходной основы зависит надежность результатов измерений, от числа и правильного выбора мест расположения деформационных марок - качество технического мониторинга в целом.

1.1.14. Геодезические измерения должны быть синхронизированы с другими составляющими инструментального мониторинга - техническим обследованием, геофизическим, инженерно-геологическим и гидрологическим мониторингом и фиксацией таких факторов, как объем строительства (нагрузка), температура, уровень грунтовых вод и т.д.

1.1.15. Для обеспечения безопасности функционирования многофункциональных высотных зданий и комплексов надлежит осуществлять мониторинг их несущих конструкций, который является составной частью эксплуатационных работ.

1.1.16. В задачи геотехнического мониторинга эксплуатируемых высотных зданий и большепролетных сооружений входит обеспечение надежности системы «основание - высотное здание», расположенных вблизи зданий и сооружений, недопущение негативных изменений окружающей природной среды, разработка (при необходимости) заданий на проектирование мероприятий по предупреждению и/или устранению отклонений, превышающих предусмотренные в проекте.

1.1.17. Вопросы необходимости проведения геотехнического мониторинга высотных зданий и большепролетных сооружений в процессе эксплуатации должны решаться на стадии проектирования. Составными частями проекта должны быть программа наблюдений и проект системы наблюдений, которые должны быть включены в раздел «Системы мониторинга на площадке», входящий в состав проектной документации.

1.1.18. Цель мониторинга - проведение наблюдений за состоянием и своевременное выявление недопустимых отклонений в состоянии эксплуатируемых высотных зданий и комплексов, большепролетных сооружений, а также окружающей застройки.

1.1.19. Геотехнический мониторинг должен быть увязан с системами мониторинга подземных конструкций высотного здания.

1.1.20. Состав геотехнического мониторинга и систем наблюдений при его выполнении включает в себя:

системы наблюдений: за состоянием фундаментов построенного высотного здания или большепролетного сооружения, а также существующих зданий и сооружений, попадающих в зону его влияния; за состоянием оснований высотного здания и окружающих зданий и сооружений; за состоянием окружающей природной среды;

оценку результатов наблюдений и сравнение их с проектными данными;

прогноз на основе результатов наблюдений изменения состояния эксплуатируемого высотного здания или большепролетного сооружения, а также окружающих его зданий и сооружений, характеристик свойств их оснований;

разработку в необходимых случаях заданий на проектирование мероприятий по предупреждению и устранению отклонений, превышающих предусмотренные в проекте, и негативных последствий.

1.1.21. Система наблюдения за состоянием фундаментов высотного здания или большепролетного сооружения, а также существующих окружающих его сооружений включает:

измерение перемещений фундаментов высотного здания и сооружений (осадки, крены, горизонтальные смещения и др.);

фиксацию и наблюдение за образованием и раскрытием трещин;

измерение уровня колебаний при наличии динамических воздействий.

Наблюдения должны проводиться ежеквартально, если иные сроки не предусмотрены проектом или не являются результатом анализа и прогноза ранее выполненных измерений.

1.1.22. По результатам геотехнического мониторинга эксплуатируемого высотного здания или большепролетного сооружения составляется отчет, который представляется заказчику, генеральному проектировщику и эксплуатирующей организации.

1.1.23. Отчет должен содержать:

результаты мониторинга, представленные в виде дефектных ведомостей; графики развития осадок и их неравномерностей, а также деформаций поверхности территории и послойных деформаций оснований высотного здания; акты освидетельствования состояния фундаментных конструкций; акты, подтверждающие соблюдение технологической последовательности работ по мониторингу; документы, отражающие качество работ по устройству основания и фундаментов эксплуатируемого здания;

при необходимости задание на проектирование мероприятий по предупреждению и устранению отклонений, превышающих предусмотренные в проекте, и негативных последствий.

предложения по дальнейшему проведению мониторинга.

1.1.24. В случае выявления в ходе мониторинга при эксплуатации высотного здания или большепролетного сооружения деформаций и других явлений, отличающихся от прогнозируемых, необходимо без задержки информировать об этом заинтересованные организации.

1.1.25. Мониторинг геодезическими методами технического состояния железобетонных стен по внешним признакам производят на основе определения следующих факторов:

геометрических размеров и сечений;

наличия трещин, отколов и разрушений.

Ширину раскрытия трещин следует измерять в первую очередь в местах максимального их раскрытия.

Трещины следует анализировать с точки зрения напряженно-деформированного состояния железобетонной конструкции.

При наличии увлажненных участков и поверхностных высолов на бетоне стен определяют величину этих участков и фиксируют на исполнительных схемах.

1.1.26. При обследовании колонн и ригелей железобетонных каркасов необходимо измерить их сечения и обнаруженные деформации (отклонение от вертикали, прогибы, выгибы, смещение узлов), зафиксировать и измерить ширину раскрытия трещин.

1.1.27. Техническое состояние стальных каркасов определяется на основе измерений отклонений фактических размеров поперечных сечений стальных элементов от проектных.

Определение геометрических параметров элементов каркасов и их сечений производится путем непосредственного измерения.

В каждом сечении производится не менее трех замеров.

1.1.28. При обследовании перекрытий необходимо измерять их прогибы. Необходимо зафиксировать наличие, длину и ширину раскрытия трещин в несущих сопряжениях. Прогибы перекрытий определяют методами геометрического и (или) гидростатического нивелирования. При обследовании железобетонных перекрытий необходимо определить геометрические размеры конструкции и ее сечений, прочность бетона, толщину защитного слоя бетона, расположение и диаметр арматурных стержней.

1.1.30. Обследование и мониторинг за смещениями и деформациями балконов, эркеров, лоджий, лестниц, кровли, стропил и др. производят при наличии указаний в проектной документации (места фиксации точек измерений, периодичность).

1.1.31. Образцы исполнительной документации для фиксации результатов геодезического мониторинга в процессе эксплуатации должны приводиться в ППГР и представляться эксплуатирующей организацией исполнителям, проводящим мониторинг.

1.2. Исходная высотная и плановая основа геодезического мониторинга

1.2.1. Для уникальных зданий и сооружений в качестве исходной высотной основы рекомендуется использовать кусты глубинных реперов. Число глубинных реперов в кусте должно быть не менее трех. Число кустов для объекта строительства определяют в ППГР. Реперы закладывают буровым способом на глубину от 3 м и не менее 1 м ниже глубины промерзания. Конструкция глубинного репера показана в приложении 4. В зависимости от условий местности реперы в плане располагают по углам равностороннего треугольника или по прямой линии. Расстояние между соседними реперами в кусте не должно превышать 12 м. Наиболее устойчивый репер в кусте служит исходной высотной основой как во время строительства, так и в период эксплуатации. В приложении 5 приведен пример вычисления наиболее устойчивого репера.

1.2.2. В качестве исходной высотной основы в отдельных случаях могут использоваться стенные реперы, установленные в цокольных частях зданий и сооружений, осадка фундаментов которых практически стабилизировалась. К ним относятся существующие стенные и грунтовые реперы государственной (городской) геодезической сети Москвы, стабильность которых подтверждена многолетними измерениями.

1.2.3. Исходную высотную основу размещают:

в стороне от проездов, подземных коммуникаций, складских и других территорий, где возможны вибрации от движения транспорта;

вне зоны распространения давления на грунт от возводимого здания или сооружения;

вне зоны влияния других вновь строящихся зданий и сооружений.

Практически удаление исходной высотной основы от сооружения не должно быть менее 150 м (не менее 10 глубин заложения фундамента). Местоположение и конструкцию глубинных реперов определяют при разработке ППГР.

1.2.4. Измерения и контроль стабильности исходной высотной основы осуществляют геометрическим нивелированием коротким визирным лучом в каждом цикле измерений (см. раздел 4).

1.2.5. Исходные глубинные реперы закладывают не позднее чем за 2 месяца до начала наблюдений. После усадки реперов на них должна быть передана высотная отметка от ближайших пунктов государственной нивелирной сети.

1.2.6. Привязочный ход является связующим звеном в схеме измерений между исходной высотной основой и деформационной сетью. Он используется для передачи отметки от исходной высотной основы на осадочные деформационные марки объекта мониторинга. При проложении привязочного нивелирного хода рейки устанавливают на головки металлических башмаков, костылей или на дюбели, забитые в бетон или асфальт. Измерения в привязочном ходе выполняют методом геометрического нивелирования коротким визирным лучом в прямом и обратном направлениях.

1.2.7. Для измерения горизонтальных перемещений и кренов на объекте наблюдений проектируют и закладывают плановую деформационную сеть, опорную сеть и вспомогательные пункты.

1.2.8. Пункты опорной сети служат исходной основой, определяющей неизменность основной схемы измерений. Их закрепляют вне зоны деформаций. Вспомогательные пункты являются связующими в схеме измерений и используются для передачи плановых координат от опорных пунктов к деформационным маркам. В каждом цикле измерений проверяют устойчивость вспомогательных пунктов.

1.2.9. Плановая опорная сеть обычно развивается и контролируется (ее устойчивость) в виде сети или одиночных ходов полигонометрии, а также в виде линейно-угловой сети, включающих опорные и вспомогательные пункты. Обязательным условием наблюдений является постоянство схемы измерений.

1.2.10. Плановые опорные пункты закрепляют геодезическими знаками или марками (приложение 3). Ими могут быть также пункты государственной (городской) сети.

1.3. Общие требования к расположению высотных и плановых деформационных марок

1.3.1. Конструкция деформационных марок и способы их установки (приложение 3) должны обеспечивать долговременную сохранность, устойчивость и удобство выполнения измерений. Конструкция деформационных марок и их спецификация приводятся в ППГР.

1.3.2. При закреплении деформационных марок обязательными условиями являются:

жесткая связь с фундаментом сооружения и наблюдаемыми строительными конструкциями;

доступность для производства геодезических работ;

безопасность от механических повреждений.

1.3.3. Места расположения осадочных марок определяют по согласованию с проектной организацией в зависимости от конструкции фундаментов, распределения нагрузок, геологических и гидрологических условий основания. Число марок рассчитывают из условий определения неравномерности осадок, кренов и прогибов наблюдаемых сооружений. Типовые схемы расположения деформационных марок для высотных и большепролетных сооружений приведены в разделах 2 и 3.

2. ОСОБЕННОСТИ ГЕОДЕЗИЧЕСКОГО МОНИТОРИНГА ВЫСОТНЫХ ЗДАНИЙ И СООРУЖЕНИЙ

2.1. Итоговой нормируемой деформационной характеристикой высотного здания является отклонение его верха от вертикали (крен). Основное влияние на эту величину оказывают неравномерные осадки фундаментов. Однако из-за особенностей конструкции высотных зданий и их «гибкости» («гибкость» здания - коэффициент отношения высоты надземной части к ширине фундамента и для высотных зданий обычно имеет значение от одного до восьми) деформации фундаментов не полностью определяют итоговую деформацию верха высотного здания. Предельные отклонения верха высотных зданий и сооружений приведены в МГСН 4.19-05.

2.2. При геодезическом мониторинге высотных зданий и сооружений определяют следующие виды деформаций (подробнее - в разделах 4 и 5):

Для основания и фундаментов:

абсолютная осадка Si;

средняя осадка Sср;

неравномерная осадка ΔS;

относительная неравномерная осадка ΔS/l - разность вертикальных перемещений точек фундамента, отнесенных к расстоянию между ними;

крен фундамента I - отношение разности осадок крайних точек фундамента к ширине (или длине) фундамента;

относительный прогиб (выгиб) i/L, т.е. отношение стрелы прогиба (выгиба) к длине L однозначно изгибаемого участка фундамента;

горизонтальные смещения (сдвиг).

Для надземной части здания:

отклонение от вертикали здания и отдельных строительных конструкций (осей колонн, стен лифтовых шахт и других элементов);

сжатие или усадка колонн и бетонных конструкций;

раскрытие трещин (при их появлении), динамика их развития.

Рекомендуемая частота проведения наблюдений за каждым фактором приведена в таблице 2.1.

2.3. В связи с тем что надземная и подземная части здания могут подвергаться воздействию разных природных и техногенных факторов, наблюдения за деформациями должны проводиться отдельно для каждой составной части системы «фундамент - надземная часть».

2.4. При выборе методов проведения мониторинга высотных зданий и сооружений в период строительства учитывают следующие факторы: колебание температуры, односторонний солнечный нагрев, ветровую нагрузку (внешние факторы), вибрацию, неравномерность нагрузки от функционирования передвижных подъемных устройств (техногенные факторы), стесненные условия для наблюдений внутри (сравнительно малые габариты фундамента) и вокруг строительного объекта.

Для измерений следует выбирать время суток, в котором минимизированы влияния вышеуказанных внешних факторов воздействия.

Таблица 2.1 - Рекомендуемая частота проведения наблюдений за основными видами деформаций

№ п.п.

Вид деформации

Цикличность

Раздел методики

во время строительства

2 - 3 года после строительства 1 - 2 раза в квартал

эксплуатация

возведение

фундамента

через каждые 5 этажей

окончание строительства

2 раза в год

постоянно*

1

Абсолютная осадка

+

+

+

+

+

 

5.1.4

2

Неравномерная осадка

+

+

+

+

+

 

5.1.4

3

Крен фундаментов

+

+

+

+

+

+

4.2.3

4

Прогиб фундаментов

+

+

+

+

+

 

5.1.4

5

Отклонение от вертикали (крен):

 

 

 

 

 

 

 

 

колонн

-

+

+

 

 

 

4.2.1

 

лифтовых шахт

-

+

+

 

 

 

-

 

монолитной части

-

+

+

 

 

 

4.2.3.4

6

Сжатие или усадка колонн

-

+

+

 

 

 

5.1.4

7

Крен верхней части строительных конструкций

-

 

+

+

+

+

4.2.3.2

4.2.3.3

_____________

* Рекомендуется использовать автоматизированные системы.

2.5. При расчете точности определения деформаций высотных зданий и сооружений [11] должны выдерживаться следующие нормы точности:

средняя квадратическая погрешность определения осадки высотного здания или сооружения не должна превышать +1,0 мм (ГОСТ 24846-81, СНиП 3.01.03-84);

средняя квадратическая относительная погрешность определения кренов высотных зданий и сооружений не должна превышать при высоте зданий (МГСН 4.19-05):

до 150 м (включительно) - 1/500;

свыше 150 м - 1/1000.

2.6. Типовая схема геодезического мониторинга высотного здания на всех стадиях его создания приведена на рис. 2.1.

В отличие от общей типовой схемы геодезического мониторинга объекта для высотных сооружений дополнительно предусматривают контрольные станции (точки) для измерения отклонений от вертикали.

2.7. При мониторинге оснований и фундаментов высотных зданий и сооружений применяют геометрическое нивелирование коротким визирным лучом.

2.8. Осадочные марки на высотных сооружениях устанавливают в нижней части несущих конструкций на фундаментной плите или на отметке 0,00 м в строительной системе высот по всему периметру здания (сооружения) и внутри, в том числе на углах, на стыках строительных блоков, по обе стороны осадочного или температурного шва, в местах примыкания продольных и поперечных капитальных стен, на поперечных стенах в местах пересечения их с продольной осью, на несущих колоннах. Осадочные марки по периметру располагают через 15 м по продольным и поперечным осям. В среднем на 100 м2 фундаментной плиты закладывают одну марку.

2.9. Конкретное расположение осадочных марок в нижней части здания или сооружения, а также конструкции марок приводят в техническом задании на мониторинг и в ППГР, согласованном с проектной организацией.

2.10. Высотная основа на монтажных горизонтах может входить в состав деформационной сети и использоваться для контроля отклонения построенной части от вертикали и контроля сжатия или усадки колонн (стен) и бетонных конструкций по мере возведения строительных конструкций здания.

2.11. Передача высоты с внутренней высотной основы исходного горизонта на монтажный может передаваться методом геометрического нивелирования с применением двух нивелиров и стальной (компарированной) рулетки (20, 50, 100 м) с соответствующим натяжением. Измерения превышений между исходным и монтажным горизонтами производят двумя нивелирами с одновременным взятием отсчетов по рулетке. Контроль передачи высоты может производиться лазерными рулетками (ручными лазерными дальномерами).

Рисунок 2.1. Типовая схема мониторинга высотного объекта

а - на стадии возведения фундамента, б - на стадии возведения здания; в - в построенном здании,
1 - исходная высотная основа; 2 - привязочный ход, 3 - деформационная сеть, 4 - деформационная сеть на
монтажном горизонте; 5 - глубинный репер, 6 - осадочная марка в полу, 7 - осадочная марка на колонне

2.12. При контроле отклонений от вертикали наземной части здания применяют способы определения крена по результатам нивелирования на исходном и монтажном горизонтах с помощью оптических квадрантов, наклонного проектирования, координат (см. 4.2.3).

2.13. На контрольных монтажных горизонтах (в зависимости от метода измерения отклонений от вертикали) размещают:

закладные пластины для измерений оптическим квадрантом;

специальные марки для наклонного проектирования;

триппельпризменные или пластиковые отражатели.

2.14. Металлические закладные пластины с фрезерованными поверхностями размером 200×200 мм для измерения наклонов наблюдаемых конструкций устанавливают вдоль продольных и поперечных осей высотного здания. Отклонения от вертикали измеряют оптическим квадрантом КО-10.

2.15. Для измерения кренов надземной части сооружения методом наклонного проектирования или методом координат в процессе его возведения вдоль выбранных поперечных и продольных осей с внешней стороны здания в верхней и нижней частях закрепляют триппельпризменные пластиковые отражатели или специальные рейки или марки (рис. 2.2). На местности в створе марок фиксируют постоянные точки стояния теодолита или электронного тахеометра [12].

Постоянные точки стояния инструмента располагают на расстоянии не менее высоты здания и закрепляют специальными костылями, забитыми в землю, или дюбелями, забитыми в бетон или асфальт.

2.16. При координатном способе координаты деформационных марок определяют из прямых угловых или линейно-угловых засечек с использованием тахеометра.

2.17. При применении наклонного проектирования используют астрономический теодолит ДКМ-3А, выпускаемый швейцарской фирмой «Kern Аррау» [12], или другой аналогичный по точности прибор. Использование астрономических теодолитов или электронных тахеометров с окулярной насадкой позволяет сократить расстояние между точкой стояния прибора и зданием.

Рисунок 2.2. Специальная рейка для наклонного
проектирования теодолитом или электронным тахеометром

2.18. Независимо от метода все измерения отклонений от вертикали строительных конструкций высотного здания производят только в безветренную, желательно пасмурную погоду. При измерениях фиксируют направление и скорость ветра.

3. ОСОБЕННОСТИ ГЕОДЕЗИЧЕСКОГО МОНИТОРИНГА БОЛЬШЕПРОЛЕТНЫХ ЗДАНИЙ И СООРУЖЕНИЙ

3.1. К уникальным большепролетным зданиям и сооружениям относятся здания и сооружения с конструкциями покрытия без промежуточных опор пролета свыше 60/100 м - сплошные и стержневидные оболочки, купола, вантовые, тонколистовые (мембранные) и тентовые покрытия, стержневые пространственные конструкции (структуры), перекрестные системы, а также традиционные конструкции больших пролетов: фермы, рамы, арки и т.п. [2].

В приложении 6 приведены примеры большепролетных сооружений, построенных в Москве.

Основными контролируемыми элементами большепролетных зданий и сооружений являются: главные несущие конструкции плоскостных систем (колонны, балки, арки, рамы, фермы и т.д.), опорный контур и несущие конструкции пространственного покрытия.

Типовое техническое задание на проведение геодезического мониторинга несущих конструкций большепролетных уникальных зданий и сооружений приведено в приложении 2.

3.2. При мониторинге большепролетных уникальных зданий и сооружений определяют следующие виды деформаций:

а) фундамент - несущие колонны:

абсолютная осадка S;

средняя осадка Sср;

неравномерная осадка ΔS;

относительная неравномерная осадка ΔS/L, отнесенная к расстоянию между ними; горизонтальные смещения (сдвиги);

б) опорный контур (ОК) пространственных конструкций:

абсолютные и относительные планово-высотные деформации в характерных точках ОК;

изменение геометрических характеристик контура в плане (диаметр, длины главных осей, длины сторон и т.д.);

прогибы несущих элементов ОК;

в) несущие конструкции пролетной части пространственного покрытия (оболочка):

изменение прогиба в характерных точках, в том числе расположенных по основным осям.

3.3. При постановке геодезического мониторинга большепролетных зданий и сооружений и выборе методов измерений учитывают возможность проявления деформаций от следующих факторов:

неравномерные осадки основания и фундаментов;

постоянные нагрузки (собственный вес конструкций и кровли, технологические нагрузки, воздействия, связанные с этапами монтажа конструкции, и т.п.);

изменение суточной и сезонной температуры воздуха;

ветровая нагрузка;

вес снега;

односторонний солнечный нагрев.

Снеговая и ветровая нагрузки являются одним из наиболее опасных факторов, способных вызвать разрушение сооружения. Поэтому одновременно с проведением геодезического мониторинга должен проводиться и метеорологический мониторинг, включающий в первую очередь измерения силы и направления ветра, толщины и плотности снегового покрова на покрытии.

В первый год эксплуатации геодезические измерения следует проводить четырьмя циклами, привязанными к сезонам года:

в апреле - после освобождения покрытия от снега;

в июле - для определения влияния положительных температурных воздействий;

в октябре - при минимальных суточных перепадах температуры воздуха;

в феврале - при максимальном снеговом покрове.

Цикличность геодезических измерений в строительный период и в процессе эксплуатации сооружения приведена в таблице 3.1.

3.4. Предельные перемещения наблюдаемых конструкций большепролетных сооружений представлены в таблице 3.2.

Для вычисления деформационных характеристик по п. 3.2 геодезические измерения нужно выполнять со среднеквадратическими погрешностями:

измерение осадок фундаментов и несущих колонн - 1 мм;

измерение планово-высотных деформаций металлоконструкций - 5 мм;

измерение прогибов пролетной конструкции (оболочки) - 10 мм.

Для уникальных зданий и сооружений предельные перемещения определяются генпроектировщиком на основании специальных расчетов.

Таблица 3.1 - Рекомендуемая цикличность наблюдений за каждым видом деформаций

№ п.п.

Вид деформации

Цикличность

во время строительства и монтажа один раз в месяц

во время эксплуатации

возведение фундамента

возведение колонн

монтаж металлоконструкций

раскружаливание

завершение строительства

4 раза в год (до 5 лет)

2 раза в год (после 5 лет)

1

Абсолютная осадка

+

+

+

+

+

+

+

2

Относительная осадка

+

+

+

+

+

+

+

3

Отклонение от вертикали

-

+

+

+

+

-

-

4

Смещение верха колонн

-

-

+

+

+

-

-

5

Сжатие или усадка колонн

-

-

+

+

+

-

-

6

Деформация металлоконструкций

-

-

+

+

+

+

+

Таблица 3.2

Тип конструкции

Относительные предельные перемещения

Примечания

вертикальные

горизонтальные

Балки, рамы, арки

L/300

-

L - пролет

Структурные плиты

L/500

-

L - макс, пролет

Вспарушенные покрытия (оболочки, купола, своды и т.п.):

 

 

 

пролетная конструкция

L/500

-

L - макс, пролет

опорная конструкция

-

H/300

H - высота здания

Висячие покрытия (вантовые конструкции, висячие оболочки, мембраны и т.п.):

 

 

 

пролетная конструкция

L/100

-

L - макс, пролет

опорная конструкция

-

H/150

H - высота здания

3.5. Типовая схема геодезического мониторинга большепролетного сооружения представлена на рис. 3.1. Она включает в себя закладку вне зоны деформаций сооружения куста глубинных реперов и создание высотной деформационной сети внутри сооружения.

В отличие от типовой схемы геодезического мониторинга объекта для большепролетных сооружений дополнительно предусматривают наблюдения за несущими конструкциями. Для этого внутри сооружения на трибунах или в основании несущих колонн создают опорную планово-высотную сеть, относительно которой выполняют наблюдения за смещениями деформационных марок, закрепленных на несущих конструкциях покрытия. В приложении 7 приведен пример геодезического мониторинга спортивного сооружения с мембранным покрытием и футбольного стадиона с вантовой системой подвески навеса над трибунами.

Исключительно важным элементом геодезического мониторинга в процессе строительства является инструментальный контроль за деформациями несущих конструкций при раскружаливании. Процесс раскружаливания связан со снятием элементов покрытия с временных опор и включением их в работу. Измеряемые в это время деформационные характеристики важны для определения фактической несущей способности конструкций путем сравнения их с расчетными величинами.

В ходе эксплуатации сооружения основное внимание должно быть уделено наблюдению за деформациями покрытия в зимний период. В это время наиболее серьезный внешний фактор воздействия на сооружение - снеговая нагрузка. Сравнение фактических деформаций покрытия с расчетными позволяет оценить достоверность расчетной модели сооружения и определить его предельное напряженно-деформированное состояние.

3.6. Конкретное расположение осадочных деформационных марок в контролируемых точках и их конструкцию приводят в техническом задании на мониторинг, составляемом при участии проектной организации.

Число и размещение деформационных марок, необходимых для мониторинга, зависит от размера пролета и конструктивных особенностей большепролетной конструкции.

При разработке требований по числу и размещению деформационных марок, необходимых для мониторинга, следует иметь в виду, что прогибы пролетной конструкции и горизонтальные перемещения опорного контура пространственных систем являются интегральными (обобщенными) характеристиками, определяющими не только деформированное, но и напряженное состояние сооружения. Поэтому число и размещение деформационных марок определяются требованием получения по результатам натурных наблюдений достаточно полной картины напряженно-деформированного состояния основных элементов покрытия. Примеры расположения деформационных марок для большепролетных сооружений различной конструкции приведены в приложении 8.

Так как каждое уникальное большепролетное сооружение индивидуально, то и требования к числу и размещению деформационных марок, необходимых для мониторинга, разрабатываются для конкретного объекта с учетом его напряженно-деформированного состояния по результатам расчета.

Рисунок 3.1. Типовая схема геодезического мониторинга
большепролетного сооружения

1 - исходная высотная основа; 2 - привязочный нивелирный ход,
3 - марка высотной деформационной сети на колоннах; 4 - планово-высотная
деформационная марка на опорном контуре и покрытии

4. МЕТОДЫ И СПОСОБЫ ИЗМЕРЕНИЙ ВЫСОТНЫХ И ПЛАНОВЫХ ДЕФОРМАЦИЙ В ПРОЦЕССЕ ГЕОДЕЗИЧЕСКОГО МОНИТОРИНГА

4.1. Методы измерения высотных смещений

Основными методами высотного геодезического мониторинга деформаций инженерных сооружений являются геометрическое и тригонометрическое нивелирование [5].

Наиболее широко распространен метод геометрического нивелирования с применением коротких визирных лучей (S = 3 - 25 м) [3]. Высокая точность и быстрота измерений превышений на станции, большой выбор компактных, точных нивелиров, возможность выполнять наблюдения в стесненных условиях строительства делают этот метод практически универсальным.

Метод тригонометрического нивелирования позволяет определять осадки точек, расположенных на разных высотах и недоступных при производстве работ геометрическим нивелированием. Необходимой точности можно добиться, используя высокоточные теодолиты и электронные тахеометры, при измерении короткими визирными лучами, не превышающими 100 м, а также выбирая условия наблюдений, позволяющие уменьшить влияние вертикальной рефракции.

4.1.1. Высокоточное геометрическое нивелирование коротким визирным лучом

4.1.1.1. Высокоточное геометрическое нивелирование коротким визирным лучом выполняют нивелирами с контактным уровнем или с самоустанавливающейся линией визирования. Используют оптические Н-05, Ni004, Ni002 нивелиры и другие типы нивелиров, аналогичные по точности, прошедшие сертификацию на соответствие требованиям «Инструкции по нивелированию I, II, III и IV классов» ГКИНП (ГНТА)-03-010-03.

4.1.1.2. При высокоточном геометрическом нивелировании коротким визирным лучом используют штриховые и кодовые инварные рейки длиной 1,5 - 1,75 м (ГКИНП (ГНТА)-03-010-03).

4.1.1.3. Геометрическое нивелирование во всех циклах выполняют по одной и той же схеме измерений. Нивелирование выполняют из середины, места установки нивелира маркируют. В каждом цикле измерений соблюдают следующие требования:

применяют одни и те же инструменты и рейки;

рейки нумеруют и устанавливают на одни и те же марки или реперы.

4.1.1.4. При расчете погрешностей измерений геометрическим нивелированием коротким лучом (табл. 4.1) учитывают рекомендации ГОСТ 24846-81, по которым допустимая погрешность измерения вертикального перемещения не должна превышать:

1 мм - для зданий и сооружений, уникальных и длительное время находящихся в эксплуатации, возводимых на скальных и полускальных грунтах;

2 мм - для зданий и сооружений, возводимых на песчаных, глинистых и других сжимаемых грунтах.

4.1.1.5. Перед началом цикла измерений и в конце его обязательно проверяют главное условие нивелира (угол i). Величина угла i в нивелире не должна превышать 5,0". Угол i проверяют на специальном стационарном стенде, оборудованном в помещении. Схема определения угла i приведена в приложении 9.

4.1.1.6. Программа измерений на кусте глубинных реперов следующая: берут отсчеты последовательно на каждый из реперов I, II, III. Заканчивают прием измерений повторным отсчетом на начальный репер I, который делают для контроля устойчивости инструмента в процессе измерений и в обработку не включают. Затем процесс измерений повторяют при другом горизонте инструмента.

4.1.1.7. Привязочный нивелирный ход от куста реперов до ближайшей марки осадочной сети прокладывают при двух горизонтах инструмента с использованием стандартных реек с инварной полосой.

4.1.1.8. Нивелирование по осадочным маркам фундаментов (перекрытий) зданий с использованием инварных реек и по осадочным шкаловым маркам, закрепленным на вертикальных поверхностях несущих конструкций, проводится при двух горизонтах инструмента.

Таблица 4.1 - Технические характеристики и требования высокоточного геометрического нивелирования коротким лучом

Технические требования и характеристики

Уникальные здания, здания, длительное время эксплуатируемые, возводимые на скальных и полускальных грунтах

Здания и сооружения, возводимые на песчаных, глинистых и других сжимаемых грунтах

Максимальная длина визирного луча, м

25

25

Средняя квадратическая погрешность превышения на станции mhср, мм

0,07

0,2

Допустимое неравенство расстояний от нивелира до реек, м

0,3

0,3

Допустимое расхождение превышений, полученных при двух горизонтах инструмента, мм

0,14

0,4

Допустимая невязка в полигоне, мм

0,14

0,4

Средняя квадратическая погрешность суммы превышений на 1 км хода, мм

0,3

1,0

4.1.1.9. При нивелировании по осадочным шкаловым маркам отсчет по возможности берут по одному и тому же штриху, для чего марки устанавливают на один горизонт с погрешностью 2,5 мм. Установку визирной оси зрительной трубы нивелира на заданный горизонт удобно производить с помощью прецизионной нивелирной подставки.

4.1.1.10. Последовательность работ на нечетной станции в ходе одного направления (для оптических нивелиров с самоустанавливающейся линией визирования) следующая:

штатив нивелира центрируют над маркированной точкой, соответствующей равенству визирных лучей;

приводят нивелир в рабочее положение с помощью установочного уровня, при этом зрительная труба направлена на заднюю рейку;

с помощью прецизионной нивелирной подставки визирную ось нивелира выводят на рабочий горизонт;

устанавливают барабан на отсчет 50;

вращением барабана точно наводят биссектор на ближайший штрих шкалы задней рейки и делают отсчет  (по рейке и барабану);

наводят зрительную трубу на шкалу передней рейки, производят отсчет П;

с помощью подъемных винтов нивелира изменяют высоту нивелира на 1 - 3 мм, приводят уровень в нуль-пункт;

делают отсчет  по шкале передней рейки;

наводят зрительную трубу на шкалу задней рейки и производят отсчет З;

в процессе наблюдений отсчеты по барабану микрометра берут до 0,1 деления, а превышения вычисляются до 0,01 мм. Результаты наблюдений записывают в журнал (приложение 10).

При наблюдении на четной станции последовательность работ следующая:

 З  П, где  - отсчет на переднюю рейку при приведении пузырька уровня на середину, З - отсчет на заднюю рейку,  - отсчет на заднюю рейку при проведении пузырька на середину, П - отсчет на переднюю рейку.

При использовании цифровых нивелиров последовательность работы на станции аналогична работе с оптическим нивелиром. В цифровом нивелире должен быть установлен параметр - измерение методом чередования (ЗППЗ, ПЗЗП).

4.1.1.11. При переходе от прямого хода к обратному вместо четной рейки на одноименном пункте используют нечетную, и наоборот. Для исключения ошибок за ноль рейки рекомендуется измерения выполнять одной рейкой.

4.1.1.12. При работе на станции должны выполняться допуски, указанные в таблице 4.1.

4.1.2. Оценка точности геометрического нивелирования

4.1.2.1. Качество геометрического нивелирования до уравнивания нивелирной сети характеризуется величинами разностей измеренных превышений в прямом и обратном направлениях или при двух горизонтах инструмента. Если ходы нивелирной сети образуют замкнутые полигоны, то оценку точности выполняют по невязкам в полигонах.

4.1.2.2. Среднюю квадратическую погрешность среднего превышения на станции, полученную из ходов «прямо» и «обратно» или при двух горизонтах инструмента, вычисляют по формуле

(4.1)

где n - количество превышений;

d - разность двойных измерений.

Среднюю квадратическую погрешность превышения на станции, полученную по невязкам в замкнутых полигонах, образованных средними превышениями, вычисляют по формуле

(4.2)

где f - невязка в полигоне;

n - количество станций в ходе;

N - количество полигонов в сети.

4.1.2.3. При уравнивании нивелирной сети на ЭВМ параметрическим методом вычисляют значение средней квадратической погрешности единицы веса р и матрицу весовых коэффициентов Q.

Погрешность единицы веса вычисляют по формулам:

для равноточных измерений

(4.3)

для неравноточных измерении

(4.4)

В формулах (4.3) и (4.4):

v - поправки в измеренные превышения;

р - вес измеренного превышения;

n - число всех измерений;

k - число неизвестных параметров, подлежащих определению.

Средняя квадратическая погрешность отметки высотного репера или марки вычисляется по формуле

(4.5)

где Qn - весовой квадратичный коэффициент.

4.1.3. Тригонометрическое нивелирование

4.1.3.1. В тех случаях когда по условиям строительства применение геометрического нивелирования затруднено или невозможно, для измерения осадок сооружений используют тригонометрическое нивелирование короткими лучами (S ≤ 100 м).

4.1.3.2. С пункта, отметка которого известна, измеряют зенитное расстояние Z и горизонтальное расстояние S до деформационной марки. Значение превышения вычисляют по формуле

(4.6)

где S - горизонтальное расстояние между пунктами;

i - высота прибора над опорным пунктом;

l - высота визирной цели над определяемым пунктом;

R - радиус Земли, равный 6370 км;

k - коэффициент вертикальной рефракции, обычно принимается равным 0,14 [17].

4.1.3.3. При использовании в высокоточном тригонометрическом нивелировании электронных тахеометров в них должны быть установлены следующие параметры: поправка за наклон, поправка за коллимацию, поправка за кривизну и рефракцию, индексация вертикального круга вручную.

4.1.3.4. Число приемов измерений величин Z и S должно быть не менее трех. Расхождение значений зенитных расстояний Z и расстояний S между приемами не должно превышать соответственно 5,0" и 5,0 мм.

4.1.3.5. Зенитные расстояния необходимо измерять в пасмурную погоду при спокойных изображениях визирных целей.

4.1.3.6. Для определения высоты точки при невозможности измерить до нее расстояние применяются следующие способы:

а) на местности выбирают базис (рис. 4.1, а) с таким расчетом, чтобы из его конечных точек базиса (А и В) была хорошо видна точка, высоту которой следует определить. С концов базиса методом прямой засечки определяют расстояние до точки, т.е. измеряют горизонтальные углы βА и βВ (рис. 4.1, а), и одновременно измеряют вертикальные углы на точку vА и vВ. Вычисление величин hA и hB выполняют по формулам:

(4.7)

(4.8)

Вычислив hA и hB, дважды определяют отметку наблюдаемой точки и из них образуют среднее значение;

б) на местности выбирают два пункта (рис. 4.1, б): M и более высоко расположенный N, с которых хорошо видна точка С, лежащая в одном створе с ними. Расстояние S и превышение hMN между пунктами известно. Тогда, измерив углы наклона v1 и v2, получим:

(4.9)

Рисунок 4.1

4.1.4. Расчет точности вертикальных смещений, определяемых тригонометрическим нивелированием

4.1.4.1. Среднюю квадратическую погрешность превышения, определенного тригонометрическим нивелированием, вычисляют по формуле

(4.10)

где ms, mz, mk, mi, ml - средние квадратические погрешности определения соответственно горизонтального расстояния между пунктами S, зенитного расстояния Z, коэффициента k вертикальной рефракции, высоты теодолита i и визирной цели l.

В формуле (4.11) два последних члена не учитывают при условии постоянства от цикла к циклу высоты инструмента и визирной цели. Третий член в формуле (4.11) при S = 200 м и mk = 0,05 близок к нулю и может также не учитываться.

4.1.4.2. Вертикальные смещения наблюдаемых точек вычисляют как разность превышений, определенных в начальном и текущем циклах измерений по формуле

δhj = hj - h0j = SjctgZj - S0ctgZ0.

(4.11)

4.1.4.3. Для оценки точности вертикальных смещений используют формулу

(4.12)

При mZj = mZ0 = mz, sinZj = sinZ0 = sinZ, ctgZj = ctgZ0 = ctgZ и Sj = S0 = S формула (4.12) имеет вид

(4.13)

При заданных S = 50 м, Z = 60°, mz = 2,0″, ms = 2,3 мм средняя квадратическая погрешность определения вертикального смещения составит mδh ≈ 1,9 мм. Величину вертикального смещения марки для контроля необходимо определять с двух пунктов. Полученная в этом случае величина погрешности  мм находится в пределах требуемой точности определения осадок [13].

4.1.4.4. Для оценки точности определения высоты точки способом, описанным в пункте 4.1.3.6, а, приняв mβAmβBmβ; mvAmvBmv, имеем

(4.14)

Так как высота точки определяется дважды, то можно ожидать, что ошибка среднего результата будет в  раз меньше.

Для оценки точности определения высоты точки способом, описанным в пункте 4.1.3.6, б, имеем



(4.15)

4.2. Способы измерения плановых смещений

Плановый геодезический мониторинг предусматривает измерение горизонтальных смещений сооружений, зданий и их конструктивных элементов. Основными способами измерения плановых (горизонтальных) смещений являются линейно-угловые измерения и боковое нивелирование.

Линейно-угловые построения применяют при изучении деформаций сооружений и их отдельных элементов (опорный контур, элементы перекрытия, звенья арок и сводов и т.д.) в тех случаях, когда наблюдаемые точки располагаются на разных высотах, которые, как правило, труднодоступны.

Способ бокового нивелирования применяют для контроля поперечных горизонтальных смещений сооружений и конструктивных элементов прямолинейной формы.

4.2.1. Способ бокового нивелирования

4.2.1.1. Горизонтальные смещения строительных конструкций определяют относительно основного монтажного створа, закрепленного опорными точками А и В (рис. 4.2). В случае отсутствия прямой видимости для измерений необходимо задать смещенный створ, параллельный основному и расположенный на минимально возможном расстоянии l от него. Порядок работы следующий:

в точке А устанавливают теодолит, задают прямой угол ВАС и в створе АС фиксируют временную точку С на расстоянии 5 - 10 м;

над точкой С устанавливают штатив с трегером и центрируют;

из трегера в точке А вынимают теодолит и устанавливают над точкой С;

над точкой А устанавливают визирную цель (марку);

в створе линии АС, в точке А′ устанавливают штатив с трегером по возможности на минимальном расстоянии от точки А, трегер выставляют в вертикальное положение;

в трегеры над точками А и А′ вставляют вкладыши с перекрестиями для точных линейных измерений и измеряют расстояние между ними компарированной рулеткой. Делают три приема измерений, если определяемые расстояния не отличаются более чем на 0,5 мм;

полученное расстояние l аналогичным образом откладывают от точки В;

заданный вспомогательный створ А′В′ закрепляют постоянными знаками в полу;

теодолит устанавливают над точкой А′ и ориентируют на точку В′;

металлическую рейку, снабженную игольчатой пяткой, последовательно устанавливают в места, предназначенные для измерений, и горизонтируют по цилиндрическому уровню, закрепленному на рейке. При каждой установке рейки по ее шкале берут 3 отсчета (при двух кругах).

Рисунок 4.2. Измерение горизонтальных смещений строительных конструкций
колонн способом бокового нивелирования

1 - теодолит, 2 - визирная марка, 3 - рейка, 4 - основной створ,
5 - смещенный створ; 6 - наблюдаемые точки

4.2.1.2. Основными погрешностями бокового нивелирования являются:

погрешность разбивки смещенного створа mств;

погрешность центрирования теодолита и визирной цели;

погрешность установки рейки перпендикулярно основному монтажному створу АВ;

погрешность отсчета по рейке.

Общую погрешность способа вычисляют по формуле [13]

(4.16)

4.2.1.3. Средняя квадратическая погрешность разбивки параллельного створа складывается из погрешностей построения прямого угла и расстояния l

(4.17)

При ml = 0,5 мм, mβ = 15,0″, l = 500 мм получим mств = 0,51 мм.

4.2.1.4. Среднюю квадратическую погрешность установки рейки перпендикулярно к створу вычисляют по формуле

(4.18)

где v - угол отклонения рейки от перпендикулярного положения.

При v = 2° и l = 500 мм получим mж = 0,2 мм.

4.2.1.5. Влияние средней квадратической погрешности центрирования и установки визирной цели определяют по формуле [13]

(4.19)

где d - расстояние от теодолита до определяемой точки;

s - расстояние между исходными точками (длина створа);

е - средняя квадратическая величина линейного элемента центрирования.

При е = 1,0 мм, d = 25 м, s = 50 м имеем mц = 0,5 мм.

4.2.1.6. Средняя квадратическая погрешность отсчета по рейке не превышает величины m0 = 0,5 мм, а общая погрешность способа m составит ~1 мм. Полученная величина не превышает требуемой точности определения горизонтальных смещений по ГОСТ 24846-81.

4.2.2. Способы линейно-угловых измерений

К способам линейно-угловых измерений относят:

способ полярных координат;

прямую линейно-угловую засечку;

обратную линейно-угловую засечку.

4.2.2.1. В способе полярных координат положение деформационной марки определяется измерением направления АС (рис. 4.3, а) и горизонтального расстояния S с помощью электронного тахеометра.

Точность данного способа определяют, используя следующие формулы:

(4.20)

Из предрасчета точности определения координат деформационной марки с использованием конкретных данных (α = 45°, S = 50 м, mS = 2,0 мм, mα = 2,0″) имеем mx = my = 1,45 мм.

Точность определения горизонтального смещения марки по осям координат, определенного из двух приемов при указанных выше данных, будет характеризоваться средними квадратическими погрешностями mδx = mδy = 2,0 мм.

Полученная величина не превышает допускаемую погрешность определения горизонтальных смещений (ГОСТ 24346-81).

4.2.2.2. Способ прямой линейно-угловой засечки заключается в определении планового положения деформационной марки из измерений углов β1 и β2 и расстояний S1 и S2. Пример построения прямой линейно-угловой засечки приведен на рисунке 4.3, б. На каждую контролируемую точку измерение выполняют электронным тахеометром минимум с двух пунктов геодезической сети. На рис. 4.4 показан случай использования прямых и обратных линейно-угловых засечек.

Рисунок 4.3. Схемы линейно-угловых измерений

а - полярных координат; б - прямой линейно-угловой
засечки, в - обратной линейно-угловой засечки
□ - исходный пункт,
о - определяемый пункт (деформационная марка)

Рисунок 4.4. Пример использования линейно-угловых засечек
при проведении планового геодезического мониторинга

1 - объект мониторинга; 2 - здания или сооружения, положение которых является стабильным,
3 - стенной исходный плановый знак, 4 - место стояния электронного тахеометра;
5 - деформационные марки на несущих строительных конструкциях,
по которым определяют их смещения в плане

Уравнивание деформационной сети выполняют на ЭВМ. Программа уравнивания должна предусматривать оценку точности координат всех пунктов.

4.2.2.3. Обратную линейно-угловую засечку (рис. 4.3, в) используют при привязке к исходной основе пунктов плановой деформационной сети, если над ними беспрепятственно устанавливается прибор, или при определении местоположения произвольной точки стояния прибора, с которой в дальнейшем наблюдаются марки деформационной сети. Обязательным условием является хорошая видимость на исходные пункты и углы при определяемой точке не менее 30°.

При использовании тахеометра выбирается необходимая программа измерений и последовательно вводятся координаты исходных точек (минимум двух или трех в зависимости от модели тахеометра). После наведения на исходные точки и обработки результатов измерений встроенной в тахеометр программой на экран выводятся координаты определяемой точки и средние квадратические погрешности определения данных координат.

При использовании теодолита на определяемой точке измеряют углы между исходными пунктами и расстояния до этих пунктов. Обработку результатов выполняют в камеральных условиях. Если число исходных пунктов три и более, можно использовать угловую засечку вместо линейно-угловой. В этом случае теодолитом (тахеометром) измеряют только углы между исходными пунктами.

4.2.3. Способы определения кренов

Измерение крена высотного сооружения в начальный период строительства состоит в измерении крена его фундамента методом нивелирования закрепленных на нем деформационных марок. Зная расстояние l между осадочными деформационными марками, крен в линейной мере при высоте здания Н вычисляют по формуле

(4.21)

где ΔS = Si+1 - Si - разность превышений между марками в начале и в конце периода наблюдения за креном фундамента.

Крен q определяют по двум взаимно перпендикулярным направлениям строительных осей здания. Полную величину крена и его дирекционное направление вычисляют по формулам:

(4.22)

tgαQ = qy/qx.

(4.23)

В последующие этапы строительства в зависимости от загруженности территории дополнительно используют следующие способы определения крена наземной части сооружения:

- координат;

- наклонного проектирования;

- по результатам нивелирования и обработки с использованием вероятнейшей плоскости на контролируемых горизонтах;

- с помощью оптического квадранта.

4.2.3.1. В способе координат с двух пунктов полигонометрического хода (внешняя сеть) через определенные промежутки времени прямой линейно-угловой засечкой определяют координаты визирной марки, закрепленной на сооружении. По разностям координат между текущим и начальным циклами вычисляют составляющие крена за промежуток времени между циклами:

(4.24)

Полную величину крена вычисляют по формуле (4.22), а его направление - по формуле (4.23). Среднюю квадратическую погрешность определения крена с двух опорных пунктов вычисляют по формуле

(4.25)

где γ - угол засечки, который должен быть не менее 30°; S1, S2 - см. рис. 4.5.

4.2.3.2. Способ наклонного проектирования заключается в следующем. На двух взаимно перпендикулярных осях сооружения закладывают постоянные пункты I и II (рис. 4.5). На эти пункты периодически устанавливают теодолит и проектируют видимую верхнюю точку сооружения на некоторую плоскость в основании сооружения. В этой плоскости, перпендикулярной к коллимационной плоскости теодолита, устанавливают горизонтальную рейку, пятка которой однозначно фиксируется в каждом цикле измерений. При измерениях верхнюю точку сооружения проецируют на плоскость рейки (см. рис. 2.2). Для определения полной величины крена производят одновременные наблюдения верхней точки с пунктов I и II и переходят от составляющих q1′ и q2′ в центральной проекции к ортогональным величинам q1 и q2.

Рисунок 4.5. Способ наклонного проектирования

В соответствии с рис. 4.5:

(4.26)

где d1, d2 - измеренные расстояния до реек;

S1, S2 - расстояния от пунктов I и II до наблюдаемой точки.

Величина крена Q и его направление с достаточной точностью определяются по правилу параллелограмма по формулам (4.22), (4.23). Если угол засечки менее 90°, то полную величину крена вычисляют по формуле

(4.27)

Проектирование верхней точки выполняют по следующей методике. При круге лево визируют верхнюю точку сооружения, берут отсчеты по горизонтальному кругу теодолита и по концам пузырька накладного уровня. Закрепив трубу в горизонтальной плоскости, в вертикальной наводимся на рейку. Сняв отсчеты по накладному уровню, исправляем поправкой Δ отсчет по горизонтальному кругу и снимаем отсчет по рейке PL.

Аналогичные действия повторяют при круге право и снимают отсчет PR. Среднее из PL и PR соответствует проекции верхней точки сооружения на нижнюю горизонтальную плоскость.

Поправка Δ в направление за наклон основной оси инструмента вычисляется по формуле

(4.28)

где b - наклон оси, выраженный в полуделениях,

 - цена полуделения уровня.

Наклон оси b вычисляют по формуле

(4.29)

где (Л + П)0 - сумма отсчетов по левому и правому концам пузырька для случая, когда нуль шкалы находится справа от направления теодолит - визирная цель, 0(Л + П) - когда нуль слева (при другом круге).

(4.30)

где Л1 и П1 - отсчеты уровня по левому и правому концам пузырька в первом полуприеме;

Л2 и П2 - во втором полуприеме.

Эти формулы справедливы для случая, когда нуль шкалы уровня находится на краю ампулы. В случае иной подписи делений на ампуле уровня наклон оси b вычисляют по другим формулам.

Среднюю квадратическую погрешность крена в этом случае вычисляют по формуле

(4.31)

где

mlср - средняя квадратическая погрешность отсчета по рейке, взятого при двух кругах наведения.

4.2.3.3. Способ определения крена по результатам нивелирования и обработки с использованием вероятнейшей плоскости [1] применяется, когда невозможно определять крены с пунктов наземной сети из-за значительной высоты сооружения (Н > 150 м). В этом случае на исходном и i-м монтажном горизонтах закладывают не менее 8 осадочных марок. Определяют координаты всех марок в единой системе с точностью до 0,1 м. Передачу отметок с исходного на контролируемый горизонт выполняют двумя нивелирами и компарированной рулеткой с погрешностью 0,5 мм. Выполняют нивелирование осадочных марок на исходном и i-м горизонтах. В последующих циклах - только нивелирование на i-м монтажном горизонте.

По результатам нивелирования осадочных марок, заложенных на исходном горизонте и на контролируемом горизонте, находят абсолютные осадки каждой марки по формуле

Sj = Hj - H0

(4.32)

Решение задачи по определению кренов указанных горизонтов выполняют в следующей последовательности:

находят центральные координаты хц и yц с точностью 0,1 м;

вычисляют параметры вероятнейшей плоскости а, в и с;

по параметрам в и с находят угловую величину полного крена φ и угол α, характеризующий направление полного крена;

вычисляют величины частных и полного крена с оценкой точности на каждом из горизонтов;

по разностям параметров а, в и с, полученных на i-м и исходном горизонтах, вычисляют изменения средней осадки, частных и полного кренов.

Алгоритм вычисления кренов с использованием вероятнейшей плоскости приведен в приложении 11.

4.2.3.4. Измерение крена оптическим квадрантом (отклонений от вертикали) следует производить на контрольном горизонте по закладным в колоннах или других монолитных конструкциях. На рис. 4.6 приведен общий вид оптического квадранта.

Рисунок 4.6. Квадрант КО-10

1 - основание; 2 - корпус, 3 - лимб установочный, 4 - уровень;
5 - винт зажимной; 6 - окуляр, 7 - винт микрометренный

Квадрант состоит из основания, корпуса, содержащего стеклянный лимб, и отсчетной оптико-механической шкалы. На корпусе закрепляют два уровня: продольный основной (точный) и поперечный (вспомогательный). Основание представляет собой плоскую отшлифованную линейку с магнитным прижимом.

Измерения выполняют при двух положениях квадранта (до и после его разворота на 180°). Это составляет один прием. Всего производят 3 приема измерений. Для измерения угла наклона квадрант устанавливают на контролируемую поверхность с ориентацией в надлежащей плоскости, поворачивают вращающуюся внутри корпуса часть до приблизительной остановки в центре ампулы пузырька продольного уровня. Затем, используя микрометренный винт, точно устанавливают пузырек и снимают отсчет по лимбу. При последней операции надлежит убедиться в том, что и пузырек поперечного уровня находится примерно в середине ампулы.

Ошибки собственно измерений наклона квадрантами при идеальном качестве и чистоте поверхности составляют, соответственно, не более для: КО-2 - ±5″; КО-10 - ±10″; КО-60 (КО-30) - ±30″ (см. таблицу 4.2). Для высотных зданий рекомендуется использовать КО-10.

Таблица 4.2 - Основные технические характеристики оптических квадрантов

Параметр

КО-2

КО-10

КО-60 (КО-30)

Диапазон измерения углов по лимбу, град.

0 - 360

0 - 360

±120

Цена деления шкалы отсчетного устройства, с

2

10

60

Цена деления шкал:

 

 

 

основного уровня, с

4

15

30

поперечного уровня, мин

2

4

14

лимба, мин

10

20

60

наружной, град.

-

5

1

Длина основания, мм

200

120

100

Масса, кг

8

4

3

По завершении циклов измерений оптическим квадрантом вычисляют средние изменения крена на контрольном горизонте.

В заключении раздела 4 приведена таблица 4.3, в которой указаны отдельные виды измерений, используемые в геодезическом мониторинге, их погрешности и рекомендации по применению.

Таблица 4.3 - Предрасчетные точности основных видов измерений и реконструкции по применению их при геодезическом мониторинге

Вид измерений, используемые геодезические приборы

Ср. кв. погрешность (СКП), мм

Рекомендации по применению

Высокоточное геометрическое нивелирование коротким визирным лучом (S = 6 - 25 м)

Создание опорной и деформационной высотной сети, наблюдения за осадками и кренами фундамента

Высокоточные нивелиры:

 

на 1 км двойного хода

0,3

превышение на станции

0,07

Полярный способ

определение координат х, у

2,0

 

Линейно-угловые засечки:

 

 

прямая засечка

1,0 - 1,5

Наблюдения за плановыми смещениями

обратная засечка

1,5 - 2,0

 

Электронные тахеометры (mβ = 5″, mS = 2 мм)

 

 

Боковое нивелирование

Наблюдение за горизонтальными поперечными смещениями

Точные теодолиты (mβ = 2,0″)

1,0 - 2,0

Наклонное проектирование

Астрономический теодолит с накладным уровнем (mβ = 0,7 - 1,0″) или электронный тахеометр аналогичной точности

0,5 - 1,0

Наблюдения за кренами

Тригонометрическое нивелирование (S < 100 м)

Наблюдения за покрытиями большепролетных сооружений

Электронные тахеометры (mZ = 2″, mS = 2 мм)

 

превышение на станции

2,0

Полигонометрические ходы

Электронные тахеометры (mZ = 2″, mS = 2 мм)

1:25000

Создание опорных сетей

Примечание - Предрасчет указанных погрешностей выполнен для расстояний ~50 м. Точность может быть повышена разработкой специальных методов измерений.

5. МАТЕМАТИЧЕСКАЯ ОБРАБОТКА РЕЗУЛЬТАТОВ ГЕОДЕЗИЧЕСКОГО МОНИТОРИНГА

Математическую обработку результатов измерений проводят в следующей последовательности:

предварительные вычисления;

уравнивание результатов измерений;

вычисление плановых и высотных деформаций с оценкой точности;

анализ и оценка деформаций; корреляционный анализ;

систематизация и оформление материалов.

5.1. Математическая обработка высотных измерений

5.1.1. Предварительные вычисления включают:

проверку и оформление полевых журналов;

составление ведомостей превышений и высот пунктов нивелирования;

оценку качества нивелирования по разностям двойных измерений превышений и невязкам в полигонах до уравнивания по формулам (4.1) и (4.2);

составление и вычерчивание схемы нивелирных ходов (сетей).

5.1.2. Уравнивание нивелирных сетей включает следующие этапы:

установление весов по формуле

(5.1)

где с - постоянный коэффициент;

n - число штативов в данной линии;

уравнивание коррелатным или параметрическим способом.

5.1.3. Оценка качества нивелирования состоит в вычислении средней квадратической погрешности единицы веса μ по формулам (4.3) и (4.4) и средней квадратической погрешности вычисления отметки деформационной марки в наиболее слабом месте сети по формуле

(5.2)

где QH - обратный вес отметки наиболее слабо определяемой марки.

5.1.4. При вычислении высотных деформаций (осадок) оснований и сооружений используют формулы:

полная или абсолютная осадка

Si = Hi - H0,

(5.3)

где Н0 - отметка наблюдаемой высотной марки в начальном (нулевом) цикле наблюдений;

Hi - отметка той же марки в i-м цикле наблюдений;

текущая осадка

Si(тек) = Hi+1 - Hi,

(5.4)

средняя осадка

(5.5)

где n - число наблюдаемых точек;

разность осадок для двух наблюдаемых марок n и m в одном цикле наблюдений с номером i

Для одной и той же марки n как разность осадок в двух циклах i и i + 1

Sn)i,i+1 = (Sn)i+1 - (Sn)i;

(5.7)

относительная осадка

(5.8)

где L - расстояние между двумя марками;

симметричный относительный прогиб отдельных частей сооружений

(5.9)

где Sm и Sn - осадки марок, расположенных на краях прямолинейного участка сооружения длиной L;

Sk - осадка марки, расположенной посередине, между точками m и n;

скорость осадки некоторой марки - среднемесячная или среднегодовая

(5.10)

где t - время наблюдений, выраженное в месяцах или годах;

средняя скорость осадки всего сооружения

(5.11)

где r - число наблюдаемых марок.

5.1.5. Для оценки точности приведенных в пункте 5.1.4 видов деформаций используют следующие формулы. Средние квадратические погрешности определения абсолютных и текущих осадок:

(5.12)

где , ,  - средние квадратические погрешности определения отметки осадочной марки в нулевом, i-м и текущем циклах измерений.

При  =  =  = mH получим

(5.13)

В этом случае для деформаций, вычисленных по формулам (5.6) - (5.9), погрешности получают из соответствующих выражений:

 =  = 2mH;

(5.14)

(5.15)

(5.16)

Формулы (5.14) - (5.16) получены при одинаковой точности определения осадок марок. Предельную погрешность осадки марки принимают равной

δS = 3mS

(5.17)

5.2. Математическая обработка плановых измерений

5.2.1. Предварительные вычисления результатов полевых измерений включают:

обработку угловых и линейных измерений в полевых журналах;

контроль и оценку точности полевых измерений;

составление рабочей схемы деформационной сети.

5.2.2. Уравнивание линейно-угловых измерений деформационных сетей выполняют, как правило, параметрическим способом на ЭВМ. Можно использовать программы уравнивания, учитывающие погрешности исходных данных (т.е. пунктов опорной сети).

5.2.3. Оценка точности уравнивания состоит в вычислении средней квадратической погрешности единицы веса μ по формулам (4.3) и (4.4) и средней квадратической погрешности определения координат по формулам:

(5.18)

где Qx и Qy - весовые квадратичные коэффициенты по осям координат, получаемые в результате уравнивания.

5.2.4. Для различных зданий и сооружений вычисляют следующие виды плановых смещений:

полные или абсолютные смещения

(5.19)

средние смещения

(5.20)

Разности смещений по оси х вычисляют по формулам:

(ΔSnm)xj = (Sn)xj - (Sm)xj,

(5.21)

(ΔSn)xj, xj+1 = (Sn)xj+1 - (Sn)xj,

(5.22)

где n, m - номера наблюдаемых пунктов.

Значения разностей смещений по оси y находят из аналогичных выражений.

5.2.5. Оценку точности плановых смещений, вычисленных по формулам (5.19), (5.21), (5.22), выполняют по аналогичным (5.13) и (5.14) формулам, с заменой в них погрешности mH на погрешности mх или my.

5.2.6. Существенной характеристикой плановых деформаций для высотных сооружений является крен. В линейной мере крен вычисляется по формуле (4.21). Средняя квадратическая погрешность определения крена с двух опорных пунктов вычисляется по формуле (4.25), а при способе определения крена наклонным проектированием - по формуле (4.29).

5.3. Корреляционный анализ величин деформаций

Корреляционный анализ выполняют с целью установления связи между величинами деформаций зданий и сооружений и возможными причинами их возникновения. Предварительное суждение о виде корреляционной связи делают на основе изучения графика, по одной оси которого откладывают величины деформаций, а по другой - величины, характеризующие изменения того или иного фактора (рост нагрузки на основание фундамента, колебание уровня грунтовых вод, изменение температуры и т.д.).

Степень связи определяется коэффициентом корреляции

(5.23)

где  и  - средние арифметические величины;

n - число наблюдений;

  - средние квадратические отклонения х и у.

Для оценки надежности коэффициента корреляции при n < 50 используют критерий Фишера [16].

При числе n > 50 рекомендуется для среднего квадратического отклонения коэффициента корреляции применять формулу [18]

(5.24)

Связь является установленной, если выполняется условие

r ≥ 3σ(r).

(5.25)

В заключение составляется уравнение регрессии, которое после анализа используется для прогноза [16]. Ниже приводится уравнение регрессии наиболее простого и широко распространенного случая линейной корреляционной связи

(5.26)

где ρх/t - коэффициент регрессии х на t, вычисленный по формуле

(5.27)

Уравнение регрессии используют для прогнозирования смещений сооружений и их осадок.

Пример вычисления коэффициента корреляции помещен в приложении 16. В приложении вычислены коэффициенты корреляции для марок с максимальной, минимальной и средней осадкой (соответственно, марки 2, 18, 14), которые оказались равными r2 = -0,970, r18 = -0,936, r14 = -0,984. Затем согласно приведенной формуле (5.26), отражающей прямолинейную корреляционную связь, составлены уравнения регрессии, которые имеют вид:

Вычисленные уравнения регрессии полных (абсолютных) осадок в различных циклах позволяют определять величины вертикальных перемещений в любой момент времени после начала загрузки основания и прогнозировать их на несколько циклов вперед.

5.4. Анализ и оформление материалов мониторинга

Способы обработки и оформления материалов по результатам наблюдений за деформациями рассмотрены на примере наиболее распространенного вида геодезических работ - наблюдение за осадками сооружений.

После предварительной обработки нивелирования, уравнивания и вычисления отметок деформационной сети дальнейшую обработку, анализ и оформление материалов выполняют в следующей последовательности:

1) после каждого последующего цикла измерений составляют ведомости полных, текущих и средних осадок (приложение 12); вычисляют средние квадратические погрешности осадок msi всех деформационных марок по формуле (5.12). Если осадки Si не превышают 3msi, то делается вывод о том, что деформации строительных конструкций находятся в пределах точности геодезических измерений.

2) составляют схему расположения деформационных марок фундаментной плиты здания и вычерчивают схему изолиний равных осадок (приложение 13) по величинам абсолютных осадок после каждого цикла измерений. Такая схема дает наглядное представление о состоянии деформаций грунтов в основании фундаментной плиты в данный момент времени;

3) составляют развернутые графики полных осадок всех или выборочно деформационных марок в различных циклах наблюдений (приложение 14);

4) составляют графики осадок нескольких марок с максимальной, минимальной и средней осадками с целью предварительного суждения о виде корреляционной связи (приложение 15);

5) для каждого цикла измерений производят оценку точности;

6) в случае выполнения корреляционного анализа вычисляют коэффициенты корреляции с оценкой их надежности (приложение 16) и составляют уравнение регрессии.

Обработку и оформление результатов измерения плановых деформаций выполняют согласно разделам 4.2 и 5.2. В приложении 17 приводится графическое оформление частных кренов qx и qy, полного крена Q и его направления, вычисленных по формулам (4.17) - (4.19). В приложении 18 приведен пример оформления измерений цикла мониторинга большепролетного сооружения [15].

5.5. Программное обеспечение математической обработки

Программное обеспечение геодезического мониторинга за деформациями наблюдаемых конструкций должно решать следующие задачи:

передача полевых данных из наблюдательной станции в компьютер;

предварительная обработка полевых измерений;

решение прямых и обратных линейно-угловых засечек;

строгое уравнивание линейно-угловых и высотных сетей;

преобразование координат; предоставление результатов мониторинга в табличном или графическом виде.

В настоящее время отсутствует единая программа, способная решить все поставленные задачи одновременно. В связи с этим при проведении геодезического мониторинга используют несколько геодезических программ, комплексное использование которых позволяет полностью решить следующие задачи, приведенные в таблице 5.1.

Таблица 5.1

Программное обеспечение

Основные задачи, решаемые программным обеспечением

MAPSUITE+

1. Передача данных из электронных тахеометров.

2. Уравнивание ходов и плановых сетей по методу наименьших квадратов и поиск грубых ошибок.

3. Графический редактор для создания цифровой модели рельефа.

Geo-Basic

1. Ведение каталога координат и отметок геодезических пунктов.

2. Вычисление обратных угловых засечек.

3. Вычисление прямых угловых засечек.

4. Вычисление привязки к стенным реперам точек внецентренного стояния.

5. Решение линейных засечек.

6. Вычисление теодолитных ходов (в том числе ходов с координатной привязкой, висячих ходов, ходов-вставок).

7. Вычисление нивелирных ходов (в том числе висячих).

8. Обработка журнала тахеометрической съемки.

9. Решение обратных геодезических задач.

10. Пересчет прямоугольных координат из одной системы в другую.

CREDO DAT 3.0 Инженерная геодезия

1. Импорт данных, полученных с электронных регистраторов и тахеометров в форматах - Sokkia (SDR2×, 3×), Nikon (300, DTM400 710, RDF), Geodimeter (ARE, JOB), Leica (GRE, GSI), Topcon (GTS6, GTS7), Zeiss (R4, R5, Rec500, RecE), УОМЗ (2TA5, 3TA5).

2 Импорт данных непосредственно с прибора 3ТА5.

3. Импорт координат (X, Y, Z), данных измерений из текстовых файлов в произвольных форматах, настраиваемых пользователем.

4. Предварительная обработка измерений, учет различных поправок - атмосферных, за влияние кривизны Земли и рефракции, переход на поверхность относимости, на плоскость в выбираемых и настраиваемых пользователем проекциях.

5. Выявление, локализация и нейтрализация грубых ошибок в линейных угловых измерениях и нивелировании автоматически.

6. Совместное строгое уравнивание по методу наименьших квадратов линейно­угловых сетей геодезической основы разных форм, классов и методов (комбинации методов) создания с развернутой оценкой точности, включающей эллипсы ошибок.

7. Уравнивание систем и ходов геометрического, тригонометрического нивелирования.

8. Обработка тахеометрической съемки с формированием топографических объектов и их атрибутов по данным полевого кодирования.

9. Проектирование опорных геодезических сетей, выбор оптимальной схемы сети, необходимых и достаточных измерений, подбор точности измерений.

10. Настройка выходных документов под стандарты предприятия пользователя с использованием Генератора отчетов.

11. Оформление в Компоновщике чертежей и печать графических документов и планшетов.

12. Экспорт данных в системы Mapinfo, ArcView, в открытый обменный формат, в настраиваемые пользователем форматы, в формат DXF.

НИВЕЛИР 1.0 Камеральная обработка геометрического нивелирования

1. Предварительная обработка измерений; анализ соответствия требованиям нормативных документов для двух горизонтов, левого и правого хода, прямого и обратного хода.

2. Расчет поправок за переход к нормальным высотам для нивелирования I - II классов.

3. Расчет превышений для уравнивания, расчет предварительных отметок, формирование топологии сети, автоматический анализ полигонов с предварительной оценкой точности измерений.

4. Расчет случайных и систематических ошибок нивелирования.

5. Параметрическое уравнивание сетей.

Auto Desk Servey

1. Импорт данных, полученных с электронных регистраторов и тахеометра.

2. Уравнивание данных полевой съемки производится по методу наименьших квадратов.

RGS

1. Обработка и уравнивание любых геодезических сетей.

«Пифагор» (Pythagoras) ADW Software, Бельгия

1. Импорт данных с различных внешних накопителей (тахеометров).

2. Встроенное ядро CAD (не нужен AutoCAD).

3. Преобразование координат в различные системы координат.

4. Вычисление засечек.

5. Аппроксимация точек линией, дугой и окружностью.

6. Отрисовка горизонталей.

Leica Lis CAD (и Leica Geo Office) Leica Geosystems, Швейцария

1. Импорт данных с внешних накопителей (тахеометров).

2. Уравнивание линейно-угловых сетей любой конфигурации.

3. Преобразование координат.

4. Создание цифровой модели.

CADdy ZIEGLER Informatics, Германия

1. Импорт данных с тахеометров.

2. Уравнивание геодезических сетей.

3. Создание цифровых карт.

4. Расчет и построение горизонталей.

GeoMoS Leica Geosystems, Швейцария

Предназначается для постоянного контроля за смещениями и деформациями сооружений, зданий, откосов и дамб. Она базируется на технологии Client/Server и обеспечивает надежное слежение за устойчивостью объектов благодаря собственной информационной системе и использованию разнообразных методов анализа. В нее может быть включено несколько TPS, GPS и метеорологических датчиков. Местоположение TPS определяется и контролируется посредством GPS или эталонных измерений.

Кроме того, данная система располагает гибкой системой управления циклами измерений, дистанционным доступом к разнообразным средствам связи (модемы, кабельные сети, LAN), функционалом для автоматических расчетов и разнообразными возможностями графического представления. Благодаря применению базы данных имеется возможность манипулирования, обработки и сохранения больших объемов информации. GeoMoS состоит из двух программных компонентов: Monitor и Analyzer. GeoMoS Monitor занимается управлением датчиками, сбором, обработкой и передачей данных, а также использует в работе разнообразные контролирующие и информационные функции. GeoMoS Analyzer - это система, предназначенная для графического представления и анализа результатов измерений.

AutoCAD

Предназначается для графической обработки полевых геодезических измерений и оформления результатов вычислений.

Microsoft Office (Word, Excel)

Предназначается для обработки геодезических измерений и предоставления результатов в табличном и графическом виде.

6. АВТОМАТИЗИРОВАННЫЕ МЕТОДЫ ГЕОДЕЗИЧЕСКОГО МОНИТОРИНГА ВЫСОТНЫХ И БОЛЬШЕПРОЛЕТНЫХ ЗДАНИЙ И СООРУЖЕНИЙ В ПРОЦЕССЕ ЭКСПЛУАТАЦИИ

Опыт многолетнего геодезического обеспечения строительства подтвердил надежность и оперативность геодезических методов в процессе строительства. Последние достижения науки и техники позволили на базе апробированных и проверенных на стройках методов создать стационарные системы контроля геометрических параметров высотных и большепролетных зданий и сооружений в автоматическом режиме (в реальном масштабе времени) в процессе эксплуатации [7], [8], [9], [10], которые либо дополняют традиционные методы измерений, либо заменяют их полностью.

При оснащении стационарных систем геодезического мониторинга положительный опыт использования нашли при высотном строительстве видеогидростатические системы, видеоизмерительные системы измерения колебаний и плановых смещений верха сооружений, системы на основе обратных отвесов для большепролетных сооружений и автоматизированные системы на основе моторизованных электронных тахеометров. Системы на основе спутниковых приемников в настоящее время проходят опытную апробацию и поэтому в настоящей методике не рассматриваются.

6.1. Порядок проектирования, разработки и создания автоматизированных систем контроля (АСК) деформаций в процессе эксплуатации

6.1.1. Необходимость создания автоматизированной системы контроля деформации в процессе эксплуатации определяют генеральный проектировщик, заказчик, орган экспертизы проекта и надзорный орган.

6.1.2. К проектированию и разработке автоматизированных систем мониторинга строительных конструкций привлекают организации, обладающие научно-техническими кадрами с профильным образованием, необходимой приборно-инструментальной базой и метрологической лабораторией, аккредитованной Ростехрегулированием и строительными лицензиями по направлению деятельности «Проектирование».

6.1.3. Работы по проектированию, разработке и созданию автоматизированных систем контроля (АСК) осуществляют на основании договора с заказчиком строительства, генпроектировщиком или службой эксплуатации сооружения.

6.1.4. Финансирование работ по созданию автоматизированных систем контроля должно быть предусмотрено в сводной смете на проектирование, строительство или реконструкцию объекта.

6.1.5. Состав и объем работ по проектированию, разработке и созданию автоматизированных систем контроля (АСК) определяет «Техническое задание». Возможно составление отдельных технических заданий на проектирование и изготовление.

6.1.6. Техническое задание на проектирование автоматизированных систем контроля (АСК) предусматривает следующие разделы:

цель работ;

состав системы;

основные метрологические характеристики системы;

состав проектной документации;

сроки выполнения работ;

результаты работ.

Техническое задание утверждают генпроектировщик и заказчик объекта.

6.1.7. На основании технического задания разрабатывают «Проект АСК» в составе:

исходные данные и особенности конструкции сооружения;

рассмотрение вариантов решения задачи;

выбор основного варианта системы;

пояснительная записка (принципиальная схема измерений, состав системы, установочное оборудование системы, измерительное оборудование, рабочее место оператора, программное обеспечение);

алгоритм работы автоматизированной системы;

расчет точности системы;

метрологическое обеспечение системы;

геодезическое обеспечение монтажа системы;

штаты и режим работы;

техника безопасности;

сметная часть;

спецификация.

Точность системы должна обеспечивать измерение с погрешностью не более 0,2 величины деформации, допускаемой проектом.

6.1.8. Рабочий проект системы детализирует технические решения «Проекта» в части мест крепления установленного оборудования, их конструкции, способа крепления, электрических схем системы и программного обеспечения. В «Рабочем проекте» приводят проектные координаты размещения установочного и измерительного оборудования системы и инструкцию по монтажу оборудования.

6.1.9. Разработка автоматизированной системы ведется на основании ГОСТ 34.201-89; обязательными техническими документами являются «Руководство по эксплуатации системы» и «Паспорт системы».

6.1.10. «Руководство по эксплуатации системы» должно содержать следующие разделы:

назначение системы;

технические характеристики системы;

состав системы;

устройство и работа системы;

подготовка системы к работе;

выполнение измерений в автоматическом режиме;

обработка и анализ результатов измерений;

текущее обслуживание системы;

техника безопасности.

6.1.11. В «Паспорте системы» приводят:

общие сведения о системе;

основные технические данные и характеристики;

комплектность системы;

каталог исполнительных координат измерительного и установочного оборудования системы;

свидетельство о метрологической калибровке системы;

гарантийные обязательства;

исполнительную схему электрических соединений.

6.1.12. Приемку автоматизированных систем контроля (АСК) в эксплуатацию производят в соответствии со СНиП 3.01.04-87.

6.1.13. Одним из основных документов при приемке системы в эксплуатацию является Регламент системы, определяющий режим работы, таблицу расчета максимальных деформаций наблюдаемых точек, организацию передачи информации и правила поведения работников службы эксплуатации в экстремальной ситуации.

6.2. Автоматизированные системы геодезического мониторинга высотных зданий и сооружений

В период эксплуатации мониторинг высотных зданий и сооружений проводят преимущественно с использованием автоматизированных систем на основе видеоизмерений.

6.2.1. Общие положения и технические требования

6.2.1.1. Автоматизированная система должна предусматривать измерения в реальном масштабе времени следующих геометрических параметров деформаций:

наклонов фундаментов, неравномерной осадки фундаментов;

отклонений от вертикали верха здания;

колебаний верха здания;

кручения верха здания.

Для измерения наклонов фундаментов и неравномерной осадки фундаментов используют стационарную видеогидростатическую систему, для измерения отклонения от вертикали верха здания, колебаний и кручений верха здания - видеоизмерительную систему измерения колебаний и плановых смещений верха сооружения и стационарную автоматизированную систему контроля деформаций на основе обратных отвесов.

6.2.1.2. Системы автоматизированного мониторинга должны обеспечивать точность измерения деформаций в зависимости от высоты здания, которая приведена в п. 2.5.

Вся информация в системе автоматизированного мониторинга выводится на экран монитора.

6.2.1.3. Входящие в систему автоматизированного мониторинга измерительные датчики должны определять деформационные параметры прямыми непосредственными измерениями и иметь метрологические свидетельства.

Наработка на отказ измерительных датчиков системы автоматизированного мониторинга не должна быть менее 25000 ч.

6.2.1.4. При достижении предельных значений деформаций система автоматизированного мониторинга должна вырабатывать сигнал тревоги.

6.2.1.5. Для контроля наклонов фундамента устанавливают измерительные пункты (железобетонные столбы 300×300×300 мм, жестко связанные с фундаментом здания), которые располагают вдоль главных осей здания для измерения продольных и поперечных наклонов. По каждой из осей устанавливают не менее 5 измерительных пунктов. На измерительные пункты устанавливаются датчики, образующие гидростатическую систему, соединенную шлангами, заполненными специальной жидкостью.

6.2.1.6. Измерительные датчики (видеодатчики) для измерения отклонения от вертикали верха здания, колебаний верха здания и кручения верха здания устанавливают на измерительные пункты (железобетонные столбы 300×300×1000 мм, жестко связанные с фундаментом здания), расположенные по диагонали здания. Измерительных датчиков (видеодатчиков) должно быть не менее двух.

В верхней части здания на одной вертикали с измерительными датчиками устанавливают визирные марки. Между измерительными датчиками и визирными марками должна быть обеспечена прямая видимость. Для этой цели могут быть использованы лестничные проемы, лифтовые шахты, отверстия в перекрытиях и т.д. Диаметр сквозного отверстия для обеспечения прямой видимости должен быть не менее 500 мм.

6.2.1.7. Измерительные датчики должны быть защищены кожухами (быть вандалозащищенными) и обеспечены электропитанием постоянным током с напряжением 12 В.

Измерительные пункты связывают с центральным (диспетчерским) пунктом каналом связи, четырехжильным кабелем типа «витая пара». Центральный диспетчерский пункт оснащается компьютером с процессором не ниже «Pentium-4», контроллером для ввода видеосигнала в компьютер и принтером для документирования информации.

6.2.1.8. Системы автоматизированного мониторинга должны иметь возможность внутренней метрологической калибровки без демонтажа измерительных датчиков в любой момент времени.

6.2.2. Стационарная видеогидростатическая система

6.2.2.1. Стационарная видеогидростатическая система предназначена для измерения наклонов и неравномерной осадки фундаментов зданий.

6.2.2.2. Работа стационарной видеогидростатической системы основана на принципе сообщающихся сосудов и обеспечивается компьютерной обработкой стандартных видеосигналов видеоуровнемеров, установленных в сосудах гидростатической системы.

Работа стационарной видеогидростатической системы поясняется схемой рис. 6.1, на которой изображены две головки видеогидростатической системы 1 с видеоуровнемерами 2, соединенные друг с другом воздушным 3 и жидкостным 4 шлангами, и компьютер 6 с установленным контроллером 5.

Рисунок 6.1. Схема видеогидростатической системы

Согласно схеме внутренний объем видеогидростатической системы изолирован от внешней среды (от перепадов атмосферного давления), что повышает точность измерений.

Головки гидростатической системы устанавливают в контролируемых точках фундамента здания. На головках видеогидростатической системы устанавливают видеоуровнемеры, измеряющие бесконтактным способом уровень жидкости в головках.

Работа видеогидростатической системы состоит в следующем. Выходные стандартные видеосигналы видеоуровнемеров по кабельным каналам передаются в компьютер, в котором контроллером преобразуются из аналоговой формы в цифровую. Полученные массивы данных вводятся в компьютер и обрабатываются в нем для получения искомых параметров измерений.

Наклоны фундамента сооружения в направлении прямой, соединяющей точки крепления головок видеогидростатической системы, вычисляют по формуле

(6.1)

где ΔH - перепад уровней жидкости в головках видеогидростатической системы, измеренных видеоуровнемерами;

L - расстояние между контролируемыми точками фундамента;

φ0 - начальный угол наклона фундамента.

Работа видеоуровнемера поясняется схемой рис. 6.2, на которой изображены видеодатчик 1, визирные цели 2 (круглые полупроводниковые светодиоды), установленные над жидкостью 3, и компьютер 4 с установленным в нем контроллером 5.

Визирные цели установлены вокруг видеодатчика на окружности заданного диаметра так, чтобы их изображения, отраженные от измеряемого уровня жидкости (ее поверхности), попадали в поле зрения видеодатчика, который формирует стандартный видеосигнал, содержащий эти изображения.

Рисунок 6.2. Схема видеоуровнемера

Положение уровня жидкости вычисляют по формуле

(6.2)

где С - метрологическая постоянная;

D - диаметр окружности, на которой располагаются центры изображений визирных целей в видеокадре;

Н0 - начальное положение уровня жидкости в головке видеогидростатической системы.

6.2.2.3. Состав стационарной видеогидростатической системы в зависимости от габаритов и конструкции фундамента здания может меняться. Типовой состав стационарной видеогидростатической системы следующий:

головка видеогидростатической системы с видеоуровнемером

8 шт.

 

контроллер

1 шт.

 

компьютер (Pentium-4)

1 шт.

 

блок питания видеоуровнемера

1 шт.

 

комплект кабелей

1 шт.

 

компьютерная программа

1 шт.

 

Примечание - К одному контроллеру подключают до 8 видеоуровнемеров видеогидростатической системы. Компьютерная программа загружается в компьютер с лазерного диска.

6.2.2.4. Технические характеристики стационарной видеогидростатической системы программируются компьютерной программой.

Типовая стационарная видеогидростатическая система обладает следующими основными техническими характеристиками:

диапазон измерений, мм

100

 

погрешность измерений, не более, мм

0,1

 

время измерения, не более, с/канал

15

 

напряжение/ток питания видеоуровнемера от источника постоянного тока, В/мА

12/150

 

габариты головки видеогидростатической системы с видеоуровнемером, диаметр/высота, не более, мм

100/300

 

6.2.2.5. Конструктивные требования следуют из условия вандалозащищенности узлов стационарной видеогидростатической системы:

головки видеогидростатической системы и соединительные шланги должны быть защищены кожухами;

узлы крепления головок видеогидростатической системы и видеоуровнемеров должны быть опломбированы.

6.2.2.6. Основные требования к размещению и установке узлов стационарной видеогидростатической системы на фундаменте высотного здания (рис. 6.3) следующие:

головки видеогидростатической системы устанавливают на железобетонных столбах ориентировочно размером 300×300×300 мм3, жестко связанных с фундаментом здания;

головки видеогидростатической системы размещают вдоль главных осей здания (для измерения продольных и поперечных наклонов фундамента). По каждой оси должно быть установлено не менее 5 головок видеогидростатической системы;

головки видеогидростатической системы не должны устанавливаться вблизи силовых агрегатов, создающих вибрацию, вблизи вентиляторов, создающих потоки воздуха;

соединительные (воздушные и жидкостные) шланги укладывают и закрепляют горизонтально в пределах ±10 мм.

Рисунок 6.3. Схема размещения головок видеогидростатической
системы на фундаменте высотного здания

1 - головка видеогидростатической системы; 2 - компьютер с контроллером

6.2.3. Видеоизмерительная система измерения колебаний и плановых смещений верха сооружения

6.2.3.1. Видеоизмерительная система предназначена для измерения:

плановых смещений верха здания;

колебаний верха здания;

кручения верха здания.

6.2.3.2. Работа видеоизмерительной системы основана на компьютерной обработке стандартных видеосигналов видеодатчиков, в поле зрения которых находятся визирные марки.

Работа видеоизмерительной системы поясняется схемой рис. 6.4, на которой изображены визирная марка 1, установленная на заданной высотной отметке здания, видеодатчик 2, установленный на фундаменте сооружения, и компьютер 3 с установленным в нем контроллером. Оптические оси видеодатчиков установлены в вертикальном положении.

Рисунок 6.4. Схема видеоизмерительной системы измерения
колебаний и плановых смещений верха высотного здания

Работа видеоизмерительной системы состоит в следующем. Выходные стандартные видеосигналы видеодатчиков по кабельным каналам передаются в компьютер, в котором контроллером преобразуются из аналоговой формы в цифровую. Полученные массивы данных вводятся в компьютер, обрабатываются в нем и вычисляются искомые параметры измерений.

Для работы видеоизмерительной системы должна быть обеспечена прямая видимость между видеодатчиками и визирными марками во всем диапазоне измерений.

6.2.3.3. Состав видеоизмерительной системы в зависимости от конструкции высотного здания может меняться. Типовой состав следующий:

видеодатчик, шт.

2

 

контроллер, шт.

1

 

компьютер, шт.

1

 

блок питания видеодатчика, шт.

2

 

комплект кабелей, шт.

1

 

компьютерная программа, шт.

1

 

Примечание - Контроллер и компьютер те же, что и для видеогидростатической системы.

6.2.3.4. Типовая видеоизмерительная система обладает следующими основными техническими характеристиками:

диапазон измерений в зависимости от высоты здания Н

Н:1000

 

точность измерений

Н:50000

 

время измерения, не более, с/канал

15

 

напряжение / ток питания видеодатчика от источника постоянного тока, В/мА

12/150

 

габариты видеодатчика, диаметр / высота, не более, мм

120/250

 

6.2.3.5. Конструктивные требования следуют из условия вандалозащищенности узлов видеоизмерительной системы:

видеодатчики и визирные марки должны быть защищены кожухами;

узлы крепления видеодатчиков и визирных марок должны быть опломбированы.

6.2.3.6. Основные требования к размещению и установке узлов видеоизмерительной системы (рис. 6.5) следующие:

видеодатчики должны устанавливаться на железобетонных столбах ориентировочно размером 300×300×1000 мм, жестко связанных с фундаментом здания;

видеодатчики не должны устанавливаться вблизи силовых агрегатов, создающих вибрацию, и вблизи вентиляторов, создающих потоки воздуха.

Рисунок 6.5. Схема размещения видеодатчиков и визирных марок
видеоизмерительной системы в высотном здании

1 - визирная марка; 2 - видеодатчик; 3 - компьютер с контроллером

6.2.3.7. Метрологическую калибровку видео-измерительной системы осуществляют без демонтажа видеодатчиков и визирных марок, для чего на заданных отметках высотного здания устанавливают не 1, а 2 визирные марки с контрольным расстоянием между ними.

Калибровка признается положительной, если измеренное с помощью компьютерной программы расстояние между визирными марками на высоте Н совпадет с контрольным в пределах ±Н:50000

6.2.4. Стационарная автоматизированная система контроля деформаций на основе обратных отвесов

6.2.4.1. Стационарная автоматизированная система на основе обратных отвесов предназначена для измерения высотных и плановых смещений основания, фундаментов и строительных конструкций надземной части высотного здания в период строительства и эксплуатации.

В отличие от других автоматизированных систем система на основе обратных отвесов может использоваться во время строительства, начиная с сооружения набивных свай, фундаментной плиты и затем, поднимаясь вверх вместе с надземными конструкциями, обеспечивая контроль плановых и высотных деформаций на всех стадиях в ручном режиме. Если обратный отвес снабдить спутниковым приемником GPS, то внутри высотного сооружения можно иметь хранитель координат. На стадии строительства используют обратный отвес со съемной верхней частью.

6.2.4.2. Если прямой отвес занимает вертикальное положение под действием силы тяжести груза и его временная стабильность определяется верхней точкой закрепления, то обратный отвес занимает вертикальное положение под действием выталкивающей силы поплавка, а его временная стабильность определяется нижней точкой закрепления [5]. При закреплении струны в стабильные грунты с помощью якоря получают стабильную вертикаль, относительно которой контролируется вертикальность конструкций.

Общая схема обратного отвеса в скважине показана на рис. 6.6. Стальная проволока диаметром 0,6 - 0,8 мм одним концом закреплена в скважине заданной глубины с помощью якоря. Верхний конец проволоки через шток и крестовину соединен с поплавком. Поплавок плавает в жидкости ванны и натягивает проволоку, благодаря чему она все время занимает отвесное положение. Для высотных измерений на проволоке укрепляют шкаловую марку.

Рисунок 6.6. Общая схема обратного отвеса

1 - ванна, 2 - поплавок, 3 - эстакада, 4 - механизм натяжения и крепления струны,
5 - струна, 6 - оголовок, 7 - обсадная труба; 8 - якорная труба, 9 - якорь

При смещении оголовка (часть отвеса, находящаяся над скважиной) проволока и поплавок останутся в первоначальном положении. Благодаря этому можно измерить смещение оголовка. Оголовок оборудован посадочным отверстием для установки координатомера.

Координатомеры применяют для фиксации проволоки обратного отвеса. Используют переносные координатомеры (оптико-механические) на стадии строительства и стационарные (оптико-электронные) на основе видеоизмерений во время эксплуатации.

Видеокоординатомер (ВКМ) предназначен для бесконтактного измерения положения струны прямого или обратного отвеса в системах мониторинга плановых деформаций сооружений. Работа ВКМ основана на компьютерной обработке видеосигналов двух видеодатчиков, в поле зрения которых находится струна отвеса. Оптические оси видеодатчиков перпендикулярны друг другу и приведены в горизонтальное положение.

Рисунок 6.7. Схема якоря выдвижного обратного отвеса
со съемной верхней частью

а - рабочее положение; б - положение консервации; 1 - жидкость 132 - 10;
2 - груз; 3 - шаровая опора; 4 - центрирующий упор; 5 - струна; 6 - якорная труба;
7 - упор; 8 - скоба; 9 - натяжное устройство; 10 - крышка

Рисунок 6.8. Схема использования обратного отвеса

а - установка свай; б - возведение фундамента; в - на монтажном горизонте;
г - после возведения здания; 1 - свая; 2 - обсадная труба; 3 - якорь;
4 - верхняя переносная часть с поплавком; 5 - координатомер;
6 - защитная труба; 7 - фундамент; 8 - монтажный горизонт

Конструкция обратного отвеса со съемной верхней частью приведена на рис. 6.7. Использование обратного отвеса на стадиях установки сваи (д), возведения фундамента (б), монтажных горизонтов (в), возведения строительных конструкций надземной части и эксплуатации (г) показано на рис. 6.8.

Якорь струны бетонируется в забое сваи. С помощью верхней переносной части натягивают струну и координатомером, жестко скрепленным с верхней частью сваи, измеряют плановые и высотные смещения и невертикальность сваи. После возведения фундаментов верхнюю часть обратного отвеса переносят на фундамент и измеряют деформации фундамента. При измерении деформаций строительных конструкций на монтажном горизонте верхнюю часть обратного отвеса и координатомер устанавливают на монтажном горизонте. Для защиты от ветровых потоков струна обратного отвеса проходит в защитной полихлорвиниловой трубе, которая устанавливается по мере возведения здания. Для удобства монтажа и демонтажа струна разрезана на части, которые соединяются с помощью ниппелей. После возведения наземной части здания верхняя часть обратного отвеса и координатомер устанавливаются стационарно в чердачном перекрытии. При закреплении координатомеров наверху сваи, на фундаменте и монтажном горизонте можно в реальном масштабе времени контролировать деформации всей системы «основание - фундаменты - наземная часть высотного здания». Для обеспечения автоматических измерений используют видеокоординатомер.

Обратные отвесы широко применяют при мониторинге плотин гидростанций, в оборонной технике, там, где необходима долговременная стабильная база. Опыт многолетней эксплуатации показал, что среднюю квадратическую погрешность mп проектирования вертикали обратными отвесами можно предрассчитать по следующей экспериментальной формуле

mп = 0,0038H + 0,015 (мм),

(6.3)

а долговременная стабильность не превышает 0,3 мм в год.

Если подставить в формулу (6.3) высоту сооружения Н, то получим точность вертикали, которую реализует обратный отвес в пространстве. При Н = 500,0 м точность вертикали составляет 1,9 мм.

6.2.4.3. Типовой состав системы, измеряющей деформации верха высотного здания, следующий:

верхняя часть обратного отвеса (поплавок, ванна с жидкостью), шт.

2

 

видеокоординатомер, шт.

2

 

стальная струна Ø 0,6 - 0,8 мм, м

2H здания

 

компьютер (Pentium-4), шт.

1

 

контроллер, шт.

1

 

блок питания, шт.

4

 

комплект кабелей, шт.

1

 

компьютерная программа, шт.

1

 

Состав стационарной системы на основе обратных отвесов в зависимости от числа контролируемых горизонтов и конструкции высотного здания может изменяться.

6.2.4.4. Технические характеристики системы, на основе обратных отвесов следующие:

сила натяжения струны, Н

160

 

диаметр струны, мм

0,6 - 0,8

 

диапазон измерений в зависимости от высоты здания

(1:1000)H

 

точность измерений

(1:50000)H

 

время измерений, не более, с

5

 

напряжение/ток питания видеокоординатомера от источника постоянного тока, В/мА

12/150

 

габариты обратного отвеса, мм

Ø 480×1000

 

габариты видеокоординатомера, мм

300×300×300

 

диаметр защитной трубы, мм

200 - 300

 

объем жидкости, л

20

 

6.2.4.5. Основные требования к установке узлов автоматизированной системы контроля на основе обратных отвесов следующие:

конструкция якоря должна иметь возможность замены струны на другую с сохранением положения закрепления 0,1 мм;

якоря струн устанавливают на железобетонных столбах размером 400×400×1000 мм, жестко связанных с фундаментом здания;

струну обратного отвеса защищают асбестоцементной или полихлорвиниловой трубой Ø 200 - 300 мм;

координатомер располагают ниже соединения струны с поплавком на 0,8 м;

места закрепления струны в фундаменте и координатомера должны быть защищены кожухом и опломбированы. Размещение узлов аналогично рис. 6.5.

6.2.4.6. Для метрологической калибровки во время эксплуатации в конструкцию видеокоординатомера включают эталонные марки и предусматривают режим периодической калибровки, который проводят без демонтажа узлов системы.

6.3. Автоматизированная система контроля деформаций большепролетных сооружений на основе моторизованных электронных тахеометров

6.3.1. Система автоматизированного контроля деформации на основе моторизованных электронных тахеометров предназначена для обеспечения безопасной эксплуатации строительных конструкций большепролетных сооружений. Система позволяет выполнять наблюдения в режиме реального времени за динамикой проявления деформаций опорного контура и покрытия большепролетных сооружений под воздействием техногенных факторов и метеоусловий в период эксплуатации.

6.3.2. Действия системы основаны на бесконтактном оптическом измерении деформации строительных конструкций по трем координатам х, у и z с помощью моторизированного электронного тахеометра, работающего по заданной компьютерной программе. На рис. 6.9 приведена структурная схема системы. В системе в качестве деформационных марок используют триппельпризменные отражатели. Связь между электронным тахеометром и деформационными марками оптическая. Кроме кабеля между компьютером и тахеометром других проводных соединений в системе нет.

Рисунок 6.9. Структурная схема автоматизированной системы контроля
деформаций больше пролетных зданий и сооружений

1 - моторизованный электронный тахеометр; 2 - деформационная марка; 3 - компьютер

Достоинства системы:

- возможность выявления деформаций несущих конструкций на ранней стадии;

- гибкость при размещении системы в архитектурном пространстве;

- возможность размещения системы в период эксплуатации без дополнительных строительных работ;

- метрологическая чистота;

- возможность передачи результатов измерений по сети Интернет.

6.3.3. Автоматизированная система контроля (система) состоит из измерительного оборудования, рабочего места оператора (РМО) (подсистемы сбора информации), установочного оборудования, каналов электрических соединений и программного обеспечения.

Основным измерительным прибором в системе является высокоточный электронный тахеометр, имеющий сервопривод и систему автоматического наведения на деформационные марки, установленные на контролируемых конструкциях.

Работа электронного тахеометра управляется программой, которая установлена на компьютере. Компьютер входит в состав РМО и связан с электронным тахеометром проводной связью.

РМО предназначено для управления работой системы, сбора, хранения и математической обработки результатов измерения. Рекомендуемый состав оборудования на РМО: персональный компьютер, монитор, цветной принтер и блок бесперебойного питания. Установочное оборудование системы закрепляют стационарно. Оно включает:

опорные марки;

деформационные марки опорного контура;

деформационные марки на покрытии;

кронштейны под тахеометр;

метеорологические, геотехнические и др. датчики.

Опорные марки состоят из корпуса и триппельпризменного отражателя (рис. 6.10) и являются реперными точками, задающими исходную основу системы. Их закрепляют на стабильных конструкциях.

Деформационные марки, за которыми ведутся наблюдения, служат для измерения деформации несущих металлоконструкций сооружения.

К метеорологическим датчикам относятся датчики, фиксирующие температуру, давление, влажность.

Рисунок 6.10. Опорные марки (реперные точки)

К геотехническим датчикам относятся датчики-дождемеры, уровня воды и др.

Кронштейны под тахеометр (рис. 6.11) необходимы для его установки. Через кронштейн проходят кабели питания и управления электронного тахеометра к РМО.

Программное обеспечение системы представлено следующими программами: GeoMoS Monitor и GeoMoS Analyzer. Первая служит для управления системой, вторая - для анализа и графического представления результатов измерений.

В системе заложены возможности дистанционного управления циклами измерений, дистанционным доступом к разнообразным средствам связи и передачи информации (через Интернет, радиоканал, модем, электронную почту и пейджинговые сообщения).

6.3.4. Основные технические характеристики системы:

диапазон измерения деформаций, м

3,5

 

число деформационных марок

Не ограничено

 

дальность, м

200 ± 50

 

погрешность измерений по трем координатам (х, у, z), мм

2

 

время одного цикла измерений, мин

10

 

Рисунок 6.11. Кронштейн под электронный тахеометр

Автоматизированная система работает следующим образом. После приведения электронного тахеометра (табл. 6.1) на геознаке в рабочее положение в ручном режиме определяют исходные координаты опорных точек и деформационных марок. Полученные координаты наблюдаемых точек вводят в систему управления электронного тахеометра как исходные (нулевые) и задают программу последующих наблюдений. Все последующие наблюдения производятся автоматически. Количество угловых приемов и количество повторных измерений расстояний задают исходя из требуемой точности получения деформации наблюдаемых точек. Из опыта: один прием подобных измерений при 30 точках наблюдений занимает от 10 до 20 мин. Результаты измерений передаются на компьютер, архивируются и сохраняются. Система оборудована звуковой сигнализацией на случай проявления опасных для конструкций деформаций.

Таблица 6.1 - Основные технические характеристики моторизованных электронных тахеометров

Наименование характеристик

LEICA ТС2003/ТСА2003

LEICA TRC1200 (TCRA, TCRP)

Точность измерения:

 

 

горизонтального угла,″

0,5

1

вертикального угла,″

0,5

1

расстояния, мм

1

3

Время одного измерения, с

3

3

Тип отражателя

Триппельпризма

Триппельпризма

Температурный диапазон, °С

-20 - +50

-20 - +50

Дальность измерения расстояния на одну призму, км

2,5

3,0

Максимальная угловая скорость вращения алидады тахеометра

45 °/с

45 °/с

Автоматизированная система в зависимости от требований по безопасности объекта может работать в непрерывном или периодическом режиме. Периодические измерения проводят в наиболее ответственные периоды: зимний период, перед ответственными соревнованиями или при проведении приемных испытаний покрытия под нагрузкой, что является непременным условием приемки в эксплуатацию большепролетных купольных конструкций.

6.3.5. Конструктивные требования следуют из условия надежного крепления деформационных марок на наблюдаемых конструкциях и условий влагозащищенности электронного тахеометра.

6.3.6. Основные требования к размещению и установке узлов системы следующие:

между электронным тахеометром и деформационными марками должна быть обеспечена оптическая видимость;

триппельпризменные отражатели деформационных марок должны быть ориентированы на электронный тахеометр с погрешностью ±1°;

после установки деформационных марок должны быть выполнены испытания их надежной установки.

6.3.7. Метрологическую калибровку системы осуществляют без демонтажа деформационных марок, для этого одну из деформационных марок изготавливают с фиксированным расстоянием Sk между двумя триппельпризмами. Если Sk отличается от номинального не более чем на 6 мм, то система считается функционирующей в проектном режиме.

7. МЕТРОЛОГИЧЕСКОЕ ОБЕСПЕЧЕНИЕ

Все геодезические приборы (включая осадочные деформационные марки шкалового типа), участвующие в измерительном процессе мониторинга, в обязательном порядке метрологически поверяются в территориальных органах Госстандарта (в Москве - ФГУ «Ростест-Москва») или в метрологических лабораториях, аккредитованных на право поверки геодезических приборов, и должны иметь метрологические свидетельства.

Для текущих технологических поверок целесообразно на объекте мониторинга иметь постоянный поверочный стенд поверки угла / нивелиров.

При проведении геодезического мониторинга используются одни и те же приборы, опорные и деформационные марки, а также постоянные наблюдатели во всех циклах измерений. Такие организационные меры позволяют значительно повысить точность измерений деформаций за счет уменьшения систематических погрешностей.

8. ТЕХНИКА БЕЗОПАСНОСТИ

8.1. Общие требования безопасности

8.1.1. При выполнении геодезического мониторинга технического состояния высотных и других уникальных сооружений требования техники безопасности должны выполняться в соответствии с:

постановлением Правительства РФ от 01.02.06 г. «О государственном строительном надзоре Российской Федерации»;

СНиП 12-04-2002 Безопасность труда в строительстве. Часть 2. Строительное производство;

правилами по технике безопасности на топографо-геодезических работах (ПТБ-1973);

действующими на объекте правилами по технике безопасности.

8.1.2. Ответственность за соблюдение техники безопасности при проведении геодезического мониторинга несет подрядная организация.

8.1.3. Контроль за выполнением мероприятий по технике безопасности возлагается на генерального подрядчика строящегося объекта.

8.2. Требования безопасности перед началом работ

8.2.1. Перед началом работ ответственными исполнителями должна быть изучена проектная документация по организации и производству геодезического мониторинга и намечены следующие конкретные решения:

по созданию условий для безопасного и безвредного выполнения работ как на строительной площадке в целом, так и на отдельных рабочих местах;

по санитарно-гигиеническому обслуживанию работающих на строительной площадке;

по безопасному производству работ в зимних условиях;

по достаточному освещению строительной площадки, проходов, проездов и рабочих мест.

Без указанных мероприятий производство геодезических работ не допускается.

8.2.2. Отверстия в перекрытиях, на которых производятся работы или к которым возможен доступ людей, должны быть закрыты сплошным настилом либо иметь прочные ограждения с бортовыми досками по всему периметру.

8.2.3. Для выполнения работ на высоте более 1,3 м при невозможности или нецелесообразности устройства настилов с ограждением рабочих мест рабочие должны быть снабжены предохранительными поясами, без которых они не допускаются к работе.

Места закрепления карабина предохранительного пояса должны быть заранее указаны мастером или производителем работ.

8.2.4. Одновременное производство работ на двух и более ярусах по одной вертикали без соответствующих защитных устройств не разрешается. Защитные устройства (сетки, козырьки, перила и др.) должны быть предусмотрены проектом производства работ и установлены заранее.

8.3. Требования безопасности во время выполнения геодезического мониторинга

8.3.1. К производству геодезических работ допускаются лица, прошедшие вводный инструктаж и обучение правилам техники безопасности на геодезических и строительных работах, а также инструктаж по технике безопасности непосредственно на рабочем месте. Проведение инструктажа оформляется согласно требованиям СНиП 12-04-2002.

8.3.2. К работам по измерениям деформаций, выполняющимся в подвальных помещениях и на высоте, допускают только лиц, прошедших медицинскую комиссию и получивших медицинское заключение о допуске к работе в данных условиях.

8.3.3. Геодезические измерения по деформационной геодезической сети на строительно-монтажной площадке должны выполняться с соблюдением следующих требований.

8.3.3.1. Пункты геодезической сети не должны располагаться под навесами, временными козырьками, лесами, эстакадами мостовых кранов, в зонах работы подъемно-транспортного оборудования (кранов, лебедок, транспортеров и т.д.), сваезабивных и буровых станков, на погрузочно-разгрузочных и складских площадках, в охранных зонах воздушных линий электропередачи.

8.3.3.2. В случае попадания пунктов деформационной геодезической сети в места, перечисленные в пункте 8.3.3.1, ответственным исполнителем должны быть приняты специальные дополнительные меры по безопасному выполнению геодезических работ, и работы должны проводиться по наряду-допуску.

8.3.3.3. При установке инструмента на бетонном или стальном основании ножки штатива связывают по периметру, чтобы исключить падение штатива и инструмента.

8.3.3.4. При выполнении работ на строительно-монтажной площадке запрещается работа без защитных касок и специальной обуви с жесткой подошвой.

8.3.4. Запрещается выполнение работ на открытых площадках без заграждений и на технологическом оборудовании без предохранительных поясов при высоте более 1,3 м.

8.3.5. При использовании строительных лесов и подмостей для выполнения геодезических работ время, характер работ и необходимые мероприятия по технике безопасности согласовывают с прорабом, ведущим строительные работы.

8.3.6. При выполнении геодезических измерений в зоне линий подземных коммуникаций и траншей работы должны выполняться под наблюдением прораба, ведущего эти работы, а в зоне кабелей, находящихся под напряжением, кроме того, и под наблюдением работника электрохозяйства.

8.3.7. Проведение мониторинга запрещается в зоне производства работ во время раскружаливания опорного контура большепролетного сооружения.

8.3.8. При выполнении работ в зимнее время на открытых строительных площадках и в неотапливаемых помещениях необходимо устраивать перерывы для обогрева, которые входят в рабочее время. Продолжительность и частота перерывов зависят от температуры воздуха, силы ветра и регулируются соответствующими распоряжениями начальника подразделения или ответственного исполнителя.

8.3.9. Запрещается выполнять геодезические работы:

при температуре ниже минус 25 °С, а на высоте, начиная с 6 м, ниже минус 10 °С;

при порывистом ветре силой в 6 баллов и более;

при сильном снегопаде, дожде, тумане, слабой освещенности и других условиях, ограничивающих видимость;

без предохранительных касок и страховочных поясов на монтажном горизонте;

при гололедице.

Приложение 1

ФОРМА ТЕХНИЧЕСКОГО ЗАДАНИЯ НА ПРОВЕДЕНИЕ ГЕОДЕЗИЧЕСКОГО МОНИТОРИНГА

«УТВЕРЖДАЮ»

Представитель заказчика

«СОГЛАСОВАНО»

Представитель генпроектировщика

«СОГЛАСОВАНО»

Представитель исполнителя

______________________

(подпись, Ф. И. О.)

 

______________________

(подпись, Ф. И. О.)

 

______________________

(подпись, Ф. И. О.)

 

«___» __________ 20__ г.

«___» __________ 20__ г.

«___» __________ 20__ г.

Техническое задание (ТЗ) на проведение геодезического мониторинга

1. Заказчик ______________________________________________________________

(наименование организации, подразделение)

2. Исполнитель ___________________________________________________________

(наименование организации, подразделение)

3. Наименование объекта __________________________________________________

4. Местоположение объекта ________________________________________________

5. Основание _____________________________________________________________

6. Цель работ _____________________________________________________________

7. Состав работ ___________________________________________________________

8. Требования к точности проведения мониторинга: ____________________________

9. Периодичность наблюдений ______________________________________________

10. Сроки сдачи промежуточных отчетов по завершению каждого цикла, окончательного технического отчета ___________________________________________

11. Прилагаемые графические материалы: ____________________________________

12. Сроки выполнения работ:

Начало мониторинга ____________________________________________________

Продолжительность мониторинга _________________________________________

Настоящее ТЗ может дополняться и изменяться по согласованию сторон.

Представитель заказчика: __________________________________________________

(должность, подпись, Ф. И. О.)

Представитель исполнителя: ________________________________________________

(должность, подпись, Ф. И. О.)

 

Приложение 2

ПРИМЕР ТЕХНИЧЕСКОГО ЗАДАНИЯ НА ПРОВЕДЕНИЕ ГЕОДЕЗИЧЕСКОГО МОНИТОРИНГА БОЛЬШЕПРОЛЕТНОГО СПОРТИВНОГО СООРУЖЕНИЯ В ПЕРИОД ЭКСПЛУАТАЦИИ

«УТВЕРЖДАЮ»

Представитель заказчика

«СОГЛАСОВАНО»

Представитель генпроектировщика

«СОГЛАСОВАНО»

Представитель исполнителя

______________________

(подпись, Ф. И. О.)

 

______________________

(подпись, Ф. И. О.)

 

______________________

(подпись, Ф. И. О.)

 

«___» __________ 20__ г.

«___» __________ 20__ г.

«___» __________ 20__ г.

Техническое задание на проведение геодезического мониторинга

1. Заказчик ______________________________________________________________

(наименование организации, подразделение)

2. Исполнитель ___________________________________________________________

(наименование организации, подразделение)

3. Наименование объекта __________________________________________________

4. Местоположение объекта ________________________________________________

5. Основание _____________________________________________________________

6. Цель работ

Изучение в период эксплуатации стадиона деформаций несущих колонн трибун, пилонов, вант и опорного контура навеса над трибунами, вызванных влиянием техногенных и климатических факторов, для обеспечения контроля за безаварийной работой конструкций.

7. Состав работ

7.1. Анализ результатов наблюдений за деформациями несущих конструкций арены стадиона, произошедшими в течение строительного периода, и разработка программы проведения мониторинга в период эксплуатации.

7.2. Рекогносцировка опорной и деформационной сетей строительного периода с целью использования ее для мониторинга в период эксплуатации.

7.3. Восстановление и развитие опорной и деформационной сетей для проведения мониторинга несущих строительных конструкций и металлоконструкций навеса.

7.4. Выполнение регламентных циклов инструментального контроля за деформациями несущих строительных, металлических конструкций и вант стадиона.

7.5. Выполнение наблюдений за изменениями температуры воздуха и снеговой нагрузки на навес над трибунами в период регламентных циклов.

7.6. Обработка и анализ результатов измерений, подготовка научно-технического отчета.

7.7. Определение величин деформаций конструкций, анализ соответствия результатов измерений деформаций расчетным данным.

7.8. Выводы и разработка рекомендаций по эксплуатации сооружения и мониторингу.

8. Требования к точности проведения мониторинга:

предельная средняя квадратическая погрешность измерения осадки несущих колонн и пилонов не должна превышать 1,5 мм;

средняя квадратическая погрешность в определении наклона верха пилонов и деформаций кольцевой балки 5 мм.

9. Периодичность наблюдений

Наблюдения выполняются циклами, с частотой раз в два месяца. Частота проведения циклов может в последующем корректироваться в зависимости от величин и характера проявления деформаций.

10. Сроки сдачи промежуточных отчетов по завершению каждого цикла, окончательного технического отчета.

По завершении каждого цикла заказчику передаются в рабочем виде промежуточные результаты измеренных деформаций. По завершении наблюдений в конце года передается технический отчет, который должен содержать схемы измерений, величины деформаций, анализ результатов измерений, выводы по характеру проявления деформаций от различных факторов, рекомендации по ослаблению их влияния на сооружение, оценку несущей способности конструкций и рекомендации по оптимизации схемы и частоты наблюдений.

11. Прилагаемые графические материалы: ____________________________________

12. Сроки выполнения работ:

Начало мониторинга ____________________________________________________

Продолжительность мониторинга _________________________________________

Настоящее ТЗ может дополняться и изменяться по согласованию сторон.

В разработке ТЗ принимали участие:

Представитель заказчика: __________________________________________________

(должность, подпись, Ф. И. О.)

Представитель исполнителя: ________________________________________________

(должность, подпись, Ф. И. О.)

 

ПРИМЕР ТЕХНИЧЕСКОГО ЗАДАНИЯ
НА ПРОВЕДЕНИЕ ГЕОДЕЗИЧЕСКОГО МОНИТОРИНГА
ВЫСОТНОГО ЗДАНИЯ В ПЕРИОД СТРОИТЕЛЬСТВА

«УТВЕРЖДАЮ»

Представитель заказчика

«СОГЛАСОВАНО»

Представитель генпроектировщика

«СОГЛАСОВАНО»

Представитель исполнителя

______________________

(подпись, Ф. И. О.)

 

______________________

(подпись, Ф. И. О.)

 

______________________

(подпись, Ф. И. О.)

 

«___» __________ 20__ г.

«___» __________ 20__ г.

«___» __________ 20__ г.

Техническое задание на проведение геодезического мониторинга

1. Заказчик ______________________________________________________________

(наименование организации, подразделение)

2. Исполнитель ___________________________________________________________

(наименование организации, подразделение)

3. Наименование объекта __________________________________________________

4. Местоположение объекта ________________________________________________

5. Основание _____________________________________________________________

6. Цель работ

Контроль вертикальности и наблюдение за креном и осадками здания в процессе строительства.

7. Состав работ

7.1. Разработка программы мониторинга.

7.2. Создание опорной и деформационной геодезических сетей.

7.3. Контроль вертикальности здания в процессе строительства.

7.4. Наблюдения за осадкой фундамента и несущих колонн здания.

7.5. Наблюдение за кренами здания.

7.6. Разработка и создание системы контроля колебаний здания в зависимости от ветровых и температурных влияний.

7.7. Наблюдение за метеорологическими характеристиками (ветер, температура, влажность, снеговой покров и.т.д.).

7.8. Проведение контроля за колебаниями здания под влиянием метеофакторов.

7.9. Обработка результатов измерений и вычисление деформационных характеристик здания.

8. Требования к точности проведения мониторинга:

- точность создания внешней опорной геодезической сети должна соответствовать требованиям к точности полигонометрии I разряда;

- высотное обоснование строится с точностью нивелирования II класса;

- требования к точности контроля вертикальности здания - 1/500 Н;

- наблюдения за высотными деформациями фундамента и несущих конструкций выполняются с точностью нивелирования II класса, а наблюдения за плановыми смещениями - со средней квадратической погрешностью 3 мм.

9. Периодичность наблюдений

Измерения выполняются циклами, с частотой не реже 1 раза в месяц.

10. Сроки сдачи промежуточных отчетов по завершении каждого цикла, технического отчета.

По завершении каждого цикла заказчику передаются промежуточные результаты. Не реже чем 1 раз в полгода и по завершении работ заказчику передается полный технический отчет, который должен содержать схемы измерений, величины деформаций, анализ результатов измерений и рекомендации по оптимизации схемы и частоты наблюдений.

11. Прилагаемые графические материалы

Заказчик передает проект производства геодезических работ при строительстве и материалы по геодезической изученности объекта.

12. Сроки выполнения работ:

Начало мониторинга ____________________________________________________

Продолжительность мониторинга _________________________________________

Настоящее ТЗ может дополняться и изменяться по согласованию сторон.

В разработке ТЗ принимали участие:

Представитель заказчика: __________________________________________________

(должность, подпись, Ф. И. О.)

Представитель исполнителя: ________________________________________________

(должность, подпись, Ф. И. О.)

 

Приложение 3

КОНСТРУКЦИИ ОСАДОЧНЫХ ДЕФОРМАЦИОННЫХ МАРОК И СПОСОБЫ ИХ УСТАНОВКИ

В зависимости от поверхности установки осадочные деформационные марки подразделяют на марки, устанавливаемые на вертикальной поверхности (колонне, стене, вертикальной поверхности фундамента и т.п.), и на марки, устанавливаемые на горизонтальной поверхности (в перекрытии, фундаменте и т.п.).

Конструкции деформационных марок для вертикальных поверхностей представлены на рис. 1. Эти марки делятся на шкаловые (рис. 1 в, г) и установочные (рис. 1 а, б). По шкаловым маркам непосредственно выполняются измерения геометрическим нивелированием, а установочные марки предназначены для установки подвесной нивелирной рейки (рис. 2). Марки жестко крепят к закладным деталям. На монтажных горизонтах обычно закрепляют шкаловые плоские марки непосредственно на морозоустойчивый клей для влажной поверхности.

Рисунок 1. Деформационные марки, устанавливаемые
на вертикальную поверхность несущей конструкции

а - установочная марка: 1 - шарик; 2 - закладная; 3 - корпус; 4 - крышка;
б - установочная марка: 1 - шарик; 2 - закладная; 3 - корпус;
в - шкаловая плоская марка: 1 - пластинка с делениями; 2 - закладная;
г - полукруглая марка: 1 - марка с делениями; 2 - закладная

Рисунок 2. Подвесная нивелирная рейка на
установочной деформационной марке

Для установки на фундаментах, кроме стержневой конструкции из штыря Ø 30 - 40 мм с приваренной сферой R10 и колпачком (рис. 3 а), в последнее время нашли применение марки с использованием стандартных клиновых анкеров (рис. 3 б). Такую марку устанавливают следующим образом: перфоратором в бетоне или дрелью в кирпичной кладке сверлят отверстие Ø 12 мм на глубину 100 мм и в отверстие вставляют клиновой анкер до упора и затягивают торцевым гаечным ключом.

Рисунок 3. Деформационные марки, устанавливаемые
в строительную конструкцию

а - штыревая марка: 1 - сфера; 2 - штыри (арматура);
б - анкерная марка: 1 - корпус марки; 2 - клиновой анкер;
3 - шарик для установки нивелирной рейки

Конструкции деформационных марок для горизонтальных поверхностей представлены на рис. 4.

Рисунок 4. Деформационная марка в полу

а: 1 - болт со сферой; 2 - зажимная гайка; 3 - корпус;
4 - защитный колпачок; 5 - закладная;
б: 1 - шарик диаметром 25,4 мм для установки рейки; 2 - крышка;
3 - корпус защитного колодца; 4 - закладная в полу

Приложение 4

ГЛУБИННЫЕ РЕПЕРЫ. КОНСТРУКЦИЯ И ТРЕБОВАНИЯ К ГЛУБИНЕ ЗАКЛАДКИ

При установке глубинных реперов из-за простоты конструкции и закладки наибольшее предпочтение в практике получили глубинные реперы трубчатой конструкции.

Глубинные реперы (рис. 1) трубчатой конструкции представляют собой реперную трубу Ø 89 мм, которая бетонируется в скважину, защищенную обсадной трубой Ø 169 мм на величину якоря. Величина якоря обычно 0,2Н, где Н - глубина репера. Реперная труба в верхней части имеет фланец с высотной маркой, на которую при выполнении измерений устанавливают инварную рейку. Нижняя часть реперной трубы перфорируется на величину бетонного якоря.

Рисунок 1. Глубинный репер трубчатой конструкции

1 - высотная марка; 2 - крышка; 3 - реперная труба;
4 - труба обсадная, 5 - гидроизоляция; 6 - якорь (бетон);
7 - диафрагма; 8 - перфорация; 9 - фланец

Обсадная труба защищает реперную трубу от влияния температурно-влажностных деформаций верхних слоев грунта. Внизу обсадная труба изолируется гидроизоляцией от якоря, а в верхней части имеет съемную защитную крышку.

В особых случаях внутри реперной трубы устанавливают инварный стержень, который в верхней части заканчивается шариком Ø 25,4 мм для установки инварной рейки (рис. 2). Верхняя часть инварного глубинного репера защищается металлическим колодцем, который закладывается заподлицо с поверхностью земли.

Рисунок 2. Глубинный репер инварный

1 - высотная марка; 2 - защитный колодец с крышкой, 3 - реперная труба;
4 - труба обсадная; 5 - гидроизоляция, 6 - якорь (бетон);
7 - перфорация, 8 - инварный стержень; 9 - муфта

Установка глубинных реперов трубчатой конструкции производится буровым способом. Опыт эксплуатации реперов позволяет сделать следующие рекомендации относительно глубины их заложения.

1. Якорь репера должен располагаться в зоне постоянной температуры (сезонные колебания температуры не более 0,5 - 1,0 °С).

2. Якорь репера должен быть заложен в устойчивые горные породы (песчаник, известняк), галечники, гравий, крупнозернистые пески, маловлажные коренные плотные глины в твердом состоянии, у которых коэффициент пористости j = 0,6, степень влажности ε = 0,85, мергели или мергелистые глины, не содержащие растворимых солей или гипсовых включений. Предпочтение следует отдавать необводненным массивам горных пород, которые однородны по составу и условиям залегания.

3. При наличии подземных вод якорь следует закладывать ниже зоны колебания их уровня.

В инженерно-геологических условиях Москвы и Московской области репера закладывают на глубину от 5 до 20 м.

Приложение 5

ПРИМЕР ОПРЕДЕЛЕНИЯ НАИБОЛЕЕ УСТОЙЧИВОГО РЕПЕРА

№ репера

δHj, мм

δHj+, мм

Rp1

-0,400

-0,015

Rp2

-0,720

-0,335

Rp3

-0,420

-0,035

Rp4

0,000

+0,385

δHj

-1,540

0,000

δHj

-0,385

-

Наиболее устойчивый репер - Rp1.

Приложение 6

ПРИМЕРЫ УНИКАЛЬНЫХ БОЛЬШЕПРОЛЕТНЫХ СООРУЖЕНИЙ, ПОСТРОЕННЫХ В МОСКВЕ

(форма плана, характерные размеры)

Мембранные тонколистовые покрытия

Крытый стадион на пр. Мира

Овал

224×183 м

Велотрек «Крылатский»

Овал

168×138 м

Дворец спорта «Измайлово»

Прямоугольник

72×66 м

Крытый конькобежный центр в Коломне (Моcк. обл.)

Овал

200×100 м

Байтовые и комбинированные конструкции

Стадион «Локомотив»

Овал

206×158 м

Крытый конькобежный центр в Крылатском

Сектор круга

230×120 м

Старый Гостиный Двор

Прямоугольник пролетом

до 82 м

Висячие оболочки

Бассейн на пр. Мира

Овал

120×104 м

Ледовый дворец на Ходынке

Круг диаметром

100 м

Купола

Стадион «Лужники»

Овал

309×248 м

Баскетбольный стадион «Динамо»

Круг диаметром

100 м

Железобетонные оболочки

Универсальный зал «Дружба» в Лужниках

Прямоугольник

88×88 м

Даниловский рынок

Круг диаметром

72 м

Люблинский рынок

Прямоугольник

102×102 м

Балочные и арочные покрытия

Легкоатлетический манеж ЦСКА

Прямоугольник

300×110 м

Дворец спорта «Крылья Советов»

Прямоугольник

90×60 м

Дворец спорта в Лужниках

Прямоугольник пролетом

78 м

Приложение 7

ПРИМЕР РАСПОЛОЖЕНИЯ ДЕФОРМАЦИОННЫХ МАРОК БОЛЬШЕПРОЛЕТНОГО СПОРТИВНОГО СООРУЖЕНИЯ

(план)

ПРИМЕР РАСПОЛОЖЕНИЯ ДЕФОРМАЦИОННЫХ МАРОК БОЛЬШЕПРОЛЕТНОГО СПОРТИВНОГО СООРУЖЕНИЯ

(разрез)

Условное обозначение:

 - деформационная марка на мембране или опорном контуре

Приложение 8

ПРИМЕРЫ РАСПОЛОЖЕНИЯ ДЕФОРМАЦИОННЫХ МАРОК

1. Расположение высотных деформационных марок на колоннах и главных пилонах футбольного стадиона с вантовой системой подвески навеса над трибунами

Примечания:

1 Высотных деформационных марок - 75.

2 Глубинных реперов - 3.

2. Расположение планово-высотных деформационных марок на главных пилонах и кольцевой балке футбольного стадиона

Примечания:

1 Деформационных марок - 8.

2 Знаков опорной сети - 4.

3. Расположение наблюдаемых точек для определения провиса вант крепления навеса над трибунами футбольного стадиона

Примечания:

1 Контрольных точек - 8.

2 Знаков опорной сети - 4.

Приложение 9

ОПРЕДЕЛЕНИЕ УГЛА i

Для определения угла i с высокой точностью создают специальный стенд. Для этого в помещении на стенде или на строительных колоннах на одном горизонте закрепляют две нивелирные шкалки так, чтобы расстояния от инструмента до каждой из шкалок составляли 4 и 24 м.

Измерения выполняют в следующем порядке:

сначала измеряют превышение между шкалами 1 и 2 cтpoгo из середины при двух горизонтах инструмента (h1);

затем это же превышение измеряют (h2) из точек А и В при разности визирных лучей ΔS = 20 м.

Угол i вычисляют по формуле

(1)

где Δh = h2 - h1.

При ΔS = 20000 мм и ρ = 200000″ формула (1) будет иметь вид

i″ = 10Δh.

(2)

Среднюю квадратическую погрешность вычисления угла i подсчитывают по формуле

mi = 10mΔh = 10mh.

(3)

При mh = 0,1 мм mi = 1,5″.

Приложение 10

ОБРАЗЕЦ ЗАПИСИ В ЖУРНАЛЕ ВЫСОКОТОЧНОГО НИВЕЛИРОВАНИЯ

Начало: 8 ч 10 мин.

Конец: 8 ч 30 мин.

Дата «___» _______ 20__ г.

Изображение спокойное

 

Номер станции

Прямой ход

h, мм

Номер станции

Обратный ход

Номер марки

З

П

h в дел.

З

П

Номер марки

З

П

h в дел.

З

П

З - П

в мм

З - П

З - П

в мм

З - П

1

1 - 2

1239 (1)

1178 (2)

+0,61 (3)

+058 (7)

0,29 (8)

1255 (5)

1181 (4)

54 (6)

+0,32 (17)

1

2 - 1

1420 (9)

1485 (10)

-65 (11)

-068 (15)

-0,54 (16)

1425 (13)

1495 (12)

-70 (14)

2

2 - 3

440

212

+228

+232

+1,16

448

211

+237

+1,12

2

3 - 2

582

600

-218

-218

-1,09

384

602

-218

3

3 - 4

213

284

-071

-76

-0,38

200

280

-080

-0,38

3

4 - 3

401

528

+075

+76

+0,58

415

555

+80

Постраничный контроль

+218

+1,09

+214

+1,07

+211

+1,06

 

 

 

-210

-1,05

-208

-1,04

Приложение 11

АЛГОРИТМ ВЫЧИСЛЕНИЯ КРЕНОВ С ИСПОЛЬЗОВАНИЕМ ВЕРОЯТНЕЙШЕЙ ПЛОСКОСТИ

Исходное уравнение плоскости имеет вид

а + + cy = Sj,

(1)

где a - параметр, характеризующий среднюю горизонтальную плоскость;

b - тангенс угла наклона искомой плоскости к оси х;

с - тангенс угла наклона искомой плоскости к оси у;

Sj - величина абсолютной осадки.

Параметры a, b, с определяют из решения системы нормальных уравнений:

(2)

Уравнения отклонений от вероятнейшей плоскости будут:

(3)

Для упрощения вычислений параметров начало координат переносят в центр перекрытия (монтажного горизонта) под условием [х'] = [y′] = 0.

Тогда первое уравнение становится независимым и определяется по формуле

(4)

Два других уравнения примут вид:

(5)

В уравнениях (3) и (5) х и y - центральные координаты.

Из решения системы нормальных уравнений (5) находят параметры:

(6)

где D - определитель системы уравнений (5), равный [х2][y2] - [ух]2.

Угловую величину крена φ и дирекционный угол α направления крена вычисляют по формулам:

(7)

(8)

Линейную величину частного и полного крена для i-го горизонта вычисляют по формулам:

(9)

Если угловые величины b′′ и с′′ имеют знак «минус» в формулах (9), то частные крены направлены в сторону положительных направлений осей х и y и наоборот, если угловые величины b′′ и с′′ имеют знак «плюс», то частные крены направлены в сторону, противоположную положительным направлениям осей х и y.

Средние квадратические погрешности параметров вероятнейшей плоскости определяются по формулам:

(10)

где mv - средняя квадратическая погрешность осадки, полученная по уклонениям от вероятнейшей плоскости.

Погрешность mv вычисляют по формуле

(11)

где v - уклонение от вероятнейшей плоскости;

n - число осадочных марок;

k - число параметров, равное трем.

Величины Q11, Q22, Q33 для случая, когда первое уравнение в системе (2) отделено (независимо) от двух других, определяют из следующих равенств:

(12)

Зная погрешности параметров mb и mc, вычисляют погрешности частных mqxi, mqyi и полного крена mQi для i-го монтажного горизонта по формулам:

(13)

Пример вычисления осадок и кренов по изложенной методике приведен в таблице 1, сводка результатов основных параметров с оценкой точности приведена в таблице 2.

Вычисление параметров вероятнейшей плоскости производят на ЭВМ.


Таблица 1 - Пример вычисления кренов с использованием вероятнейшей плоскости

№ марки

xц, м

yц, м

S, мм

Sa, мм

xx, м2

yy, м2

xS, м·мм

yS, м·мм

bxj, мм

сyj, мм

a + bх + су, мм

v, мм

Вычисление величины

крена и его направление

1

+20

+15

-9,2

-0,32

 

 

-184

-138

-0,883

+0,633

-9,12

-0,08

 

2

0,0

+15

-8,6

+0,28

 

 

0,0

-129

0,0

+0,633

-8,24

-0,36

mv = 0,28 мм

3

-20

+15

-7,2

+1,68

 

 

+144

-108

+0,883

+0,633

-7,36

+0,16

φ = 12,60"

4

-20

+15

-7,7

+1,18

 

 

+154

0,0

+0,883

0,0

-7,99

+0,29

Q = 9,16 мм

5

-20

-15

-8,8

+0,08

 

 

+176

+132

+0,883

-0,633

-8,62

-0,18

при Н = 150 м

6

0,0

-15

-9,7

-0,82

 

 

0,0

+145,5

0,0

-0,633

-9,51

-0,19

qx = +6,62 мм

7

+20

-15

-10,3

-1,42

 

 

-206

+154,5

-0,883

-0,633

-10,39

+0,09

qy = -6,33 мм

8

+20

0,0

-9,5

-0,62

 

 

-190

0,0

-0,883

0,0

-9,76

+0,26

Q = 9,16 мм

0,0

0,0

-71,0

+0,04

2400

1350

-106

+57

0,0

0,0

 

-0,01

α = 316°18'

 

а = -8,875 мм

b = -0,044166667·10-3

b″ = -9,11″

 

 

с = +0,042222222·10-3

с″ = +8,71

α = arctg = 316°18'

Оценка точности

mQ = 1,43 мм

 


Таблица 2 - Сводная таблица результатов вычислений

Обозначение величины

Значение величины

№ формулы вычисления

а

-8,875

4

b

-0,04416667·10-3

6

c

+0,042222222·10-3

6

b

-9,11″

-

с

+8,71″

-

φ

12,6″

7

mv

0,28 мм

11

qx

+6,62 мм

9

qy

-6,33 мм

9

Q

9,16 мм

9

α

316°18'

8

mа

0,1 мм

10

mb

1,18″

10

mc

1,57″

10

mqx

0,86 мм

13

mqy

1,14 мм

13

mQ

1,43 мм

13

Н

150 м

-

Приложение 12

ТАБЛИЦА АБСОЛЮТНЫХ И ТЕКУЩИХ ОСАДОК ДЕФОРМАЦИОННЫХ МАРОК ВЫСОТНОГО ЗДАНИЯ

Цикл/дата

1/28.05.07

3/19.07.07

9/16.01.08

15/05.07.08

Число этажей

3

7

24

45

№ осадочной марки

Н1, мм

Н3 - Н1, мм

Н3 - Н2, мм

Н9 - Н1, мм

Н9 - Н8, мм

Н15 - Н1, мм

Н15 - Н14, мм

1

116409,5

-1,3

-0,7

-2,3

-0,1

-13,7

-1,1

2

116407,7

-2,2

-1,4

-6,0

-0,1

-17,8

-1,4

3

116412,7

-2,5

-1,8

-6,0

-0,1

-17,3

-1,1

4

116409,1

0,0

-0,5

-1,2

-0,2

-12,1

-0,9

5

116399,4

-0,2

-0,6

-2,0

-0,3

-13,0

-1,0

6

116413,5

-1,2

-1,2

-2,9

-0,1

-13,9

-1,1

7

116417,3

-1,2

-1,4

-4,5

0,0

-15,9

-1,1

8

116411,3

-1,3

-1,8

-4,9

-0,1

-15,9

-0,8

9

116409,6

-1,1

-1,3

-2,6

0,0

-13,3

-0,7

10

116410,3

-1,7

-1,5

-3,9

-0,5

-13,6

-0,9

11

116409,7

-1,7

-1,3

-6,1

-0,6

-16,1

-1,2

12

116410,7

-0,3

-1,0

-4,0

-0,6

-14,2

-1,2

13

116417,1

-0,9

-1,2

-4,4

-0,1

-14,6

-1,1

14

116412,4

-1,2

-1,4

-5,7

-0,1

-15,4

-0,6

15

116410,0

-0,5

-0,8

-3,4

-0,2

-13,4

-0,6

16

116409,0

-1,3

-0,9

-4,2

-0,7

-13,9

-1,2

17

116412,2

-0,3

-0,8

-5,9

-0,4

-16,7

-1,7

18

116411,1

0,1

-0,5

-1,7

-0,3

-11,6

-1,0

19

116412,7

-0,5

-0,9

-2,9

-0,5

-12,4

-0,6

20

116421,1

-1,1

-1,2

-5,6

-0,6

-15,4

-0,8

Ср. знач.

 

-1,0

-1,1

-4,0

-0,3

-14,5

-1,0

Составил: _______________ /__________/ Проверил: ________________ /__________/

Приложение 13

СХЕМА РАСПОЛОЖЕНИЯ ДЕФОРМАЦИОННЫХ МАРОК НА ФУНДАМЕНТНОЙ ПЛИТЕ ВЫСОТНОГО ЗДАНИЯ И ЛИНИИ РАВНЫХ ОСАДОК

(по результатам 16-го цикла мониторинга на _________ г.)

Примечания: первый цикл выполнен ________ г.

4 - номер марок;

-9,9 - абсолютная осадка марки, мм;

 - температурный шов;

изолинии проведены через 0,5 мм

Составил: ________________ /__________/

Проверил: ________________ /__________/

Приложение 14

ГРАФИКИ ОСАДОК ДЕФОРМАЦИОННЫХ МАРОК ВЫСОТНОГО ЗДАНИЯ

Составил: ___________________

Проверил: ___________________

Приложение 15

ГРАФИКИ ОСАДОК ДЕФОРМАЦИОННЫХ МАРОК 2, 18, 14 ВЫСОТНОГО ЗДАНИЯ

Составил: ___________________

Проверил: ___________________

Приложение 16

ТАБЛИЦА ВЫЧИСЛЕНИЯ КОЭФФИЦИЕНТОВ КОРРЕЛЯЦИИ С ОЦЕНКОЙ НАДЕЖНОСТИ ИХ ЗНАЧЕНИЙ

Кол-во месяцев с момента начала наблюдений

Номера марок по схеме

Вычисление отклонений СКО

Вычисление коэффициентов корреляции

k

Марка 2

Марка 18

Марка 14

Марка 2

Марка 18

Марка 14

k

Марка 2

Марка 18

Марка 14

xi

yi

zi

xi - [x]/n

yi - [y]/n

zi - [z]/n

ki - [k]/n

[1]*[4]

[2]*[4]

[3]*[4]

[1]

[2]

[3]

[4]

[5]

[6]

[7]

1

-0,8

0,6

0,2

7,3

4,4

7,2

-7

-51,1

-30,8

-50,4

2

-2,2

0,1

-1,2

5,9

3,9

5,8

-6

-35,4

-23,4

-34,8

3

-3,4

-1,0

-2,2

4,7

2,8

4,8

-5

-23,5

-14,0

-24,0

4

-3,9

-0,5

-2,5

4,2

3,3

4,5

-4

-16,8

-13,2

-18,0

5

-4,2

-0,1

-3,4

3,9

3,7

3,6

-3

-11,7

-11,1

-10,8

6

-5,5

-1,1

-5,2

2,6

2,7

1,8

-2

-5,2

-5,4

-3,6

7

-5,9

-1,4

-5,6

2,2

2,4

1,4

-1

-2,2

-2,4

-1,4

8

-6,0

-1,7

-5,7

2,1

2,1

1,3

0

0,0

0,0

0,0

9

-7,1

-2,5

-6,2

1,0

1,3

0,8

1

1,0

1,3

0,8

10

-8,6

-4,2

-8,1

-0,5

-0,4

-1,1

2

-1,0

-0,8

-2,2

11

-11,0

-6,2

-10,0

-2,9

-2,4

-3,0

3

-8,7

-7,2

-9,0

12

-12,8

-7,1

-11,4

-4,7

-3,3

-4,4

4

-18,8

-13,2

-17,6

13

-15,5

-9,7

-13,2

-7,4

-5,9

-6,2

5

-37,0

-29,5

-31,0

14

-16,4

-10,6

-14,8

-8,3

-6,8

-7,8

6

-49,8

-40,8

-46,8

15

-17,8

-11,6

-15,4

-9,7

-7,8

-8,4

7

-67,9

-54,6

-58,8

[k]/n

[xi]/n

[yi]/n

[zi]/n

∑[1]2

∑[2]2

∑[3]2

∑[4]2

∑[5]

∑[6]

∑[7]

8

-8,1

-3,8

-7,0

408,5

244,8

348,7

280,0

-328,1

-245,1

-307,6

 

 

 

 

σx

σy

σz

σk

rxk

ryk

rzk

 

 

 

 

5,22

4,04

4,82

4,32

-0,97

-0,93

-0,98

Оценка надежности вычисления коэффициента корреляции по критерию Фишера

Пример. Из таблицы для марки 18 имеем |r = 0,93|. По значению r вычисляем функцию  или выбираем ее значение из таблиц [22]: z = 1,86. Определяем доверительный интервал для z с q %-ным уровнем значимости при n = 15 и tq = 1,96 (q = 0,05):

 Величину tq находят по таблицам нормального распределения. По полученным значениям границ интервала 0,79 ≤ Z ≤ 2,52 обратным интерполированием по таблицам [22] вычисляют границы интервала для коэффициента r: 0,79 ≤ r ≤ 0,94.

Так как величина 0,94 - 0,79 = 0,15 меньше абсолютного значения коэффициента корреляции, то наличие линейной связи установлено.

Приложение 17

ПРИМЕР ОФОРМЛЕНИЯ РЕЗУЛЬТАТОВ ОПРЕДЕЛЕНИЯ КРЕНА ВЫСОТНОГО ЗДАНИЯ

Примечание:

 - направление и величина изменения частных кренов qx и qy к 1-му циклу, мм.

Результирующие величины получены как среднее из частных кренов плановых деформационных марок, расположенных на перекрытии.

101 - номер плановой деформационной марки.

Приложение 18

ПРИМЕР ОФОРМЛЕНИЯ ЦИКЛА НАБЛЮДЕНИЙ ЗА ПЛАНОВО-ВЫСОТНЫМИ ДЕФОРМАЦИЯМИ ОПОРНОГО КОНТУРА

Объект: Большепролетное сооружение с мембраной

Планово-высотные смещения деформационных марок

35 цикл (16.05.05), Т = +14 °С

36 цикл (18.06.05), Т = +20 °С

Примечания:

↓12 - направление и величина планового смещения относительно 1 цикла (27.10.04), мм;

-25 - высотное смещение относительно 1 цикла (27.10.04), мм.

Точность измерений ±5 мм

Составил: _________________

Проверил: _________________

Приложение 19

ТЕРМИНЫ И ОПРЕДЕЛЕНИЯ

Абсолютная(полная)осадка - суммарная осадка с начала наблюдений, полученная относительно исходной высотной основы в Балтийской или местной системе высот.

Большепролетные здания или сооружения - здания или сооружения с конструкциями покрытия пролетом свыше 36 м без промежуточных опор. К ним относятся пространственные конструкции - сплошные и стержневые оболочки, купола, висячие вантовые, тонколистовые (мембранные) и тентовые покрытия, стержневые пространственные конструкции (структуры), перекрестные системы, а также традиционные конструкции больших пролетов - фермы, рамы, арки и т.п.

Величина осадки - величина разности отметок осадочной марки, полученная в разных циклах измерений.

Величина относительного прогиба. Относительный прогиб - величина, вычисляемая по данным осадок трех смежных точек (реперов), расположенных на осях сооружения или вдоль характерных линий плана и отстоящих друг от друга приблизительно на одинаковых расстояниях, как отношение разности между удвоенной осадкой средней точки и суммой осадок крайних точек, отнесенной к удвоенному расстоянию между крайними точками.

Высотное здание или сооружение - здание или сооружение более 25 этажей и выше 75 м.

Глубинный репер - фундаментальный геодезический знак, закладываемый в практически несжимаемые грунты и предназначенный для сохранения высотной отметки.

Гибкость высотного здания - коэффициент отношения высоты надземной части здания к ширине фундамента. Для зданий высотой свыше 75 м К = 1 - 8.

Горизонтальное перемещение - перемещение в горизонтальной плоскости определенной точки, лежащей на опорном контуре или других элементах большепролетной конструкции (балка, арка, рама и т.п.), вследствие деформации, вызываемой силовыми, температурными и другими нагрузками и воздействиями, и характеризующее работу конструкции.

Деформация - величина, характеризующая плановое (горизонтальное) и высотное (вертикальное) изменение пространственного положения «объекта» наблюдений относительно какого-либо первоначального положения.

Здание - комплекс жилых или нежилых помещений с постоянным или временным пребыванием людей, как правило, с поддержанием определенных функциональных параметров.

Засечка обратная - способ определения местоположения пункта путем измерения с него углов и расстояний на два и более пунктов, координаты которых известны.

Засечка прямая - способ определения местоположения пункта путем измерения на него углов и расстояний с двух и более пунктов, координаты которых известны.

Знак геодезический - устройство, обозначающее положение геодезического пункта на местности или на конструкциях, являющегося носителем координат.

Измерения геодезические - измерения, проводимые в процессе геодезических работ, непосредственно связанные с решением геодезических задач.

Куст реперов - три и более глубинных репера высотной деформационной сети, расположенные, как правило, в вершинах треугольника на равных расстояниях друг от друга.

Крен здания, сооружения - величина отклонения плоскости симметрии сооружения от вертикали.

Мониторинг технического состояния зданий или сооружений - система наблюдений за деформациями объекта с целью получения достоверных оценок параметров технического состояния, своевременного выявления недопустимых отклонений от величин, заданных в проектной документации, а также для предупреждения и устранения возможных негативных явлений и процессов. Мониторинг является составной частью НТСС.

Мониторинг геодезическими методами (геодезический мониторинг) - комплекс инженерно-геодезических работ, выполняемых с целью определения количественных параметров общих деформаций зданий, сооружений и их конструкций.

Местные деформации - перемещения или повороты, которые происходят в узлах или конструкциях сооружения (удлинение или сжатие элементов).

Научно-техническое сопровождение строительства (НТСС) - комплекс работ научно-аналитического, методического, информационного, контрольного и организационного характера в процессе изыскания, проектирования и строительства для обеспечения безопасности зданий и сооружений.

Нивелирование - определение высот точек относительно уровенной поверхности, принятой за исходную.

Осадочная деформационная марка - устройство в виде шкалы или шарика, закрепленное на строительной конструкции, стене, в перекрытии и пр., предназначенное для наблюдений за высотными деформациями.

Осадка сооружения - вертикальное смещение сооружения, вызванное сжатием грунтов или уменьшением вертикальных размеров сооружения (или его частей).

Относительная неравномерность осадок - разность осадок двух соседних точек (реперов), отнесенная к расстоянию между ними.

Относительная неравномерность горизонтальных перемещений - разность горизонтальных перемещений двух соседних точек (марок), отнесенная к расстоянию между ними.

Превышение - разность высот двух точек.

Прогиб (выгиб) - вертикальное перемещение определенной точки, лежащей на пролетной конструкции, опорном контуре или других элементах большепролетной конструкции (балка, арки, рамы), вследствие деформации, вызываемой силовыми, температурными и другими нагрузками и воздействиями, и характеризующее работу конструкции.

Сооружение - строительная или технологическая конструкция специального функционального назначения, как правило, не имеющая стен и свободная от постоянного пребывания людей.

Точность измерений - качество измерений, отражающее близость их результатов к истинному значению измеряемой величины, характеризуется средней квадратической погрешностью измерений.

Текущая осадка - величина осадки любого репера, полученная как разность отметок предыдущего и последующего циклов измерений.

Уникальные объекты - объекты, в проектной документации которых предусмотрена хотя бы одна из следующих характеристик (Градостроительный кодекс Российской Федерации - ГКРФ):

а) высота более 100 м;

б) пролеты более 100 м;

в) наличие консоли более чем 20 м;

г) заглубление подземной части (полностью или частично) ниже планировочной отметки земли более 10 м;

д) наличие конструкций и конструкционных систем с нестандартными методами расчета либо разработка специальных методов расчета.

Приложение 20

ПЕРЕЧЕНЬ НОРМАТИВНОЙ И РЕКОМЕНДАТЕЛЬНОЙ ДОКУМЕНТАЦИИ ПО МОНИТОРИНГУ

1. СНиП 3.01.03-84 Геодезические работы в строительстве

2. ГОСТ 24846-81 Грунты. Методы измерения деформаций оснований зданий и сооружений

3. Руководство по наблюдению за деформациями оснований и фундаментов зданий и сооружений. - М.: Стройиздат, 1975

4. Инструкция по наблюдению за сдвижениями земной поверхности и расположенными на ней объектами при строительстве в Москве подземных сооружений. - М.: ИПКОИ РАН, 1997

5. Рекомендации по обследованию и мониторингу технического состояния эксплуатируемых зданий, расположенных вблизи нового строительства или реконструкции. - М.: Москомархитектура, 1998

6. Методика оценки и сертификации инженерной безопасности зданий и сооружений. - М.: МЧС России, 2003

7. Общие положения к техническим требованиям по проектированию жилых зданий высотой более 75 м. - М.: Москомархитекгура, 2002

8. СНиП 3.03.01-87 Несущие и ограждающие конструкции

9. СНиП 2.02.01-83* Основания зданий и сооружений

10. СНиП 2.01.07-85* Нагрузки и воздействия

11. МГСН 4.19-05 (временные) Многофункциональные высотные здания и комплексы. - М., 2005

12. Временные рекомендации по организации и технологии геодезического обеспечения строительства многофункциональных высотных зданий / ООО «Тектоплан». - М., 2005

13. Постановление Правительства Москвы от 16.12.1997 г. № 896-III

14. Методические указания по организации и проведению наблюдений за осадками фундаментов и деформациями здания и сооружений строящихся и эксплуатируемых тепловых электростанций РД 34.21.322-94

15. СНиП 12-01-2004 Организация строительства

16. Постановление Правительства Москвы № 21 от 07.04.2004 г. «О мониторинге технического состояния жилых домов на территории Москвы»

17. Постановление Правительства Москвы № 320-ПП от 18.05.04 г. «О мониторинге состояния строительных конструкций больше-пролетных, высотных и других уникальных зданий и сооружений, строящихся и эксплуатируемых в Москве»

18. СНиП 11-02-96 Инженерные изыскания для строительства. Основные положения

19. СП 11-104-97 Инженерно-геодезические изыскания для строительства

20. МГСН 2.07-01 Основания, фундаменты и подземные сооружения. - М., 2001

21. Пособие к МГСН 2.07-01 Обследование и мониторинг при строительстве и реконструкции зданий и подземных сооружений. - М., 2004

22. СП 50-101-2004 Проектирование и устройство оснований и фундаментов зданий и сооружений

23. ГОСТ Р 22.1.01-95 Безопасность в чрезвычайных ситуациях. Мониторинг и прогнозирование. Основные положения

24. ГОСТ Р 22.1.02-95 Безопасность в чрезвычайных ситуациях. Мониторинг и прогнозирование. Термины и определения

25. ГОСТ Р 22.1.05-95 Безопасность в чрезвычайных ситуациях. Средства технического мониторинга. Общие технические требования

26. ГОСТ Р 22.1.07-99 Безопасность в чрезвычайных ситуациях. Мониторинг и прогнозирование опасных метеорологических явлений и процессов

27. ГОСТ 24297-87 Входной контроль продукции. Основные положения

28. СНиП 3.01.04-87 Приемка в эксплуатацию законченных строительством объектов. Основные положения (изд. 2001 г. с изм.)

29. ТСН 12-309-2000 (Москва) Приемка и ввод в эксплуатацию законченных строительством объектов. Основные положения (МГСН 8.01-00)

30. СП 13-102-2003 Правила обследования несущих строительных конструкций зданий и сооружений

31. ГОСТ 27751-88 Надежность строительных конструкций и оснований. Основные положения по расчету

32. Инструкция по нивелированию I, II, III и IV классов / ГКИНП (ГНТА)-03-010-03. - М.: ЦНИИГАиК, 2004

33. ГОСТ 34.201-89 Виды, комплектность и обозначение документов при создании автоматизированных систем

34. РД 50-34.698-90 Автоматизированные системы. Требования к содержанию документов

35. РМ-2957. Рекомендации по эксплуатации многофункциональных высотных зданий и комплексов. - М., 2004

36. МДС 12-23.2006. Временные рекомендации по технологии и организации строительства многофункциональных высотных зданий и зданий-комплексов в Москве. - М., 2006.

37. МДС 20-1.2006. Временные рекомендации по назначению нагрузок и воздействий, действующих на многофункциональные высотные здания и комплексы в Москве. - М., 2006.

СПИСОК ЛИТЕРАТУРЫ

1. Горелов В.А., Лавриненко Е.Д. Определение крена высотного сооружения по разности параметров вероятнейших плоскостей: Сборник трудов МГСУ(МИСИ). - М., 2006.

2. Еремеев П.Г. Особенности проектирования уникальных большепролетных сооружений // Строительная механика и расчет сооружений. - 2005.

3. Горелов В.А., Назаров И.А. Особенности методики геометрического нивелирования короткими визирными лучами применительно к высотному строительству: Сборник трудов МГСУ(МИСИ). - М., 2006.

4. Назаров И.А. Учет влияния на точность измерений безотражательными электронными тахеометрами угла падения лазерного луча и отражающих свойств поверхности: Сборник трудов МГСУ(МИСИ). - М., 2006.

5. Руководство по натурным наблюдениям за деформациями гидротехнических сооружений и их оснований геодезическими методами / Гидропроект. - М.: Энергия, 1980.

6. Зуйко Е.И., Миронов И.Р., Назаров А.М. Геодезические измерения при натурных испытаниях строительных конструкций // Вопросы атомной науки и техники. Серия «Проектирование и строительство». Выпуск 3 (16).

7. Рязанцев Г.Е., Седельникова И.А., Назаров И.А. Современные автоматизированные системы контроля деформации большепролетных конструкций: Сборник трудов МГСУ (МИСИ). - М., 2006.

8. Рязанцев Г.Е., Буюкян С.П., Седельникова И.А. Современные автоматизированные системы контроля деформаций высотных зданий // Строительные материалы, оборудование, технологии XXI века. - 2005. - № 2.

9. Рязанцев Г.Е., Седельникова И.А. Автоматизированные системы инструментального геодезического геомониторинга: Справочное учебное пособие. - М.: МГСУ, 2003.

10. Рязанцев Г.Е., Бубман И.С. Применение оптических измерительных систем на основе современных электронных тахеометров для контроля за деформациями наземных зданий и сооружений // ОФМГ. - 2003. - № 4.

11. Рязанцев Г.Е., Седельникова И.А., Жидков А.А., Назаров И.А., Смирнов В.Н. Состояние и возможности современной геодезии при строительстве высотных зданий и комплексов: Сборник трудов МГСУ (МИСИ). - М., 2006.

12. Андрусенко Ю.В. Усовершенствованный метод наклонного проектирования при определении кренов высотных зданий: Сборник трудов МГСУ (МИСИ). - М., 2006.

13. Инженерная геодезия / Под ред. проф. Д.Ш. Михелева. - М.: Высшая школа, 2001.

14. Жидков А.А., Назаров И.А., Борисов А.Б. Передача отметки с горизонта на горизонт при высотном строительстве: Сборник трудов МГСУ (МИСИ). - М., 2006.

15. Еремеев П.Г., Рязанцев Г.Е., Жидков А.А., Алахверди А.А. Мониторинг несущих конструкций крытого конькобежного катка в г. Коломне // Монтажные и специальные работы в строительстве. - 2007. - № 10.

16. Михелев Д.Ш., Рунов И.В., Голубцов А.И. Геодезические измерения при изучении деформаций крупных инженерных сооружений. - М.: Недра, 1977.

17. Энциклопедия. Том II. Геодезия. Картография. Геоинформатика. Кадастр. - М.: Геодезкартиздат, 2008. - С. 200.

18. Большаков В.Д., Гайдаев П.А. Теория математической обработки геодезических измерений. - М.: Недра, 1977.

 



© 2013 Ёшкин Кот :-)