Информационная система
«Ёшкин Кот»

XXXecatmenu

ГОССТРОЙ СССР

РОСТОВСКИЙ ПРОМСТРОЙНИИПРОЕКТ

НИИЖБ

МИНПРОМСТРОЙ СССР

НИИПРОМСТРОЙ

РЕКОМЕНДАЦИИ
ПО ПРОЕКТИРОВАНИЮ АНТИКОРРОЗИОННОЙ ЗАЩИТЫ
ЖЕЛЕЗОБЕТОННЫХ КОНСТРУКЦИЙ ПРОИЗВОДСТВЕННЫХ
ЗДАНИЙ НЕФТЕХИМИЧЕСКОЙ ПРОМЫШЛЕННОСТИ

(в развитие главы СНиП 2.03.11-85)

Ростов-на-Дону

1986

Рекомендации подготовлены на основании многолетних натурных и лабораторных исследований, позволивших определить степень агрессивности производственных сред, разработать и предложить мероприятия по увеличению долговечности строительных конструкций, эксплуатируемых при воздействии этих сред, и изложить требования к строительным и антикоррозионным материалам.

Рекомендации предназначены для инженерно-технических работников, занимающихся проектированием предприятий нефтехимических производств или осуществляющих реконструкцию и ремонт зданий указанных предприятий.

Разработаны институтами: Ростовский Промстройниипроект (канд. техн. наук Карлина И.Н., инж. Кондрацкая С.И., кандидаты геолого-минep. наук Шувалова Л.П., Воляник Н.В., инж. Федулов A.B.); НИИЖБ (докт. техн. наук Гузеев Е.А., канд. техн. наук Булгакова М.Г.); НИИПромстрой (кандидаты техн. наук Гельфман П.Н., Кандинский В.Д., Яковлев В.В.).

При подготовке Рекомендаций использованы результаты исследований, проведенных кандидатами техн. наук Алимовым Ш.С. по производствам первичной переработки нефти, а также Черновым A.B., Курочкой П.Н. и Евсеевой Л.В - по производствам моющих веществ и присадок к маслам (Ростовский Промстройниипроект).

Печатаются по решению Ученого совета Ростовского Промстройниипроекта от 20 сентября 1984 г., протокол № 6.

1. Общие положения

1.1. Рекомендации составлены в развитие главы СНиП по защите строительных конструкций от коррозии. Они содержат основные положения по проектированию антикоррозионной защиты бетонных и железобетонных конструкций в условиях воздействия агрессивных сред производств нефтехимической промышленности, требования к материалам конструкций и материалам защиты от коррозии.

1.2. Рекомендации следует использовать при проектировании, реконструкции и восстановлении железобетонных конструкций следующих производств:

синтетических каучуков (цеха исходных мономеров, полимеризации и выделения каучуков, вспомогательные цеха);

катализаторов (цеолитсодержащих, алюмосиликатных, алюмосиликатных с цеолитовым наполнителем, алюмохромового, алюмоплатинового, алюмоникельмолибденового, алюмоцинкхромового, алюмоникельмолибденсиликатного, алюмокобальтмолибденового, железохромового, меди на окиси магния, фосфорной кислоты на кизельгуре, никеля на кизельгуре, кобальта на пемзе, фталевого корочного, вольфрамового, палладиевого, трегерного, ГИПХ-101, ГИАП-8, ГИПХ-105, ВНИИ-нефтехим-103), цеолитов, адсорбента, наполнителей и носителей;

моющих веществ и синтетических жирных кислот;

топливного (термический крекинг и первичная переработка нефти, гидроочистка топлива, производства жидких парафинов ("парекса"), ксилолов);

масел (фенольная очистка масел, депарафинизация масел, обезмасливание гача);

присадок к смазочным маслам (сульфонатных, сукцимидных, алкилфенольных, ИХП-21, НИХП-21).

1.3. Основными мероприятиями по повышению долговечности строительных конструкций являются:

снижение агрессивности среды (профилактические мероприятия);

подбор материалов конструкций, стойких в условиях эксплуатации предприятий нефтехимической промышленности и отвечающих предъявляемым к ним требованиям;

защита поверхностей конструкций от коррозии.

1.4. Снижение агрессивности среды может быть достигнуто:

заменой морально устаревшего и материально изношенного технологического оборудования новым, наиболее усовершенствованным;

максимально возможным устранением конструктивных недостатков технологического оборудования, являющегося основным источником агрессивных выделений (насосы, монжусы, теплообменники, сушильные печи, мерники, трубопроводы), и его отдельных узлов и деталей (запорная арматура, фланцевые соединения, сальники и др.);

применением коррозионно- и абразивостойких материалов для оборудования с учетом возможности использования последнего в условиях переменного воздействия различных по химическим свойствам технологических сред;

внедрением систем автоматического контроля и регулирования уровней наполнения емкостей, мешалок, мерников и т.п.;

устройством местных вентиляционных систем над оборудованием с испаряющимися агрессивными жидкостями;

использованием укрытых транспортеров и пневмотранспорта для подачи и уборки сырья и продуктов, выделяющих агрессивные пары и пыль;

соблюдением правил эксплуатации оборудования (своевременное и качественное выполнение ремонта, немедленная ликвидация аварийных проливов и выбросов при ремонтных работах или нарушении технологических режимов, улучшение надзора за исправностью оборудования).

1.5. При проектировании технологических схем производств и выборе объемно-планировочных решений необходимо предусмотреть:

максимально возможную группировку технологического оборудования с одинаковыми по химическому воздействию на материалы конструкций агрессивными средами;

размещение узлов расфасовки и хранения пылящих и парящих продуктов и сырья в отдельных помещениях;

вакуумную уборку производственных помещений и оборудования;

мокрую уборку полов и стен в зданиях, где возможно воздействие сильноагрессивных жидких и пылевидных сред.

2. Агрессивные среды

2.1. Разрушающее действие на бетонные и железобетонные конструкции производственных зданий нефтехимической промышленности оказывают технологические среды в виде жидкостей, газов, аэрозолей и пыли. Преобладающее воздействие той или другой среды определяется видом производства, а также технологическим и температурно-влажностным режимом конкретного производственного процесса. Так, для производств синтетических каучуков, присадок к маслам, жидких парафинов и ксилолов характерно в большей степени воздействие жидких сред, паров и газов; для катализаторных производств - жидких и газообразных сред и пыли; для производств моющих веществ - жидких сред и порошков; для производств первичной обработки нефти - жидких и газообразных сред.

2.2. Агрессивные среды производств нефтехимической промышленности можно разделить на следующие группы:

кислоты минеральные; кислоты органические; щелочи; растворы солей, окиси и ангидриды; органические вещества, способные к полимеризации; перекиси и прочие органические вещества, способные вступать в химическое взаимодействие с цементным камнем; спирты, эфиры, ароматические углеводороды, кетоны, альдегиды; масла; нефть и некоторые нефтепродукты; смеси веществ.

2.3. Характеристика агрессивных сред с указанием интенсивности их выделения и степени воздействия на бетон железобетонных конструкций приведена в табл. 2.1, а перечень технологического оборудования, являющегося основным источником этих выделений, - в приложении 1.


Таблица 2.1

Перечень агрессивных сред нефтехимических производств и их характеристика

Наименование сред

Концентрация

Температура, °С

Интенсивность выделений

Степень агрессивного воздействия на бетон конструкций

Производства, цеха, отделения, участки

1

2

3

4

5

6

Кислоты минеральные:

 

 

 

 

 

серная

1 - 98

20 - 60

Средн., больш.

Сильн.

Производство синтетических каучуков. Цеха диметилдиоксана (участок насосов), дивинилметилстирола (отделение приготовления растворов), полимеризации хлоропрена, выделения каучуков в виде ленты или крошки (отделение коагуляции, участки кислотной группы), приготовления эмульгаторов (отделение кислот и щелочей), производства персульфата калия, химводоочистки

 

 

 

 

 

Катализаторные производства. Цеха производства катализаторов, цеолитов, адсорбентов, носителей (узлы приготовления сернокислого алюминия, цеолитовой суспензии, растворов серной кислоты; блоки мокрой обработки; сероводородное отделение, реагентное хозяйство)

 

 

 

 

 

Производство моющих веществ. Цех синтетических моющих средств (участок получения алкилсульфатов), склад кислот

 

 

 

 

 

Производство жидких парафинов. Блок олеумной очистки, насосные, блок "парекса", реагентное хозяйство

 

 

 

 

 

Производство присадок к смазочным маслам. Корпус сульфирования сульфонатных присадок, насосные

соляная

5 - 35

20 - 60

Средн., больш.

Сильная

Производство синтетических каучуков. Цеха моновинилацетилена (отделения приготовления катализаторной смеси, реакторное), хлоропрена, дивинилметилстирола, полимеризации хлоропрена; склад соляной кислоты

 

 

 

 

 

Катализаторное производство. Цеха производства алюмоплатинового, трегерного катализаторов и активной окиси алюминия (отделения растворения, приготовления растворов для пропитки катализаторов, регенерации)

 

 

 

 

 

Пpоизводство моющих веществ. Склад кислот

азотная

10 - 100

20 - 60

Средн., больш.

Сильн.

Производства синтетических каучуков. Катализаторные производства (отделение регенерации, растворения, приготовления растворов, узлы приготовления замесов и осаждения при производстве алюмоплатинового, "меди на окиси магния", трегерного, палладиевого катализаторов и носителей)

фосфорная

10 - 100

10 - 60

Средн.

-"-

Производство синтетических каучуков. Цех полимеризации изопрена

 

 

 

 

 

Катализаторное производство. Цех катализатора "фосфорная кислота на кизельгуре" (отделение упаривания)

пирофосфорная

80

90 - 100

-"-

-"-

Катализаторное производство. Цех катализатора "фосфорная кислота на кизельгуре"

плавиковая

10 - 40

20 - 25

Средн.

Сильн.

Катализаторное производство. Цех носителя для катализатора (узел смесителей)

хромовая

7 - 26

20 - 25

-"-

-"-

Катализаторное производство. Цеха алюмохромового, алюмоцинкхромового, железохромового, катализаторов (узлы растворения и приготовления замесов)

платинохлористоводородная

120 - 200 г/л

20 - 25

Средн.

Сильн.

Катализаторное производство. Цех алюмоплатинового катализатора (отделения растворения, активации)

синильная

40

20 - 30

-"-

-"-

Производство жидких парафинов

хлорсульфиновая

94

20 - 30

-"-

-"-

Производство моющих веществ. Участок получения алкилсульфатов

Кислоты органические:

 

 

 

 

 

метакриловая

 

 

Средн.

Сильн.

Производство синтетических каучуков. Цеха основного и вспомогательного производства

муравьиная

1 - 35

20 - 30

-"-

-"-

Производство синтетических каучуков. Цеха диметилдиоксана и формалина. Пpoизводство моющих веществ

уксусная

1 - 90

20 - 30

Больш., средн.

-"-

Производство синтетических каучуков. Цеха выделения каучука в виде ленты или крошки (отделение коагуляции) и приготовления эмульгатора (отделение уксусной кислоты)

 

 

 

 

 

Катализаторное производство. Цех алюмоплатинового катализатора (отделения растворения, сероводородное)

 

 

 

 

 

Производство моющих веществ. Цех извлечения низкомолекулярных жирных кислот

молочная

 

 

Средн.

Сильн.

Катализаторные производства. Цех трегерного катализатора (отделение приготовления катализаторов)

этилендиаминтетрауксусная

1 - 30

 

-"-

-"-

Производство синтетических каучуков. Цех приготовления эмульгатора и др.

бензосульфокислота

 

 

-"-

-"-

Производство присадок к смазочным маслам. Цеха ИХП, НИХП, сульфонатных присадок

фумароновая

 

 

Малая

Средн.

То же

сульфаминовая

 

 

-"-

Сильн.

-"-

малеиновая

 

 

-"-

-"-

Производство сукцимидных присадок

олеиновая

конц.

Средн.

-"-

Производство моющих веществ. Склад готовой продукции, насосное отделение, цеха синтетических жирных кислот (участок окисления парафинов, дистилляции и выделения жирных спиртов) и синтетических жирных спиртов (участок этерификации)

пропионовая

20 - 30

-"-

-"-

масляная

-"-

-"-

валериановая

20 - 70

Малая

-"-

капроновая

20 - 70

Малая

-"-

гептиловая

конц.

20 - 70

Малая

Сильн.

Цех синтетических жирных кислот (участки окисления парафинов, разложения мыльного клея и дистилляции синтетических жирных кислот, выделения жирных спиртов)

каприловая

-"-

20 - 70

-"-

-"-

каприновая

конц.

30 - 70

Малая

Средн., сильн. (в присутствии воды)

Цех синтетических жирных спиртов (участок этерификации). Склады готовой продукции

ундециловая

лауриновая

тридециловая

миристиновая

пентадециловая

пальмитиновая

маргариновая

конц.

50 - 70

-"-

Слабая

То же

стеариновая

арахиновая

Щелочи:

 

 

 

 

 

натриевая

1 - 42

20 - 70

Больш., средн.

От слабой до сильной

Производство синтетических каучуков. Цеха диметилдиоксана, полимеризации хлоропрена, выделения каучука (отделение коагуляции), химводоочистки

калиевая

1 - 42

20 - 70

То же

То же

 

 

 

 

 

Катализаторные производства. Цеха цеолитсодержащих, алюмосиликатного, алюмоникельмолибденсиликатного, "кобальта на пемзе" катализаторов (отделения фильтрации, кристаллизации, осаждения, приготовления растворов, адсорбции, сероводородное, мокрой обработки и др.). Термический крекинг и первичная переработка нефти. Реагентное хозяйство, насосные, гидроочистка топлива. Производство жидких парафинов. Блоки очистки, технологические этажерки

Растворы солей, окиси и ангидриды:

 

 

 

 

 

сульфата аммония

3 - 240 г/л

2 - 120

Средн.

Средн., сильн.

Катализаторные производства. Цеха цеолитсодержащего, алюмосиликатного, алюмоникельмолибденового и других катализаторов, а также адсорбента, носителя для катализатора "активная окись алюминия" и др.

 

 

 

 

 

Производства синтетических каучуков. Цеха приготовления эмульгаторов и полимеризации

сульфата натрия

15 - 300г/л

20 - 65

Больш.

Сильн.

Катализаторные производства. Цеха цеолитсодержащего, алюмосиликатного и т.п. катализаторов; отделение приготовления растворов, блок мокрой обработки. Производства моющих веществ

сульфата никеля

10 - 12

60 - 80

Средн.

Средн., сильн.

Катализаторное производство. Цех катализатора "никель на кизельгуре"

сульфата железа

80 - 260 г/л

20 - 70

-"-

То же

Катализаторное производство. Цех катализатора ВНИИнефтехим-103, железохромового

сульфата аммония

0,02

500 г/л

50 - 70

Больш., средн.

Сильн.

Катализаторные производства. Цеха цеолитсодержащего, алюмосиликатного с наполнителем и без него, алюмоникельмолибденового и железохромового катализатора (отделения приготовления растворов, мокрой обработки, узлы сульфата аммония)

персульфата калия

5 - 10

20 - 50

Больш.

"

Производства синтетических каучуков. Цеха полимеризации дивинилметилстирола, хлоропрена

сульфата калия

5 - 10

20 - 50

"

Средн.

Цех производства персульфата калия

нитрата алюминия

400 - 520 г/л

20 - 25

Средн.

Сильн.

Катализаторное производство. Цех катализатора ГИАП-8 (отделение приготовления растворов)

нитрата кобальта

300 - 700 г/л

20 - 50

"

"

Цех катализатора "кобальт на пемзе" (отделение растворения и пропитки)

нитрата никеля

350 - 410 г/л

20

"

"

Цех катализатора алюмоникельмолибденсиликатного

нитрата меди

48 - 50

40 - 90

Средн.

Сильн.

Цех катализатора "медь на окиси магния"

нитрата магния

40 - 85

40 - 45

"

"

То же

нитрат хрома

-

40 - 90

"

"

Цех катализатора "ВНИИнефтехим-103" (отделение приготовления растворов)

нитрат аммония

20 - 400 г/л

30 - 45

"

"

Цех цеолитсодержащего катализатора (отделение приготовления цеолитовой суспензии)

хлористого аммония

80

20 - 35

Больш., средн.

"

Производство синтетических каучуков. Цех моновинилацетилена. Катализаторные производства. Цех алюмосиликатного наполнителя (отделения приготовления рабочих растворов, мокрой обработки, осаждения)

хлористого натрия

20 - 30

 

Больш.

"

Производство синтетических каучуков. Цеха хлоропрена и полимеризации изопрена, солевые резервуары, цеха приготовления эмульгатора и солевых растворов

 

 

 

 

 

Катализаторные производства. Насосные, отделения приготовления растворов, холодильное, мокрой обработки

 

 

 

 

 

Термический крекинг и первичная переработка нефти, отделение обессоливания нефти (ЭЛОУ)

хлористого кальция

15 - 20

 

Больш.

Сильн.

Производство синтетических каучуков. Цех хлоропрена и полимеризации изопрена, солевые бассейны, цеха приготовления эмульгатора и солевых растворов. Катализаторные производства. Аммиачно-холодильное отделение

бихромата аммония

90

20 - 25

"

Средн.,сильн.

Цех алюмохромового катализатора

хромата аммония

1 г.моль

л

25 - 85

Больш., средн.

Сильн.

Цех катализатора "ГИПХ-105"

сульфата аммония

-

-

Средн.

Средн.

Производство присадок к смазочным маслам

четыреххлористого титана

40

20 - 50

"

Сильн.

Производство синтетических каучуков. Цеха полимеризации

тринатрийфосфата

25

20 - 25

Малая

Средн.

Производство синтетических каучуков. Цеха получения дивинилстирольного каучука

Пятисернистый фосфор (пары)

-

-

Средн.

Слаб.

Производство присадок к смазочным маслам

Окись цинка (пары)

-

-

 

"

То же

Малеиновый ангидрид

-

-

 

Сильн.

Производство присадок к смазочным маслам

Сернистый ангидрид

-

-

 

Средн.

То же

Цианиды

-

-

Малая

Сильн.

Пpоизводство жидких парафинов

Семиокись рения (пыль)

-

-

Больш.

Средн.

Катализаторные производства. Цех риформинга (отделение растворения)

Хлористый кадмий (пыль)

-

-

"

"

Цех алюмоплатинового катализатора типа "KP" (отделение растворения)

Хромовокислый калий (пыль)

-

-

"

"

Цех железохромового катализатора (отделение расфасовки хромпика и узел растворения)

Окись хрома (пыль)

-

-

"

"

То же

Органические вещества, способные к полимеризации

 

 

 

 

 

Ацетальдегид

-

20 - 30

Средн.

Средн.

Производства синтетических каучуков. Производство метилвинилпиридина

Стирол

-

20 - 50

Малая

Слаб.

Цеха получения дивинил- и дивинилметилстирольных каучуков, цеха стирола

Изопрен

-

20 - 25

Малая

Слаб.

Цеха получения изопренового каучука

Нитрил акриловой кислоты

-

20 - 80

"

"

Цеха получения нитрильных каучуков

Хлоропрен

-

20 - 25

Больш.

Сильн.

Цеха получения хлоропренового каучука

Метилвинилпиридин

-

20 - 30

Малая

Средн.

Производство синтетических каучуков. Цех метилвинилпиридина

Перекиси и прочие органические вещества, способные вступать во взаимодействие с цементным камнем

 

 

 

 

 

Гидроперекись изопропилбензола

-

-

Средн.

Средн.

Производство синтетических каучуков. Цеха получения хлоропренового, дивинилметилстирольного, изопренового каучуков, цеха товарных латексов

Гидроперекись изопропилциклогексилбензола

-

-

"

"

То же

Дихлорбутен

-

-

"

Средн.

Цех дихлорбутена, производство хлоропренового каучука

Диметилформамид (водный раствор)

-

-

"

Средн., сильн.

Производство изопренового каучука. Цех выделения и очистки изопрена

Лаурилмеркаптан

-

-

Малая

Средн.

Цеха полимеризации каучуков

Формалин

-

-

Больш.

"

Производство синтетических каучуков. Цех получения формалина, насосное отделение, цех диметилдиоксана

 

 

 

 

 

Производство присадок к маслам

Раствор натриевой соли этилендиаминтетрауксусной кислоты (трилон "Б")

-

-

Средн.

"

Цех полимеризации дивинилметилстирола, цех товарных латексов

Некаль

-

-

"

Сильн.

Производство синтетических каучуков. Цеха эмульгатора, некаля, полимеризации нитрильных каучуков и α-метилстиролдивинила

Ронголит

-

-

Средн.

Средн.

Цеха полимеризации синтетических каучуков

Лейканол

-

-

Малая

Сильн.

Производство синтетических каучуков. Цеха полимеризации дивинил-а-метилстирола и эмульгаторов

Спирты, эфиры, ароматические углеводороды, кетоны, альдегиды

 

 

 

 

 

Метанол

20 - 30

-

Малая

Слаб.

Производство синтетических каучуков. Цех метилвинилпиридина

 

 

 

 

 

Производство моющих веществ. Цеха синтетических жирных кислот и спиртов (отделения сульфирования жирных спиртов). Производство присадок к смазочным маслам

Этанол

20 - 25

-

Малая

Слаб.

Производство синтетических каучуков. Цех метилэтилпиридина

Пропанол

20 - 25

-

"

"

Производство синтетических каучуков.

Циклогексанол

20 - 30

 

 

 

Цех производства гидроперекиси изопропилциклогексилбензола

Первичные и вторичные синтетические жирные спирты

35 - 70

-

"

"

Производство моющих веществ. Цеха синтетических жирных кислот и спиртов

Изопропанол

-

-

"

"

Производство присадок к смазочным маслам. Цех присадок ИХП, НИХП

Ацетон

-

-

Средн.

"

Производство синтетических каучуков. Цех экстрактивной дистилляции

Бензол

-

-

Средн.

Слаб.

Производство синтетических каучуков. Цеха производства стирола и ксилолов

Полиалкилбензол

-

-

"

"

Производство синтетических каучуков. Цеха реакционной массы и изопропилбензола

Этилбензол

-

-

Малая

Слаб.

Производство синтетических каучуков. Цех реакционной массы (отделение алкилирования). Производство ксилолов

Изопропилбензол

-

-

"

"

Производство синтетических каучуков. Цех производства реакционной массы. Производство стирола

Изопропилциклогексилбензол

-

-

"

"

Производство синтетических каучуков. Цеха полимеризации дивинилстирольных каучуков, гидроперекиси изопропилциклогексилбензола

Ксилол

-

-

Средн.

"

Производство синтетических каучуков. Цеха полимеризации. Пpоизводство присадок к смазочным маслам. Производство ксилолов

Метаксилол

-

-

"

"

Производство ксилолов

Ортоксилол

-

-

"

"

То же

Параксилол

-

-

"

"

"

Толуол

-

-

"

"

Производство синтетических каучуков. Цеха стирола, изопренового каучука. Производство присадок к смазочным маслам; производство ксилолов, депарафинизация масел

Диметилдиоксан

-

-

Малая

Слаб.

Производство синтетических каучуков. Производство формалина и изопрена

Моноэтаноламин

-

-

"

Сред.

Гидроочистка топлива

а-метилстирол

-

-

Малая

Слаб.

Производство синтетических каучуков. Цеха выделения каучуков и полимеризации

Фенол

-

-

Средн.

Сильн.

Производство присадок к смазочным маслам

Алкилфенол

-

-

Малая

"

Производство присадок к смазочным маслам

Гидрохинон

-

-

"

"

Производство синтетических каучуков. Цеха получения нитрильных каучуков

Метилетилкетон

-

-

Средн.

"

Производство масел. Цех допарафинизации масел

Масла:

 

 

 

 

 

Турбинное марки "Л"

-

16 - 80

Средн.

Средн.

Катализаторное производство. Цеха цеолитсодержащих катализаторов, алюмосиликатного с наполнителем и без него; компрессорные цеха

Веретенное Б-ЭB

-

18 - 30

"

"

Катализаторное производство. Компрессорные цеха, производство ксилолов

Бисэтилксантогенат (БЭК)

-

18 - 20

Средн.

Средн.

Производство синтетических каучуков. Цех получения и выделения каучука

Масло ПН-6

-

18 - 20

"

Средн., сильн.

Производство синтетических каучуков. Цех приготовления эмульгатора и выделения каучуков

Кислое масло

-

-

"

Сильн.

Производство присадок к смазочным маслам. Цеха сульфонатных и сукцимидных присадок и депарафинизации масел

ИС-20

-

-

"

Средн.

То же

И-12 А

-

-

"

Средн.

-"-

И-20 А

-

-

"

"

-"-

К-350

-

-

Средн.

Средн.

-"-

К-353

-

-

"

"

-"-

К-35 И

-

-

"

"

-"-

Нефть и нефтепродукты

 

 

 

 

 

Нефть

-

-

Больш.

Средн.

Термический крекинг и первичная переработка нефти, гидроочистка топлива

Дизельное топливо

-

-

Средн.

"

Производство жидких парафинов, гидроочистки топлива

Керосин

-

-

Средн.

Слаб.

Производство гидроочистки топлива, термического крекинга и первичной переработки нефти

Бензин

-

-

Малая

Неагр.

Производство ксилолов, термического крекинга и первичной переработки нефти

Бензин-экстракт

-

-

"

Средн.

То же

Парафины:

 

 

 

 

 

очищенные

-

20 - 30

Средн.

Слаб.

Производство жидких парафинов

неочищенные

-

20 - 80

"

"

То же

Кислый гудрон

-

-

Больш.

Сильн.

Производство жидких парафинов

Смеси веществ

 

 

 

 

 

Серум (хлористый натрий + серная кислота + следы жирных кислот)

-

-

Больш.

Сильн.

Производство синтетических каучуков. Цех выделения каучуков

Эмульгатор (серная кислота + нафталин + олеумпсевдобутилен)

-

-

"

"

Производство синтетических каучуков. Цехи эмульгаторов и выделения каучуков

Катализаторная смесь (хлористая медь + хлористый аммоний + соляная

-

-

Больш.

Сильн.

Производство синтетических каучуков. Цех моновинилацетилена (реакторное и катализаторное отделения)

Вода под лентоотливочными машинами (вода + некаль + хлористый натрий)

-

-

Больш.

Средн.

Производство синтетических каучуков. Цеха выделения и получения каучуков

Водная фаза I (некаль + лейкамол + пирофосфат натрия + триэтаноламин)

-

-

"

"

То же

Медно-аммиачный раствор ацетата заксиной меди

-

-

"

Сильн.

Производство синтетических каучуков. Катализаторные отделения

Суспензия цеолита

-

20 - 90

"

Средн.

Катализаторные производства. Цеха цеолитсодержащих и алюмосиликатных катализаторов с цеолитовым наполнителем

Кремнезоль:

 

 

 

 

 

щелочной

pH 11,5

35 - 80

"

Средн., сильн.

Катализаторные производства. Цех алюмосиликатного наполнителя (отделения кристаллизации и приготовления растворов)

кислый

pH 2 - 2,08

35 - 80

"

Сильн.

Цех адсорбента (отделение фильтрации и приготовления растворов)

Раствор жидкого стекла

-

5 - 180

Средн.

Средн.

Катализаторные производства. Цеха алюмосиликатного катализатора и цеолитов (отделения фильтрпрессов, разварки, реакторов, мокрой обработки)

Оксидат (окисленный парафин)

-

120

Малая

Слаб.

Производство моющих веществ. Цех синтетических жирных кислот (CЖК), участок окисления парафинов

Сульфатная вода (сульфат натрия + органические соли)

-

20 - 25

Средн.

Сильн.

Производство моющих веществ. Цех СЖК (участок омыления, отделения неомыляемых и дистилляции). Цех извлечения сульфата натрия

Кислая вода (летучие органические кислоты + парафиновые масла)

-

20 - 25

"

"

Производство моющих веществ. Цех СЖК

Водный конденсат (оксикетокарбоновые кислоты, кетоны, альдегиды)

-

20 - 25

Средн.

Сильн.

Производство моющих веществ. Цех СЖК (участок разложения мыльного клея и дистилляции СЖК)

Масляный конденсат (СЖК)

-

30 - 40

Малая

"

Производство моющих веществ. Цеха СЖК, СЖС, синтетических моющих средств (CMC)

Неомыляемые (смесь спиртов, кетонов, альдегидов, эфиров)

-

25 - 30

"

Слаб.

Производство моющих веществ. Цех СЖК (участок омыления и отделения неомыляемых)

Мыльный клей

-

20 - 50

"

"

Производство моющих веществ. Цех СЖK (участок окисления парафинов)

Стиральные порошки

-

-

Больш.

Сильн.

Производство моющих веществ. Цех синтетических моющих средств

Параконденсат (бензол + тoлyoл + пар)

-

-

Средн.

Средн.

Производство ксилолов

Бентол (бензол + толуол)

-

-

Средн.

Слаб.

Производства синтетических каучуков и ксилолов

Сероводородная вода (нефтепродукты + сероводород)

-

-

Больш.

Сред.

Производство гидроочистки топлива


Примечания: 1. Степень агрессивности среды по отношению к арматуре следует определять в соответствии со СНиПом по защите строительных конструкций от коррозии или дополнительными исследованиями;

2. Оценка агрессивности среды дана для бетонов нормальной водонепроницаемости (W4) на обычном портландцементе;

3. В случае одновременного воздействия нескольких сред их агрессивность оценивается по наиболее сильной из них.

2.4. Интенсивность выделений агрессивных сред принята согласно следующим критериям:

большая интенсивность характеризуется постоянным (систематическим) стоком или застоем жидкости на поверхности конструкции с увлажнением последней;

средняя - периодическим попаданием жидкости на конструкцию при частоте проливов 1 - 2 раза в неделю и радиусе действия от источника выделения 2 - 3 м (частичное увлажнение конструкции);

малая - случайным воздействием жидкости на конструкцию, вызывающим лишь ее незначительное увлажнение.

2.5. В зависимости от степени агрессивного воздействия технологических сред и температурно-влажностного режима помещений все производственные здания разделены на три группы (табл. 2.2):

к первой отнесены здания отделений и цехов, где температурно-влажностный режим и производственная среда не оказывают или оказывают слабое агрессивное воздействие на материалы конструкций;

ко второй - здания, где при нормальной влажности возможно выделение агрессивных газов и наблюдаются периодические проливы агрессивных жидкостей малой и средней интенсивности;

к третьей группе отнесены производственные здания, где при относительной влажности воздуха свыше 75 % наблюдается выделение агрессивных газов групп Б и В, происходят периодические или постоянные проливы агрессивных технологических жидкостей средней и большой интенсивности и отмечается воздействие слабо- и среднеагрессивных растворов, образующихся в результате увлажнения выделяющейся пыли.


Таблица 2.2

Классификация производственных зданий нефтехимической промышленности по степени воздействия агрессивных сред на бетонные и железобетонные конструкции

Группа зданий, цехов, отделений

Наименование цехов, отделений

Относительная влажность воздуха, %

Наименование газов

Степень воздействия газов на бетон железобетонных конструкций

Наименование жидкостей, паров, пыли, аэрозолей

Степень их воздействия на бетон железобетонных конструкций

1

2

3

4

5

6

7

Производства синтетических каучуков

 

Цех дивинилметилстирола, отделение отгонки

> 75

-

-

Латекс, стиральная сода

Слаб.

 

Цexа выделения каучуков в виде ленты или крошки, отделение лентоотливочных машин, каскада коагуляции

-

-

То же

"

I

Цех химводоочистки, отделение осветлителей

-

-

Серум, ацетон

"

 

Цеха получения нитрильных каучуков

-

-

Нитрильная вода

"

 

Цех получения бутилендивинильной фракции, технологическая этажерка, насосная

61 - 75

-

-

Ацетон, бензол, медноаммиачный раствор

Средн.

II

Цex получения концентрированного дивинила (отделения насосное и приготовления медно-аммиачного раствора), технологическая этажерка, открытый склад

> 75

-

-

То же

"

 

Цех товарных латексов

61 - 75

-

-

Гидроперекиси изопропилбензола, изопропилцикло- гексилбензола

Средняя

II

Цеха полимеризации дивинилметилстирола (отделение полимеризации) и выделения каучука в виде ленты или крошки

> 75

-

-

Раствор трилона "Б", раствор персульфата калия, маркаптан, керосин, стирол а-метилстирол, латекс

"

 

Участки щелочной группы, масляной, солевых растворов

> 75

-

-

Растворы натриевой и калиевой щелочей, растворы хлорида кальция и натрия, минеральные масла

"

 

Цеха приготовления эмульгатора (отделение эмульгаторов) и метилвинилпиридина

61 - 75

-

-

Растворы хлоридов натрия и калия, расплавленная канифоль, ацетальдегид

"

 

Цех выделения каучука в виде ленты иди крошки (отделение коагуляции, участки кислотной группы)

61 - 75

-

-

Растворы серной и уксусной кислот

Сильн.

III

Цех полимеризации хлоропрена

> 75

Хлористый водород

Средн.

Хлоропрен, растворы серной и соляной кислот, персульфата калия, щелочей

Сильн.

 

Цех полимеризации изопрена (отделения полимеризаций, насосное, технологическая этажерка)

> 75

Изопентан

Слаб.

Фосфорная кислота, растворы щелочей, растворы солей хлористого натрия и кальция, изопрен, формалин

"

 

Цех полимеризации дивинилметилстирола (отделение приготовления растворов)

> 75

-

-

Серная и соляная кислоты, растворы неозона "Д", щелочей, трилона "Б", персульфата калия

"

 

Цех диметилдиоксана, основной корпус. Технологическая этажерка, открытый склад

61 - 75

Формальдегид

Слаб.

Щелочи натриевая и калиевая, серная и муравьиная кислоты, формалин

"

> 75

 

Цех приготовления эмульгаторов (отделение кислот и щелочей), цех некаля

61 - 75

Пары кислот

Сильн.

Растворы серной и уксусной кислот, щелочей, СЖК, лейканол, некаль

"

III

Цех полимеризации нитрильных каучуков, а-метилстиролдивинила. Цех производства персульфата калия

61 - 75

-

-

Серная кислота, растворы персульфата и сульфата калия

"

 

Цех формалина, насосное отделение

61 - 75

Формальдегид

Средн.

Растворы формалина, метанол, муравьиная кислота

"

 

Технологическая этажерка, открытый склад

> 75

-

-

То же

"

 

Цех солевых растворов, насосное отделение, солевые железобетонные бассейны

> 75

-

-

Растворы сульфата натрия, хлорида натрия

Сильн.

III

Цех моновинилацетилена, отделения приготовления катализаторной смеси, реакторное

> 75

Хлористый водород

Средн.

Растворы соляной кислоты, хлористого аммония, катализаторная смесь

"

Аммиак

Слаб.

Хлор

Сильн.

 

Цех хлоропрена

> 75

Хлористый водород

Средн.

Хлоропрен, дихлорбутен, соляная кислота, растворы хлорида натрия и кальция

"

Катализаторные производства

I

Отделения сырья, дробления, таблетирования, расфасовки, затаривания, выгрузки, сушки, склады готовой продукции

60

-

-

-

-

II

Отделения приготовления цеолитов, кристаллизации, компрессорное, холодильное, сушки и прокалки

61 - 75 и 60 (в отделении сушки и прокалки)

Нитрозные (В)

Средн.

Суспензия алюмосиликата и цеолита, растворы хлористого натрия, кальция, жидкого стекла, нейтрализованный черный контакт, керосин, турбинное и веретенное масла, пыль хромовокислого калия, промывная вода

Средн.

Хлористый водород (В)

Слаб.

Аммиак

Слаб.

III

Отделения приготовления растворов, мокрой обработки, фильтрации, реакторов, смесителей, осаждения, упаривания, пропитки, адсорбции, регенерации, провяливания, сероводородное, насосное

> 75

Углекислый (Б)

Слаб.

Растворы серной, плавиковой, хромовой, молочной кислот; растворы и пары азотной, соляной, орто- и пирофосфорной, платинохлористоводородной, уксусной кислот, натриевой щелочи; растворы солей сульфатов натрия, никеля, алюминия, нитратов алюминия, хрома, меди, аммония и др., хлоридов натрия, кальция, бихромата и хромата аммония; кремнезоль (кислый); порошки окиси хрома и др.

Сильн.

Аммиак

"

Сероводород

"

Нитрозные (В)

"

Хлористый водород (В)

"

Производства моющих веществ и синтетических жирных кислот

I

Цех синтетических жирных кислот (СЖК), участок ректификации, склад парафина

> 75

Летучие погоны органических кислот

Слабая

Окисленный парафин, пары синтетических жирных кислот

Слаб.

II

Цех СЖК, участок гидрогенизации

> 75

Летучие погоны органических кислот

Слаб.

Кислоты (С10 - С16), парыкислот

Средн.

 

Цеха синтетических жирных спиртов, участок этерификации

> 75

Летучие погоны органических кислот

"

Синтетические жирные кислоты (С10 - С16), синтетические жирные спирты, метанол, эфиры

Сильн.

III

Цех синтетических моющих веществ

61 - 75

-

-

Порошкообразные и жидкие моющие средства

"

 

Цех низкомолекулярных жирных кислот

61 - 75

-

-

Водорастворимые синтетические жирные кислоты

"

 

Цех извлечения сульфата натрия

> 75

-

-

Сульфат натрия

"

 

Цех синтетических жирных кислот

> 75

Летучие погоны органических кислот

Слаб.

Синтетические жирные кислоты С5 - С6, С7 - С9, С10 - С16, С17 - С20

"

 

Склады сырья, кислот, готовой продукции, насосные

61 - 75

 

 

CЖК, CMC, катализаторы

"

Топливное производство

I

Технологические этажерки:

 

Газы промплощадок, сероводород

Слаб.

-

-

 

цехов гидроочистки топлива (дизельного, керосина, бензина)

> 75

 

 

 

 

 

производства жидких парафинов

> 75

То же

Слаб.

Аммиачная вода, отработанные щелочи, парафин

Слаб.

 

производства бензольного реформинга

> 75

То же

"

Бензин, толуол, ксилол, параконденсат

"

II

Технологические этажерки термического крекинга и первичной переработки нефти, участок электродегидраторов, насосные, реагентное хозяйство

61 - 75

Газы промплощадки

"

Нефть, нефтяная грязь, бензин, керосин, дизельное топливо, солевые растворы, щелочи, моноэтаноламин, сероводородная вода

Средн.

 

Цеха производств суммарных ксилолов

61 - 75

Этилен, пропан, водород- содержащие газы, водород

"

Пара-, мета- и ортоксилол, этилбензол, экстракт-бензин. масло Б-38

"

III

Блоки олеумной очистки "парекса", насосные, реагентное хозяйство, производства жидких парафинов

61 - 75

Аммиак, водород

"

Дизельное топливо, кислый гудрон, неочищенные парафины (со щелочью), цианиды, синильная кислота

Сильн.

Производство масел

I

Производство бензольного реформинга, технологические этажерки, насосные

> 75

Газы промплощадки (п. 2.6)

Слаб.

Бензин, толуол, ксилол, параконденсат

Слаб.

II

Производство суммарных ксилолов, технологическая этажерка, насосные

> 75

Этилен, пропан, водородсодержащие газы, водород

"

Пара-, мета- и ортоксилол, этилбензол, экстракт-бензин, масло Б-38

Средн.

III

Установка фенольной очистки масел

61 - 75

Фенол

Средн.

Азеотропная смесь (фенол + вода), рафинат-экстракт

Сильн.

 

Технологическая этажерка, отделение теплообменников

> 75

-

 

 

-

 

Установки депарафинизации масел и обезмасливания гача

61 - 75

 

 

Рафинат, метилэтилкетон, толуол, гач, парафин

Сильн.

 

Технологические этажерки, насосные, фильтровальное oтделение

> 75

-

 

То же

 

Производство присадок к смазочным маслам

I

Производство присадок ИХП-21, НИХП-21, отделение форфатирования и центрифугирования

> 75

-

-

Водяной пар, присадка ИХП

Слабая

II

Производство ИХП, НИХП, главный технологический корпус, производство сульфонатных присадок, корпус высокощелочных сульфонатов

60 - 75

-

-

Бензосульфокислота, пары алкилбензола, метанол, толуол, сульфонат аммония, аммиачная вода

Средн.

III

Производство сульфонатных присадок, корпус сульфирования, технологическая этажерка, отделение утилизации кислого гудрона

> 75

-

-

Серная кислота, кислое масло, кислый гудрон, бензин

Сильн.

 

Производство сукцимидных присадок, главный корпус, корпус приготовления малеинового ангидрида, технологическая этажерка

> 75

Газы промплощадки (п. 2.6)

Слаб.

Малеиновая кислота, малеиновый ангидрид. ксилол, формалин

"

 

Производство алкилфенольных присадок, главный корпус, технологическая этажерка

> 75

Газы промплощадки (п. 2.6)

Средн.

Алкилфенол, фенол, пары фенола, минеральные масла, алкилбензол, бензин, пары с окисью цинка и пятисернистого фосфора

"

 

Производство присадок ИХП-21, НИХП-21, фенольное отделение

> 75

-

-

Фенол и пары фенола

Сильн.

 

Сливоналивная эстакада

> 75

-

-

Фенол, бензосульфокислота, спирты этиловый и изопропиловый

"


2.6. Газовоздушная среда промышленных площадок предприятий нефтехимической промышленности характеризуется наличием газов сероводорода, окиси углерода, окислов азота, сернистого ангидрида, аммиака, хлористого водорода, хлора, углекислого газа; паров фенола, бензола, толуола, ксилола, бензина; пыли сульфата натрия и др. Концентрация агрессивных газов на указанных промышленных площадках, как правило, не превышает ПДК.

2.7. По отношению к бетону и железобетону наружных ограждающих конструкций и конструкций открытых технологических этажерок газовоздушная среда указанных выше производств нефтехимической промышленности является слабоагрессивной, но при наличии в ней хлористого водорода, хлора, нитрозных газов, паров фенола - среднеагрессивной.

2.8. При проектировании фундаментов необходимо учитывать возможное замачивание грунтов оснований технологическими растворами, которые могут диффузионно или с грунтовыми водами переноситься на значительные расстояния, повышая степень агрессивности грунтов и грунтовых вод по отношению к бетону и железобетону.

Воздействие агрессивных веществ производства на грунты промышленной площадки может привести к деформациям последних и, как следствие, к разрушению строительных конструкций зданий и сооружений, возведенных на таких грунтах.

2.9. Требования к инженерно-геологическим изысканиям на площадках строительства зданий предприятий нефтехимической промышленности изложены в приложении 2.

3. Требования к материалам конструкций и их защита от коррозии

3.1. Фундаменты под строительные конструкции и технологическое оборудование

3.1.1. При проектировании и изготовлении железобетонных и бетонных подземных конструкций зданий предприятий нефтехимической промышленности и устройстве их антикоррозионной защиты следует руководствоваться СНиПом по защите строительных конструкций от коррозии и данными Рекомендациями.

3.1.2. При проектировании и выборе средств защиты подземных конструкций зданий, относящихся к III группе, воздействие на них технологических сред следует считать средне- или сильноагрессивным - в зависимости от вида среды и интенсивности проливов (см. табл. 2.1). Защиту этих конструкций нужно осуществлять в соответствии с требованиями документов, указанных в п. 3.1.1.

3.1.3. Подземные конструкции и фундаменты зданий I и II групп, если они расположены в зоне действия агрессивных сред зданий III группы (см. прилож. 2), следует защищать так же, как подземные конструкции и фундаменты зданий III группы, а во всех остальных случаях - с учетом повышения агрессивности грунтов и грунтовых вод на одну ступень по сравнению с исходными данными геологических изысканий.

3.1.4. В зданиях II и III групп при большой и средней интенсивности проливов агрессивных сред бетонные и железобетонные фундаменты под металлические колонны и оборудование должны выступать над уровнем пола не менее чем на 300 мм или следует предусматривать обетонирование нижних участков колонн на высоту 300 мм от уровня пола с заводкой рулонной его изоляции на эту же высоту.

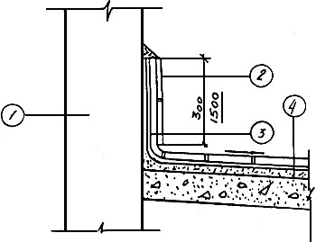
3.1.5. Надземные части фундаментов под оборудование с агрессивными средами должны быть защищены химически стойкими штучными материалами по типу пола на прилегающих участках или полностью выполнены из химически стойких бетонов и других материалов и иметь с полом непрерывную химически стойкую изоляцию. Варианты защиты надземной части фундаментов под оборудование приведены на рис. 3.1 и 3.2.

Рис. 3.1. Вариант защиты надземной части фундамента под оборудование:

1 - кислотоупорный кирпич или плитка на кислотоупорном растворе с разделкой швов
замазкой арзамит-5 или шлакоситалловые плитки на мастике на основе эпоксидной смолы;
2 - два слоя полиизобутилена ПСГ δ = 2,5 мм или МКА на клее 88Н или СН-57;
3 - цементно-песчаный раствор марки 150 δ = 20 мм; 4 - бетонный или железобетонный фундамент;
5 - бетонный подстилающий слой или железобетонное покрытие; 6 - уплотненный щебнем грунт

Рис. 3.2. Вариант защиты надземной части фундамента под оборудование:

1 - слой полимерраствора δ = 30 мм, наносимый торкретированием; 2 - слой цементно-песчаного раствора
марки 150 δ = 20 мм; 3 - слой полиизобутилена ПСГ δ = 2,5 мм или МКА на клее 88H или СН-57;
4 - бетонный или железобетонный фундамент; 5 - железобетонное перекрытие или бетонный
подстилающий слой; 6 - уплотненный щебнем грунт

3.1.6. При облицовке вертикальной поверхности фундаментов следует учитывать ее статическую устойчивость. Например, при высоте фундамента от 500 до 1400 мм облицовку следует производить в 1/4 кирпича, при высоте до 2500 мм - в 1/2 кирпича, а более 2500 мм - по расчету на статическую устойчивость. При выборе облицовочных материалов для защиты горизонтальных поверхностей фундаментов под оборудование необходимо также учитывать нагрузку от устанавливаемого оборудования.

3.1.7. Выбор вида подслоя и химически стойкой замазки для укладки штучных облицовочных материалов и заделки зазоров между анкерами и облицовкой (при анкерном креплении оборудования к фундаментам) следует производить с учетом вида агрессивной среды аналогично примыкающему химически стойкому полу (см. табл. 3.3).

3.1.8. С целью защиты фундаментов зданий от увлажнения атмосферными осадками и агрессивными производственными стоками вдоль стен необходимо устраивать водонепроницаемые асфальтобетонные отмостки с уклоном 0,015 - 0,020 и шириной не менее 1 м.

3.2. Несущие железобетонные конструкции (колонны, балки, плиты перекрытия и покрытия и др.)

3.2.1. В производственных зданиях нефтехимических предприятий возможно применение как ненапряженных, так и предварительно-напряженных сборных, сборно-монолитных и монолитных железобетонных конструкций.

3.2.2. Для их изготовления могут применяться в качестве вяжущего портландцемент и шлакопортландцемент, а в случае необходимости (для конструкций зданий III группы) при наличии сульфатной агрессии - сульфатостойкий цемент. В качестве мелкого заполнителя следует использовать чистый песок с модулем крупности 2,0 - 2,5 и содержанием отмучиваемых частиц не более 1 % по массе, а в качестве крупного - фракционированный щебень изверженных невыветрившихся пород (андезит, гранит, кварцит) с количеством отмучиваемых частиц не более 0,5 % по массе. В условиях щелочной агрессии (катализаторные производства) допускается применять фракционированный щебень из плотных осадочных карбонатных пород (известняки, доломиты, магнезита и др.) водопоглощением не более 0,5 %.

3.2.3. Для повышения плотности и стойкости бетона рекомендуется вводить в него специальные добавки в соответствии с "Рекомендациями по применению химических добавок в бетоне". Для железобетонных конструкций, подвергающихся воздействию хлористого водорода, хлора, паров соляной, монохлоруксусной и хлорсульфоновой кислот, растворов и аэрозолей хлористых солей (см. табл. 2.1 и 2.2), необходимо применять ингибирующие композиции, обеспечивающие защиту арматуры от коррозии в указанных средах (например, прил. 3).

3.2.4. Плотность бетона, толщину защитного слоя у арматуры, категорию трещиностойкости и допускаемую ширину раскрытия трещин в конструкциях следует принимать в зависимости от степени агрессивности среды (см. табл. 2.1 и 2.2) с учетом требований строительных норм и правил по защите конструкций от коррозии.

3.2.5. Для железобетонных и бетонных конструкций зданий I группы необходимо применять бетоны марки по водонепроницаемости W4; в зданиях II и III групп - марки W6 с последующей поверхностной защитой (табл. 3.1.) В особых случаях, когда возобновление поверхностной защиты по истечении ее срока службы невозможно, рекомендуется применять бетоны марки по водонепроницаемоcти W8.

Таблица 3.1

Рекомендуемые группы защитных лакокрасочных покрытий для бетонных, железобетонных и оштукатуренных каменных конструкций, эксплуатируемых в агрессивных средах нефтехимических производств (надземные конструкции)

Группа зданий по табл. 2.1

Группа обычных покрытий

Примечание

I

Без защиты

 

I и II толщиной 0,1 - 0,15 мм

Покрытия I и II группы применять при наличии требований к отделке

 

Без защиты

 

II

I, II и III толщиной 0,15 - 0,2 мм

Покрытия I и II группы применять при наличии требований к отделке, а покрытия III группы - при наличии внутри помещений нитрозных газов и паров фенола (см. табл. 2.2)

III

IV толщиной 0,2 - 25 мм

 

3.2.6. Стальные закладные детали и соединительные элементы в стыках конструкций зданий II и III групп следует бетонировать бетоном марки по водонепроницаемости W6. Необетонируемые закладные детали и соединительные элементы железобетонных конструкций этих зданий должны защищаться в зависимости от степени агрессивности среды и условий эксплуатации (см. табл. 2.1 и 2.2) и в соответствии с требованиями строительных норм и правил по защите конструкций от коррозии.

3.2.7. В зданиях, относящихся к III группе, следует осуществлять защиту нижних частей колонн от проливов, капиллярного подсоca и разбрызгивания агрессивных жидких сред плинтусами из коррозионно-стойких материалов по типу пола на высоту не менее 300 мм с заводкой гидроизоляции на эту же высоту. В местах расположения насосов, реакторов, фильтр-прессов, емкостей без автоматического контроля уровня технологических жидкостей и прочего оборудования, в процессе эксплуатации которого возможно разбрызгивание агрессивных сред (см. прил. 1), нижние части колонн следует защищать на высоту не менее 1500 мм материалами, стойкими в этих средах. Варианты защиты представлены на рис. 3.3 и 3.4.

Рис. 3.3. Вариант защиты низа стены или колонны:

1 - стена (колонна); 2 - керамическая плитка на замазке арзамит-5;
3 - два слоя полиизобутилена ПСГ δ = 2,5 мм или МКА на клее 88Н, либо СH-57;
4 - цементно-песчаный раствор марки 150

Рис. 3.4. Вариант защиты низа стены или колонны:

1 - стена (колонна); 2 - кислотоупорный кирпич на кислотоупорном растворе с разделкой
швов замазкой арзамит-5; 3 - керамическая плитка на замазке арзамит-5; 4 - два слоя
полиизобутилена ПСГ δ = 2,5 мм или МКА на клее 88Н или СН-57

3.2.8. Железобетонные конструкции (верхние части колонн, балки, плиты покрытия и перекрытия) в зданиях II и III групп в зависимости от вида и степени агрессивности среды необходимо защищать лакокрасочными покрытиями. Варианты защиты приведены в табл. 3.1 и 3.2.

Таблица 3.2

Химическая стойкость лакокрасочных покрытий в некоторых агрессивных средах нефтехимических производств

Наименование сред

Жидкостекольные композиции

ХС

ЭП-0010

Фенолформальдегидные композиции

ПЭН

Ур-293

БП-IV

ЭД-16

ЭФ

ХСПЭ

1

2

3

4

5

6

7

8

9

10

11

Бензол

+

-

±

+

-

+

-

+

+

±

Ксилол

+

-

+

+

±

±

-

+

+

-

Толуол

+

-

±

+

+

±

-

+

+

-

Ацетон

+

-

-

±

-

-

-

-

-

-

Октан

+

+

+

+

+

+

-

+

+

+

Фенол

+

+

-

+

±

+

+

-

-

+

Этиловый спирт:

 

 

 

 

 

 

 

 

 

 

100 %-ный

±

±

±

+

-

+

±

+

+

+

90 %-ный

+

+

+

+

±

+

+

+

+

+

Бензосульфокислота:

 

 

 

 

 

 

 

 

 

 

15 %-ная

+

±

+

+

 

+

+

+

+

-

50 %-ная

+

+

+

+

 

±

±

+

+

-

80 %-ная

+

+

+

+

 

±

-

+

+

-

Уксусная кислота:

 

 

 

 

 

 

 

 

 

 

10 %-ная

+

+

-

+

-

+

+

+

-

-

92 %-ная

+

-

-

+

-

-

-

-

-

-

Муравьиная кислота:

 

 

 

 

 

 

 

 

 

 

10 %-ная

+

-

+

+

+

+

+

±

±

+

80 %-ная

+

-

-

±

-

-

±

-

-

-

Валериановая кислота

+

-

-

+

±

-

-

-

-

±

Каприновая кислота

+

±

±

+

+

+

 

+

-

±

Формалин

+

+

+

-

-

-

+

+

+

-

Гептанол

+

±

+

+

+

-

-

+

+

+

4-х хлористый углерод

+

-

+

+

+

±

-

+

+

+

Дихлорэтан

+

-

-

+

-

-

-

-

±

-

Условные обозначения: "+" - стойкие; "-" - нестойкие; "±" - относительно стойкие.

3.2.9. Подготовку поверхностей под защиту и нанесение лакокрасочных покрытий следует производить в соответствии со строительными нормами и правилами производства и приемки работ по защите строительных конструкций и сооружений от коррозии и "Руководством по защите от коррозии лакокрасочными покрытиями строительных бетонных и железобетонных конструкций, работающих в газовлажностных средах".

3.3. Стены

3.3.1. Стены зданий I группы при относительной влажности воздуха внутри помещений не более 75 % можно выполнять панельными самонесущими из бетонов на пористых заполнителях (керамзитобетона, перлитобетона и аглопоритобетона) с наружным и внутренним слоем из цементно-песчаного раствора М-100, из шлакопемзобетона с плотным строением, а при влажности более 75 % - из керамзитобетонных панелей с фактурными слоями, а также из легкобетонных блоков для производственных зданий.

3.3.2. Стены зданий II и III групп рекомендуется выполнять из керамзитобетонных панелей с внутренним изолирующим слоем из плотного тяжелого бетона М-300 или из железобетонных стеновых панелей с эффективным утеплителем. Возможно применение легкобетонных блоков для зданий с агрессивной средой.

3.3.3. Для производственных зданий с сильноагрессивной газовоздушной средой (см. табл. 2.1) применение панелей из бетонов на пористых заполнителях не допускается. В этом случае стены рекомендуется выполнять из полнотелого хорошо обожженного глиняного кирпича не ниже M-100 морозостойкостью не ниже Мрз-35.

3.3.4. Стены неотапливаемых зданий I группы следует устраивать из асбестоцементных листов (усиленных) или железобетонных панелей. В случае устройства стен из асбестоцементных листов цокольную часть необходимо выполнять из сборных железобетонных панелей или глиняного кирпича М-75.

3.3.5. Растворы для кладки стен из кирпича необходимо готовить на портландцементе не ниже М-50 (в соответствии с "Инструкцией по приготовлению и применению строительных растворов").

3.3.6. При устройстве панельных стен особое внимание следует уделять заделке и герметизации вертикальных и горизонтальных швов. Герметизацию стыков панелей необходимо производить в соответствии с "Указаниями по герметизации стыков при монтаже строительных конструкций".

3.3.7. Деформационные швы в стенах следует устраивать согласно СНиП "Каменные и армокаменные конструкции", а также типовым узлам, разработанным в сериях стеновых панелей.

3.3.8. В зданиях III группы нижние участки стен должны быть защищены плинтусами из материалов по типу пола на высоту не менее 300 мм с заводкой гидроизоляции на эту же высоту. В случае расположения вблизи стен насосов, фильтрпрессов, реакторов, трубопроводов, мешалок и т.п., в процессе эксплуатации которых возможны разбрызгивание агрессивной среды или интенсивные проливы (см. прил. 1), защиту нижних участков стен следует производить на высоту 1500 мм. При этом возможно использование тех же защитных материалов, которые рекомендованы для прилегающих участков пола, с заводкой гидроизоляции на высоту 300 мм.

3.3.9. В зданиях, где в соответствии с технологическими режимами производится мокрая уборка стен (например, отделения серебряного и платинового катализаторов), стены эти следует облицовывать керамической плиткой на всю высоту.

3.3.10. Верхние части стен над плинтусами в зданиях III группы, а также панельные стены в зданиях II группы при наличии нитрозных газов и паров фенола рекомендуется защищать лакокрасочными покрытиями (см. табл. 3.1 и 3.2).

3.3.11. Лакокрасочные покрытия следует наносить на специально подготовленную поверхность. Подготовку под окраску необходимо производить в строгом соответствии с "Руководством по защите от коррозии лакокрасочными покрытиями строительных бетонных и железобетонных конструкций, работающих в газовлажных средах".

3.3.12. Отделку и покраску внутренних поверхностей стен зданий следует производить в соответствии с серией "Типовых узлов и деталей зданий и сооружений нефтехимических и нефтеперерабатывающих заводов по отделочным работам для производственных и вспомогательных зданий".

3.4. Полы

3.4.1. Тип пола производственных зданий нефтехимической промышленности следует назначать в соответствии с требованиями СНиПов на полы и по защите строительных конструкций от коррозии, а также данными Рекомендациями. Полы должны быть химически стойкими, непроницаемыми для технологических жидкостей, обладать достаточной механической прочностью и служить надежной защитой для железобетонных подземных конструкций.

3.4.2. В помещениях зданий III группы, где требуется мокрая уборка, необходимо предусматривать уклон пола 2 - 4 % к лоткам, каналам, трапам. На перекрытии уклон следует создавать путем применения стяжки, а на грунте - соответствующей планировкой грунта основания.

3.4.3. Рекомендуемые варианты конструкций пола в зависимости от агрессивности среды для зданий I, II и III групп приведены в табл. 3.3 и 3.4.

Таблица 3.3

Рекомендуемые типы полов

Группа зданий

Участки цехов, отделений

Тип пола по табл. 3.4

Примечания

1

2

3

4

 

Проходы, участки без агрессивных сред

1; 8

 

I

Участки с проливами щелочей и солей

2; 3

 

 

Участки смеси веществ

2; 3; 8

В типе пола 8 следует предусмотреть гидроизоляцию из 2 слоев полиизобутилена ПСГ толщиной 2,5 мм на клее 88H

II, III

Участки:

 

 

растворов минеральных кислот

6; 4

 

 

кислот органических

6; 4

 

 

растворов кислых солей

6; 4

 

 

растворов щелочей и их солей

2; 3; 5; 7

 

 

спиртов, эфиров, ароматических углеводородов, кетонов, альдегидов

2; 3; 8

В типе пола 8 необходимо предусмотреть гидроизоляцию из 2 слоев полиэтилена дублированного марки МКA-CПC-I на клее 88H

 

перекисей и прочих opraнических веществ, вступающих в химическое взаимодействие с цементным камнем

6; 4

 

 

органических веществ, способных к полимеризации

6; 4

 

 

масел

9; 6

 

 

нефти и нефтепродуктов

2; 3; 6

 

 

смесей веществ

5; 6

 

 

Проходы и прочие участки

1; 8

 

Таблица 3.4

Конструкции полов

Тип пола

Конструкция пола

Материал элемента пола

1

2

3

1

Бетон М-300; 40 мм.

Бетонный подстилающий слой или железобетонное перекрытие.

Уплотненный щебнем грунт.

2

Бетон М-300; 40 мм.

Цементно-песчаный раствор M-150.

Два слоя полиизобутилена ПСГ δ = 2,5 мм на клее 88Н или СН-57.

Цементно-песчаный раствор M-150; 20 мм.

Бетонный подстилающий слой или железобетонное перекрытие.

Уплотненный щебнем грунт.

3

Плиты из бетона М-400 толщиной 40 мм на цементно-песчаном растворе с разделкой швов замазкой арзамит-5 или эпоксидной мастикой.

Цементно-песчаный раствор M-150; 20 мм.

Два слоя полиизобутилена ПСГ δ = 2,5 мм на клее 88Н или СН-57.

Цементно-песчаный раствор M-150; 20 мм.

Бетонный подстилающий слой или железобетонное перекрытие.

Уплотненный щебнем грунт

4

Шлакоситалловые, диабазовые или графитопластовые плитки на эпоксидной мастике.

Два слоя полиизобутилена или МКА на клее 88Н или СН-57.

Цементно-песчаный раствор M-150; 20 мм.

Бетонный подстилающий слой или железобетонное перекрытие.

Уплотненный щебнем грунт

5

Стальной лист (поддон).

Бетон М-300; 30 мм.

Цементно-песчаный раствор M-150; 20 мм.

Два слоя полиизобутилена ПСГ δ = 2,5 мм на клее 88Н или СН-57.

Цементно-песчаный раствор M-150; 20 мм.

Бетонный подстилающий слой или железобетонное перекрытие.

Уплотненный щебнем грунт

6

Кислотоупорный кирпич или плитка на кислотоупорном растворе с разделкой швов замазкой арзамит-5.

Цементно-песчаный раствор M-150; 20 мм.

Два слоя полиизобутилена или МКА на клее 88Н или СН-57 либо 2 - 3 слоя рубероида на битумной мастике.

Цементно-песчаный раствор M-150; 20 мм.

Бетонный подстилающий слой или железобетонное перекрытие.

Уплотненный щебнем грунт

7

Мастика на основе эпоксидной смолы или полимерраствор на основе ФАЭД.

Два слоя полиизобутилена или МКА на клее 88Н или СН-57.

Цементно-песчаный раствор M-150; 20 мм.

Бетонный подстилающий слой или железобетонное перекрытие.

Уплотненный щебнем грунт

8

Керамическая плитка на цементно-песчаном растворе.

Цементно-песчаный раствор M-150; 20 мм.

Бетонные подстилающий слой или железобетонное перекрытие.

Уплотненный щебнем грунт

9

Покрытие мозаичное М-300.

Стяжка из цементно-песчаного раствора M-150; 20 мм.

Один слой полиизобутилена или МКА на клее 88Н или СН-57.

Бетонный подстилающий слой или железобетонное перекрытие.

Уплотненный щебнем грунт

3.4.4. По периметру участков расположения оборудования с одинаковыми по воздействию на материалы конструкций агрессивными средами следует устраивать ограждающие бортики (рис. 3.5). На таких участках должны быть предусмотрены дополнительный слой гидроизоляции и раствороотводящие устройства. Если площади участков небольшие, то при соответствующем технико-экономическом обосновании можно устраивать металлические поддоны.

Рис. 3.5. Устройство бортиков на участках под оборудование:

1 - кислотоупорный кирпич или плитка на кислотоупорном растворе с разделкой швов
замазкой арзамит-5 или шлакоситалловые плитки на мастике на основе эпоксидной смолы;
2 - два слоя полиизобутилена ПСГ δ = 2,5 мм или МКА;
3 - слой цементно-песчаного раствора марки 150, 20 мм;
4 - бетонный подстилающий слой или железобетонное перекрытие;
5 - уплотненный щебнем грунт

3.4.5. Покрытия полов и огражденных участков могут быть выполнены монолитными или из штучных материалов.

Монолитные покрытия устраиваются:

из плотного бетона М-300 (I группа зданий);

из плотного бетона не ниже М-300 на аллитовом портландцементе с щелочестойкими заполнителями (плотные известняки или плотные изверженные породы прочностью не ниже 120 МПа, крупные и средние чистые пески - кварцевые или карбонатные) - при воздействии щелочей (II и III группы зданий);

из материалов на основе эпоксидного компаунда ЭКР-22 толщиной 10 мм - при воздействии на полы неокисляющих кислот и их солей, щелочных и кислощелочных растворов, но при малой интенсивности их проливов (II группа зданий);

из материалов на основе полимерраствора ФАЭД или эпоксидной смолы - при воздействии щелочей (II и III группы зданий).

Для покрытий из штучных материалов могут быть применены:

кислотоупорный кирпич или кислотоупорная плитка (II и III группы зданий);

плиты из листового шлакоситалла (II и III группы зданий);

диабазовые плитки (III группа зданий);

плитки из графитопласта ATM-I (III группа зданий);

бетонные плиты (I, II и III группы зданий);

керамическая плитка (I и II группы зданий).

3.4.6. Покрытия полов из полимерных мастик могут применяться только на участках, где нет сильных механических воздействий (перемещения тяжелых грузов без настила, напольного транспорта без резиновых шин) и ударной нагрузки от падения предметов массой более 5 кг.

3.4.7. Применение монолитных бесшовных покрытий полов рекомендуется при повышенных требованиях к чистоте и беспыльности в помещениях, защищенных от атмосферных воздействий и солнечной радиации. При температуре контактируемых растворов выше 50 °С применение таких покрытий недопустимо.

3.4.8. Приготовление и укладку монолитных покрытий на основе синтетических смол следует производить в строгом соответствии с "Временной инструкцией по проектированию и производству работ при устройстве эпоксидных бесшовных полов", "Руководством по приготовлению и использованию составов на основе термореактивных смол" и серией 4.400.12 "Антикоррозионная защита полов и надземной части фундаментов под оборудование".

3.4.9. В качестве прослоек для укладки штучных материалов следует применять:

кислотоупорный раствор с разделкой швов замазкой арзамит-4 или 5;

мастики на основе эпоксидной смолы;

пластзамазки на той же основе;

битумную мастику (последняя недопустима при воздействии сильных окислителей, органических растворителей - бензола толуола, керосина, бензина, - масел и концентрированных щелочей).

3.4.10. При устройстве покрытия пола из шлакоситалловых плит их следует для улучшения адгезии предварительно огрунтовать шпатлевкой на основе эпоксидной смолы. В прослойках для укладки этих плит не следует применять кислый отвердитель, использование которого ухудшает адгезию шлакоситалловых плиток с основанием.

3.4.11. В зданиях III группы при любом покрытии полов должна предусматриваться сплошная оклеечная гидроизоляция.

3.4.12. В качестве гидроизоляционных материалов рекомендуется использовать:

гидроизол на битумной мастике - при воздействии растворов кислот (кроме кислот высокой концентрации - азотной, серной, хромовой, соляной), органических растворителей и концентрированных щелочей;

полиизобутилен ПСГ слоем 2,5 мм на клее 88Н или СН-57 с проваркой швов - при воздействии минеральных кислот, растворов солей и едких щелочей (в интервале температур от -20 до 60 °С);

материал комбинированный антикоррозионный (МКА) - при воздействии растворов солей, кислот (кроме сильно окисляющих), щелочей и органических сред (кроме неполярных растворителей) - в интервале температур от -50 до +80 °С. МКА следует применять в соответствии с ТУ 65 3/3-82 и "Инструкцией по применению комбинированного материала при антикоррозийной защите бетонных и железобетонных конструкций", ВСН 87-82 Минстроя СССР.

3.4.13. При устройстве гидроизоляции необходимо руководствоваться строительными нормами и правилами по производству работ.

3.4.14. Особое внимание при проектировании полов следует уделять мероприятиям по обеспечению непроницаемости конструкций водоотводящих и водосливных устройств, узлов примыкания полов к фундаментам, стенам, колоннам; мест и деталей пропуска через перекрытие провисающего оборудования и различных коммуникаций.

3.4.15. Монтажные и технологические проемы в перекрытиях и края технологических площадок всех производственных зданий III группы, а также зданий II группы (в случаях выделения агрессивных жидких сред вблизи этих проемов) должны быть ограждены бортиками высотой 150 - 200 мм, облицованными теми же материалами, что и пол, с заведением на них гидроизоляции.

3.4.16. Пропуск через перекрытие отдельных трубопроводов следует осуществлять через гуммированные гильзы, закрепляемые в стяжке пола и выступающие над ним не менее чем на 300 мм. Заделку зазора между гильзой и полом можно производить асбестовым шнуром на замазке по типу пола.

3.4.17. Деформационные швы полов необходимо устраивать в местах расположения швов здания. Их заделку нужно производить эластичными материалами с учетом стойкости последних в агрессивных средах (полиизобутиленовой мастикой, мастикой битуминоль, асбестом, пропитанным герметиком и т.п.).

3.4.18. Отвод агрессивных сред при проливах и агрессивных стоков при мокрой уборке полов в зданиях II и III групп следует осуществлять путем устройства в полах каналов, лотков и приямков, а в перекрытиях - трапов.

3.4.19. Выбор конструкции трапов, их установку и зачеканку в химически стойких полах необходимо осуществлять по типовым проектным решениям, разработанным в сериях 400-0-15 "Химически стойкие трапы для полов промышленных зданий (для средне- и сильноагрессивных сред). Альбом I, II".

3.4.20. Устройство лотков, каналов и приямков для сбора сточных вод следует выполнять в соответствии с типовыми проектными решениями серии 4.400.12 "Антикоррозийная защита полов и надземной части фундаментов под оборудование" и данными Рекомендациями (рис. 3.6).

Рис. 3.6. Канал для стока смывных вод при щелочной агрессии:

1 - покрытие пола; 2 - два слоя полиизобутилена ПСГ δ = 2,5 мм на клее 88Н или СН-57;
3 - слой цементно-песчаного раствора марки 150 толщиной 20 мм; 4 - бетонная подготовка,
армированная сваркой сеткой; 5 - железобетонный канал,
6 - сталь углеродистая обыкновенного качества δ = 4 мм

3.4.21. Для обеспечения совместной работы полов, лотков и каналов они должны быть жестко соединены путем пропуска арматуры железобетонных стенок в несущий слой пола или же устройством осадочных швов в местах их соединений.

3.4.22. Защиту поверхностей лотков, каналов и приямков следует выполнять из коррозионно-стойких штучных материалов по типу пола. Оклеечная гидроизоляция должна быть усилена дополнительным слоем. При щелочных стоках в каналы рекомендуется облицовка из углеродистой стали обыкновенного качества толщиной листа не менее 4 мм (см. рис. 3.6).

3.4.23. Защиту внутренних поверхностей крупногабаритных каналов, приямков (высотой и шириной более 2,5 м), а также железобетонных резервуаров, осветлителей воды, бассейнов, отстойников рекомендуется осуществлять коррозионно-стойким торкретом с полимерными добавками (прил. 5).

3.4.24. Характеристика антикоррозионных материалов по их химической стойкости приведена в таблице 3.5.

3.4.25. Спецификация рекомендуемых материалов для защиты конструкций дана в прил. 4.


Таблица 3.5

Химическая стойкость антикоррозионных материалов в агрессивных средах нефтехимических производств

Наименование среды

Облицовочные материалы

Мастики и замазки

Оклеечные гидроизоляционные материалы

кислотостойкая керамика

шлакоситалл

керамические плитки

каменное литье

силикатные

фенолоформальдегидные

битумные

эпоксидные

рубероид, бризол, изол

полиизобутилен

полиэтилен

1

2

3

4

5

6

7

8

9

10

11

12

Кислоты

органические

 

 

 

 

 

 

 

 

 

 

 

метакриловая

+

+

-

+

+

+

±

+

±

+

+

муравьиная

10%-ная

+

+

-

+

+

+

±

+

+

+

+

20%-ная

+

+

-

+

+

+

±

-

±

+

+

40%-ная

+

+

-

+

+

+

±

-

±

+

+

80%-ная

+

+

-

+

+

+

-

-

±

+

+

уксусная

 

 

 

 

 

 

 

 

 

 

 

10%-ная

+

+

-

+

+

+

+

+

+

+

+

40%-ная

+

+

-

+

+

+

+

-

±

+

+

60%-ная

+

+

-

+

+

+

+

-

±

+

+

92%-ная

+

+

-

+

+

+

-

-

-

+

+

молочная

+

+

-

+

+

+

±

+

±

+

+

этилендиамин- тетрауксусная

+

+

-

±

+

+

+

+

±

+

+

бензолсульфо-кислота

+

+

±

±

+

+

-

±

±

+

+

сульфаминовая

+

+

±

±

+

+

-

+

+

+

+

фумароновая

+

+

±

±

+

+

-

±

±

+

+

малеиновая

+

+

±

±

+

+

-

±

±

+

+

олеиновая

+

+

±

±

+

+

-

-

-

+

+

пропионовая

+

+

-

+

+

+

+

-

±

+

+

масляная

+

+

-

+

+

+

+

-

±

+

+

валериановая

+

+

±

+

+

+

-

-

-

+

+

капроновая

+

+

±

+

+

+

-

-

-

+

+

гептиловая

+

+

±

±

+

+

-

-

-

+

+

каприловая

+

+

±

±

+

+

-

-

-

+

+

каприновая

+

+

±

±

+

+

-

-

-

+

+

ундециловая

+

+

±

±

+

+

-

-

-

+

+

дауриновая

+

+

±

+

+

+

-

-

-

+

+

тридециловая

+

+

±

±

+

+

-

-

-

+

+

миристиновая

+

+

±

±

+

+

-

-

-

+

+

пентадециловая

+

+

±

±

+

+

-

-

-

+

+

пальмитиновая

+

+

±

±

+

+

-

-

-

+

+

маргариновая

+

+

+

+

+

+

±

±

±

+

+

стеариновая

+

+

+

+

+

+

±

±

±

+

+

арахиновая

+

+

+

+

+

+

±

±

±

+

+

Растворы солей, окиси и ангидриды

 

 

 

 

 

 

 

 

 

 

 

Сульфаты:

 

 

 

 

 

 

 

 

 

 

 

алюминия

+

+

±

+

+

+

+

+

+

+

+

натрия

+

+

+

+

+

+

+

+

+

+

+

никеля

+

+

+

+

+

+

+

+

+

+

+

железа

+

+

+

+

+

+

+

+

+

+

+

аммония

+

+

+

+

+

+

+

+

+

+

+

калия

+

+

+

+

+

+

+

+

+

+

+

персульфат калия

+

+

+

+

+

+

-

+

-

+

+

Нитраты:

 

 

 

 

 

 

 

 

 

 

 

алюминия

+

+

+

+

+

+

+

+

+

+

+

кобальта

+

+

+

+

+

+

+

+

+

+

+

никеля

+

+

+

+

+

+

+

+

+

+

+

меди

+

+

+

+

+

+

+

+

+

+

+

магния

+

+

+

+

+

+

+

+

+

+

+

хрома

+

+

+

+

+

+

+

+

+

+

+

аммония

+

+

+

+

+

+

+

+

+

+

+

Хлориды:

 

 

 

 

 

 

 

 

 

 

 

натрия

+

+

+

+

+

+

+

+

+

+

+

кальция

+

+

+

+

+

+

+

+

+

+

+

аммония

+

+

+

+

+

+

+

+

+

+

+

кадмия

+

+

+

+

+

+

+

+

+

+

+

Хромат аммония

+

+

+

+

+

+

-

+

-

+

+

Бихромат аммония

+

+

+

+

+

+

-

+

-

+

+

Сульфат аммония

+

+

+

+

+

+

+

+

+

+

+

Хромат калия

+

+

+

+

+

+

-

+

-

+

+

Окиси:

 

 

 

 

 

 

 

 

 

 

 

цинка

+

+

+

+

+

+

+

+

+

+

+

хрома

+

+

-

+

+

+

-

±

-

+

+

Семиокись рения

+

+

-

+

+

+

+

+

+

+

+

Четыреххлористый титан

+

+

-

+

+

+

±

±

±

+

+

Тринатрий-фосфат

+

+

+

+

+

+

+

+

+

+

+

Пятисернистыйфосфат

+

+

+

+

+

+

+

+

+

+

+

Цианиды

+

+

-

+

+

+

+

+

+

+

+

Ангидриды:

 

 

 

 

 

 

 

 

 

 

 

малеиновый

+

+

+

+

+

+

+

+

+

+

+

сернистый

+

+

+

+

+

+

+

+

+

+

+

Органические вещества, способные к полимеризации

 

 

 

 

 

 

 

 

 

 

 

Ацетальдегид

+

+

+

+

+

+

-

±

-

+

+

Стирол

+

+

+

+

+

+

-

+

-

+

+

Изопрен

+

+

+

+

+

+

-

+

-

+

+

Нитрил акриловой кислоты

+

+

±

+

±

+

-

±

-

+

+

Хлоропрен

+

+

±

+

+

+

-

+

-

+

+

Метилвинилпиридин

+

+

+

+

+

+

-

+

-

+

+

Перекиси и прочие органические вещества, способные вступать во взаимодействие с цементным камнем

 

 

 

 

 

 

 

 

 

 

 

Гидроперекиси:

 

 

 

 

 

 

 

 

 

 

 

изопропилбензола

+

+

-

+

+

+

-

+

-

+

+

изопропил- циклогексибензола

+

+

-

+

+

+

-

+

-

+

+

Дихлорбутен

+

+

-

+

+

+

-

±

-

+

+

Диметилформамид

+

+

+

+

+

+

-

±

-

+

+

Луарилмеркаптан

+

+

+

+

+

+

-

+

-

+

+

Формалин

+

+

+

+

+

+

+

+

+

+

+

Некаль

+

+

-

±

+

+

±

±

±

+

+

Ронголит

+

+

+

+

+

+

+

+

+

+

+

Лейканол

+

+

-

+

+

+

±

±

±

+

+

Спирты, эфиры, ароматические углеводороды, кетоны, альдегиды

 

 

 

 

 

 

 

 

 

 

 

Метанол

+

+

+

+

+

+

±

+

±

+

+

Этанол

+

+

+

+

+

+

±

+

±

+

+

Пропанол

+

+

+

+

+

+

±

+

±

+

+

Циклогексанол

+

+

+

+

+

+

±

+

±

+

+

Изопропанол

+

+

+

+

+

+

±

+

±

+

+

Первичные и вторичные синтетические жидкие спирты

+

+

+

+

+

+

-

-

-

+

+

Ацетон

+

+

+

+

+

+

-

+

-

+

+

Бензол

+

+

+

+

+

+

-

±

-

+

+

Полиалкилбензол

+

+

+

+

+

+

-

±

-

+

+

Этилбензол

+

+

+

+

+

+

-

±

-

+

+

Изопропилбензол

+

+

+

+

+

+

-

+

-

+

+

Изопропилциклоексилбензол

+

+

+

+

+

+

-

+

-

+

+

Ксилол:

орто-

+

+

+

+

+

+

-

+

-

+

+

мета-

+

+

+

+

+

+

-

+

-

+

+

пара-

+

+

+

+

+

+

-

+

-

+

+

Толуол

+

+

+

+

+

+

-

+

-

+

+

Диметилдиоксан

+

+

+

+

+

+

-

+

-

+

+

Моноэтаноламин

+

+

+

+

-

+

-

+

-

+

+

а-метилстирол

+

+

+

+

+

+

-

+

-

+

+

Фенол

+

+

+

+

+

+

+

-

+

+

+

Алкилфенол

+

+

+

+

+

+

+

-

+

+

+

Гидрохинон

+

+

+

+

+

+

+

-

+

+

+

Метилэтиленкетон

+

+

+

+

+

+

-

±

-

+

+

Масла

 

 

 

 

 

 

 

 

 

 

 

Турбинное "Л"

+

+

+

+

±

+

-

+

±

+

+

Веретенное ("Б-3В")

+

+

+

+

±

+

-

+

±

+

+

Бисэтилксантогенат

+

+

+

+

±

±

-

±

-

+

+

Кислое

+

+

+

+

±

±

-

±

-

+

+

ИС-20

+

+

+

+

±

+

-

+

±

+

+

И-12а

+

+

+

+

±

+

-

+

±

+

+

И-20А

+

+

+

+

±

+

-

+

±

+

+

К-350

+

+

+

+

±

+

-

+

±

+

+

K-353

+

+

+

+

±

+

-

+

±

+

+

K-35H

+

+

+

+

±

+

-

+

±

+

+

Нефть и нефтепродукты

 

 

 

 

 

 

 

 

 

 

 

Нефть

+

+

+

+

+

+

-

+

-

+

+

Дизельное топливо

+

+

+

+

+

+

-

+

-

+

+

Керосин

+

+

+

+

+

+

-

+

-

+

+

Бензин

+

+

+

+

+

+

-

+

-

+

+

Бензин-экстракт

+

+

+

+

+

+

-

+

-

+

+

Парафины:

 

 

 

 

 

 

 

 

 

 

 

очищенные

+

+

+

+

+

+

-

+

±

+

+

неочищенные

+

+

+

+

+

+

-

+

±

+

+

Кислый гудрон

+

+

+

±

+

+

-

+

±

+

+

Смеси веществ

 

 

 

 

 

 

 

 

 

 

 

Серум

+

+

-

-

+

+

-

+

±

+

+

Эмульгатор

+

+

-

-

+

+

-

±

±

+

+

Катализаторнаясмесь

+

+

-

±

+

+

-

±

-

+

+

Вода под лентоотливочными машинами

+

+

-

+

+

+

+

+

+

+

+

Водная фаза I

+

+

-

+

+

+

-

+

-

+

+

Медно-аммиачный раствор

+

+

+

+

±

+

±

+

±

+

+

Суспензия цеолита

±

+

±

+

-

+

-

+

-

+

+

Кремнезоль:

щелочной

+

+

+

+

+

+

-

+

-

+

+

кислый

+

+

-

+

+

+

+

+

+

+

+

Раствор жидкого стекла (горячий)

+

+

+

+

+

+

-

+

-

+

+

Сульфатная вода

+

+

+

+

+

+

+

+

+

+

+

Кислая вода

+

+

±

+

+

+

-

+

-

+

+

Водный конденсат

+

+

+

+

+

+

-

+

-

+

+

Масляный конденсат

+

+

+

+

+

+

-

+

-

+

+

Неомыляемые

+

+

+

+

+

+

-

+

-

+

+

Параконденсат

+

+

+

+

+

+

-

+

-

+

+

Бентол

+

+

+

+

+

+

-

+

-

+

+

Сероводородная вода

+

+

+

+

+

+

-

+

-

+

+


Примечание: Знаком "+" обозначены стойкие материалы, "±" - относительно стойкие и "-" нестойкие.

Приложение 1

Основные источники агрессивных выделений на производствах нефтехимической промышленности

Технологическое оборудование

Основные причины выделения агрессивных сред

1

2

Емкости, мерники, сборники, отстойники, растворители

Переуплотнение и проливы по недосмотру обслуживающего персонала; отсутствие или недоработка систем автоматического контроля

Вакуум-фильтры, фильтр-прессы, друк-фильтры, катионитовые фильтры

Неудовлетворительная герметичность узлов; забивка и абразивный износ фильтровальных салфеток, частая их замена; отсутствие сливных поддонов; морально и физически устаревшая конструкция

Насосы

Коррозийная нестойкость материалов насоса, втулок, рабочего колеса; течи в сальниках, фланцах, прокладках; несвоевременный ремонт запорной арматуры

Теплообменники

Несвоевременный и некачественный ремонт, проливы во время прочистки труб, коррозийная нестойкость материалов

Реакторы

Коррозийная нестойкость защитной футеровки оборудования, неисправности запорной арматуры, неудовлетворительное качество футеровочных работ

Трубопроводы и транспортные системы

Коррозийная и абразивная нестойкость материалов труб, прокладок; неплотности фланцевых соединений; несвоевременный и некачественный ремонт

Адсорберы

Коррозийная нестойкость материалов, недосмотр обслуживающего персонала, несвоевременный ремонт

Бураки

То же

Дефлегматоры

Коррозийная нестойкость материалов оборудования

Испарители, каплеотбойники, каскад коагуляции, кипятильники, лентообливочные машины, контактные аппараты, нейтрализаторы

Недосмотр обслуживающего персонала, нарушение герметичности отдельных узлов и деталей, недостаточная коррозийная стойкость материалов, оборудования и прокладок

Омылители и плавители канифоли

Переливы по недосмотру аппаратчиков

Полимеризаторы

Выделения при чистке оборудования

Холодильники

То же, коррозионная нестойкость материалов оборудования

Формовочные колонны

Недосмотр аппаратчиков, несвоевременный ремонт, закупорка отверстий для выноса шариков из колонны

Формовочные машины

Абразивный износ деталей машин, нарушение герметичности оборудования, несовершенство системы утилизации растворов, применение морально и физически устаревшего оборудования, неудовлетворительная эксплуатация

Чаны

Переливы по недосмотру аппаратчиков; засорение перетоков труб и проливы при их чистке, отсутствие местной вентиляции, несовершенство системы утилизации растворов, коррозийная нестойкость материалов оборудования

Пропитыватели

Коррозийная нестойкость материалов оборудования и запорной арматуры

Сушилки

Недостаточный диаметр труб стока конденсата, засорение вытяжных труб пылью катализаторов, коррозийная нестойкость материала сушилок

Ротаметры

Несвоевременная очистка, проливы при очистке и ремонте, налипание на поплавок золя, забивка пропускного отверстия

Кристаллизаторы

Абразивный износ деталей; частый выход из строя запорной арматуры

Прокалочные печи

Низкое качество футеровочных работ, перекаливание стен печей, образование трещин и выделение через них агрессивных газов

Резервуары

Коррозийная нестойкость защитных материалов и их абразивный износ

Приложение 2

Дополнительные требования к инженерно-геологическим изысканиям на площадках строительства или реконструкции зданий и сооружений нефтехимической промышленности

Инженерные изыскания на площадках строительства зданий и сооружений нефтехимической промышленности следует выполнять в соответствии с требованиями, изложенными в государственных стандартах, строительных нормах и правилах, а также в других нормативных документах по изысканиям, проектированию и строительству, утвержденных Госстроем СССР или с ним согласованных. Дополнительно предъявляются следующие требования к проведению изысканий:

1. На инженерно-геологических картах и разрезах должны быть отмечены источники и места проливов агрессивных сред эксплуатируемых цехов с указанием их химического состава и интенсивности проливов, а также места вероятного попадания этих сред в грунты.

2. С учетом характера взаимодействия агрессивной среды с грунтом (табл. I) необходимо произвести прогнозирование фронта возможного ее передвижения непосредственно в грунтах и с грунтовыми водами.

Таблица I

Среды производств нефтехимической промышленности и их воздействие на грунты основания

№ п/п

Группа сред

Характер взаимодействия сред с осадочными несцементированными пылеватыми и глинистыми грунтами

Причины возможных деформаций в конструкциях зданий

1

2

3

4

1.

Кислоты неорганические:

серная, соляная, азотная, ортофосфорная, пирофосфорная, плавиковая

Активно взаимодействуют с карбонатами грунта, разрушая его структуру. При длительном воздействии способны разрушать полевые шпаты и глинистые минералы. Попадая в грунтовые воды, увеличивают степень их агрессивного воздействия на бетон

Особо опасны в местах больших и средних проливов, вызывают потерю несущей способности грунтов основания фундаментов, иногда набухание. Грунты, обработанные кислотами, оказывают агрессивное воздействие на бетон в зависимости от pH порового раствора и концентрации в нем ионов H+, SO2-4, Cl-, HCO-3, Mg2+, Ca2+. С грунтовыми водами кислоты могут переноситься на расстояние свыше 100 м

2.

Щелочи

Активно взаимодействуют с гипсом, ангидритом, эпсомитом и бишофитом грунта. Разрушают глинистые минералы, корродируют кварц. Растворяют аморфный кремнезем, гидроокислы железа и алюминия. Коренным образом преобразуют структуру грунта. Попадая в грунтовые воды, увеличивают степень их агрессивного воздействия на бетон.

То же

3.

Растворы минеральных солей:

 

 

сульфата натрия

Растворяют бишофит, повышают растворимость карбонатов; насыщают поровое пространство грунта, вызывая набухание при наличии монтмориллонита. Грунты хорошо проницаемы по отношению к растворам. Последние, попадая в грунтовые воды, увеличивают степень их агрессивного воздействия на бетон

Неравномерные подъемы и осадки сооружений вследствие проявления набухания и повышения сжимаемости грунтов. Грунты, обработанные растворами солей, оказывают агрессивное воздействие на бетон в зависимости от pH порового раствора грунта и концентрации в нем ионов.

сульфата аммония

То же, кроме набухания

При больших проливах растворы, в зависимости от коэффициента диффузии, могут распространяться за пределы зоны пролива и переноситься грунтовыми водами на расстояние свыше 100 м

нитрата магния

Растворяют эпсомит и бишофит грунта. Грунты хорошо проницаемы по отношению к растворам. Последние, попадая в грунтовые воды, увеличивают степень их агрессивного воздействия на бетон

То же, что и для группы № 1

нитрита аммония

Растворяют бишофит и эпсомит, повышают растворимость карбонатов и гипса, могут снижать сжимаемость грунтов

То же

хлористого аммония

Повышают растворимость карбонатов, взаимодействуют с гипсом и эпсомитом, растворяют бишофит. Грунты хорошо проницаемы по отношению к растворам. Последние, попадая в грунтовые воды, увеличивают степень их агрессивного воздействия на бетон

То же

хлористого натрия

То же, кроме того, повышают набухаемость грунтов

То же

хлористого кальция

То же, за исключением набухаемости

То же

4.

Перекиси и прочие органические вещества, способные вступать во взаимодействие с цементным камнем

Активно взаимодействуют с водорастворимыми минералами грунта, разрушая при этом его структуру

То же

5.

Спирты, ароматические углеводороды, кетоны:

 

 

бутанол

Активно взаимодействует с монтмориллонитом грунта, вызывая его набухание. Разрушает глинистые минералы, вынося из них SiO2 и Fe2O3.

Особо опасны в местах проливов при длительном воздействии сред на грунты. Могут вызвать потерю несущей способности грунтов основания и их набухание. При отсутствии монтмориллонита в зависимости от коэффициента диффузии могут выноситься за пределы зоны проливов без изменения концентрации. В этом случае грунты могут оказаться агрессивными по отношению к бетонам вне зон проливов

дихлорэтан

То жe

бензол

Инертен к грунтам

четыреххлористый углерод

Активно взаимодействует с монтмориллонитом грунта, вызывая его набухание

ацетон

Растворяет бишофит, галит, гипс и ангидрид грунта, разрушая его структуру

6.

Нефть и нефтепродукты, авиационный бензин

Инертны к грунтам, хорошо через них фильтруются

7.

Смеси веществ. Кремнезоли кислый и щелочной, раствор жидкого стекла

Фиксируют структуру грунта, улучшая его свойства, снижают проницаемость

Деформаций не вызывают

3. В пределах зон возможного замачивания грунтов агрессивными веществами следует проходить горные выработки (шурфы, скважины) с отбором образцов грунта ненарушенной структуры. Интервал отбора проб устанавливается программой работ.

4. Лабораторные исследования грунтов необходимо выполнять в объеме, предусмотренном программой работ. Дополнительно следует определять концентрацию ионов в поровом растворе грунта и показатели сорбции и дисперсии химических соединений, участвующих в производственном процессе и являющихся агрессивными по отношению к бетонам.

5. С учетом характера взаимодействия агрессивной среды с грунтами необходимо определять их прочностные и деформационные свойства при замачивании реагентами.

6. Ввиду повсеместного развития процесса подтопления грунтов основания как на действующих, так и на вновь строящихся объектах, при оценке возможного состояния этих грунтов следует учитывать снижение во времени модулей их деформации, удельного сцепления и угла внутреннего трения. В соответствии с пунктом 4.34 "Руководства по проектированию зданий и сооружений" (НИИОСП Госстроя СССР), для структурно неустойчивых грунтов (моренные покровные и разнообразные лессовые суглинки) необходимо вводить в расчет коэффициенты изменчивости указанных характеристик. Коэффициенты находят по таблицам, составленным на основании результатов натурных обследований ряда промышленных объектов, где развит процесс подтопления, и данных предварительного вычисления значений активной компрессионной пористости грунта  и коэффициента потенциального водонасыщения an.

Активная компрессионная пористость определяется по формуле

где n - общая пористость, %;

ρw - плотность воды, равная 1 г/см3;

ρск - плотность сухого грунта, г/см3;

Wp - влажность, соответствующая пределу раскатывания, в %.

Коэффициент потенциального водонасыщения рассчитывается по формуле

где Wк - влажность, соответствующая максимальному капиллярному водонасыщению;

W - природная влажность.

7. Коэффициент изменчивости Kизм модуля деформации для суглинков при различных значениях  и an рекомендуется принимать по табл. II.

Таблица II

Значения коэффициента изменчивости Kизм модуля деформаций грунтов, определенные с учетом  и an

Значения Kизм при an, равном

0,05 - 0,15

0,16 - 0,25

0,26 - 0,35

0,36 - 0,45

0,46 - 0,55

0,56 - 0,65

0,66 - 0,75

0,0 - 1,0

0,74

0,70

0,66

0,63

0,60

0,57

0,57

1,1 - 3,0

0,69

0,66

0,62

0,59

0,56

0,54

0,51

3,1 - 5,0

0,66

0,62

0,58

0,55

0,52

0,50

0,47

5,1 - 7,0

0,62

0,58

0,55

0,52

0,49

0,47

0,44

7,1 - 9,0

0,57

0,54

0,50

0,48

0,45

0,42

0,41

9,1 - 11,0

0,53

0,49

0,45

0,43

0,40

0,38

0,36

Пример
определения коэффициента изменчивости модуля деформаций

По данным изысканий установлено, что W = 14 %; n = 46,3 %, ρск = 1,45 г/см3, Wp = 18 %, ρw = 1 г/см3, Wк = 27 %.

В соответствии с приведенными выше формулами,

Согласно табл. II, при  = 10,1 % an = 0,48 Kизм = 0,40. Расчетное значение Ew грунта в водонасыщенном состоянии равно нормативному значению Eo грунта природной влажности, умноженному на 0,40 (на коэффициент изменчивости).

Например, при Eo = 18 МПа модуль деформации

Ew = 18,0·0,4 = 7,2 МПа.

8. Коэффициент изменчивости Kизм удельного сцепления и угла внутреннего трения для суглинков при различных значениях  и an можно вычислить по таблицам III и IV.

Таблица III

Значения коэффициента изменчивости Kизм удельного сцепления, определенные с учетом  и an

Значения Kизм при an, равном

0,05 - 0,15

0,16 - 0,25

0,26 - 0,35

0,36 - 0,45

0,46 - 0,55

0,0 - 2,0

0,86

0,85

0,85

0,84

0,84

2,1 - 4,0

0,82

0,82

0,82

0,81

0,81

4,1 - 6,0

0,75

0,76

0,77

0,77

0,78

6,1 - 8,0

-

-

0,68

0,70

0,72

8,1 - 10,00

-

-

-

-

0,62

Таблица IV

Значения коэффициента изменчивости Kизм угла внутреннего трения, определенные с учетом  и an

Значение Kизм при an, равном

0,05 - 0,15

0,16 - 0,25

0,26 - 0,35

0,36 - 0,45

0,46 - 0,55

0,0 - 2,0

-

-

1,0

0,94

-

2,1 - 4,0

-

-

-

0,96

0,90

4,1 - 6,0

-

-

-

0,97

0,91

6,1 - 8,0

-

-

-

0,97

0,93

8,1 - 10,00

-

-

-

-

-

Пример
определения коэффициентов изменчивости
удельного сцепления и угла внутреннего трения

Воспользуемся исходными данными, приведенными в п. 7 данного приложения. В рассмотренном выше примере  = 10,1 %, а an = 0,48. Согласно табл. III, Kизм удельного сцепления равен 0,62, а Kизм угла внутреннего трения в соответствии с табл. IV - 0,93.

Рекомендуемые таблицы следует использовать на первой стадии проектирования или тогда, когда влияние проливов на прочностные и деформативные свойства суглинков оснований установить не представляется возможным.

9. Расстояние, на котором может распространяться замачивание грунтов агрессивными средами, рекомендуется определять по формуле

где Q - общий расход на инфильтрацию с учетом проливов, определяемый как произведение свободной инфильтрации W с единицы площади пола на всю площадь проливов ω;

t - расчетное время, сут;

r - радиус участка инфильтрации, определяемый по методу большого колодца;

Pa - активная пористость водоносных пород;

hср - средняя мощность грунтового потока, образовавшегося в результате инфильтрации проливов; определяется по формуле

Здесь h - мощность грунтового потока в естественных условиях;

hop - мощность ореола рассеивания, определяемая по формуле

где K - коэффициент фильтрации водоносного горизонта;

R - радиус влияния источника замачивания.

Коэффициент фильтрации необходимо определять с учетом сорбции грунта и его химического взаимодействия с агрессивной средой.

10. При залегании грунтовых вод на глубине до 4 - 5 м обязательной является защита подземных частей конструкций не только от агрессивных сред данного производства, но и от сред соседних производств при их попадании в зону движения грунтовых вод в направлении к защищаемым конструкциям.

11. По результатам исследований необходимо в специализированной главе отчета дать прогноз изменений во времени физико-механических и химических свойств грунтов и грунтовых вод в условиях проливов агрессивных сред, указав при этом:

- среды, агрессивные по отношению к грунтам и бетонным конструкциям;

- среды, агрессивные по отношению к бетонам, но инертные к грунтам;

- среды, агрессивные по отношению к грунтам, но инертные к бетонам;

- степень агрессивности грунтов и грунтовых вод к бетонам конструкций (в соответствии с действующими строительными нормами и правилами).

12. При возможном воздействии на грунты неорганических кислот, растворов минеральных солей и ацетона (табл. I) оценка степени агрессивности таких грунтов по отношению к бетону должна производиться в соответствии с действующими нормами по водородному показателю pH и содержанию сульфатов, хлоридов, нитратов, магния и свободной углекислоты.

Приложение 3

Рекомендации по применению комплексных ингибирующих композиций на основе ортофосфата натрия для защиты от коррозии арматуры железобетонных конструкций

1. Общие положения

1.1. Рекомендации разработаны в развитие СНиП по защите строительных конструкций от коррозии. Они могут быть использованы в научно-исследовательских институтах, а также в строительных и заводских лабораториях, занимающихся разработкой и подбором составов бетона железобетонных конструкций, предназначенных для эксплуатации в агрессивных хлорсодержащих средах.

1.2. Рекомендации содержат требования по применению в бетонах комплексных ингибирующих композиций на основе ортофосфата натрия, обеспечивающих защиту арматуры железобетонных конструкций от коррозии в среднеагрессивных хлорсодержащих средах (растворы и аэрозоли хлористых солей, хлористый водород и хлор, пары соляной, монохлоруксусной и хлорсульфоновой кислот).

1.3. В условиях воздействия на бетон слабо- и среднеагрессивных сред введение в него ингибирующих композиций на основе ортофосфата натрия позволяет полностью отказаться от защиты арматуры лакокрасочными покрытиями.

При действии сильноагрессивных хлорсодержащих сред указанные композиции могут применяться лишь в сочетании с лакокрасочными покрытиями, использование которых регламентируется указанным в п. 1.1 СНиПом.

При действии только слабоагрессивных хлорсодержащих сред применение ингибиторов коррозии арматуры дает возможность снизить требования к плотности бетона (например, перейти от особоплотного к бетону повышенной плотности) или уменьшить толщину его защитного слоя.

1.4. Основной составляющей комплексных ингибирующих композиций является ортофосфат натрия. Вторым их компонентом является сульфат железа или нитрит натрия.

Механизм ингибирующего действия ортофосфата натрия заключается в создании на поверхности стальной арматуры хемсорбционной пассивирующей пленки, в основном состоящей из нерастворимых фосфатов железа. Главной функцией второго компонента является компенсация побочных отрицательных явлений, вызываемых введением в бетонную смесь ортофосфата натрия.

1.5. Комплексные ингибирующие композиции на основе ортофосфата натрия допускается вводить в бетоны, приготовленные на портландцементе или его производных, твердеющие как в нормальных условиях, так и при термовлажностной обработке.

1.6. Применение фосфатных ингибиторов приводит к существенному повышению пластических свойств бетонной смеси, что позволяет получать смеси равной по сравнению с бетонами без добавок удобоукладываемости при снижении водоцементного отношения.

Введение в бетон комплексных ингибирующих композиций на основе ортофосфата натрия дает возможность снизить расход цемента на 8 - 14 % без ухудшения основных характеристик бетона - прочности, морозостойкости, его сцепления с арматурой.

1.7. Комплексные ингибирующие композиции на основе ортофосфата натрия рекомендуются следующего состава (в % массы вяжущего):

1) 2 % ортофосфата натрия + 1 % сульфата железа;

2) 2 % ортофосфата натрия + 1 % нитрата натрия.

2. Характеристики материалов ингибирующих композиций на основе ортофосфата натрия

2.1. Натрий фосфорнокислый (ортофосфат натрия) должен соответствовать требованиям ГОСТ 9337-79 "Натрий фосфорнокислый 12-водный" (Na3PO4·12H2O). Он представляет собой белый гигроскопичный порошок, хорошо растворимый в воде (до 10 %). Стоимость 1 кг - 0,55 коп.

2.2. Сульфат железа (закисного) - FeSO4·7H2O должен удовлетворять требованиям ГОСТ 4148-78 "Железо сернокислое 7-водное". Представляет собой зеленовато-голубой порошок. Растворимость в воде - до 20 %. Стоимость 1 кг - 16 коп.

2.3. Нитрит натрия - NaNO2, - является кристаллическим веществом белого цвета с желтоватым оттенком. Производится в виде твердого и жидкого (с содержанием NaNO2 80 %) продуктов, которые должны соответствовать требованиям ГОСТ 19906-74 "Натрий азотистокислый (нитрит натрия) технический" и ТУ 38-10274-79 Министерства химической промышленности СССР "Нитрит натрия в растворе". Стоимость 1 кг в расчете на сухое вещество - 1,8 коп.

2.4. Материалы, имеющие в своем составе кристаллизационную воду (натрий фосфорнокислый и сульфат железа), во избежание изменения ее количества необходимо хранить в герметичной упаковке. Твердый нитрит натрия следует хранить в условиях, исключающих его увлажнение, а жидкий - в металлических емкостях, защищенных от попадания осадков, при температуре раствора не ниже точки его замерзания.

3. Приготовление комплексных ингибирующих композиций на основе фосфата натрия

3.1. Схема технологической линии для приготовления комплексной добавки на основе фосфатов представлена на рисунке.

Схема технологической линии для приготовления комплексной добавки и ее введения в бетонную смесь:

1 - дозаторы ортофосфата натрия; 2 - емкость для растворения ортофосфата натрия;
3 - дозаторы второго компонента; 4 - емкости для растворения второго компонента;
5 - емкость для смешивания растворов компонентов добавки; 6 - трубка для измерения уровня;
7 - расходная емкость; 8 - дозаторы воды затворения бетонной смеси; 9 - бетономешалки;
10 - трубопроводы сжатого воздуха

3.2. Для приготовления растворов компонентов комплексных ингибирующих композиций в емкости 2 и 4 заливается одинаковый объем воды. Дозирование ортофосфата натрия осуществляется весовым дозатором 1, а нитрита натрия или сульфата железа - дозаторами 3.

3.3. Расчет количества ортофосфата натрия производится по формуле

(1)

гдеV - объем воды, заливаемой в одну емкость;

В÷Ц - требуемое водоцементное отношение бетонной смеси;

Для расчета второго компонента используются следующие формулы:

для нитрита натрия -

(2)

для сульфата железа -

(3)

Формулы (1) и (3) учитывают наличие в добавках кристаллизационной воды.

При использовании в качестве второго компонента нитрита натрия количество вещества, полученное по формуле (2), следует умножить на коэффициент 1,25.

3.4. Растворение компонентов комплексных ингибирующих композиций производится при интенсивном перемешивании (барботировании) раствора струей сжатого воздуха. Время растворения - 3,5 мин, температура воды - не ниже 10 °С.

3.5. После растворения компонентов растворы насосами перекачивают в равном количестве из емкостей 2 и 4 в смесительную емкость 5. При этом условии концентрация комплексных ингибирующих композиций в воде затворения будет обеспечивать содержание 2 % ортофосфата натрия +1 % второго компонента от массы цемента в бетонной смеси. Из емкости 5 раствор ингибирующей композиции поступает в расходную емкость 7, из которой дозируется в бетономешалки.

3.6. Для обеспечения непрерывности работы в схеме предусмотрены параллельные линии приготовления комплексной ингибирующей композиции.

3.7. При использовании указанных композиций технология приготовления бетонной смеси и изготовления железобетонных конструкций остается неизменной.

4. Техника безопасности при изготовлении железобетонных изделий с комплексными ингибирующими композициями

4.1. При производстве работ необходимо соблюдать правила по технике безопасности согласно требованиям соответствующей главы СНиПа.

4.2. Введение в бетон комплексных ингибирующих композиций на основе ортофосфата натрия не требует дополнительных мер защиты при работе с ними: все компоненты композиции как в твердом состоянии, так и в растворе не являются взрыво- и пожароопасными или ядовитыми.

4.3. При непрерывной работе с нитритом натрия во избежание раздражении кожи следует пользоваться резиновыми перчатками и сапогами и оберегать глаза и слизистую оболочку рта и носа от непосредственного контакта с этой солью. Емкости, предназначенные для хранения и переноски кристаллического нитрита натрия или водных его растворов, следует снабжать предупредительной надписью "Яд".

Приложение 4

Спецификация материалов, рекомендуемых для защиты от коррозии строительных конструкций нефтехимических производств

Наименование

ГОСТ, OCT, ТУ и т.п.

Ед. изм.

Ориентировочная стоимость, руб.

1

2

3

4

Материалы для полов

Покрытия

Плотный бетон марки 300 на аллитовом портландцементе (содержание трехкальциевого силиката более 60 %) со щелочестойкими заполнителями

 

 

 

Кислотоупорный раствор и бетон на основе жидкого стекла

Серия 4.400-12

 

 

Полимермастика на основе эпоксидных смол

Серия 4.400-12

кг

1,5 - 2,0

Кислотоупорный кирпич

ГОСТ 474-80

т

107

Кислотоупорная плитка

ГОСТ 961-80

м2

4,29

Плитка из графитопласта ATM-1

ТУ МХП 35-ХII-710-64

т

456,0

Шлакоситалловые плитки

ГОСТ 19246-82

м2

8,02

Диабазовая плитка

ТУ 21-РСФСР-682-76

м2

-

Керамические плитки для полов

ГОСТ 6787-80

м2

2,76

Прослойки

Цементно-песчаный раствор

СН 209-74

-

-

Арзамит-4

ТУ 6-05-1133-75

т

712

Арзамит-5

ТУ 6-05-1133-75

т

712

Эпоксидная мастика

Серия 4.400-12

-

-

Кислотоупорный раствор на основе жидкого стекла

Серия 4.400-12

 

 

Пластмастики на основе эпоксидной смолы

То же

кг

1,5 - 2,0

Пластзамазки на основе эпоксидной смолы

То же

кг

1,5 - 2,0

Гидроизоляционные материалы

Гидроизол

ГОСТ 7415-74

м2

0,41

Полиизобутиленовые пластины ПСГ толщиной 2,5 мм

ТУ 38-10503-76

т

1120

Материал комбинированный антикоррозионный (МКА) марки CПC-1

ТУ 65-313-62

м2

1,8 - 2,0

Клеи

№ 88Н - резиновый, холодного отверждения

ТУ-38-105-1061-76

кг

1,13

СН-57

-

-

-

Битумная мастика

-

-

-

Составы на основе эпоксидных смол

СНиП II-28-73

-

-

Герметизирующие материалы

Полиизобутиленовая мастика УМС-50, УМ-40

ГОСТ 14791-79

т

300

Клей-мастика КН

ТУ 38-00-566

-

-

Полиизобутиленовая стирольная мастика

-

-

-

Бутилкаучуковая мастика

ГОСТ 2889-67

-

-

ГМ-1

То же

-

-

БГМ-2

То же

-

-

МБС

То же

-

-

Битумно-резиновая изоляционная мастика

ГОСТ 15836-79

-

-

МБР-ИЗ-80

То же

-

-

МБР-ИЗ-90

То же

-

-

МБР-ИЗ-100

То же

-

-

Битумно-латексано-кукерсольная мастика

ТУ 400-251-76

-

-

Прокладки резиновые пористые уплотняющие (гернит)

ГОСТ 19177-81

-

-

Защитные лакокрасочные материалы

Эмали

ПФ-115

ГОСТ 6465-76

т

1200

ГФ-820

ОСТ 6-10-431-80

т

1100

ЭП-773

ГОСТ 23143-78

т

1800

ЭП-56

ТУ-6-10-1243-77

т

1800

ЭП-5116

ТУ-6-10-1369-78

т

1600

ЭП-0200

ТУ-6-10-12-83-76

т

4000

ФЛ-777

ТУ-6-10-1524-75

т

-

XB-113

ГОСТ 18374-79

т

800

XC-119

ГОСТ 21824-76

т

720

XC-759

ГОСТ 23494-79

т

870

XB-1100

ГОСТ 6993-79

т

600

XB-1120

ТУ-6-10-1227-77

т

700

КЧ-172

МРТУ-6-10-819-69

т

2300

ХП-799

ТУ-84-618-81

т

500

ХП-5212

ТУ-84-846-81

т

500

Шпатлевки

ЭП-0010

ГОСТ 10277-76

т

2600

ЭП-0020

ГОСТ 10277-76

т

2600

Лаки

ПФ-170

ГОСТ 15907-70

т

1000

ПФ-171

ГОСТ 15907-70

т

1000

ГФ-024

ТУ 6-10-962-70

т

1000

ЭП-55

МРТУ 6-10-857

т

2800

ЭП-741

ТУ-6-10-1148-11

-

-

ХВ-784

ГОСТ 7313-75

т

500

ХВ-76

-

-

-

ХС-76

ГОСТ 9335-81

т

520

КЧ

-

-

-

ХП-734

ТУ-84-618-81

т

430

НТ

-

-

-

Наиритовые красочные составы НТ

ТУ-38-10518-70

-

-

Водная дисперсия тиокола

ТУ-38-103-114-72

-

-

Раствор герметика У-30М

ГОСТ 13489-79

-

-

Раствор герметика У-30, МЭС-5

МРТУ 38-5-60-39-65

-

-

Раствор герметика МЭС-10

МРТУ 38-5-60-39-65

-

-

Приложение 5

Рекомендации по составу и области применения коррозионностойкого торкрета с полимерными добавками

1. Общие положения

1.1. В Рекомендациях приведены составы коррозионностойких полимерцементных покрытий, наносимых торкретированием, даны области их применения, изложены требования к строительным материалам и полимерным добавкам, а также требования по приготовлению, нанесению, контролю качества указанных покрытий и по технике безопасности при производстве работ.

1.2. Предлагаемые составы с полимерными добавками рекомендуется использовать для защиты резервуаров, отстойников, бассейнов, чаш, градирен и других конструкций, эксплуатируемых в условиях воздействия:

растворов щелочей (концентрация до 25 %, температура до 30 °С);

растворов сульфатов - сернокислого натрия и калия (концентрация до 5 %, температура до 20 - 25 °С);

сточных вод, содержащих сульфаты и хлориды в смеси с органическими веществами (типа метанол, метилмеркаптан);

сточных вод, содержащих сульфаты, хлориды и формалин;

сточных вод, содержащих щелочи, сульфаты, хлориды и формалин;

переменных положительных и отрицательных температур.

Максимальная температура производственных сточных вод не должна превышать 50 °C. При наличии других агрессивных сред возможность применения данных составов должна определяться дополнительными исследованиями.

1.3. Применение полимерных добавок при торкретировании позволило получить покрытие с улучшенными физико-механическими и антикоррозионными свойствами (табл. I). Это достигается, с одной стороны, свойствами указанных добавок повышать адгезию покрытия и сцепление компонентов смеси и образовывать при полимеризации химически стойкие полимерные пленки, которые, кольматируя поры материала, способствуют повышению его плотности, а с другой - использованием преимуществ технологии нанесения покрытия способом торкретирования.

Таблица I

Физико-химические свойства торкрета с полимерными добавками при цементно-песчаном отношении 1:3 и В/Ц = 0,3 - 0,33

№ состава

Наименование компонентов добавки

Водопоглощение по массе, %

Водонепроницаемость по максимальному контрольному давлению, МПа

Повышение прочности на сжатие в 28-дневном возрасте, %

Адгезия при отрыве, МПа

Морозостойкость, цикл

1.

Меламинмочевино- формальдегидная смола (ММФ-50) + алюминиево-калиевые квасцы (АКК) - катализатор

3,2

0,7

120

2,0

300

2.

Алифатическая эпоксидная смола (ТЭГ-1) + полиэтилен-полиамин (ПЭПА) - отвердитель

3,0

0,9

130

2,3

300

3.

Диановая эпоксидная смола (ЭД-16) + алифатическая смола (ТЭГ-1) + УП-0636/1 (отвердитель)

2,6

1,0

140

2,5

300

4.

Алифатическая эпоксидная смола (ТЭГ-1) + 1 полиамидная смола (ПО-200)

3,0

0,8

125

2,1

300

5.

Торкрет (без добавки)

6,2

0,4

100

1,2

200

Примечание. Водонепроницаемость определялась по методике, разработанной в ЦНИИОМТП для тонкостенных конструкций.

1.4. Способность полимерных добавок растворяться в воде или образовывать при смешивании с водой эмульсии позволяет использовать их при нанесении полимерцементного покрытия "сухим" способом торкретирования, который имеет целый ряд преимуществ как перед опалубочным бетонированием, так и перед "мокрым" способом, а именно:

- использование смеси с минимально необходимым для формирования структуры водоцементным отношением;

- наиболее эффективное использование трамбующего давления вытекающей струи смеси;

- активация цемента при трамбовании;

- отсутствие расслоения смеси и растворных пробок;

- сокращение технологических операций;

- уменьшение трудо- и энергозатрат.

2. Материалы и их характеристика

2.1. Для получения качественного торкрета с полимерными добавками применяются портландцементы, отвечающие требованиям ГОСТ 10178-76, а при наличии в агрессивной среде сульфатосодержащих соединений - сульфатостойкий цемент (ГОСТ 22266-76). Марка цемента должна быть не ниже 400.

2.2. В качестве мелкого заполнителя используется песок с модулем крупности Мкр 2,5 и полным остатком на сите с сеткой № 63 (в % по массе) свыше 45, влажностью 6 - 8 % (ГОСТ 8736-76).

2.3. В качестве полимерных добавок рекомендуется применять водорастворимые смолы и компаунды на их основе (табл. II).

Таблица II

Расход и ориентировочная стоимость добавок на 100 м2 торкрет-покрытия при его толщине 10 мм

№ состава

Компоненты

Кол-во в частях по массе

Кол-во на 100 м2 покрытия, кг

Стоимость 1 кг, руб.

1

2

3

4

5

1.

Меламиномочевиноформальдегидная смола (ММФ-50)

100

5,5

0,36

 

Алюминиево-калиевые квасцы

10

0,55

0,1

2.

Алифатическая эпоксидная смола (ТЭГ-1)

100

8,2

3,7

 

Полиэтиленполиамин (ПЭПА) - отвердитель

22

1,8

2,1

3.

Диановая эпоксидная смола (ЭД-16)

100

3,2

4,3

 

Алифатическая эпоксидная смола (ТЭГ-1)

40

1,28

3,7

 

УП-0636/1 (отвердитель)

95

3,04

5,0

4.

Алифатическая эпоксидная смола (ТЭГ-1)

100

6,7

3,7

 

Полиамидная смола (ПО-200)

50

3,4

2,9

2.4. Меламиномочевиноформальдегидная смола (типа ММФ-50) представляет собой продукт поликонденсации меламина с формальдегидом, где часть меламина заменена модифицирующей добавкой - мочевиной при мольном соотношении: меламин - мочевина - формальдегид 1:1:5. По физико-химическим показателям эта смола должна соответствовать ТУ 6-10-664-74. Гарантийный срок хранения - 4 - 5 месяцев (ГОСТ 9980-62).

2.5. Алюминиево-калиевые квасцы (кристаллогидраты двойных сернокислых солей) представляют собой кристаллический порошок белого цвета (ГОСТ 15028-69). Применяются в качестве катализатора полимеризации меламиномочевиноформальдегидной смолы. Хранить следует в сухом месте.

2.6. Алифатические эпоксидные смолы (ТЭГ-1, МРТУ 6-05-1223-69) представляют собой продукт конденсации триэтиленгликоля с эпихлоргидрином под действием щелочи. Хранить их следует в закрытом неотапливаемом помещении при температуре не выше 30 °С. Гарантийный срок хранения - 12 месяцев.

2.7. Диановая эпоксидная смола (ЭД-16, ГОСТ 10587-72) - вязкий полимерный продукт конденсации эпихлоргидрина и дифенилолпропана в присутствии щелочи. Хранить смолу следует в плотно закрытой таре в закрытом складском помещении. Гарантийный срок хранения - 12 месяцев.

2.8. Полиамидные смолы (ПО 200, ТУ-6-10-1304-77) - продукт взаимодействия димеризованных кислот растительных масел или эфиров с полиэтиленполиаминами. Смолы подобного типа являются отвердителями эпоксидных смол. Для отверждения их вводят в виде растворов: 50 %-ного (отвердитель № 3) и 30 %-ного (отвердитель № 2). Избыток или недостаток полиамидной смолы как отвердителя до 20 % не влияет на свойства отвержденной пленки.

2.9. Полиэтиленполиамин (ТУ 6-02-594-77) - отвердитель эпоксидных смол. Хранить его следует в плотно закрытой таре в закрытом складском помещении.

2.10. Водорастворимый отвердитель эпоксидных смол (аминоалкилимидазолины на основе длиноцепных карбоновых кислот) марки УП-0636/1 (ТУ 6-05-241-182-78) обладает свойствами поверхностно-активного вещества. Гарантийный срок хранения - 6 - 8 месяцев. Хранить в закрытой таре в закрытом помещении.

2.11. Применяемая вода должна удовлетворять требованиям ГОСТ 4797-69.

3. Приготовление добавок

3.1. Приготовление водного раствора добавки на основе меламиномочевиноформальдегидной смолы (см. табл. I, состав 1) производится в следующем порядке:

- дозируется смола из расчета 1,5 - 2 % от массы цемента или 4,5 - 6 % от массы воды (при водоцементном отношении 0,3 - 0,33);

- приготовленная масса смолы растворяется в небольшом количестве воды в соотношении по массе смола:вода, равном 1:3 или 1:4;

- дозируется катализатор (алюминиево-калиевые квасцы) из расчета 10 % от массы смолы и растворяется (до полного растворения) в небольшом количестве воды;

- смешиваются раствор смолы с раствором катализатора (перед самым началом торкретирования).

3.2. Добавка на основе алифатических смол (табл. I, состав 2) приготавливается следующим образом:

- дозируется смола из расчета 8 - 10% от массы воды затворения и растворяется в воде;

- дозируется отвердитель (полиэтиленполиамин) из расчета 22 % от массы смолы;

- непосредственно перед началом торкретирования раствор смолы и отвердителя смешивается в течение не менее 5 мин.

3.3. Порядок приготовления добавки на основе компаунда диановой и алифатической смол (табл. I, состав 3) следующий:

- дозируются смолы (диановая - 100 частей по массе, алифатическая - 40) из расчета 6 - 8 % всего компаунда от массы воды затворения;

- смолы перемешиваются до получения однородной массы;

- дозируется отвердитель (95 частей);

- непосредственно перед началом торкретирования производится перемешивание смол и отвердителя до однородной массы;

- полученный компаунд добавляется в воду затворения и тщательно перемешивается с ней до образования водной эмульсии, после чего сразу же следует начинать торкретирование.

3.4. Приготовление добавки на основе алифатической и полиамидной смолы (табл. I, состав 4) производится в следующем порядке:

- готовится 50 %-ный водный раствор полиамидной смолы;

- дозируется алифатическая эпоксидная смола (100 частей);

- дозируется водный раствор полиамидной смолы (50 частей);

- перед началом торкретирования смешиваются приготовленные компоненты;

- дозируется полученный компаунд из расчета 8 - 10 % от массы воды затворения.

4. Приготовление сухой смеси

4.1. Состав сухой смеси цемента и песка рекомендуется принимать в соотношении 1:3.

4.2. Вначале в бетоносмеситель загружают песок, затем цемент. Перемешивание сухой смеси производится не менее 2 мин до получения однородной массы.

5. Оборудование и его характеристика

5.1. Нанесение полимерцементного покрытия производится с помощью установки для набрызг-бетонирования (рис. 1), состоящей из следующих звеньев:

- машины для безопалубочного бетонирования типа СБ-67;

- бетоносмесителя типа СБ-80;

- компрессора типа ДК-9М;

- пневмобака для водного раствора добавок с рабочим давлением до 0,6 МПа объемом 1,6 м3 или бака (обычного) вместимостью 1,5 - 2 м3;

- насоса типа ВК иди ВКС-2/26 (подача 2,7 - 8 м3/ч);

- прорезиненных шлангов (ГОСТ 18698-73) длиной 80 м для подачи воздуха и материалов и такой же длины для подачи воды;

- эстакады для монтажа установки.

Рис. 1. Схема торкретной установки:

1 - компрессор; 2 - ресивер; 3 - пневмобак для водного раствора добавок;
4 - рукав для подачи водного раствора; 5 - сопло; 6 - рукав для подачи сухой смеси;
7 - торкрет-машина

5.2. Для нормальной работы бетономашины компрессор должен обеспечивать давление в 0,5 - 0,6 МПа и расход сжатого воздуха около 8 м3/мин. Режим работы машины контролируется двумя манометрами - в рабочей камере и выдувном колене.

Давление воды, подводимой к соплу, должно постоянно превышать давление воздуха в рабочей камере машины на 0,1 - 0,15 МПа.

5.3. Приготовление водного раствора смол и подача его к соплу производится из специального пневмобака (рис. 2) объемом 1,6 м3 с рабочим давлением до 0,6 МПa (бак типа ресивера для компрессора). Объем бака принят из расчета полной выработки раствора до начала полимеризации приготовленной добавки, т.е. в течение 3 - 4 ч. Подвод воды к баку осуществляется от водопроводной сети и контролируется установленным на входе водомером. В баке желательно предусмотреть перемешивающее устройство с ручным или механическим приводом. Перемешивание можно производить также с помощью сжатого воздуха, подаваемого через отводной патрубок аварийного сброса раствора с добавками. Бак должен быть оснащен предохранительным клапаном и манометром. Использование бака с заданным рабочим давлением позволяет получать торкрет высокого качества, с минимальными потерями добавок.

Рис. 2. Схема пневмобака для водного раствора добавок:

1 - водомер; 2 - кран; 3 - входной патрубок для подачи воды; 4 - манометр; 5 - предохранительный клапан;
6 - входной патрубок с краном для подачи сжатого воздуха; 7 - воронка для введения полимерной добавки;
8 - патрубок с краном для подачи водного раствора к соплу; 9 - отводной патрубок с краном для
аварийного сброса; 10 - перемешивающие устройство; 11 - бак

5.4. Подачу раствора к соплу можно осуществлять и из обычного бака (вместимостью 1,5 - 2 м3) с помощью центробежных насосов (типа ВК или BКС-2/26, подача 2,7 - 8 м3/ч). В этом случае в баке следует предусмотреть патрубок для соединения с насосом (или всасывающий патрубок насоса встроить в металлический бак).

6. Нанесение полимерного покрытия

6.1. Полимерцементное покрытие следует наносить на чистую поверхность, обильно увлажненную водой.

6.2. Направление струи раствора должно быть перпендикулярно к защищаемой поверхности. При этом условии наблюдается минимальный отскок материала.

6.3. Оптимальное расстояние от сопла до торкретируемой поверхности должно составлять 90 - 100 см.

6.4. Полимерцементное покрытие наносится равномерными слоями толщиной 8 - 12 мм при кругообразном поступательном движении сопла захватками снизу вверх.

6.5. Необходимо следить за правильным регулированием подачи воды для смачивания торкрет-смеси в сопле. Правильно увлажненная торкретная масса имеет факел однородного цвета, а поверхность торкрета - жирный блеск. Сухие пятна, полосы и значительное количество пыли у места торкретирования свидетельствуют о недостатке воды в смеси. При избытке воды наблюдается смывание смеси.

6.6. Последующий слой наносится после набора предыдущим прочности, достаточной, чтобы не произошла его деформация под действием струи и дополнительного веса наносимого слоя. Интервал нанесения практически определяется сроком схватывания применяемого цемента, составляющим примерно 2 - 5 ч. При перерыве в работе более 24 ч перед торкретированием поверхность следует смочить водой. После нанесения каждого слоя необходимо производить уборку отскока.

6.7. Работы по нанесению полимерцементного покрытия следует выполнять при температуре окружающего воздуха не ниже 5 °С.

6.8. Во избежание быстрого высыхания полимерцементного покрытия рекомендуется не реже двух раз в сутки смачивать его водой. Поливку следует начинать через 5 ч после нанесения торкрета и продолжать в течение семи суток. При относительной влажности воздуха свыше 75 % покрытие можно не увлажнять.

7. Контроль качества

7.1. Для обеспечения хорошего качества полимерцементного торкрета строительная лаборатория должна тщательно проверять качество исходных материалов согласно требованиям действующих стандартов.

7.2. Необходимо постоянно контролировать правильность дозировки составляющих и строго следить за однородностью состава сухой смеси после перемешивания.

7.3. В процессе торкретирования следует контролировать температуру окружающего воздуха.

7.4. Необходимо выдерживать заданную толщину наносимого слоя путем установки маяков.

7.5. Качество торкретирования следует устанавливать по потере материала в виде отскока (отскок не должен превышать 20 % массы материала).

7.6. Проверку состояния полимерцементного торкрета можно производить осмотром и простукиванием молотком. При неплотном прилегании торкрета к поверхности будет слышаться глухой звук. В этом случае следует отслоить покрытие и произвести повторное торкретирование.

7.8. Необходимо строго соблюдать требования по уходу за свеженанесенным покрытием (своевременная поливка поверхности и пр.).

8. Правила по технике безопасности при производстве работ

8.1. При производстве работ с помощью установки для безопалубочного бетонирования необходимо строго соблюдать указания СНиП III-4-80, а также изложенные ниже требования.

8.2. К работе на установке по торкретированию допускаются лица, прошедшие специальную подготовку по ее эксплуатации и сдавшие техминимум.

8.3. Работы должны выполняться под руководством сменных мастеров, также прошедших специальную подготовку. Перед началом работы они должны проинструктировать рабочих бригады, что регистрируется в специальном журнале.

8.4. Посторонним лицам находиться в рабочей зоне запрещается.

8.5. Рабочие должны быть обеспечены касками, прозрачными прочными щитками для лица, очками, респираторами, брезентовой и резиновой спецодеждой. Ответственность за использование защитных средств, наравне с лицами, непосредственно выполняющими работы, возлагается на сменных мастеров.

8.6. Необходимо проводить систематический контроль состава воздуха на запыленность. При работе в стесненных условиях во избежание запыленности следует использовать вентилятор типа ПНВ-375.

8.7. Место работы должно быть хорошо освещено.

8.8. Перед началом торкретирования бригада должна произвести внешний осмотр всех звеньев установки и определить их готовность к работе, проверить исправность и правильность монтажа воздушных и водяных материальных шлангов.

8.9. Перед началом работ шланги должны быть продуты сжатым воздухом.

8.10. Машинист должен начинать подачу смеси только по сигналу сопловщика.

8.11. Устранение неисправностей в оборудовании следует производить только после его выключения из сети и снятия давления в системе.

СОДЕРЖАНИЕ

1. Общие положения. 1

2. Агрессивные среды.. 2

3. Требования к материалам конструкций и их защита от коррозии. 25

3.1. Фундаменты под строительные конструкции и технологическое оборудование. 25

3.2. Несущие железобетонные конструкции (колонны, балки, плиты перекрытия и покрытия и др.) 27

3.3. Стены.. 29

3.4. Полы.. 30

Приложение 1. Основные источники агрессивных выделений на производствах нефтехимической промышленности. 41

Приложение 2. Дополнительные требования к инженерно-геологическим изысканиям на площадках строительства или реконструкции зданий и сооружений нефтехимической промышленности. 42

Приложение 3. Рекомендации по применению комплексных ингибирующих композиций на основе ортофосфата натрия для защиты от коррозии арматуры железобетонных конструкций. 47

Приложение 4. Спецификация материалов, рекомендуемых для защиты от коррозии строительных конструкций нефтехимических производств. 50

Приложение 5. Рекомендации по составу и области применения коррозионностойкого торкрета с полимерными добавками. 52

 

 

 

 



© 2013 Ёшкин Кот :-)