| |||||||||||||||||||||||||||||||||||||||||
|
ФЕДЕРАЛЬНОЕ АГЕНТСТВО
Системы автоматизации производства ПРЕДСТАВЛЕНИЕ
ДАННЫХ ОБ ИЗДЕЛИИ Часть 517 Прикладные интерпретированные конструкции. ISO 10303-517:2000
Предисловие Цели и принципы стандартизации в Российской Федерации установлены Федеральным законом от 27 декабря 2002 г. № 184-ФЗ «О техническом регулировании», а правила применения национальных стандартов Российской Федерации - ГОСТ Р 1.0-2004 «Стандартизация в Российской Федерации. Основные положения» Сведения о стандарте 1 ПОДГОТОВЛЕН на основе собственного аутентичного перевода на русский язык стандарта, указанного в пункте 4, который выполнен Государственным научным учреждением «Центральный научно-исследовательский и опытно-конструкторский институт робототехники и технической кибернетики» 2 ВНЕСЕН Техническим комитетом по стандартизации ТК459 «Информационная поддержка жизненного цикла изделий» 3 УТВЕРЖДЕН И ВВЕДЕН В ДЕЙСТВИЕ Приказом Федерального агентства по техническому регулированию и метрологии от 14 сентября 2009 г. № 365-ст 4 Настоящий стандарт идентичен международному стандарту ИСО 10303-517:2000 «Системы автоматизации производства и их интеграция. Представление данных об изделии и обмен этими данными. Часть 517. Прикладные интерпретированные конструкции. Геометрическое представление механических конструкций» (ISO 10303-517:2000 «Industrial automation systems and integration - Product data representation and exchange - Part 517. Application interpreted construct: Mechanical design geometric presentation»). Техническая поправка № 1 (2002) (ISO 10303-517:2000/Cor. 1:2002) к указанному международному стандарту, принятая после его официальной публикации, внесена в текст настоящего стандарта и выделена двойной вертикальной линией, расположенной на полях сбоку от соответствующего текста, а обозначение и год принятия технической поправки приведены в скобках после соответствующего текста. При применении настоящего стандарта рекомендуется использовать вместо ссылочных международных стандартов соответствующие им национальные стандарты Российской Федерации, сведения о которых приведены в дополнительном приложении ДА 5 ВВЕДЕН ВПЕРВЫЕ Информация об изменениях к настоящему стандарту публикуется в ежегодно издаваемом информационном указателе «Национальные стандарты», а текст изменений и поправок - в ежемесячно издаваемых информационных указателях «Национальные стандарты». В случае пересмотра (замены) или отмены настоящего стандарта соответствующее уведомление будет опубликовано в ежемесячно издаваемом информационном указателе «Национальные стандарты». Соответствующая информация, уведомление и тексты размещаются также в информационной системе общего пользования - на официальном сайте Федерального агентства по техническому регулированию и метрологии в сети Интернет СОДЕРЖАНИЕ Введение Стандарты комплекса ИСО 10303 распространяются на компьютерное представление информации об изделиях и обмен данными об изделиях. Их целью является обеспечение нейтрального механизма, способного описывать изделия на всем протяжении их жизненного цикла. Этот механизм применим не только для обмена файлами в нейтральном формате, но является также основой для реализации и совместного доступа к базам данных об изделиях и организации архивирования. Стандарты комплекса ИСО 10303 представляют собой набор отдельно издаваемых стандартов (частей). Стандарты данного комплекса относятся к одной из следующих тематических групп: «Методы описания», «Методы реализации», «Методология и основы аттестационного тестирования», «Интегрированные обобщенные ресурсы», «Интегрированные прикладные ресурсы», «Прикладные протоколы», «Комплекты абстрактных тестов», «Прикладные интерпретированные конструкции» и «Прикладные модули». Настоящий стандарт входит в группу «Прикладные интерпретированные конструкции». Прикладная интерпретированная конструкция (ПИК) обеспечивает логическую группировку интерпретированных конструкций, поддерживающих конкретную функциональность для использования данных об изделии в разнообразных прикладных контекстах. Интерпретированная конструкция представляет собой обычную интерпретацию интегрированных ресурсов, поддерживающую требования совместного использования информации прикладными протоколами. Настоящий стандарт определяет ПИК для визуального представления формы моделей механических конструкций. Форма проецируется для изображения на плоскую область отображения. Проекции сами по себе не представлены, но определены сама форма и соответствующие алгоритмы проецирования. В определение включены атрибуты представления, такие как шрифт и цвет линий, которые могут относиться к каркасной, поверхностной и твердотельной моделям или к их частям. Установлены связи атрибутов с топологическими элементами, чтобы обеспечить создание конструкций высокоуровневой формы. Расширенные возможности визуализации, такие как источники света и отражательная способность поверхности, в настоящем стандарте не рассматриваются. В настоящем стандарте также не определено представление текстовых или символьных аннотаций. НАЦИОНАЛЬНЫЙ СТАНДАРТ РОССИЙСКОЙ ФЕДЕРАЦИИ Системы автоматизации производства и их интеграция ПРЕДСТАВЛЕНИЕ ДАННЫХ ОБ ИЗДЕЛИИ И ОБМЕН ЭТИМИ ДАННЫМИ Часть 517 Прикладные
интерпретированные конструкции. Industrial automation systems and
integration. Product data representation and exchange. Дата введения - 2010-07-01 1 Область примененияНастоящий стандарт определяет интерпретацию интегрированных ресурсов, обеспечивающую соответствие требованиям к описанию визуального представления геометрической формы. Только основные атрибуты представления, например, цвет или шрифт линий, могут быть связаны сточками, кривыми, поверхностями и топологическими конструкциями. Расширенная функциональность визуализации, такая как источники света и отражательная способность поверхности, в настоящий стандарт не включена. В настоящем стандарте не определено представление аннотаций. Требования настоящего стандарта распространяются на: - визуальное представление форм механических конструкций; - присвоение атрибутов визуального представления геометрическим и топологическим элементам; - алгоритмы проецирования трехмерных форм на плоскости; - размещение проекций формы в окне; - несколько видов в пределах одного окна; - цвет фона окна; - цвет точек и кривых; - шрифт точек; - шрифт кривых; - стили кривых, зависящие от назначения кривых в определении поверхности. Пример - Кривые границ и кривые сетки имеют разное назначение в определении поверхности; - предопределенные цвета; - предопределенные стили кривых. Требования настоящего стандарта не распространяются на: - представление аннотаций, то есть текста и символов; - распределение геометрических элементов по слоям; - характеристики поверхности, например, прозрачность и отражательную способность; - множественные окна; - представление изделий; - удаление невидимых линий и поверхностей; - цвет поверхностей; - источники света. 2 Нормативные ссылкиВ настоящем стандарте использованы ссылки на следующие международные стандарты: ИСО/МЭК 8824-1:1995* Информационные технологии. Взаимосвязь открытых систем. Абстрактная синтаксическая нотация версии 1 (АСН.1). Часть 1. Спецификация основной нотации (ISO/IЕС 8824-1:1995, Information technology - Abstract Syntax Notation One (ASN.1): Specification of basic notation) _____________ * Заменен. Действует ИСО/МЭК 8824-1:2002. ИСО 10303-1:1994 Системы автоматизации производства и их интеграция. Представление данных об изделии и обмен этими данными. Часть 1. Общие представления и основополагающие принципы (ISO 10303-1:1994, Industrial automation systems and integration - Product data representation and exchange - Part 1: Overview and fundamental principles) ИСО 10303-11:1994 Системы автоматизации производства и их интеграция. Представление данных об изделии и обмен этими данными. Часть 11. Методы описания. Справочное руководство по языку EXPRESS (ISO 10303-11:1994, Industrial automation systems and integration - Product data representation and exchange - Part 11: Description methods: The EXPRESS language reference manual) ИСО 10303-41:1994 Системы автоматизации производства и их интеграция. Представление данных об изделии и обмен этими данными. Часть 41. Интегрированные обобщенные ресурсы. Основы описания и поддержки изделий (ISO 10303-41:1994, Industrial automation systems and integration - Product data representation and exchange - Part 41: Integrated generic resource: Fundamentals of product description and support) ИСО 10303-42:1994 Системы автоматизации производства и их интеграция. Представление данных об изделии и обмен этими данными. Часть 42. Интегрированные обобщенные ресурсы. Геометрическое и топологическое представление (ISO 10303-42:1994, Industrial automation systems and integration - Product data representation and exchange - Part 42: Integrated generic resource: Geometric and topological representation) ИСО 10303-43:1994 Системы автоматизации производства и их интеграция. Представление данных об изделии и обмен этими данными. Часть 43. Интегрированные обобщенные ресурсы. Структуры представлений (ISO 10303-43:1994, Industrial automation systems and integration - Product data representation and exchange - Part 43: Integrated generic resources: Representation structures) ИСО 10303-46:1994 Системы автоматизации производства и их интеграция. Представление данных об изделии и обмен этими данными. Часть 46. Интегрированные обобщенные ресурсы. Визуальное представление (ISO 10303-43:1994, Industrial automation systems and integration - Product data representation and exchange - Part 43: Integrated generic resources: Representation structures) ИСО 10303-202:1996 Системы автоматизации производства и их интеграция. Представление данных об изделии и обмен этими данными. Часть 202. Прикладные протоколы. Ассоциативные чертежи (ISO 10303-202:1996, Industrial automation systems and integration - Product data representation and exchange - Part 202: Application protocol: Associative draughting) 3 Термины и определения3.1 Термины, определенные в ИСО 10303-1В настоящем стандарте также применены следующие термины: - комплект абстрактных тестов; КАТ (abstract test suite; ATS); - приложение (application); - прикладной контекст (application context); - прикладной протокол; ПП (application protocol; АР); - данные (data); - метод реализации (implementation method); - информация (information); - интегрированный ресурс (integrated resource); - интерпретация (interpretation); - модель (model); - представление (presentation); - изделие (product); - данные об изделии (product data); - структура (structure). 3.2 Термины, определенные в ИСО 10303-42В настоящем стандарте применены следующие термины: - кривая (curve); - поверхность (surface). 3.3 Термины, определенные в ИСО 10303-46В настоящем стандарте применены следующие термины: - аннотация (annotation); - слой (layer); - изображение (picture); - информация о представлении (presentation information); - цветовое пространство «красный-зеленый-синий»; RGB; - символ (symbol); - искусственная модель камеры (synthetic camera model); - визуализация (visualization). 3.4 Термины, определенные в ИСО 10303-202В настоящем стандарте также применены следующие термины: - внешне определенный (externally defined); - предопределенный (predefined); - прикладная интерпретированная конструкция; ПИК (application interpreted construct; AIC): Логическая группировка интерпретированных конструкций, которая поддерживает определенную функцию для использования данных об изделии в различных прикладных контекстах. 4 Сокращенный листинг на языке EXPRESSВ настоящем разделе определена EXPRESS-схема, в которой используются элементы интегрированных ресурсов и содержатся типы, конкретизации объектов и функции, относящиеся к настоящему стандарту. Примечание - В интегрированных ресурсах допускается существование подтипов и элементов списков выбора, не импортированных в данную ПИК. Такие конструкции исключают из дерева подтипов или из списков выбора посредством правил неявного интерфейса, определенных в ИСО 10303-11. Ссылки на исключенные конструкции находятся вне области применения данной ПИК. В некоторых случаях исключаются все элементы списка выбора. Поскольку ПИК предназначены для реализации в контексте прикладного протокола, элементы списка выбора будут определяться областью применения прикладного протокола. EXPRESS-спецификация: *) SCHEMA aic_mechanical_design_geometric_presentation; USE FROM geometry_schema -- ISO 10303-42 (axis2_placement_2d, axis2_placement_3d); USE FROM presentation_appearance_schema -- ISO 10303-46 (curve_style, curve_style_font, curve_style_font_pattern, draughting_pre_defined_curve_font, fill_area_style_colour, invisibility, marker_type, over_riding_styled_item, point_style, presentation_style_by_context, styled_item, surface_side_style, surfacestyleboundary, surface_style_control_grid, surface_style_fill_area, surface_style_parameter_line, surface_style_segmentation_curve, surface_style_silhouette, surface_style_usage, u_direction_count, v_direction_count); REFERENCE FROM presentation_organization_schema -- ISO 10303-46 (aspect_ratio); USE FROM presentation_organization_schema -- ISO 10303-46 (background_colour, camera_image_3d_with_scale, camera_usage, presentation_area, presentation_representation, presentation_size, presentation_view); USE FROM presentation_resource_schema -- ISO 10303-46 (colour_rgb, draughting_pre_defined_colour, planar_extent); [Техническая поправка №1 (2002) (ISO 10303-517:2000/Cor.1:2002)]. USE FROM product_property_representation_schema -- ISO 10303-41 (shape_representation); USE FROM representation_schema -- ISO 10303-43 (mapped_item, representation); (* Примечание - Схемы, на которые выше даны ссылки, можно найти в следующих стандартах комплекса ИСО 10303: geometry_schema - ИСО 10303-42; presentation_appearance_schema - ИСО 10303-46; presentation_organization_schema - ИСО 10303-46; presentation_resource_schema - ИСО 10303-46; product_property_representation_schema - ИСО 10303-41; representation_schema - ИСО 10303-43. 4.1 Основные понятия и допущенияДанная прикладная интерпретированная конструкция предоставляет непротиворечивое множество объектов для представления изображений. Пример - Изображения механических изделий на стадии проектирования являются примерами изображений, поддерживаемых данной ПИК. Все изображения должны быть представлены в одном и том же окне на дисплее. Изображение может включать в себя один или несколько видов формы изделия. Настоящий стандарт определяет только связь между формой изделия и алгоритмами создания ее проекций, но не сами проекции. Структура управления изображениями реализована посредством объектов mechanical_design_geometric_presentation_area, presentation_view и mechanical_design_geometric_presentation_representation. Связи между данными объектами представлены посредством объектов mapped_item и representation_map. Объект mechanical_design_geometric_presentation_area является подтипом объекта presentation_area. Данный подтип был создан для целей настоящего стандарта. Все содержимое окна должно быть включено в один объект mechanical_design_geometric_presentation_area. Вид представляется объектом presentation_view. Вид содержит объект camera_image_3d_with_scale, созданный для целей настоящего стандарта. Данный объект ссылается на объект camera_model, содержащий информацию, необходимую для расчета проекции формы; данная информация включена в модель камеры. Только объект camera_model_d3 должен использоваться в качестве модели камеры; использование его подтипов не допускается. Источники света и удаление невидимых линий не являются частью модели камеры. Объект camera_image_3d_with_scale не только ссылается на модель камеры, но и связывает ее с объектом mechanical_design_geometric_presentation_representation, содержащим описания форм изделия. Эти формы могут быть стилизованными или нестилизованными. Внешний вид формы изделия может быть определен посредством назначения стилей объектам point, curve или surface. Стили также могут быть назначены топологическим элементам формы изделия. Назначение стиля осуществляется посредством создания экземпляра объекта styled_item, который ссылается на объект representation_item вместе с его объектом presentation_style_assignment. Для целей настоящего стандарта был создан объект mechanical_design_geometric_presentation_representation, являющийся подтипом объекта representation, чтобы собрать все объекты styled_item для объекта mechanical_design_geometric_presentation_area. Объект presentation_style_assignment из styled_item влияет на внешний вид ссылочного объекта representation_item, а также всех объектов representation_item, на которые от него имеются прямые или косвенные ссылки. При этом влияние оказывается только на те объекты representation_item, стиль которых еще не определен. Это означает, что не осуществляется стилизация ранее стилизованных объектов representation_item. Стилизация частично стилизованного объекта representation_item влияет на внешний вид только нестилизованных его частей. Стилизация нестилизованного объекта representation_item влияет на внешний вид всего объекта. Только стилизованные объекты representation_item могут быть визуально представлены. Их реальное визуальное представление зависит также от других факторов, например, определяемых объектом invisibility. В настоящем стандарте не определены последствия возникновения конфликтов между стилями. Пример - Конфликт между стилями возникает, например, когда объект representation_item используется несколькими объектами styled_item. Объект presentation_style_assignment используется для задания стилей объекту representation_item независимо от какого-либо контекста представления. Объект presentation_style_by_context, являющийся подтипом объекта presentation_style_assignment, позволяет задать стиль конкретного контекста представления. Контекст представления может быть любым объектом representation или representation_item. Объекты point_style позволяют определить символы, размеры и цвета маркеров, используемых для представления точек. Объекты curve_style позволяют определить шрифты, толщину и цвет кривых. Внешний вид концов и углов кривых, а также шаблонов, используемых для заполнения видимых сегментов кривых, не определяется. Шрифт кривой определяет, должна ли кривая быть изображена сплошными, пунктирными или штрих-пунктирными линиями. Спецификация произвольных шаблонов для шрифтов кривых, а также использование внешне определенных шрифтов кривых не включены в настоящий стандарт. Шрифты кривых могут быть предопределены. Для определения шрифтов кривых используются объекты draughting_pre_defined_curve_font и curve_style_font. Толщина кривой должна быть задана количественным показателем. Стили поверхностей предоставляют ресурсы для определения визуального внешнего вида поверхностей. Разные стили могут быть заданы для каждой стороны поверхности посредством объектов surface_style_usage и surface_side_style. Стиль стороны поверхности может быть любой комбинацией стилей заполнения области, границы, силуэта, кривой сегментации, опорной сетки и параметрической линии. Воспроизведение объектов curve и surface не определено в настоящем стандарте. Стиль заполнения области определяет стиль для представления видимых поверхностей путем отображения на них окрашенной области. Стиль границы определяет стиль кривой для представления кривых, ограничивающих поверхности. Если стиль границы не определен, то ограничивающие кривые не могут быть представлены. Стиль силуэта определяет стиль кривой для представления силуэтных кривых на поверхности. Если стиль силуэта не определен, силуэтные кривые не могут быть представлены. Стиль кривой сегментации определяет стиль кривой для представления кривой сегментации поверхности. Данный стиль влияет только на поверхности, разделенные на сегменты, например, на би-сплайновые поверхности. Если стиль кривой сегментации не определен, то кривые сегментации не могут быть представлены. Стиль опорной сетки определяет стиль кривой для представления сетки опорных точек, используемой для определения поверхности. Данный стиль влияет только на поверхности, определенные посредством сетки опорных точек, например, на би-сплайновые поверхности. Если стиль опорной сетки не определен, то опорная сетка не может быть представлена. Стиль параметрической линии определяет стиль кривой для представления изопараметрических линий на поверхности. Для данного стиля должно быть определено число параметрических линий в каждом параметрическом направлении. Если стиль параметрической линии не задан, то параметрические линии не могут быть представлены. Объектами, определяющими перечисленные выше стили поверхности, являются surface_style_fill_area, surface_style_boundary, surface_style_silhouette, surface_style_segmentation_curve, surface_style_control_grid и surface_style_parameter_line. Цвета могут быть определены на основе цветовой модели RGB посредством объектов colour_rgb или draughting_pre_defined_colour. В настоящий стандарт не включены конструкции для представления аннотаций. Для независимой реализации в схемах прикладных протоколов, в которых используется данная ПИК, предназначены следующие объекты: camera_image_3d_with_scale; draughting_pre_defined_colour; draughting_pre_defined_curve_font; invisibility; mapped_item; mechanical_design_geometric_presentation_area; mechanical_design_geometric_presentation_representation; over_riding_styled_item; presentation_style_by_context. 4.2 Определение объектов схемы aic_mechanical_design_geometric_presentation4.2.1 Объект mechanical_design_geometric_presentation_area[Техническая поправка № 1 (2002) (ISO 10303-517:2000/Cor. 1:2002)]. Объект mechanical_design_geometric_presentation_area содержит информацию, необходимую для определения проекции некоторой модели механической конструкции на соответствующее изображение на экране. Модель конструкции может быть представлена формой любого типа, например, каркасной, поверхностной или твердотельной. Объект mechanical_design_geometric_presentation_area является подтипом объекта presentation_area, ограниченным определенной иерархией представления. Объект mechanical_design_geometric_presentation_area должен представлять изделие в одном окне и не должен содержать других объектов presentation_area. Представленная модель должна быть объектом mechanical_design_geometric_presentation_representation. Используемая модель камеры не должна содержать источники света и удаление невидимых линий и поверхностей, но должна быть объектом camera_model_d3. EXPRESS-спецификация: *) ENTITY mechanical_design_geometric_presentation_area SUBTYPE OF (presentation_area); WHERE WR1: -- только объекты presentation_views или axis2_placements присутствуют -- в объекте mechanical_design_geometric_presentation_area SIZEOF(QUERY(it1 <* SELF.items | NOT((‘AIC_MECHANICAL_DESIGN_GEOMETRIC_PRESENTATION.AXIS2_PLACEMENT’ IN TYPEOF(it1)) OR ((‘AIC_MECHANICAL_DESIGN_GEOMETRIC_PRESENTATION.MAPPED_ITEM’ IN TYPEOF(it1)) AND (‘AIC_MECHANICAL_DESIGN_GEOMETRIC_PRESENTATION.PRESENTATION_VIEW’ IN TYPEOF (it1\mapped_item.mapping_source.mapped_representation)))))) = 0; WR2: -- только mechanical_design_geometric_presentation_representation -- присутствует в объектах presentation_views посредством объектов -- camera_image_3d_with_scale или axis2_placement SIZEOF(QUERY(pv <* QUERY(mi1 <* QUERY(it1 <* SELF.items | ‘AIC_MECHANICAL_DESIGN_GEOMETRIC_PRESENTATION.MAPPED_ITEM’ IN TYPEOF(it1)) | ‘AIC_MECHANICAL_DESIGN_GEOMETRIC_PRESENTATION.PRESENTATION_VIEW’ IN TYPEOF (mi1\mapped_item.mapping_source.mapped_representation)) -- поиск во всех presentation_view объектов axis2_placement и -- mapped_item, а также подтипа mapped_item - объекта -- camera_image_3d_with_scale; последний должен ссылаться на -- объект mechanical_design_geometric_presentation_representation; -- супертип mapped_item должен ссылаться на presentation_view. NOT (SIZEOF(QUERY(it2 <* pv\mapped_item.mapping_source.mapped_representation\representation.items | NOT((‘AIC_MECHANICAL_DESIGN_GEOMETRIC_PRESENTATION.AXIS2_PLACEMENT’ IN TYPEOF(it2)) OR ((‘AIC_MECHANICAL_DESIGN_GEOMETRIC_PRESENTATION.MAPPED_ITEM’ IN TYPEOF(it2)) AND NOT(‘AIC_MECHANICAL_DESIGN_GEOMETRIC_PRESENTATION.’ + ‘CAMERA_IMAGE_3D_WITH_SCALE’ IN TYPEOF(it2))) AND NOT (‘AIC_MECHANICAL_DESIGN_GEOMETRIC_PRESENTATION.PRESENTATION_VIEW’ IN TYPEOF (it2\mapped_item.mapping_source.mapped_representation))) OR ((‘AIC_MECHANICAL_DESIGN_GEOMETRIC_PRESENTATION.’ + CAMERA_IMAGE_3D_WITH_SCALE’ IN TYPEOF(it2)) AND NOT ((‘AIC_MECHANICAL_DESIGN_GEOMETRIC_PRESENTATION.’ + ‘MECHANICAL_DESIGN_GEOMETRIC_PRESENTATION_REPRESENTATION’ IN TYPEOF (it2\mapped_item.mapping_source.mapped_representation)))))) = 0))) = 0; WR3: (SIZEOF(QUERY(ps <* USEDIN (SELF\presentation_area, ‘AIC_MECHANICAL_DESIGN_GEOMETRIC_PRESENTATION.’ + ‘PRESENTATION_SIZE.UNIT’) ((ps.size\planar_extent.size_in_x <= 0) OR (ps.size\planar_extent.size_in_y <= 0)))) = 0) AND (SIZEOF(QUERY(ais <* USED IN (SELF\presentation_area, ‘AIC_MECHANICAL_DESIGN_GEOMETRIC_PRESENTATION.’ + ‘AREA_IN_SET.AREA’) (SIZEOF(QUERY(ps <* USEDIN (ais, ‘AIC_MECHANICAL_DESIGN_GEOMETRIC_PRESENTATION.’ + ‘PRESENTATION_SIZE.UNIT’) ((ps.size\planar_extent.size_in_x <= 0) OR (ps.size\planar_extent.size_in_y <= 0)))) > 0))) = 0); WR4: (SIZEOF(QUERY(ps <* USED IN (SELF\presentation_area, ‘AIC_MECHANICAL_DESIGN_GEOMETRIC_PRESENTATION.’ + ‘PRESENTATION_SIZE.UNIT’) | (‘AIC_MECHANICAL_DESIGN_GEOMETRIC_PRESENTATION.’ + ‘AXIS2_PLACEMENT_2D’ IN TYPEOF (ps.size.placement)))) = 1) AND (SIZEOF(QUERY(ps <* USEDIN (SELF\presentation_area, ‘AIC_MECHANICAL_DESIGN_GEOMETRIC_PRESENTATION.’ + ‘PRESENTATION_SIZE.UNIT’) | (‘AIC_MECHANICAL_DESIGN_GEOMETRIC_PRESENTATION.’ + ‘AXIS2_PLACEMENT_3D’ IN TYPEOF (ps.size.placement)))) = 0) OR ((SIZEOF(QUERY(ais <* USEDIN (SELF\presentation_area, ‘AIC_MECHANICAL_DESIGN_GEOMETRIC_PRESENTATION.’ + ‘AREA_IN_SET.AREA’) | (SIZEOF(QUERY(ps <* USEDIN (ais, ‘AIC_MECHANICAL_DESIGN_GEOMETRIC_PRESENTATION.’ + ‘PRESENTATION_SIZE.UNIT’) | (‘AIC_MECHANICAL_DESIGN_GEOMETRIC_PRESENTATION.’ + ‘AXIS2_PLACEMENT_2D’ IN TYPEOF (ps.size.placement)))) = 1))) = 1) AND (SIZEOF(QUERY(ais <* USEDIN (SELF\presentation_area, ‘AIC_MECHANICAL_DESIGN_GEOMETRIC_PRESENTATION.’ + ‘AREA_IN_SET.AREA’) | (SIZEOF(QUERY(ps <* USEDIN (ais, ‘AIC_MECHANICAL_DESIGN_GEOMETRIC_PRESENTATION.’ + ‘PRESENTATION_SIZE.UNIT’) | (‘AIC_MECHANICAL_DESIGN_GEOMETRIC_PRESENTATION.’ + “AXIS2_PLACEMENT_3D’ IN TYPEOF (ps.size.placement)))) = 0))) = 1)); END_ENTITY; (* Формальные утверждения WR1 - элементами item объекта mechanical_design_geometric_presentation_area должны быть только объекты axis2_placement или mapped_item. В последнем случае объект mapped_representation из representation_map, то есть объект mapping_source данного объекта mapped_item, должен быть объектом presentation_view. WR2 - элементами item объекта presentation_view должны быть только объекты axis2_placement или mapped_item. В последнем случае объект mapped_item может иметь тип camera_image_3d_with_scale с объектом mapped_representation из representation_map, то есть объектом mapping_source данного объекта mapped_item, являющимся объектом mechanical_design_geometric_presentation_representation. Если объект mapped_item не является объектом camera_image_3d_with_scale, то объект mapped_representation должен быть из representation_map (то есть объект mapping_source данного объекта mapped_item) должен быть другим объектом presentation_view. Примечание - Если при использовании настоящего стандарта в схему, помимо объекта camera_ image_3d_with_scale, включаются другие подтипы объекта mapped_item, то могут потребоваться дополнительные правила, чтобы исключить возможность реализации данных подтипов в presentation_view. Настоящий стандарт не препятствует реализации подтипов объекта mapped_item, которые не определены в настоящем стандарте. WR3 - размеры прямоугольного объекта mechanical_design_geometric_presentation_area должны быть заданы положительными значениями. WR4 - зона визуализации объекта mechanical_design_geometric_presentation_area должна быть определена в двумерной системе координат. Неформальное утверждение IP1 - объект mapping_origin из camera_usage должен быть объектом camera_model_d3, но не одним из его подтипов. 4.2.2 Объект mechanical_design_geometric_presentation_representation[Техническая поправка № 1 (2002) (ISO 10303-517:2000/Cor.1:2002)] Объект mechanical_design_geometric_presentation_representation определяет форму и, факультативно, относящиеся к ней стили представления, которые должны воспроизводиться в объекте mechanical_design_geometric_presentation_area. Данный объект является подтипом объекта representation. Все элементы item объекта mechanical_design_geometric_presentation_representation должны быть объектами representation_item, описывающими форму, или shape_representation. Данные элементы могут быть стилизованными или нестилизованными. Элемент может быть объектом mapped_item. Использование стилей и атрибутов стилей ограничено для точек, кривых и поверхностей. EXPRESS-спецификация: *) ENTITY mechanical_design_geometric_presentation_representation SUBTYPE OF (representation); WHERE WR1: SIZEOF(QUERY(it <* SELF.items | NOT (SIZEOF([‘AIC_MECHANICAL_DESIGN_GEOMETRIC_PRESENTATION.MAPPED_ITEM’, ‘AIC_MECHANICAL_DESIGN_GEOMETRIC_PRESENTATION.STYLED_ITEM’, ‘AIC_MECHANICAL_DESIGN_GEOMETRIC_PRESENTATION.AXIS2_PLACEMENT’, ‘AIC_MECHANICAL_DESIGN_GEOMETRIC_PRESENTATION.CAMERA_MODEL_D3’] * TYPEOF(it)) = 1))) = 0; WR2: -- объекты mapped_item могут ссылаться -- только на объекты shape_representation и -- mechanical_design_geometric_presentation_representation SIZEOF(QUERY(mi <* QUERY(it <* SELF.items | (‘AIC_MECHANICAL_DESIGN_GEOMETRIC_PRESENTATION.MAPPED_ITEM’ IN TYPEOF(it))) NOT (SIZEOF([‘AIC_MECHANICAL_DESIGN_GEOMETRIC_PRESENTATION.’ + ‘SHAPE_REPRESENTATION’, ‘AIC_MECHANICAL_DESIGN_GEOMETRIC_PRESENTATION.’ + ‘MECHANICAL_DESIGN_GEOMETRIC_PRESENTATION_REPRESENTATION’] * TYPEOF(mi\mapped_item.mapping_source.mapped_representation)) = 1))) = 0; WR3: --стилизованные объекты mapped_item должны ссылаться -- на объекты shape_representation SIZEOF(QUERY(smi <* QUERY(si <* QUERY(it <* SELF.items | (‘AIC_MECHANICAL_DESIGN_GEOMETRIC_PRESENTATION.STYLED_ITEM’ IN TYPEOF(it))) | (‘AIC_MECHANICAL_DESIGN_GEOMETRIC_PRESENTATION.MAPPED_ITEM’ IN TYPEOF(si\styled_item.item))) | NOT ((‘AIC_MECHANICAL_DESIGN_GEOMETRIC_PRESENTATION.’ + ‘SHAPE_REPRESENTATION’ IN TYPEOF (smi\styled_item.item\mapped_item.mapping_source.mapped_representation))))) = 0; WR4: SIZEOF(QUERY(si <* QUERY(it <* SELF.items | ‘AIC_MECHANICAL_DESIGN_GEOMETRIC_PRESENTATION.STYLED_ITEM’ IN TYPEOF(it)) NOT (SIZEOF(QUERY(psa <* si\styled_item.styles | NOT (SIZEOF(QUERY(pss <* psa.styles | NOT (SIZEOF([‘AIC_MECHANICAL_DESIGN_GEOMETRIC_PRESENTATION.POINT_STYLE’, ‘AIC_MECHANICAL_DESIGN_GEOMETRIC_PRESENTATION.CURVE_STYLE’, ‘AIC_MECHANICAL_DESIGN_GEOMETRIC_PRESENTATION.SURFACE_STYLE_USAGE’] * TYPEOF(pss)) = 1))) = 0))) = 0))) = 0; WR5: SIZEOF(QUERY(si <* QUERY(it <* SELF.items | ‘AIC_MECHANICAL_DESIGN_GEOMETRIC_PRESENTATION.STYLED_ITEM’ IN TYPEOF(it)) | NOT (SIZEOF(QUERY(psbc <* QUERY(psa <* si\styled_item.styles | ‘AIC_MECHANICAL_DESIGN_GEOMETRIC_PRESENTATION.’ + ‘PRESENTATION_STYLE_BY_CONTEXT’ IN TYPEOF(psa)) | NOT (SIZEOF([‘AIC_MECHANICAL_DESIGN_GEOMETRIC_PRESENTATION.’ + ‘REPRESENTATION_ITEM’, ‘AIC_MECHANICAL_DESIGN_GEOMETRIC_PRESENTATION.REPRESENTATION’] * TYPEOF(psbc\presentation_style_by_context.style_context)) = 1))) = 0))) = 0; WR6: SIZEOF(QUERY(si <* QUERY(it <* SELF.items | ‘AIC_MECHANICAL_DESIGN_GEOMETRIC_PRESENTATION.STYLED_ITEM’ IN TYPEOF(it)) | NOT (SIZEOF(QUERY(psa <* si\styled_item.styles | NOT (SIZEOF(QUERY(ps <* QUERY(pss <* psa.styles | ‘AIC_MECHANICAL_DESIGN_GEOMETRIC_PRESENTATION.POINT_STYLE’ IN TYPEOF(pss)) | NOT ((‘AIC_MECHANICAL_DESIGN_GEOMETRIC_PRESENTATION.’ + ‘POSITIVE_LENGTH_MEASURE’ IN TYPEOF (ps\point_style.marker_size)) AND (SIZEOF([‘AIC_MECHANICAL_DESIGN_GEOMETRIC_PRESENTATION.COLOUR_RGB’, ‘AIC_MECHANICAL_DESIGN_GEOMETRIC_PRESENTATION.’ + ‘DRAUGHTING_PRE_DEFINED_COLOUR’] * TYPEOF(ps\point_style.marker_colour)) = 1)))) = 0))) = 0))) = 0; WR7: SIZEOF(QUERY(si <* QUERY(it <* SELF.items | ‘AIC_MECHANICAL_DESIGN_GEOMETRIC_PRESENTATION.STYLED_ITEM’ IN TYPEOF(it)) | NOT (SIZEOF(QUERY(psa <* si\styled_item.styles | NOT (SIZEOF(QUERY(cs <* QUERY(pss <* psa.styles | ‘AIC_MECHANICAL_DESIGN_GEOMETRIC_PRESENTATION.CURVE_STYLE’ INTYPEOF(pss)) | NOT((SIZEOF([‘AIC_MECHANICAL_DESIGN_GEOMETRIC_PRESENTATION.COLOUR_RGB’, ‘AIC_MECHANICAL_DESIGN_GEOMETRIC_PRESENTATION.’ + ‘DRAUGHTING_PRE_DEFINED_COLOUR’] * TYPEOF(cs\curve_style.curve_colour)) = 1) AND (‘AIC_MECHANICAL_DESIGN_GEOMETRIC_PRESENTATION.’ + ‘POSITIVE_LENGTH_MEASURE’ IN TYPEOF (cs\curve_style.curve_width)) AND (SIZEOF([‘AIC_MECHANICAL_DESIGN_GEOMETRIC_PRESENTATION.CURVE_STYLE_FONT’, ‘AIC_MECHANICAL_DESIGN_GEOMETRIC_PRESENTATION.’ + ‘DRAUGHTING_PRE_DEFINED_CURVE_FONT’] * TYPEOF(cs\curve_style.curve_font)) = 1)))) = 0))) = 0))) = 0; WR8: SIZEOF(QUERY(si <* QUERY(it <* SELF.items | ‘AIC_MECHANICAL_DESIGN_GEOMETRIC_PRESENTATION.STYLED_ITEM’ IN TYPEOF(it)) | NOT (SIZEOF(QUERY(psa <*si\styled_item.styles | NOT (SIZEOF(QUERY(ssu <* QUERY(pss <* psa.styles | ‘AIC_MECHANICAL_DESIGN_GEOMETRIC_PRESENTATION.SURFACE_STYLE_USAGE’ IN TYPEOF(pss)) | NOT (‘AIC_MECHANICAL_DESIGN_GEOMETRIC_PRESENTATION.’ + ‘SURFACE_SIDE_STYLE’ IN TYPEOF (ssu\surface_style_usage.style)))) = 0))) = 0))) = 0; WR9: SIZEOF(QUERY(si <* QUERY(it <* SELF.items | ‘AIC_MECHANICAL_DESIGN_GEOMETRIC_PRESENTATION.STYLED_ITEM’ IN TYPEOF(it)) | NOT (SIZEOF(QUERY(psa <* si\styled_item.styles | NOT (SIZEOF(QUERY(ssu <* QUERY(pss <* psa.styles | ‘AIC_MECHANICAL_DESIGN_GEOMETRIC_PRESENTATION.SURFACE_STYLE_USAGE’ IN TYPEOF(pss)) | NOT (SIZEOF(QUERY(sses <* ssu\surface_style_usage.style\surface_side_style.styles | NOT (SIZEOF([‘AIC_MECHANICAL_DESIGN_GEOMETRIC_PRESENTATION.’ + ‘SURFACE_STYLE_PARAMETER_LINE’, ‘AIC_MECHANICAL_DESIGN_GEOMETRIC_PRESENTATION.’ + SURFACE_STYLE_CONTROL_GRID’, ‘AIC_MECHANICAL_DESIGN_GEOMETRIC_PRESENTATION.’ + ‘SURFACE_STYLE_SILHOUETTE’, ‘AIC_MECHANICAL_DESIGN_GEOMETRIC_PRESENTATION.’ + ‘SURFACE_STYLE_SEGMENTATION_CURVE’, ‘AIC_MECHANICAL_DESIGN_GEOMETRIC_PRESENTATION.’ + ‘SURFACE_STYLE_FILL_AREA’, ‘AIC_MECHANICAL_DESIGN_GEOMETRIC_PRESENTATION.’ + ‘SURFACE_STYLE_BOUNDARY’] * TYPEOF(sses)) = 1))) = 0))) = 0))) = 0))) = 0; WR10: SIZEOF(QUERY(si <* QUERY(it <* SELF.items | ‘AIC_MECHANICAL_DESIGN_GEOMETRIC_PRESENTATION.STYLED_ITEM’ IN TYPEOF(it)) | NOT (SIZEOF(QUERY(psa <* si\styled_item.styles | NOT (SIZEOF(QUERY(ssu <* QUERY(pss <* psa.styles | ‘AIC_MECHANICAL_DESIGN_GEOMETRIC_PRESENTATION.SURFACE_STYLE_USAGE’ IN TYPEOF(pss)) | NOT (SIZEOF(QUERY(sspl <* QUERY(sses <* ssu\surface_style_usage.style\surface_side_style.styles | ‘AIC_MECHANICAL_DESIGN_GEOMETRIC_PRESENTATION.’ + ‘SURFACE_STYLE_PARAMETER_LINE’ IN TYPEOF(sses)) | NOT((‘AIC_MECHANICAL_DESIGN_GEOMETRIC_PRESENTATION.CURVE_STYLE’ IN TYPEOF (sspl\surface_style_parameter_line.style_of_parameter_lines)) AND (SIZEOF([‘AIC_MECHANICAL_DESIGN_GEOMETRIC_PRESENTATION.COLOUR_RGB’,‘AIC_MECHANICAL_DESIGN_GEOMETRIC_PRESENTATION.’ + ‘DRAUGHTING_PRE_DEFINED_COLOUR’] * TYPEOF(sspl\surface_style_parameter_line.style_of_parameter_lines\curve_style.curve_colour)) = 1) AND (‘AIC_MECHANICAL_DESIGN_GEOMETRIC_PRESENTATION.’ + ‘POSITIVE_LENGTH_MEASURE’ IN TYPEOF (sspl\surface_style_parameter_line.style_of_parameter_lines\curve_style.curve_width)) AND (SIZEOF([‘AIC_MECHANICAL_DESIGN_GEOMETRIC_PRESENTATION.CURVE_STYLE_FONT’, ‘AIC_MECHANICAL_DESIGN_GEOMETRIC_PRESENTATION.’ + ‘DRAUGHTING_PRE_DEFINED_CURVE_FONT’] * TYPEOF(sspl\surface_style_parameter_line.style_of_parameter_lines\curve_style.curve_font)) = 1)))) = 0))) = 0))) = 0))) = 0; WR11: SIZEOF(QUERY(si <* QUERY(it <* SELF.items | ‘AIC_MECHANICAL_DESIGN_GEOMETRIC_PRESENTATION.STYLED_ITEM’ IN TYPEOF(it)) | NOT (SIZEOF(QUERY(psa <* si\styled_item.styles | NOT (SIZEOF(QUERY(ssu <* QUERY(pss <* psa.styles | ‘AIC_MECHANICAL_DESIGN_GEOMETRIC_PRESENTATION.SURFACE_STYLE_USAGE’ IN TYPEOF(pss)) | NOT (SIZEOF(QUERY(sscg <* QUERY(sses <* ssu\surface_style_usage.style\surface_side_style.styles | ‘AIC_MECHANICAL_DESIGN_GEOMETRIC_PRESENTATION.’ + ‘SURFACE_STYLE_CONTROL_GRID’ IN TYPEOF(sses)) | NOT((‘AIC_MECHANICAL_DESIGN_GEOMETRIC_PRESENTATION.CURVE_STYLE’ IN TYPEOF (sscg\surface_style_control_grid.style_of_control_grid)) AND (SIZEOF([‘AIC_MECHANICAL_DESIGN_GEOMETRIC_PRESENTATION.COLOUR_RGB’, ‘AIC_MECHANICAL_DESIGN_GEOMETRIC_PRESENTATION.’ + ‘DRAUGHTING_PRE_DEFINED_COLOUR’] * TYPEOF(sscg\surface_style_control_grid.style_of_control_grid\curve_style.curve_colour)) = 1) AND (‘AIC_MECHANICAL_DESIGN_GEOMETRIC_PRESENTATION.’ + ‘POSITIVE_LENGTH_MEASURE’ IN TYPEOF (sscg\surface_style_control_grid.style_of_control_grid\curve_style.curve_width)) AND (SIZEOF([‘AIC_MECHANICAL_DESIGN_GEOMETRIC_PRESENTATION.CURVE_STYLE_FONT’, ‘AIC_MECHANICAL_DESIGN_GEOMETRIC_PRESENTATION.’ + ‘DRAUGHTING_PRE_DEFINED_CURVE_FONT’] * TYPEOF(sscg\surface_style_control_grid.style_of_control_grid\curve_style.curve_font)) = 1)))) = 0))) = 0))) = 0))) = 0; WR12: SIZEOF(QUERY(si <* QUERY(it <* SELF.items | ‘AIC_MECHANICAL_DESIGN_GEOMETRIC_PRESENTATION.STYLED_ITEM’ IN TYPEOF(it)) | NOT (SIZEOF(QUERY(psa <* si\styled_item.styles | NOT (SIZEOF(QUERY(ssu <* QUERY(pss <* psa.styles ‘AIC_MECHANICAL_DESIGN_GEOMETRIC_PRESENTATION.SURFACE_STYLE_USAGE’ IN TYPEOF(pss)) | NOT (SIZEOF(QUERY(sssh <* QUERY(sses <* ssu\surface_style_usage.style\surface_side_style.styles | ‘AIC_MECHANICAL_DESIGN_GEOMETRIC_PRESENTATION.’ + ‘SURFACE_STYLE_SILHOUETTE’ IN TYPEOF(sses)) | NOT((‘AIC_MECHANICAL_DESIGN_GEOMETRIC_PRESENTATION.CURVE_STYLE’ IN TYPEOF (sssh\surface_style_silhouette.style_of_silhouette)) AND (SIZEOF([‘AIC_MECHANICAL_DESIGN_GEOMETRIC_PRESENTATION.COLOUR_RGB’, ‘AIC_MECHANICAL_DESIGN_GEOMETRIC_PRESENTATION.’ + ‘DRAUGHTING_PRE_DEFINED_COLOUR’] * TYPEOF(sssh\surface_style_silhouette.style_of_silhouette\curve_style.curve_colour)) = 1) AND (‘AIC_MECHANICAL_DESIGN_GEOMETRIC_PRESENTATION.’ + ‘POSITIVE_LENGTH_MEASURE’ IN TYPEOF (sssh\surface_style_silhouette.style_of_silhouette\curve_style.curve_width)) AND (SIZEOF([‘AIC_MECHANICAL_DESIGN_GEOMETRIC_PRESENTATION.CURVE_STYLE_FONT’, ‘AIC_MECHANICAL_DESIGN_GEOMETRIC_PRESENTATION.’ + ‘DRAUGHTING_PRE_DEFINED_CURVE_FONT’] * TYPEOF(sssh\surface_style_silhouette.style_of_silhouette\curve_style.curve_font)) = 1)))) = 0))) = 0))) = 0))) = 0; WR13: SIZEOF(QUERY(si <* QUERY(it <* SELF.items | ‘AIC_MECHANICAL_DESIGN_GEOMETRIC_PRESENTATION.STYLED_ITEM’ IN TYPEOF(it)) | NOT (SIZEOF(QUERY(psa <* si\styled_item.styles | NOT (SIZEOF(QUERY(ssu <* QUERY(pss <* psa.styles | ‘AIC_MECHANICAL_DESIGN_GEOMETRIC_PRESENTATION.SURFACE_STYLE_USAGE’ IN TYPEOF(pss)) | NOT (SIZEOF(QUERY(sssc <* QUERY(sses <* ssu\surface_style_usage.style\surface_side_style.styles | ‘AIC_MECHANICAL_DESIGN_GEOMETRIC_PRESENTATION.’ + ‘SURFACE_STYLE_SEGMENTATION_CURVE’ IN TYPEOF(sses)) | NOT((‘AIC_MECHANICAL_DESIGN_GEOMETRIC_PRESENTATION.CURVE_STYLE’ IN TYPEOF (sssc\surface_style_segmentation_curve.style_of_segmentation_curve)) AND (SIZEOF([‘AIC_MECHANICAL_DESIGN_GEOMETRIC_PRESENTATION.COLOUR_RGB’, ‘AIC_MECHANICAL_DESIGN_GEOMETRIC_PRESENTATION.’ + ‘DRAUGHTING_PRE_DEFINED_COLOUR’] * TYPEOF(sssc\surface_style_segmentation_curve.style_of_segmentation_curve\curve_style.curve_colour)) = 1) AND (‘AIC_MECHANICAL_DESIGN_GEOMETRIC_PRESENTATION.’ + ‘POSITIVE_LENGTH_MEASURE’ IN TYPEOF (sssc\surface_style_segmentation_curve.style_of_segmentation_curve\curve_style.curve_width)) AND (SIZEOF([‘AIC_MECHANICAL_DESIGN_GEOMETRIC_PRESENTATION.CURVE_STYLE_FONT’, ‘AIC_MECHANICAL_DESIGN_GEOMETRIC_PRESENTATION.’ + ‘DRAUGHTING_PRE_DEFINED_CURVE_FONT’] * TYPEOF(sssc\surface_style_segmentation_curve.style_of_segmentation_curve\curve_style.curve_font)) = 1)))) = 0))) = 0))) = 0))) = 0; WR14: SIZEOF(QUERY(si <* QUERY(it <* SELF.items | ‘AIC_MECHANICAL_DESIGN_GEOMETRIC_PRESENTATION.STYLED_ITEM’ IN TYPEOF(it)) | NOT (SIZEOF(QUERY(psa <* si\styled_item.styles | NOT (SIZEOF(QUERY(ssu <* QUERY(pss <* psa.styles | ‘AIC_MECHANICAL_DESIGN_GEOMETRIC_PRESENTATION.SURFACE_STYLE_USAGE’ IN TYPEOF(pss)) | NOT (SIZEOF(QUERY(ssbd <* QUERY(sses <* ssu\surface_style_usage.style\surface_side_style.styles | ‘AIC_MECHANICAL_DESIGN_GEOMETRIC_PRESENTATION.’ + ‘SURFACE_STYLE_BOUNDARY’ IN TYPEOF(sses)) | NOT((‘AIC_MECHANICAL_DESIGN_GEOMETRIC_PRESENTATION.CURVE_STYLE’ IN TYPEOF (ssbd\surface_style_boundary.style_of_boundary)) AND (SIZEOF([‘AIC_MECHANICAL_DESIGN_GEOMETRIC_PRESENTATION.COLOUR_RGB’, ‘AIC_MECHANICAL_DESIGN_GEOMETRIC_PRESENTATION.’ + ‘DRAUGHTING_PRE_DEFINED_COLOUR’] * TYPEOF(ssbd\surface_style_boundary.style_of_boundary\curve_style.curve_colour)) = 1) AND (‘AIC_MECHANICAL_DESIGN_GEOMETRIC_PRESENTATION.’ + ‘POSITIVE_LENGTH_MEASURE’ IN TYPEOF (ssbd\surface_style_boundary.style_of_boundary\curve_style.curve_width)) AND (SIZEOF([‘AIC_MECHANICAL_DESIGN_GEOMETRIC_PRESENTATION.CURVE_STYLE_FONT’, ‘AIC_MECHANICAL_DESIGN_GEOMETRIC_PRESENTATION.’ + ‘DRAUGHTING_PRE_DEFINED_CURVE_FONT’] * TYPEOF(ssbd\surface_style_boundary.style_of_boundary\curve_style.curve_font)) = 1)))) = 0))) = 0))) = 0))) = 0; END_ENTITY; (* Формальные утверждения WR1 - каждый объект из множества items должен быть объектом styled_item, mapped_item, axis2_placement или camera_model_d3. WR2 - объект mapped_representation из representation_map, то есть объект mapping_source из mapped_item, в mechanical_design_geometric_presentation_representation должен быть представлен объектом shape_representation или другим объектом mechanical_design_geometric_presentation_representation. WR3 - элемент styled_item может быть только объектом mapped_item, если у объекта mapped_item атрибут mapped_representation является объектом shape_representation. WR4 - каждый элемент множества styles из presentation_style_assignment должен быть объектом point_style, curve_style или surface_style_usage. WR5 - атрибут style_context объекта presentation_style_by_context должен быть объектом representation или representation_item. WR6 - для каждого объекта point_style из множества styles объекта presentation_style_assignment атрибут marker_colour должен быть объектом colour_rgb или draughting_pre_defined_colour; атрибут marker_size должен быть объектом positive_ength_measure. WR7 - для каждого объекта curve_style из множества styles объекта presentation_style_assignment атрибут curve_colour должен быть объектом colour_rgb или draughting_pre_defined_colour; атрибут curve_width должен быть объектом positive_length_measure; атрибут curve_font должен быть объектом curve_style_font или draughting_pre_defined_curve_font. WR8 - атрибут style каждого объекта surface_style_usage из множества styles объекта presentation_style_assignment должен быть объектом surface_side_style. WR9 - каждый элемент множества styles объекта surface_side_style должен быть объектом surface_style_parameter_line, surface_style_control_grid, surface_style_silhouette, surface_style_segmentation_curve, surface_style_fill_area или surface_style_boundary. WR10 - атрибут style_of_parameter_lines объекта surface_style_parameter_line должен быть объектом curve_style, и для данного объекта curve_style атрибут curve_colour должен быть объектом colour_rgb или draughting_pre_defined_colour; атрибут curve_width должен быть объектом positive_length_measure; атрибут curve_font должен быть объектом curve_style_font или draughting_pre_defined_curve_font. WR11 - атрибут style_of_control_grid объекта surface_style_control_grid должен быть объектом curve_style, и для данного объекта curve_style атрибут curve_colour должен быть объектом colour_rgb или draughting_pre_defined_colour; атрибут curve_width должен быть объектом positive_length_measure; атрибут curve_font должен быть объектом curve_style_font или draughting_pre_defined_curve_font. WR12 - атрибут style_of_silhouette объекта surface_style_silhouette должен быть объектом curve_style, и для данного объекта curve_style атрибут curve_colour должен быть объектом colour_rgb или draughting_pre_defined_colour; атрибут curve_width должен быть объектом positive_length_measure; атрибут curve_font должен быть объектом curve_style_font или draughting_pre_defined_curve_font. WR13 - атрибут style_of_segmentation_curve объекта surface_style_segmentation_curve должен быть объектом curve_style, и для данного объекта curve_style атрибут curve_colour должен быть объектом colour_rgb или draughting_pre_defined_colour; атрибут curve_width должен быть объектом positive_length_measure; атрибут curve_font должен быть объектом curve_style_font или draughting_pre_defined_curve_font. WR14 - атрибут style_of_boundary объекта surface_style_boundary должен быть объектом curve_style, и для данного объекта curve_style атрибут curve_colour должен быть объектом colour_rgb или draughting_pre_defined_colour; атрибут curve_width должен быть объектом positive_length_measure; атрибут curve_font должен быть объектом curve_style_font или draughting_pre_defined_curve_font. EXPRESS-спецификация: *) END_SCHEMA; (* [Техническая поправка № 1 (2002) (ISO 10303-517:2000/Cor.1:2002)]. Приложение А
| |||||||||||||||||||||||||||||||||||||||||
|
Сокращенное наименование |
|
|
MECHANICAL_DESIGN_GEOMETRIC_PRESENTATION_AREA |
MDGPA |
|
MECHANICAL_DESIGN_GEOMETRIC_PRESENTATION_REPRESENTATION |
MDGPR |
[Техническая поправка № 1 (2002) (ISO 10303-517:2000/Сог.1:2002)].
В.1 Обозначение документа
Для обеспечения однозначного обозначения информационного объекта в открытой системе настоящему стандарту присвоен следующий идентификатор объекта:
{iso standard 10303 part(517) version(2)}
[Техническая поправка № 1 (2002) (ISO 10303-517:2000/Cor.1:2002)].
Смысл данного обозначения установлен в ИСО/МЭК 8824-1 и описан в ИСО 10303-1.
В.2 Обозначение схемы
Для обеспечения однозначного обозначения в открытой информационной системе схеме aic_mechanical_design_geometric_presentation (см. раздел 4) присвоен следующий идентификатор объекта:
{iso standard 10303 part(517) version(2) schema(1) aic-mechanical-design-geometric-presentation(1)}
[Техническая поправка № 1 (2002) (ISO 10303-517:2000/Cor.1:2002)].
Смысл данного обозначения установлен в ИСО/МЭК 8824-1 и описан в ИСО 10303-1.
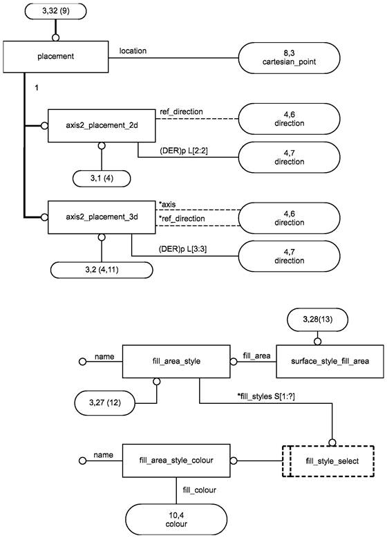
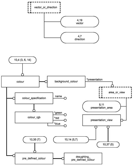
Диаграммы, приведенные на рисунках С.1 - С.14, получены из сокращенного листинга ПЭМ на языке EXPRESS, определенного в разделе 4. В диаграммах использована графическая нотация EXPRESS-G языка EXPRESS. Описание EXPRESS-G установлено в ИСО 10303-11, приложение D.
Примечание - Следующие выбранные типы: character_spacing_select, hiding_or_blanking_select, invisibility_context, layered_item, measure_value, presentation_representation_select, trimming_select и vector_or_direction импортируются в расширенный листинг ПИК в соответствии с правилами неявных интерфейсов по ИСО 10303-11. В настоящем стандарте эти выбранные типы в других объектах не используются.
Рисунок С.1 - ПИК aic_mechanical_design_geometric_presentation в формате EXPRESS-G (диаграмма 1 из 14)

Рисунок С.2 - ПИК aic_mechanical_design_geometric_presentation в формате EXPRESS-G (диаграмма 2 из 14)

Рисунок С.3 - ПИК aic_mechanical_design_geometric_presentation в формате EXPRESS-G (диаграмма 3 из 14)

Рисунок С.4 - ПИК aic_mechanical_design_geometric_presentation в формате EXPRESS-G (диаграмма 4 из 14)

Рисунок С.5 - ПИК aic_mechanical_design_geometric_presentation в формате EXPRESS-G (диаграмма 5 из 14)

Рисунок С.6 - ПИК aic_mechanical_design_geometric_presentation в формате EXPRESS-G (диаграмма 6 из 14)

Рисунок С.7 - ПИК aic_mechanical_design_geometric_presentation в формате EXPRESS-G (диаграмма 7 из 14)

Рисунок С.8 - ПИК aic_mechanical_design_geometric_presentation в формате EXPRESS-G (диаграмма 8 из 14)

Рисунок С.9 - ПИК aic_mechanical_design_geometric_presentation в формате EXPRESS-G (диаграмма 9 из 14)

Рисунок С.10 - ПИК aic_mechanical_design_geometric_presentation в формате EXPRESS-G (диаграмма 10 из 14)

Рисунок С.11 - ПИК aic_mechanical_design_geometric_presentation в формате EXPRESS-G (диаграмма 11 из 14)

Рисунок С.12 - ПИК aic_mechanical_design_geometric_presentation в формате EXPRESS-G (диаграмма 12 из 14)

Рисунок С.13 - ПИК aic_mechanical_design_geometric_presentation в формате EXPRESS-G (диаграмма 13 из 14)
Рисунок С.14 - ПИК aic_mechanical_design_geometric_presentation в формате EXPRESS-G (диаграмма 14 из 14)
В данном приложении приведены ссылки на сайты, на которых находятся листинги наименований объектов на языке EXPRESS и соответствующих сокращенных наименований, установленных в настоящем стандарте. На этих же сайтах находятся листинги всех EXPRESS-схем, установленных или на которые даются ссылки в настоящем стандарте, без комментариев и другого поясняющего текста. Эти листинги доступны в машинно-интерпретируемой форме и могут быть получены по следующим адресам URL:
Сокращенные наименования: http://www.mel.nist.gov/div826/subject/apde/snr/
EXPRESS: http://www.mel.nist.gov/step/parts/part517/is/tc1/
При невозможности доступа к этим сайтам необходимо обратиться в центральный секретариат ИСО или непосредственно в секретариат ИСО ТК184/ПК4 по адресу электронной почты: sc4sec@cme.nist.gov.
Примечание - Информация, представленная в машинно-интерпретированном виде по указанным выше адресам URL, является справочной. Обязательным является текст настоящего стандарта.
[Техническая поправка № 1 (2002) (ISO 10303-517:2000/Cor. 1:2002)].
Таблица ДА.1
|
Обозначение ссылочного международного стандарта |
Степень соответствия |
Обозначение и наименование соответствующего национального стандарта |
|
ИСО/МЭК 8824-1:1995 |
IDT |
ГОСТ Р ИСО/МЭК 8824-1-2001 Информационная технология. Абстрактная синтаксическая нотация версии один (АСН.1). Часть 1. Спецификация основной нотации |
|
ИСО 10303-1:1994 |
IDT |
ГОСТ Р ИСО 10303-1-99 Системы автоматизации производства и их интеграция. Представление данных об изделии и обмен этими данными. Часть 1. Общие представления и основополагающие принципы |
|
ИСО 10303-11:1994 |
IDT |
ГОСТ Р ИСО 10303-11-2000 Системы автоматизации производства и их интеграция. Представление данных об изделии и обмен этими данными. Часть 11. Методы описания. Справочное руководство по языку EXPRESS |
|
ИСО 10303-41:1994 |
IDT |
ГОСТ Р ИСО 10303-41-99 Системы автоматизации производства и их интеграция. Представление данных об изделии и обмен этими данными. Часть 41. Интегрированные обобщенные ресурсы. Основы описания и поддержки изделий |
|
ИСО 10303-42:1994 |
- |
* |
|
ИСО 10303-43:1994 |
IDT |
ГОСТ Р ИСО 10303-43-2002 Системы автоматизации производства и их интеграция. Представление данных об изделии и обмен этими данными. Часть 43. Интегрированные обобщенные ресурсы. Структуры представлений |
|
ИСО 10303-46:1994 |
IDT |
ГОСТ Р ИСО 10303-46-2002 Системы автоматизации производства и их интеграция. Представление данных об изделии и обмен этими данными. Часть 46. Интегрированные обобщенные ресурсы. Визуальное представление |
|
ИСО 10303-202:1996 |
- |
* |
|
* Соответствующий национальный стандарт отсутствует. До его утверждения рекомендуется использовать перевод на русский язык данного международного стандарта. Перевод данного международного стандарта находится в Федеральном информационном фонде технических регламентов и стандартов. Примечание - В настоящей таблице использовано следующее условное обозначение степени соответствия стандартов: - IDT - идентичные стандарты. |
||
Ключевые слова: автоматизация производства, средства автоматизации, интеграция систем автоматизации, промышленные изделия, данные, представление данных, обмен данными, прикладные интерпретированные конструкции, геометрическое представление механических конструкций