| ||||||||||||||||||||||||||||||||||||
|
ФЕДЕРАЛЬНОЕ
АГЕНТСТВО
Системы автоматизации производства ПРЕДСТАВЛЕНИЕ ДАННЫХ ОБ ИЗДЕЛИИ Часть 507 Прикладные интерпретированные конструкции. ISO 10303-507:2001 Industrial automation systems and integration -
Product data (IDT)
Предисловие Цели и принципы стандартизации в Российской Федерации установлены Федеральным законом от 27 декабря 2002 г. № 184-ФЗ «О техническом регулировании», а правила применения национальных стандартов Российской Федерации - ГОСТ Р 1.0-2004 «Стандартизация в Российской Федерации. Основные положения» Сведения о стандарте 1 ПОДГОТОВЛЕН на основе аутентичного перевода на русский язык стандарта, указанного в пункте 4, который выполнен Государственным научным учреждением «Центральный научно-исследовательский и опытно-конструкторский институт робототехники и технической кибернетики» 2 ВНЕСЕН Техническим комитетом по стандартизации ТК 459 «Информационная поддержка жизненного цикла изделий» 3 УТВЕРЖДЕН И ВВЕДЕН В ДЕЙСТВИЕ Приказом Федерального агентства по техническому регулированию и метрологии от 14 сентября 2009 г. № 361-ст 4 Настоящий стандарт идентичен международному стандарту ИСО 10303-507:2001 «Системы автоматизации производства и их интеграция. Представление данных об изделии и обмен этими данными. Часть 507. Прикладные интерпретированные конструкции. Геометрически ограниченная поверхность» (ISO 10303-507:2001 «Industrial automation systems and integration - Product data representation and exchange - Part 507: Application interpreted construct: Geometrically bounded surface»). При применении настоящего стандарта рекомендуется использовать вместо ссылочных международных стандартов соответствующие им национальные стандарты Российской Федерации, сведения о которых приведены в дополнительном приложении ДА 5 ВВЕДЕН ВПЕРВЫЕ Информация об изменениях к настоящему стандарту публикуется в ежегодно издаваемом информационном указателе «Национальные стандарты», а текст изменений и поправок - в ежемесячно издаваемых информационных указателях «Национальные стандарты». В случае пересмотра (замены) или отмены настоящего стандарта соответствующее уведомление будет опубликовано в ежемесячно издаваемом информационном указателе «Национальные стандарты». Соответствующая информация, уведомление и тексты размещаются также в информационной системе общего пользования - на официальном сайте Федерального агентства по техническому регулированию и метрологии в сети Интернет СОДЕРЖАНИЕ Введение Стандарты комплекса ИСО 10303 распространяются на компьютерное представление информации об изделиях и обмен данными об изделиях. Их целью является обеспечение нейтрального механизма, способного описывать изделия на всем протяжении их жизненного цикла. Этот механизм применим не только для обмена файлами в нейтральном формате, но является также основой для реализации и совместного доступа к базам данных об изделиях и организации архивирования. Стандарты комплекса ИСО 10303 представляют собой набор отдельно издаваемых стандартов (частей). Стандарты данного комплекса относятся к одной из следующих тематических групп: «Методы описания», «Методы реализации», «Методология и основы аттестационного тестирования», «Интегрированные обобщенные ресурсы», «Интегрированные прикладные ресурсы», «Прикладные протоколы», «Комплекты абстрактных тестов», «Прикладные интерпретированные конструкции» и «Прикладные модули». Группы стандартов данного комплекса описаны в ИСО 10303-1. Настоящий стандарт входит в группу «Прикладные интерпретированные конструкции». Прикладная интерпретированная конструкция (ПИК) обеспечивает логическую группировку интерпретированных конструкций, поддерживающих конкретную функциональность для использования данных об изделии в разнообразных прикладных контекстах. Интерпретированная конструкция представляет собой обычную интерпретацию интегрированных ресурсов, поддерживающую требования совместного использования информации прикладными протоколами. Настоящий стандарт определяет прикладную интерпретированную конструкцию для представления геометрических форм посредством моделей геометрически ограниченных поверхностей. В нем используются геометрические средства для определения исключительно геометрически ограниченных моделей, состоящих из элементарных и рельефных кривых и поверхностей. НАЦИОНАЛЬНЫЙ СТАНДАРТ РОССИЙСКОЙ ФЕДЕРАЦИИ Системы автоматизации производства и их интеграция ПРЕДСТАВЛЕНИЕ ДАННЫХ ОБ ИЗДЕЛИИ И ОБМЕН ЭТИМИ ДАННЫМИ Часть 507 Прикладные
интерпретированные конструкции. Industrial automation systems and
integration. Product data representation and exchange. Part Дата введения - 2010-07-01 1 Область примененияНастоящий стандарт определяет интерпретацию интегрированных ресурсов, обеспечивающую соответствие требованиям к представлению геометрических форм посредством моделей геометрически ограниченных поверхностей. Требования настоящего стандарта распространяются на: - трехмерные точки; - точки, определенные в параметрическом пространстве кривых или поверхностей; - трехмерные кривые; - кривые, определенные в параметрическом пространстве поверхностей; Примечание - Такие кривые называются также параметризованными кривыми (pcurve) и кривыми на поверхности (cons). - элементарные кривые: линию, окружность, эллипс, параболу, гиперболу; - кривые пересечений; - полилинии, состоящие, по крайней мере, из трех точек; - поверхности; - элементарные поверхности: плоскость, цилиндр, конус, тор, сферу; - криволинейные поверхности, созданные путем вращения или линейной экструзии кривой; - рельефные кривые и поверхности; - обрезание кривых и поверхностей; - композицию кривых и поверхностей; - копирование кривых, поверхностей и моделей поверхностей; - трехмерные смещения кривых и поверхностей. Требования настоящего стандарта не распространяются на: - неограниченную геометрию; - геометрию самопересечений; - геометрию в двухмерном пространстве декартовых координат; - копирование точек; - топологические объекты. 2 Нормативные ссылкиВ настоящем стандарте использованы ссылки на следующие международные стандарты: ИСО/МЭК 8824-1:1998* Информационные технологии. Взаимосвязь открытых систем. Абстрактная синтаксическая нотация версии 1 (АСН.1). Часть 1. Спецификация основной нотации (ISO/IEC 8824-1:1998, Information technology - Abstract Syntax Notation One (ASN.1): Specification of basic notation) ____________ * Заменен. Действует ИСО/МЭК 8824-1:2002. ИСО 10303-1:1994 Системы автоматизации производства и их интеграция. Представление данных об изделии и обмен этими данными. Часть 1. Общие представления и основополагающие принципы (ISO 10303-1:1994, Industrial automation systems and integration - Product data representation and exchange - Part 1: Overview and fundamental principles) ИСО 10303-11:1994 Системы автоматизации производства и их интеграция. Представление данных об изделии и обмен этими данными. Часть 11. Методы описания. Справочное руководство по языку EXPRESS (ISO 10303-11:2004, Industrial automation systems and integration - Product data representation and exchange - Part 11: Description methods: The EXPRESS language reference manual) ИСО 10303-41:1994 Системы автоматизации производства и их интеграция. Представление данных об изделии и обмен этими данными. Часть 41. Интегрированные обобщенные ресурсы. Основы описания и поддержки изделий (ISO 10303-41:2005, Industrial automation systems and integration - Product data representation and exchange - Part 41: Integrated generic resources: Fundamentals of product description and support) ИСО 10303-42:1994 Системы автоматизации производства и их интеграция. Представление данных об изделии и обмен этими данными. Часть 42. Интегрированные обобщенные ресурсы. Геометрическое и топологическое представление (ISO 10303-42:1994, Industrial automation systems and integration - Product data representation and exchange - Part 42: Integrated generic resources: Geometric and topological representation) ИСО 10303-43:1994 Системы автоматизации производства и их интеграция. Представление данных об изделии и обмен этими данными. Часть 43. Интегрированные обобщенные ресурсы. Структуры представлений (ISO 10303-43:1994, Industrial automation systems and integration - Product data representation and exchange - Part 43: Integrated generic resources: Representation structures) ИСО 10303-202:1996 Системы автоматизации производства и их интеграция. Представление данных об изделии и обмен этими данными. Часть 202. Прикладные протоколы. Ассоциативные чертежи (ISO 10303-202:1996, Industrial automation systems and integration - Product data representation and exchange: - Part 202: Application protocol: Associative draughting) Примечание - Нормативная ссылка на ИСО 10303-202 приведена только для определения термина «прикладная интерпретированная конструкция (ПИК)». 3 Термины и определения3.1 Термины, определенные в ИСО 10303-1В настоящем стандарте применены следующие термины: - комплект абстрактных тестов; КАТ (abstract test suite; ATS); - приложение (application); - прикладной контекст (application context); - прикладной протокол; ПП (application protocol; АР); - данные (data); - обмен данными (data exchange); - обобщенный ресурс (generic resource); - метод реализации (implementation method); - информация (information); - интегрированный ресурс (integrated resource); - интерпретация (interpretation); - модель (model); - изделие (product); - данные об изделии (product data); - структура (structure). 3.2 Термины, определенные в ИСО 10303-42В настоящем стандарте применены следующие термины: - граница (boundary); - координатное пространство (coordinate space); - кривая (curve); - размерность (dimensionality); - область (domain); - параметрическое пространство (parameter space); - самопересечение (self-intersect); - поверхность (surface). 3.3 Термин, определенный в ИСО 10303-202В настоящем стандарте применен следующий термин с соответствующим определением: прикладная интерпретированная конструкция; ПИК (application interpreted construct; AIC): Логическая группировка интерпретированных конструкций, которая поддерживает определенную функцию для использования данных об изделии в различных прикладных контекстах. 3.4 Другие определенияВ настоящем стандарте также применен следующий термин с соответствующим определением: геометрически ограниченный (geometrically bounded): Описание геометрической формы, в котором для определения границ и связности используются только значения в координатном пространстве, а не топологические конструкции. 4 Сокращенный листинг на языке EXPRESSВ настоящем разделе определена EXPRESS-схема, в которой используются элементы интегрированных ресурсов и содержатся типы, конкретизации объектов и функции, относящиеся к настоящему стандарту. Примечание - В интегрированных ресурсах допускается существование подтипов и элементов списков выбора, не импортированных в данную ПИК. Такие конструкции исключают из дерева подтипов или из списка выбора посредством правил неявного интерфейса, определенных в ИСО 10303-11. Ссылки на исключенные конструкции находятся вне области применения данной ПИК. В некоторых случаях исключаются все элементы списка выбора. Поскольку ПИК предназначены для реализации в контексте прикладного протокола, элементы списка выбора будут определяться областью применения прикладного протокола. Данная прикладная интерпретированная конструкция предоставляет собой непротиворечивое множество геометрических объектов для определения моделей поверхностей, состоящих из точек, элементарных или рельефных кривых, элементарных или рельефных поверхностей. Геометрическая форма должна быть ограниченной; для ограничения не используются топологические объекты.
Примечание - Схемы, на которые выше даны ссылки, можно найти в следующих стандартах комплекса ИСО 10303: geometric_model_schema - ИСО 10303-42; geometry_schema - ИСО 10303-42; product_property_representation_schema - ИСО 10303-41; representation_schema - ИСО 10303-43; support_resource_schema - ИСО 10303-41. 4.1 Основные понятия и допущенияДля независимой реализации в схемах прикладных протоколов, в которых используется данная ПИК, предназначен объект geometrically_bounded_surface_shape_representation. 4.2 Определение объекта geometrically_bounded_surface_shape_representation схемы aic_geometrically_bounded_surfaceОбъект geometrically_bounded_surface_shape_representation описывает форму или части формы объекта product посредством модели поверхности без топологии. Примечание - Объект product в настоящем стандарте не рассматривается. Объектом самого верхнего уровня в настоящем стандарте является объект geometrically_bounded_surface_shape_representation. Он является подтипом объекта shape_representation, определенного в ИСО 10303-41, который состоит из объектов geometric_set. Объекты point, curve и surface, представляющие точки, кривые и поверхности, могут содержаться в объекте geometric_set при условии, что их размерность соответствует правилу compatible_dimension, определенному в ИСО 10303-42. Объект geometrically_bounded_surface_shape_representation должен содержать, по крайней мере, один объект surface. Геометрические объекты, используемые исключительно для определения других геометрических объектов, сами не должны входить в множества объектов element объекта geometric_set. Все геометрические объекты должны иметь размерность, равную трем, за исключением двухмерной геометрии, используемой для определения объектов pcurve. Использование одномерных объектов cartesian_point не допускается. Все неограниченные кривые и поверхности должны быть явным образом обрезаны. Границы кривых должны быть определены точками на кривых и явно заданными связями между этими точками и кривыми либо параметрическими значениями. Границы поверхностей должны быть определены кривыми на поверхностях и явно заданными связями между этими кривыми и поверхностями либо параметрическими значениями. Элементы item объекта geometrically_bounded_surface_shape_representation также могут иметь тип mapped_item, определенный в ИСО 10303-43, или axis2_placement_3d. Они используются для объединения одного или нескольких объектов geometrically_bounded_surface_shape_representation в один новый объект geometrically_bounded_surface_shape_representation. Правила WHERE в данном объекте ограничивают применение типов данных объектов, импортированных из ИСО 10303-42 и ИСО 10303-43 в соответствии с приведенными выше формулировками. Большинство проверок типа объекта и ограничений определены в следующих функциях: - gbsf_check_point; - gbsf_check_curve; - gbsf_check_surface. Эти три функции должны применяться ко всем объектам element из всех объектов geometric_set в geometrically_bounded_surface_shape_representation. Данные функции автоматически проверяют все объекты point, curve и surface, на которые ссылаются объекты element. Для этого данные функции вызываются рекурсивно. Пример - Объект pcurve ссылается на объекты curve и surface. Функция gbsf_check_curve оценивает не только объект pcurve, но и его базисные геометрические объекты. Поэтому она вызывает не только сама себя, но и функцию gbsf_check_surface. Примечание - Прикладной протокол, использующий настоящий стандарт, должен явным образом разрешать реализацию объекта shape_representation как объекта geometrically_bounded_surface_shape_representation.
Формальные утверждения WR1 - элементы item из geometrically_bounded_surface_shape_representation должны быть объектами geometric_set, mapped_item или axis2_placement_3d. Примечание - Объект axis2_placement_3d является допустимым объектом mapped_item.mapping_target. Чтобы добавить еще один объект representation в список элементов item объекта geometrically_bounded_surface_shape_representation (см. утверждение WR3 по поводу допустимых объектов mapped_item), объект mapped_item.mapping_source.mapping_origin может быть любым объектом, который геометрически определен в объекте geometric_representation_context объекта mapped_representation. Если этот объект является объектом axis2_placement_3d, то оператор, отображающий объект mapped_representation на объект geometrically_bounded_surface_shape_representation, соответствует матрице преобразования, в которой разрешены только перемещение и вращение. Если объект cartesian_transformation_operator_3d используется в качестве объекта mapping_origin, то возможны операции масштабирования и зеркалирования. WR2 - по крайней мере, один из элементов item в объекте geometrically_bounded_surface_shape_representation должен быть объектом geometric_set либо объектом mapped_item. WR3 - если объект geometrically_bounded_surface_shape_representation содержит объект mapped_item, то объект mapped_representation из объекта mapping_source должен быть объектом geometrically_bounded_surface_shape_representation, который должен содержать, по крайней мере, один объект geometric_set. WR4 - каждый объект point из объектов element объекта geometric_set, являющегося одним из элементов item объекта geometrically_bounded_surface_shape_representation, должен быть допустимым объектом point. WR5 - каждый объект curve из объектов element объекта geometric_set, являющегося одним из элементов item объекта geometrically_bounded_surface_shape_representation, должен быть допустимым объектом curve. WR6 - каждый объект surface из объектов element объекта geometric_set, являющегося одним из элементов item объекта geometrically_bounded_surface_shape_representation, должен быть допустимым объектом surface. WR7 - по крайней мере, один из объектов element хотя бы одного объекта geometric_set, существующего среди элементов item объекта geometrically_bounded_surface_shape_representation, должен быть объектом surface. Неформальные утверждения IP1 - объект b_spline_curve не должен содержать самопересечений. IP2 - объект composite_curve не должен содержать самопересечений. IP3 - объект offset_curve_3d не должен содержать самопересечений. IP4 - объект b_spline_surface не должен содержать самопересечений. IP5 - объект offset_surface не должен содержать самопересечений. IP6 - геометрические объекты, которые используются исключительно для определения других геометрических объектов, сами не должны содержаться в множествах элементов element объект geometric_set. 4.3 Определения функций схемы aic_geometrically_bounded_surfaceНиже приведено описание функций, необходимых для формулировки ограничений для схемы aic_geometrically_bounded_surface. Данные функции используются в спецификации объекта geometrically_bounded_surface_shape_representation. 4.3.1 Функция gbsf_check_pointФункция gbsf_check_point проверяет экземпляр объекта point на допустимость в контексте объекта geometrically_bounded_surface_shape_representation. Также проверяются все геометрические объекты, на которые ссылается данный экземпляр объекта point, например, объекты curve и surface. Если существуют ссылки на объекты curve или surface, то вызываются функции gbsf_check_curve или gbsf_check_surface соответственно. Рекурсивный процесс вызова этих функций заканчивается, когда типы объектов не ссылаются на любые объекты point, curve или surface. Перечисленные ниже типы точек и их подтипы принадлежат к области определения объекта geometrically_bounded_surface_shape_representation и являются допустимыми входными аргументами для данной функции: - cartesian_point; - degenerate_p_curve; - point_on_curve; - point_on_surface. Последние три объекта из этого списка ссылаются на объекты curve, surface или на те и на другие. Объект basis_surface объекта degenerate_p_curve может быть любым из допустимых объектов surface в объекте geometrically_bounded_surface_shape_representation. Объект reference_to_curve объекта degenerate_p_curve должен быть одного из следующих типов: - b_spline_curve; - composite_curve (рекурсивно); - conic; - curve_replica (рекурсивно); - line; - polyline; - trimmed_curve (рекурсивно). Примечание - Данная функция применяется рекурсивно к помеченным типам объектов из данного списка, чтобы проверить их ссылки на объекты на допустимость реализации. Объект basis_curve объекта point_on_curve может быть любым из допустимых объектов curve в объекте geometrically_bounded_surface_shape_representation. Объект basis_surface объекта point_on_surface может быть любым из допустимых объектов surface в объекте geometrically_bounded_surface_shape_representation. Данная функция возвращает результат TRUE, если типы всех ссылочных геометрических объектов принадлежат к области определения объекта geometrically_bounded_surface_shape_representation, в противном случае функция возвращает результат FALSE. Примечание - Данная функция не проверяет корректность ссылок относительно ИСО 10303-42. Проверяются только дополнительные требования, обусловленные областью определения объекта geometrically_bounded_surface_shape_representation.
Определения аргументов pnt (входной аргумент) - объект point, который проверяется на допустимость использования в объекте geometrically_bounded_surface_shape_representation. BOOLEAN (выходной аргумент) - результат имеет значение TRUE, если объект point является допустимым; в противном случае результат имеет значение FALSE. 4.3.2 Функция gbsf_check_curveФункция gbsf_check_curve проверяет экземпляр объекта curve на допустимость в контексте объекта geometrically_bounded_surface_shape_representation. Одним из условий допустимости является ограниченность результирующей геометрии экземпляра объекта curve. Выполнение этого условия проверяется данной функцией путем оценивания всех геометрических объектов, на которые ссылается данный экземпляр объекта curve, например других объектов curve и surface. При необходимости исследуемый экземпляр проверяется рекурсивно. Это означает, что если объект curve ссылается на другой объект curve как на базовую или порождающую кривую, то функция gbsf_check_curve вызывается снова. Если имеется ссылка на объект surface, то вызывается функция gbsf_check_surface. Рекурсивный процесс заканчивается, когда типы объектов не ссылаются на любые объекты curve или surface. Помимо требования ограниченности, применяются и другие критерии допустимости; объект curve не должен быть определен как самопересекающийся. Пример - Одним из ограничений, проверяемых данной функцией на допустимость, является признак самопересечения экземпляра объекта b_spline_curve, который может иметь значения TRUE, FALSE или UNKNOWN; допустимыми являются только значения FALSE и UNKNOWN. Перечисленные ниже типы кривых и их подтипы принадлежат к области определения объекта geometrically_bounded_surface_shape_representation и являются допустимыми входными аргументами для данной функции: - b_spline_curve; - composite_curve; - conic; - curve_replica; - line; - offset_curve_3d; - pcurve; - polyline; - surface_curve; - trimmed_curve. Примечание - Данная функция применяется рекурсивно к помеченным типам объектов из приведенных ниже списков для того, чтобы проверить их ссылки на объекты на допустимость реализации. Объекты parent_curve и curve_replica должны быть одного из следующих типов: - b_spline_curve; - composite_curve (рекурсивно); - conic; - curve_replica (рекурсивно); - line; - offset_curve_3d (рекурсивно); - pcurve (рекурсивно); - polyline; - surface_curve (рекурсивно); - trimmed_curve (рекурсивно). Объект basis_curve объекта offset_curve_3d должен быть одного из следующих типов: - b_spline_curve; - composite_curve (рекурсивно); - conic; - curve_replica (рекурсивно); - line; - offset_curve_3d (рекурсивно); - pcurve (рекурсивно); - surface_curve (рекурсивно); - trimmed_curve (рекурсивно). Тот экземпляр множества элементов item объекта definitional_representation, на который ссылается объект pcurve как на объект reference_to_curve, должен быть одного из следующих типов: - b_spline_curve; - composite_curve (рекурсивно); - conic; - curve_replica (рекурсивно); - line; - polyline; - trimmed_curve (рекурсивно). Объект curve_3d объекта surface_curve должен быть одного из следующих типов: - b_spline_curve; - composite_curve (рекурсивно); - conic; - curve_replica (рекурсивно); - line; - polyline; - surface_curve (рекурсивно); - trimmed_curve (рекурсивно). Объекты pcurve и surface_curve содержат ссылки на объекты surface. Функция gbsf_check_surface вызывается для проверки таких объектов, как surface. Объект geometrically_bounded_surface_shape_representation требует выполнения ограничений на ссылки к допустимым объектам surface для объектов p_curve и surface_curve в соответствии с ИСО 10303-42. Допустимый объект polyline должен состоять, по крайней мере, из трех объектов cartesian_point. Атрибут self_intersect для бисплайновых и смещенных геометрических форм должен иметь значение FALSE или UNKNOWN. Данная функция возвращает результат TRUE, если типы всех ссылочных геометрических объектов принадлежат к области определения объекта geometrically_bounded_surface_shape_representation и все ограничения выполнены, в противном случае функция возвращает результат FALSE. Примечание - Данная функция не проверяет корректность ссылок относительно ИСО 10303-42, который требует, например, чтобы объекты segment из composite_curve относились к типу composite_curve_segment и чтобы объект parent_curve из composite_curve_segment был объектом bounded_curve. Это ограничение не проверяется данной функцией. Проверяются только дополнительные требования, обусловленные областью определения объекта geometrically_bounded_surface_shape_representation.
Определения аргументов cv (входной аргумент) - объект representation_item, который по предположению должен быть объектом curve, проверяемым на допустимость использования в контексте объекта geometrically_bounded_surface_shape_representation. BOOLEAN (выходной аргумент) - результат имеет значение TRUE, если объект representation_item является допустимым объектом curve; в противном случае результат имеет значение FALSE. 4.3.3 Функция gbsf_check_surfaceФункция gbsf_check_surface проверяет экземпляр объекта surface на допустимость в контексте объекта geometrically_bounded_surface_shape_representation. Одним из условий допустимости является ограниченность результирующей геометрии экземпляра объекта surface. Выполнение этого условия проверяется данной функцией путем оценивания всех геометрических объектов, на которые ссылается данный экземпляр объекта surface, например, других объектов curve и surface. При необходимости исследуемый экземпляр объекта проверяется рекурсивно. Это означает, что если объект surface ссылается на другой объект surface как на базовую или порождающую поверхность, то функция gbsf_check_surface вызывается снова. Если имеется ссылка на объект curve, то вызывается функция gbsf_check_curve. Рекурсивный процесс заканчивается, когда типы объектов не ссылаются на любые объекты curve или surface. Помимо требования ограниченности, применяются и другие критерии допустимости; объект surface не должен быть определен как самопересекающийся. Пример - Одним из ограничений, проверяемых данной функцией на допустимость, является признак самопересечения экземпляра объекта b_spline_surface, который может иметь значения TRUE, FALSE или UNKNOWN; допустимыми являются только значения FALSE и UNKNOWN. Перечисленные ниже типы поверхностей и их подтипы принадлежат к области определения объекта geometrically_bounded_surface_shape_representation и являются допустимыми входными аргументами для данной функции: - b_spline_surface; - curve_bounded_surface; - elementary_surface; - offset_surface; - rectangular_composite_surface; - rectangular_trimmed_surface; - surface_replica; - surface_of_revolution. Все объекты basis_surface из offset_surface и parent_surface из surface_replica должны принадлежать к одному из перечисленных выше типов объекта surface. Объект surface_of_revolution ссылается на объект curve. Функция gbsf_check_curve вызывается для проверки допустимости объекта curve. Объект geometrically_bounded_surface_shape_representation требует выполнения ограничений на допустимые пологие кривые в соответствии с ИСО 103032. Все объекты curve, принадлежащие к области определения объекта geometrically_bounded_surface_shape_representation, являются допустимыми объектами swept_curve. Атрибут self-intersect для би-сплайновых и смещенных геометрических форм должен иметь значение FALSE или UNKNOWN. Данная функция возвращает результат TRUE, если типы всех ссылочных геометрических объектов принадлежат к области определения объекта geometrically_bounded_surface_shape_representation и все ограничения выполнены, в противном случае функция возвращает результат FALSE. Примечания 1 Данная функция не проверяет корректность ссылок относительно ИСО 10303-42, который требует, например, чтобы объекты segment из rectangular_composite_surface относились к типу surface_patch и чтобы объекты bounded_surface были их порождающими поверхностями. Это ограничение не проверяется данной функцией. Проверяются только дополнительные требования, обусловленные областью определения объекта geometrically_bounded_surface_shape_representation. 2 Данная функция применяется рекурсивно для проверки ссылок на объекты входного аргумента surface на допустимость реализации.
Определения аргументов sf (входной аргумент) - объект surface, который проверяется на допустимость использования в объекте geometrically_bounded_surface_shape_representation. BOOLEAN (выходной аргумент) - результат имеет значение TRUE, если объект surface является допустимым; в противном случае результат имеет значение FALSE. *) END_SCHEMA; - - AIC_geometrically_bounded_surface (* Приложение А
| ||||||||||||||||||||||||||||||||||||
|
Сокращенное |
|
|
GEOMETRICALLY_BOUNDED_SURFACE_SHAPE_REPRESENTATION |
GBSSR |
Регистрация информационного объекта
B.1 Обозначение документа
Для обеспечения однозначного обозначения информационного объекта в открытой системе настоящему стандарту присвоен следующий идентификатор объекта:
{iso standard 10303 part (507) version (1)}
Смысл данного обозначения установлен в ИСО/МЭК 8824-1 и описан в ИСО 10303-1.
B.2 Обозначение схемы
Для обеспечения однозначного обозначения в открытой информационной системе схеме aic_geometrically_bounded_surface (см. раздел 4) присвоен следующий идентификатор объекта:
{iso standard 10303 part(507) version (1) object (1) aic-geometrically-bounded-surface (1)}
Смысл данного обозначения установлен в ИСО/МЭК 8824-1 и описан в ИСО 10303-1.
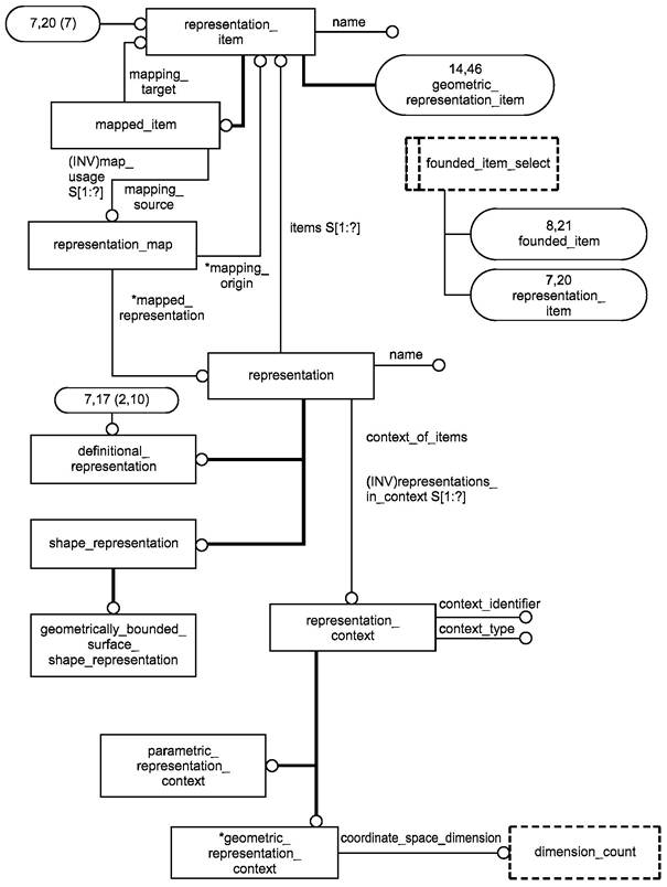
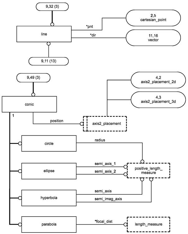
EXPRESS-G диаграммы
EXPRESS-G диаграммы, представленные на рисунках С.1 - С.18, получены из сокращенного листинга, представленного в разделе 4, с использованием спецификаций интерфейса стандарта ИСО 10303-11. В диаграммах использована графическая нотация EXPRESS-G языка EXPRESS. Описание EXPRESS-G установлено в ИСО 10303-11, приложение D.
Примечание - Приведенные ниже выбранные типы импортируются в расширенный листинг ПИК в соответствии с правилами неявных интерфейсов по ИСО 10303-11. В настоящем стандарте эти выбранные типы в других объектах не используются:
- curve_on_surface;
- founded_item_select;
- measure_value;
- transformation;
- vector_or_direction.
Рисунок С.1 - ПИК geometrically_bounded_surface в формате EXPRESS-G (диаграмма 1 из 18)

Рисунок С.2 - ПИК geometrically_bounded_surface в формате EXPRESS-G (диаграмма 2 из 18)

Рисунок С.3 - ПИК geometrically_bounded_surface в формате EXPRESS-G (диаграмма 3 из 18)

Рисунок С.4 - ПИК geometrically_bounded_surface в формате EXPRESS-G (диаграмма 4 из 18)

Рисунок С.5 - ПИК geometrically_bounded_surface в формате EXPRESS-G (диаграмма 5 из 18)

Рисунок С.6 - ПИК geometrically_bounded_surface в формате EXPRESS-G (диаграмма 6 из 18)

Рисунок С.7 - ПИК geometrically_bounded_surface в формате EXPRESS-G (диаграмма 7 из 18)

Рисунок С.8 - ПИК geometrically_bounded_surface в формате EXPRESS-G (диаграмма 8 из 18)

Рисунок С.9 - ПИК geometrically_bounded_surface в формате EXPRESS-G (диаграмма 9 из 18)

Рисунок 10 - ПИК geometrically_bounded_surface в формате EXPRESS-G (диаграмма 10 из 18)

Рисунок С.11 - ПИК geometrically_bounded_surface в формате EXPRESS-G (диаграмма 11 из 18)

Рисунок С.12 - ПИК geometrically_bounded_surface в формате EXPRESS-G (диаграмма 12 из 18)

Рисунок С.13 - ПИК geometrically_bounded_surface в формате EXPRESS-G (диаграмма 13 из 18)

Рисунок С.14 - ПИК geometrically_bounded_surface в формате EXPRESS-G (диаграмма 14 из 18)

Рисунок С.15 - ПИК geometrically_bounded_surface в формате EXPRESS-G (диаграмма 15 из 18)

Рисунок С.16 - ПИК geometrically_bounded_surface в формате EXPRESS-G (диаграмма 16 из 18)

Рисунок С. 17 - ПИК geometrically_bounded_surface в формате EXPRESS-G (диаграмма 17 из 18)
Рисунок С.18 - ПИК geometrically_bounded_surface в формате EXPRESS-G (диаграмма 18 из 18)
Машино-интерпретируемые листинги
В данном приложении приведены ссылки на сайты, на которых находятся листинги наименований объектов на языке EXPRESS и соответствующих сокращенных наименований, установленных в настоящем стандарте. На этих же сайтах находятся листинги всех EXPRESS-схем, установленных в настоящем стандарте, без комментариев и другого поясняющего текста. Эти листинги доступны в машинно-интерпретируемой форме и могут быть получены по следующим адресам URL:
Сокращенные наименования: http://www.mel.nist.gov/div826/subject/apde/snr/
EXPRESS: http://www.mel.nist.gov/step/parts/part507/IS/
При невозможности доступа к этим сайтам необходимо обратиться в центральный секретариат ИСО или непосредственно в секретариат ИСО ТК184/ПК4 по адресу электронной почты: sc4sec@cme.nist.gov.
Примечание - Информация, представленная в машинно-интерпретированном виде на указанных выше URL, является справочной. Обязательным является текст настоящего стандарта.
Сведения
о соответствии ссылочных международных стандартов
ссылочным национальным стандартам Российской Федерации
Таблица ДА.1
|
Обозначение ссылочного |
Степень |
Обозначение и наименование
соответствующего |
|
ИСО/МЭК 8824-1:1998 |
IDT |
ГОСТ Р ИСО/МЭК 8824-1-2001 Информационная технология. Абстрактная синтаксическая нотация версии один (АСН.1). Часть 1. Спецификация основной нотации |
|
ИСО 10303-1:1994 |
IDT |
ГОСТ Р ИСО 10303-1-99 Системы автоматизации производства и их интеграция. Представление данных об изделии и обмен этими данными. Часть 1. Общие представления и основополагающие принципы |
|
ИСО 10303-11:1994 |
IDT |
ГОСТ Р ИСО 10303-11-2000 Системы автоматизации производства и их интеграция. Представление данных об изделии и обмен этими данными. Часть 11. Методы описания. Справочное руководство по языку EXPRESS |
|
ИСО 10303-41:1994 |
IDT |
ГОСТ Р ИСО 10303-41-99 Системы автоматизации производства и их интеграция. Представление данных об изделии и обмен этими данными. Часть 41. Интегрированные обобщенные ресурсы. Основы описания и поддержки изделий |
|
ИСО 10303-42:1994 |
- |
* |
|
ИСО 10303-43:1994 |
IDT |
ГОСТ Р ИСО 10303-43-2002 Системы автоматизации производства и их интеграция. Представление данных об изделии и обмен этими данными. Часть 43. Интегрированные обобщенные ресурсы. Структуры представлений |
|
ИСО 10303-202:1996 |
- |
* |
|
* Соответствующий национальный стандарт отсутствует. До его утверждения рекомендуется использовать перевод на русский язык данного международного стандарта. Перевод данного международного стандарта находится в Федеральном информационном фонде технических регламентов и стандартов. Примечание - В настоящей таблице использовано следующее условное обозначение степени соответствия стандартов: - IDT - идентичные стандарты. |
||
Ключевые слова: автоматизация производства, средства автоматизации, интеграция систем автоматизации, промышленные изделия, данные, представление данных, обмен данными, прикладные интерпретированные конструкции, геометрически ограниченные поверхности