Информационная система
«Ёшкин Кот»

XXXecatmenu

Федеральное государственное унитарное предприятие
Всероссийский научно-исследовательский институт расходометрии
(ФГУП ГНМЦ ВНИИР)
Госстандарта России

 

 

 

УТВЕРЖДАЮ

 

 

Зам. Директора ГНМЦ
ВНИИР по научной работе

______________ М.С. Немиров

«10» ___12___ 2002 г.

 

РЕКОМЕНДАЦИЯ

Государственная система обеспечения единства измерений

УСТАНОВКА МАССОИЗМЕРИТЕЛЬНАЯ «АСМА»

Методика поверки

МИ 2786-2003

 

Казань

2003

 

РАЗРАБОТАНА

Федеральным государственным унитарным предприятием Государственным научным метрологическим центром Всероссийским научно-исследовательским институтом расходометрии (ФГУП ГНМЦ ВНИИР)

ИСПОЛНИТЕЛИ:

Немиров М.С. - кандидат технических наук, Силкина Т.Г.

РАЗРАБОТАНА

Уфимским инженерно-метрологическим центром МОАО «Нефтеавтоматика»

ИСПОЛНИТЕЛИ:

Насибуллин А.Р., Фаткуллин А.А.

РАЗРАБОТАНА

Межрегиональным Открытым Акционерным Обществом МОАО «Нефтеавтоматика»

ИСПОЛНИТЕЛИ:

Михайлов СМ., Халитов А.С.

УТВЕРЖДЕНА

ГНМЦ ВНИИР 10 декабря 2002 года

ЗАРЕГИСТРИРОВАНА

ВНИИМС 18 февраля 2003 года

ВВЕДЕНА ВПЕРВЫЕ

 

 

СОДЕРЖАНИЕ

1. Операции поверки. 2

2. Средства поверки. 2

3. Требования безопасности и охраны окружающей среды.. 2

4. Условия поверки. 3

5. Подготовка к поверке. 3

6. Проведение поверки. 4

7. Обработка результатов измерений. 6

8. Оформление результатов поверки. 8

Приложение А. Схемы поверки установки АСМА.. 9

Приложение Б. Протоколы определения погрешностей измерений установкой АСМА.. 10

Приложение В. Определение коэффициента преобразования массы.. 12

Приложение Г. Методика анализа результатов измерений и вычислений. 12

Приложение Д. Определение имитируемых значений расхода попутного газа. 13

 

 

РЕКОМЕНДАЦИЯ

Государственная система обеспечения единства измерений

Установка массоизмерительная АСМА. Методика поверки

МИ 2786-2003

Дата введения 2003-03-01

Настоящая рекомендация распространяется на установку массоизмерительную АСМА (далее - установка) стационарную или транспортабельную, предназначенную для измерений среднесуточных дебитов по жидкости, нефти и воде и расхода попутного газа нефтяных скважин, и устанавливает методику первичной и периодической поверок установка.

Межповерочный интервал: не более одного года.

1. Операции поверки

При проведении поверки выполняют операции, указанные в таблице 1.

Таблица 1

Наименование операции

Номер пункта методики поверки

Проведение операции при

первичной поверке

периодической поверке

Внешний осмотр

6.1

Да

Да

Опробование

6.2

Да

Да

Определение погрешности измерений массы жидкости

6.3

Да

Да

Определение погрешности измерений расхода жидкости

6.4

Да

Нет

Определение погрешности измерений расхода попутного газа и содержания воды

6.5

Да

Да

2. Средства поверки

2.1. При проведении поверки применяют средства поверки, указанные в таблице 2.

2.2. Средства измерений, применяемые при поверке, должны быть поверены органами Государственной метрологической службы и иметь действующие свидетельства о поверке или оттиски поверительных клейм.

2.3. Допускается применение других аналогичных средств поверки, обеспечивающих определение метрологических характеристик установки с требуемой точностью.

3. Требования безопасности и охраны окружающей среды

3.1. При выполнении измерений соблюдают требования, определяемые следующими документами:

- «Правила пожарной безопасности при эксплуатации предприятий ГКНП СССР»;

- правила техники безопасности при проведении ремонтных и электромеханических работ, утвержденными и учитывающими специфические условия конкретных нефтяных месторождений;

- «Правила технической эксплуатации электроустановок потребителей» (ПТЭ);

- «Правила техники безопасности при эксплуатации электроустановок потребителей» (ПТБ);

- РД 08.200 «Правила безопасности в нефтяной и газовой промышленности»;

- ГОСТ 12.2.091-94 ССБТ. Техника безопасности для показывающих и регистрирующих электроизмерительных приборов и вспомогательных частей к ним.

3.2. Площадку установки содержат в чистоте без следов нефти и оборудуют первичными средствами пожаротушения в соответствии с ОСТ 39-107.

Таблица 2

№ п/п

Средства поверки и их метрологические характеристики и нормативные документы

Количество

Применяют при определении погрешности измерений

Примечание

Массы жид кости

Расхода жидкости

Расхода попутного газа

Содержания воды

с турбинными счетчиками и диафрагмами

с вихревыми счетчиками

1

Гиря КГО-IУ-20, массой 20 кг, пределы допускаемого отклонения: ± 1 г, ГОСТ 7328-82

3

+

-

-

-

-

 

2

Набор гирь КГ-2-5, массой 5 кг, пределы допускаемого отклонения: ± 1 г, ГОСТ 7328-82

1

+

-

-

-

-

 

3

Термометр метеорологический, диапазон измерений (0 - 100) °C, ГОСТ 112-78

1

+

+

+

+

+

 

4

Психрометр аспирационный, ТУ 25.1607.054

1

+

+

+

+

+

 

5

Барометр-анероид типа БАММ-1, ТУ 25-04-1838

1

+

+

+

+

+

 

6

Преобразователь расхода с пределами допускаемой основной погрешности: ± 0,5 % и диапазоном измерений (2 - 16)

м3

1

 

+

-

-

-

В комплекте гидравлического стенда

7

Мерник эталонный 2-го разряда по ГОСТ 8.400-80 вместимостью 1000 дм3 с пределами допускаемой основной погрешности: ± 0,1 %

1

+

+

-

-

-

8

Ареометр типа АМВ-1, ГОСТ 18481-81, пределы допускаемой абсолютной погрешности: ± 1,0 кг/м3

1

-

+

-

-

-

9

Манометр класса точности 1,5, ГОСТ 2405-88

1

-

+

-

-

-

 

10

Термометр жидкостный типа А с диапазоном измерений (0 - 50) °C и ценой деления 0,1 °C, ГОСТ 28498-90

1

-

+

-

-

-

 

11

Колбы 1-го класса, цилиндры, ГОСТ 1770-74

2

+

-

-

-

-

 

12

Генератор сигналов низкочастотный Г3-102 с диапазоном частот (20 - 20000) Гц, ГОСТ 22261-94

1

 

+

+

+

-

 

13

Источник питания постоянного тока Б5-30 с нестабильностью: ± 0,01 %, ТУ 3.233.220

1

-

-

+

+

+

 

14

Магазин сопротивления Р4831 класса точности 0,02, ТУ 25-04.296

4 (1)

-

-

+

+

+

 

15

Вольтметр универсальный В7-16 с диапазоном измерений (0 - 1000) В, ТУ 2.710.002

1

-

-

+

+

+

 

16

Частотомер электронно-счетный 43-33 с диапазоном измеряемых частот от 10 Гц до 10 МГц, Е32.721.092.ТУ

1

-

+

+

+

-

 

17

Эталонная катушка сопротивления Р331 с номинальным сопротивлением 100 Ом класса точности 0,01, ТУ 25-04.3368-78Е

4 (1)

-

-

+

+

+

 

18

Секундомер электронный с пределами допускаемой абсолютной погрешности: ± 1 с

1

-

+

-

-

-

 

4. Условия поверки

4.1. Поверку установки проводят согласно ГОСТ 8.395-80 при следующих условиях:

- температура окружающего воздуха, °C

20 ± 10;

- температура жидкости, °C

20 ± 10;

- давление рабочее на стенде, кг/см2

до 6;

- изменение температуры жидкости в установке за время заполнения измерительной емкости не более, °C

± 1,0;

- изменение расхода жидкости за время заполнения измерительной емкости не более, %

± 1,0;

- относительная влажность воздуха, %

от 30 до 80;

- атмосферное давление, кПа

от 84 до 106;

- частота питания переменного тока, Гц

50 ± 1;

- напряжение питания приборов, В

- отсутствие вибрации, ударов, магнитного поля (кроме земного).

 

5. Подготовка к поверке

5.1. Проверяют наличие действующих свидетельств о поверке средств измерений или оттисков поверительных клейм.

5.2. Для транспортабельного варианта установки проверяют положение установки с помощью отвеса и при необходимости выравнивают с помощью винтовых опор.

5.3. Проверяют наличие равной величины диаметрального зазора между поверхностями опоры и направляющей измерительной емкости и при необходимости проводят ее центровку согласно эксплуатационной документации (далее - ЭД) установки.

5.4. Перед определением погрешности измерений расхода жидкости (при первичной поверке) выполняют следующие операции:

- подсоединяют установку к испытательному стенду (далее - стенд) по схеме поверки согласно рисунку А.1 приложения А;

- проверяют герметичность системы, состоящей из стенда, установки и соединительных трубопроводов. Для этого устанавливают наибольший расход по преобразователю расхода стенда, включают станцию управления «Каскад» (далее - станция управления), входящую в комплект установки, и насос стенда и выполняют с помощью станции управления (в ручном режиме) не менее двух циклов измерений. Не допускается появления капель или утечек жидкости через сальники, фланцевые, резьбовые и сварные соединения при наблюдении в течение 5 минут. Отключают насос стенда и опорожняют с помощью насоса откачки установки измерительную емкость до минимального уровня;

- вводят с помощью программы пульта оператора станции управления (далее - ППО) количество циклов измерений (k = 10);

- для стационарной установки проверяют согласно ее ЭД правильность срабатывания скважинного переключателя.

5.5. Перед определением погрешности измерений расхода попутного газа подсоединяют установку к стенду (при первичной поверке) или к скважине (при периодической поверке), задают количество циклов (k = 10) и в зависимости от того, какие средства измерений применяют в установке для измерений расхода попутного газа, выполняют следующие операции:

5.5.1. Для установки, укомплектованной сужающими устройствами (диафрагмами), отсоединяют при отключенном питании станции управления выходы преобразователей перепада давления, давления и температуры газа и подсоединяют к входам станции комплект средств измерений согласно рисунку А.2 приложения А.

5.5.2. Для установки, укомплектованной турбинными преобразователями расхода (далее - ТПР), отсоединяют при отключенном питании станции управления выходы ТПР, преобразователей давления и температуры и подсоединяют к входам станции комплект средств измерений согласно рисунку А.2.

5.5.3. Для установки, укомплектованной вихревыми счетчиками газа (далее - СВГ), отсоединяют при отключенном питании станции управления выходы датчика расхода газа (далее - ДРГ) и подсоединяют к входам станции управления комплект средств измерений согласно рисунку А.3 приложения А.

5.6. Перед определением погрешности измерений содержания воды подсоединяют установку к стенду (при первичной поверке) или к скважине (при периодической поверке), задают количество циклов (k = 10), отсоединяют при отключенном питании станции управления выходы преобразователя влагомера сырой нефти (далее - ВСН) и подсоединяют к входам станции комплект средств измерений согласно рисунку А.3.

5.7. Подготавливают средства измерений к работе согласно ЭД.

5.8. Включают станцию управления, запускают ППО согласно руководству оператора, входящему в комплект ЭД установки, и подают питание на средства измерений.

5.9. Проверяют правильность ввода в ППО коэффициентов и постоянных согласно руководству оператора.

6. Проведение поверки

6.1. Внешний осмотр

При проведении внешнего осмотра выполняют следующие операции:

- устанавливают соответствие комплектности и маркировки установки технической документации;

- проверяют отсутствие на узлах установки механических повреждений поверхностей, нарушений целостности защитных покрытий и других дефектов.

6.2. Опробование

6.2.1. Проверяют чувствительность весоизмерительной системы установки при массе тары в режиме «Калибровка», заданном с помощью ППО, следующим образом:

6.2.1.1. Помещают на емкость гири массой 3,0 кг и фиксируют среднее значение массы брутто Бг), определяемое ППО;

6.2.1.2. Убирают гирю и фиксируют значение массы тары (MТг);

6.2.1.3. Проверяют выполнение условия:

m = МБг - МТг ³ 1,                                                        (1)

где МБг - масса брутто, когда на емкости есть нагрузка, кг;

МТг - масса тары, когда на емкости нет нагрузки, кг;

m - масса жидкости, имитируемая набором гирь, кг.

6.2.1.4. Повторяют операции по 6.2.1.1 - 6.2.1.3 не менее четырех раз;

6.2.1.5. Если условие (1) не выполняется в двух случаях из пяти, выясняют и устраняют причину отсутствия чувствительности.

6.2.1.6. Помещают на емкость гири массой 60 кг и повторяют операции по 6.2.1.1 - 6.2.1.5.

6.2.2. При опробовании установки перед определением погрешности измерений расхода жидкости на стенде выполняют следующие операции:

- задают расход воды, равный (30 ± 5) % от максимального значения расхода для установки;

- включают установку в режим измерений расхода жидкости;

- выполняют не менее семи циклов измерений для стабилизации температуры воды;

- проверяют правильность индикации расхода жидкости.

6.2.3. При опробовании установки перед определением погрешности измерений объема попутного газа и содержания воды выполняют следующие операции:

- проверяют правильность загрузки ППО;

- подают на входы станции управления сигналы преобразователей перепада давления, давления, температуры газа, ТПР, СВГ и ВСН, имитированные с помощью задатчика тока и генератора, согласно рисункам А.2, А.3 и проверяют прохождение сигналов сравнением значений силы тока и количества импульсов, измеренных станцией управления с заданными значениями.

6.3. Определение погрешности измерений массы жидкости

При определении погрешности измерений массы жидкости определяют относительную погрешность измерений массы жидкости в режиме «Калибровка», заданном с помощью ППО. Установку подключают к гидравлическому стенду (при первичной поверке) или к скважине (при периодической поверке).

Определение погрешности измерений массы жидкости основано на сравнении значений массы, измеренной установкой:

- с известным значением массы эталонных гирь;

- со значением массы налитой в емкость жидкости, определенной косвенным путем с помощью мерника и ареометра.

Для определения погрешности измерений массы жидкости выполняют следующие операции, указанные в таблице 3.

Таблица 3

При первичной поверке

При периодической поверке

6.3.1. Опорожняют с помощью насоса откачки измерительную емкость.

6.3.2. Устанавливают или подвешивают на емкости гири массой 60 кг.

6.3.3. Фиксируют среднее значение массы брутто (МБ) из протокола ППО.

6.3.4. Снимают гири с емкости и фиксируют среднее значение массы тары (МТ).

6.3.5. Повторяют операции по 6.3.2 - 6.3.4 не менее четырех раз.

6.3.6. Включают насос стенда и заполняют емкость водой до уставки по максимальной массе, введенной с помощью ППО: (Мmax = МТ + 300) кг.

6.3.6. Заполняют измерительную емкость нефтью массой не менее 200 кг.

6.3.7. Фиксируют с помощью ППО в режиме «Калибровка» массу тары.

6.3.7. выполняют операции по 6.3.2 - 6.3.4.

6.3.8. Сливают в мерник из емкости порцию воды объемом 100 дм3, фиксируют с помощью ППО массу брутто и определяют ареометром плотность воды (ρв).

6.3.8. Сливают с помощью насоса откачки из емкости 100 кг нефти.

6.3.9. Фиксируют средние значения массы брутто и массы тары1Б и MТ).

6.3.9. Выполняют операции по 6.3.2 - 6.3.4.

6.3.10. Сливают последовательно еще две порции воды по 100 дм3 в мерник, фиксируя для каждой порции средние значения массы тары, массы брутто и плотности воды.

6.3.10. Опорожняют с помощью насоса откачки измерительную емкость.

6.3.11. Повторяют операции по 6.3.6 - 6.3.10 не менее четырех раз.

_____________

1 При сливе воды из емкости на мониторе ППО в режиме «Калибровка» появляется протокол по массе брутто и массе тары, но в левой колонке (масса тары) отмечается первоначальное значение массы, а в правой колонке (масса брутто) - полученное после слива значение массы. Поэтому в протокол поверки записывают меньшее значение (полученное после слива) в колонку, где масса тары, а большее значение (до слива) в мерник записывают в колонку массы брутто.

6.4. Определение погрешности измерений расхода жидкости

Определение погрешности измерений расхода жидкости установкой проводят на гидравлическом стенде методом сравнения результатов измерений расхода жидкости установкой и преобразователем расхода (далее - ПР).

Расход воды устанавливают регулятором расхода или регулирующей задвижкой. При этом значения расхода, м3/ч, определяют косвенным путем по показаниям частотомера или счетчика импульсов и электронного секундомера косвенным путем по формуле

                                            (2)

где KПР - импульс-фактор ПР, взятый из его свидетельства, имп/м3;

N - число импульсов по счетчику импульсов за время налива, имп.

fПР - частота выходного сигнала ПР, Гц

Тнал - время налива по электронному секундомеру, мин

Сигналом запуска счетчика импульсов и электронного секундомера является сформированный станцией управления сигнал фиксации массы тары (срабатывание уставки «минимальная масса») и начала отсчета времени налива.

Остановка отсчета импульсов и электронного секундомера проводится сигналом фиксации массы брутто (срабатывание уставки «максимальная масса»), по которому также формируется сигнал остановки времени отсчета времени налива.

Для определения погрешности измерений расхода жидкости выполняют следующие операции:

6.4.1. Вводят с помощью ППО значение фиксируемой массы жидкости согласно первой строке таблицы 4 (для соответствующего диапазона измерений расхода жидкости установкой).

6.4.2. Запускают установку в режиме измерений расхода жидкости при первом значении расхода из таблицы 4.

Таблица 4


п/п

Диапазон измерений расхода жидкости, т/сут

Заданный расход жидкости

Заданная масса жидкости, кг

Время налива емкости от мин. до макс. уставки по массе

%

м3

т/сут

1

до 180

30

2,25

54

50

1 мин 20 с

2

60

4,5

108

100

1 мин 20 с

3

90

6,75

162

200

1 мин 47 с

1

до 400

30

5

120

100

1 мин 12 с

2

60

10

240

200

1 мин 12 с

3

90

15

360

300

1 мин 12 с

6.4.3. Во время наполнения емкости фиксируют не менее трех значений частоты с ПР, а после заполнения емкости записывают количество импульсов и время налива.

6.4.4. Цикл измерений повторяется автоматически, и после каждого налива выполняют операции по 6.4.3.

6.4.5. По окончании заданного количества циклов измерений фиксируют значения массовых расходов, измеренных установкой по всем циклам, из протокола ППО.

6.4.6. Выполняют операции по 6.4.1 - 6.4.5 со значениями массы и расхода жидкости согласно второй и третьей строке таблицы 4 (для соответствующего диапазона измерений расхода жидкости установкой).

6.5. Определение погрешности измерений расхода попутного газа и содержания воды

Определение погрешности измерений расхода попутного газа и (или) содержания воды проводят путем имитации сигналов преобразователей расхода, давления, температуры газа, содержания воды и сравнения вычисленных станцией управления значений расхода газа, приведенного к нормальным условиям, и содержания воды с расчетными значениями. Для организации циклов измерений установку подключают к стенду (при первичной поверке) или к нефтяной скважине (при периодической поверке). При первичной поверке можно совмещать определение погрешности измерений расхода попутного газа и (или) содержания воды с определением погрешности измерений расхода жидкости по 6.4.

Значения частот и токовых сигналов, задаваемых при определении погрешности измерений расхода попутного газа и содержания воды, приведены в таблице 5.

Таблица 5

Номер строки i

Имитируемые вели чины

Содержание воды

Температура

Давление

Перепад давлений по диафрагме

Расход газа по ТПР

Расход газа по ДРГ

IW, мА

It, мА

Ip, мА

IDP, мА

fТПР, Гц

fДРГ, Гц

1

4

4

20

20

1000

50

2

20

4

20

4

5000

200

3

4

20

4

4

500

400

Для определения погрешности измерений расхода попутного газа и/или содержания воды выполняют операции, указанные в таблице 6.

Таблица 6

При первичной поверке

При периодической поверке

6.5.1. Устанавливают при отключенной станции на генераторе и задатчиках тока значения частоты и силы тока из первой строки таблицы 5:

- для установки с диафрагмой - Iw, IDP, IP, It;

- для установки с ТПР или с СВГ - Iw, IP, It; fТПР или fДРГ

6.5.2. Запускают установку в режиме измерений расхода жидкости при первом значении расхода из таблицы 5.

6.5.2. Запускают установку, подключенную к нефтяной скважине в режиме измерений расхода нефти.

6.5.3. Замыкают переключатели в соответствии с рисунками А.2 или А.3 и переходят с помощью ППО в режим измерений входных величин и параметров потока.

6.5.4. По окончании цикла измерений фиксируют измеренные станцией управления значения частоты и силы тока.

6.5.5. Цикл измерений повторяется автоматически и после каждого цикла измерений выполняют операции по 6.5.4.

6.5.6. По окончании заданного количества циклов измерений фиксируют по протоколам ППО значения расхода газа (V) т/сут, приведенного к нормальным условиям, и содержания воды (W) % объемных.

6.5.7. Выполняют операции по 6.5.1 - 6.5.6, соответственно для определения погрешности измерений расхода газа и/или содержания воды последовательно при втором и третьем значениях расхода газа и/или содержания воды из таблицы 5.

7. Обработка результатов измерений

7.1. Вычисление погрешности измерений массы жидкости

7.1.1. Вычисляют массу жидкости в j-м измерении при i-м нагружении емкости1 по формуле

                                                    (3)

где  - значение массы брутто, кг;

 - значение массы тары, кг.

____________

1 За i-e нагружение емкости принята серия повторяющихся j-x измерений, когда емкость находится под одной и той же нагрузкой.

7.1.2. Вычисляют относительную погрешность измерений массы жидкости, % в j-м измерении при i-м нагружении емкости по формуле

                                                  (4)

где  - значение массы гирь, взятое из свидетельства о поверке гирь, или массы воды, определенное косвенным путем с помощью мерника и ареометра, кг.

7.1.3. Анализируют результаты вычисления относительных погрешностей при каждом нагружении емкости согласно приложению Г.

7.1.4. Вычисляют по формуле (Г.1) приложения Г систематическую погрешность измерений массы жидкости при каждом нагружении.

7.1.5. Вычисляют оценку СКО результата измерений при каждом нагружении по формуле

                                            (5)

где k - число измерений при каждом нагружении емкости.

7.1.6. Проверяют соблюдение условия при каждом нагружении емкости по формуле

siм £ 0,25,                                                          (6)

7.1.7. Определяют относительную погрешность измерений массы жидкости при каждом нагружении по формуле

                                                 (7)

где t0,95 - коэффициент Стьюдента при доверительной вероятности Р = 0,95, определяемый по таблице Г.2 приложения Г в зависимости от числа измерений при каждом нагружении емкости;

 - систематическая погрешность измерений массы жидкости при i-м нагружении емкости, вычисленная по 7.1.4, %.

7.1.8. Относительная погрешность измерений массы жидкости, вычисленная по формуле (7), должна быть в пределах допускаемой относительной погрешности измерений массы жидкости, указанной в ЭД установки.

7.1.9. Если условие 7.1.8 не соблюдается, то вводят поправку путем коррекции коэффициента преобразования массы согласно приложению В.

7.1.10. После ввода нового коэффициента преобразования массы пересчитывают средние значения массы жидкости при каждом измерении по формуле

                                                    (8)

где  - скорректированное значение коэффициента преобразования массы.

7.1.11. Выполняют вычисления по формулам (3), (4), подставляя вычисленные по формуле (8) значения массы нетто, и записывают эти значения в таблицу Б.1 приложения Б.

7.1.12. Проверяют выполнение условия 7.1.8.

7.1.13. Положительными результатами поверки по определению погрешности измерений массы жидкости установкой считают выполнение условий 7.1.6, 7.1.8.

7.2. Вычисление погрешности измерений расхода жидкости

7.2.1. Определяют массовый расход, измеренный ПР в j-м цикле измерений при i-м значении расхода жидкости по таблице 4, по формуле

                                                  (9)

где  - среднее значение объемного расхода воды, вычисленное по формуле (2), м3/ч;

 - плотность воды, измеренная ареометром, кг/м3.

7.2.2. Вычисляют относительную погрешность (%) в j-м цикле измерений при i-м значении расхода жидкости по формуле

                                                (10)

где  - массовый расход воды, измеренный установкой, т/сут.

7.2.3. Анализируют результаты вычисления относительных погрешностей при каждом заданном значении расхода жидкости согласно приложению Г.

7.2.4. Вычисляют по формуле (Г.1) приложения Г систематическую погрешность измерений расхода жидкости при каждом значении расхода.

7.2.5. Вычисляют оценку СКО результата измерений при каждом значении расхода по формуле (5), подставляя вычисленные по формулам (10) и (Г.1) значения относительных погрешностей по расходу жидкости.

7.2.6. Проверяют соблюдение условия при каждом значении расхода жидкости по формуле

siQ £ 0,4,                                                            (11)

где siQ - оценка СКО результата измерений при i-м значении расхода жидкости, %.

7.2.7. Определяют относительную погрешность измерений массы жидкости при каждом нагружении емкости по формуле (7), подставляя вычисленные по 7.2.4 и 7.2.5 значения относительной погрешности измерений расхода жидкости и оценки СКО.

7.2.8. Относительная погрешность измерений расхода жидкости установкой при каждом значении расхода жидкости должна быть в пределах допускаемой относительной погрешности измерений расхода жидкости, указанной в ЭД установки.

7.2.9. Положительными результатами поверки по определению погрешности измерений расхода жидкости установкой считают выполнение условий 7.2.6, 7.2.8.

7.3. Вычисление погрешности измерений расхода попутного газа

7.3.1. Определяют расчетные значения расхода газа по формулам приложения Д.

7.3.2. Вычисляют относительную погрешность определения расхода попутного газа станцией управления при имитации выходных сигналов датчиков расхода газа в j-м цикле измерений для i-й строки таблицы 5 по формуле

                                                 (12)

где  - значение расхода газа, приведенного к нормальным условиям, определенное станцией управления при имитации выходных сигналов датчиков расхода газа, м3/сут;

 - значение расхода газа, вычисленное по формулам приложения Д, м3/сут.

7.3.3. Анализируют результаты вычисления относительных погрешностей для каждой строки таблицы 5 согласно приложению Г.

7.3.4. Вычисляют по формуле (Г.1) приложения Г систематическую погрешность определения расхода попутного газа станцией управления при каждом значении расхода попутного газа.

7.3.5. Вычисляют относительную погрешность измерений расхода попутного газа установкой по формуле

                                 (13)

где  - максимальное значение систематической погрешности определения расхода попутного газа станцией управления, выбранное из значений, вычисленных по 7.3.4, %;

 - предел допускаемой относительной погрешности преобразователя расхода газа, применяемого в установке, взятый из свидетельства о его поверке, %;

,  - пределы допускаемых относительных погрешностей преобразователей давления и температуры, взятые из свидетельств их поверки, %.

7.3.6. Относительная погрешность измерений расхода попутного газа установкой, вычисленная по формуле (13), должна быть в пределах допускаемой относительной погрешности измерений расхода попутного газа, указанного в ЭД установки.

7.3.7. Положительными результатами поверки по определению погрешности измерений расхода попутного газа установкой считают выполнение условия 7.3.6.

7.4. Вычисление погрешности измерений содержания воды

7.4.1. Определяют расчетные значения содержания воды (объемные доли, %) в j-м цикле измерений для i-й строки таблицы 5 по формуле

                                                  (14)

где Kw - коэффициент преобразования по содержания воды;

 - подаваемые на вход станции управления значения силы тока, мА.

7.4.2. Вычисляют относительную погрешность определения содержания воды станцией управления при имитации выходных сигналов влагомера в j-м цикле измерений для i-й строки таблицы 5 по формуле

                                                (15)

где  - значение объемной доли воды, определенное станцией управления, % объемных.

7.4.3. Анализируют результаты вычисления относительных погрешностей для каждой строки таблицы 5 согласно приложению Г.

7.4.4. Вычисляют по формуле (Г.1) приложения Г систематическую погрешность определения содержания воды станцией управления при каждом значении содержания воды.

7.4.5. Вычисляют относительную погрешность измерений содержания воды установкой по формуле

                                              (16)

где  - максимальное значение систематической погрешности определения содержания воды станцией управления, выбранное из значений, вычисленных по 7.4.4, %;

δВСН - предел допускаемой относительной погрешности измерений содержания воды влагомером, взятый из свидетельства о его поверке, %.

7.4.6. Относительная погрешность измерений содержания воды установкой должна быть в пределах допускаемой относительной погрешности измерений содержания воды, указанных в ЭД установки.

7.4.7. Положительными результатами поверки по определению погрешности измерений содержания воды установкой считают выполнение условия 7.4.6.

8. Оформление результатов поверки

8.1. Результаты определения погрешностей измерений оформляют протоколами по формам, приведенным в приложении Б, которые являются неотъемлемой частью свидетельства о поверке установки. По одному экземпляру протоколов определения погрешности измеряемых установкой величин, закрепленных личной подписью и оттиском личного клейма поверителя, прилагают к свидетельству о поверке в качестве обязательных приложений к нему.

8.2. При положительных результатах поверки по определению погрешностей измерений массы жидкости, расхода жидкости, расхода попутного газа и содержания воды оформляют свидетельство о поверке установки по форме, приведенной в ПР 50.2.006. При этом на лицевой стороне свидетельства записывают, что установка АСМА на основании результатов поверки признана годной и допущена к применению для измерений массы жидкости, расхода жидкости, расхода попутного газа и содержания воды, а на обратной стороне свидетельства записывают значения коэффициента преобразования массы.

8.3. При положительных результатах поверки по определению погрешностей измерений массы жидкости, расхода жидкости и отрицательных результатах поверки по определению погрешностей измерений расхода попутного газа и содержания воды оформляют свидетельство о поверке установки по форме, приведенной в ПР 50.2.006. При этом на лицевой стороне свидетельства записывают, что установка АСМА на основании результатов поверки признана годной и допущена к применению для измерений массы жидкости, расхода жидкости, а на обратной стороне свидетельства записывают значения коэффициента преобразования массы.

8.4. При отрицательных результатах поверки по определению погрешности измерений массы или расхода жидкости свидетельство о поверке не оформляют, а установку признают непригодной к применению. При этом гасят клейма и выдают извещение о непригодности с указанием основных причин по форме, приведенной в ПР 50.2.006.

Приложение А

Схемы поверки установки АСМА

Схема поверки по определению погрешности измерений расхода жидкости установкой АСМА

1 - емкость-хранилище; 2 - насос; 3 - преобразователь расхода; 4 - фильтр; 5 - струевыпрямитель; 6 - 9 - вентили;
10 - обратный клапан; 11, 12 - манометры; 13 - термометр; 14 - магнитно-индукционный датчик; 15 - счетчик импульсов;
16 - вторичный прибор эталонного преобразователя расхода; 17 - электронный секундомер* или счетчик импульсов;
18 - частотомер; 19 - генератор; 20 - мерник; S1 - переключатель*

Рисунок А.1

___________

* Если в схеме поверки применяют электронный секундомер, то генератор 19 и переключатель S1 не используют.

Схема поверки по определению погрешностей измерений расхода попутного газа и
содержания воды установкой АСМА, газовые линии которой оборудованы
сужающими устройствами и турбинными преобразователями расхода

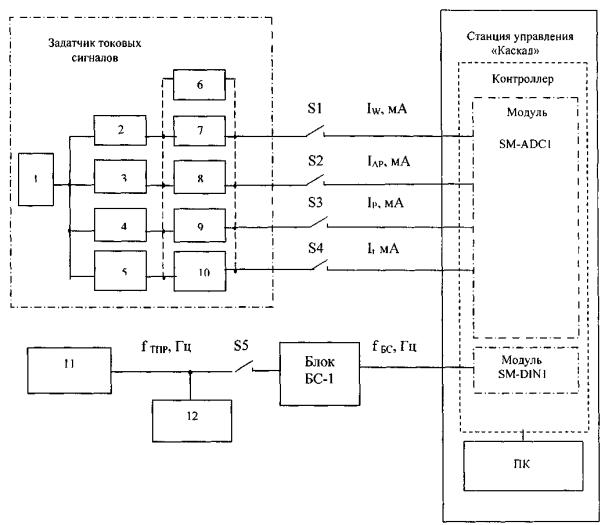
1 - источник питания; 2 - 5 - магазины сопротивлений; 6 - вольтметр; 7 - 10 - эталонные катушки сопротивлений;
11 - генератор; 12 - частотомер; S1 - S5 - переключатели

Рисунок А.2

Схема поверки по определению погрешностей измерений расхода попутного газа и
содержания воды установкой АСМА, газовые линии которой оборудованы
вихревыми счетчиками газа СВГ

1 - источник питания; 2 - 4 магазины сопротивлений; 5 - вольтметр; 6 - 8 - эталонные катушки сопротивлений;
9 - генератор; 10 - частотомер; S1 - S4 - переключатели

Рисунок А.3

 

Приложение Б

Протоколы определения погрешностей измерений установкой АСМА

ПРОТОКОЛ №
определения погрешности измерений массы жидкости установкой АСМА

Тип установки ___________________________ Зав. номер _______________________

Владелец ________________________________________________________________

Место поверки ___________________________________________________________

Пределы допускаемой погрешности измерений массы жидкости, %: ______________

Таблица Б.1 - Результаты определения погрешности измерений массы жидкости

Коэффициент преобразования массы Kм

Номер нагружения i

Номер измерения j

Macса, кг

Погрешности, %

1*

2

3

4

5

6

7**

8

9

10

11

Заключение _____________________________________________________________

Должности, подписи, и. о. фамилии лиц, ____________________________________

проводивших поверку ____________________________________________________

Дата проведения поверки «_____» _____________________

____________

* В графе 1 записывают коэффициент преобразования массы прежний до поверки и новый скорректированный.

** В графе 7 записывают массу эталонных гирь, установленных непосредственно на емкости, или массу воды, измеренную с помощью мерника.

 

ПРОТОКОЛ №
определения погрешности измерений расхода жидкости установкой АСМА

Тип установки ___________________________ Зав. номер _____________________

Владелец _______________________________________________________________

Место поверки __________________________________________________________

Пределы допускаемой погрешности измерений расхода жидкости установкой, % __

Пределы допускаемой погрешности преобразователя расхода, %____________

Таблица Б.2 - Результаты определения погрешности измерений расхода жидкости

Номер i

Номер измерений j

Плотность воды ρв кг/м3

Расход воды

Погрешности, %

 

заданный

δQ

% (м3/ч)

м3

т/сут

т/сут

 

1

 

2

3

4

5

6

7

8

9

11

 

Заключение _____________________________________________________________

Должности, подписи, и. о. фамилии лиц, _____________________________________

проводивших поверку _____________________________________________________

Дата проведения поверки «_____» _____________________

 

ПРОТОКОЛ №
определения погрешности измерений расхода попутного газа установкой АСМА

Тип установки ____________________________ Зав. номер _____________________

Владелец ________________________________________________________________

Место поверки ___________________________________________________________

Пределы допускаемых относительных погрешностей преобразователей:

давления, % __________, температуры, % __________, расхода газа, % ___________

Таблица Б.3 - Результаты определения погрешности измерений расхода газа

Номер нагружения i

Номер цикла измерений j

Значения электрических сигналов

Расход газа, т/сут

Погрешность, %

δV

мА

мА

мА

Гц

Гц

1

2

3

4

5*

6

7

8

9

10

11

12

Заключение ____________________________________________________________

Должности, подписи, и. о. фамилии лиц, ____________________________________

проводивших поверку ____________________________________________________

Дата проведения поверки «_____» _______________________

___________

* Графы 5, 6, 7 заполняют при имитации преобразователя расхода газа с сужающим устройством, ТПР и СВГ, соответственно.

 

ПРОТОКОЛ №
определения погрешности измерений содержания воды установкой АСМА

Тип установки ___________________________ Зав. номер ____________________

Владелец _____________________________________________________________

Место поверки _________________________________________________________

Пределы допускаемой относительной погрешности влагомера, % ______________

Таблица Б.4 - Результаты определения погрешности измерений содержания воды

Номер нагружения i

Номер цикла измерений j

Значения силы тока, мА

Содержание воды, % объемных

Погрешность, %

δW

1

2

3

4

5

6

7

8

Заключение ____________________________________________________________

Должности, подписи, и. о. фамилии лиц, ___________________________________

проводивших поверку ___________________________________________________

Дата проведения поверки «_____» _____________________

 

Приложение В

Определение коэффициента преобразования массы

Определяют новый коэффициент преобразования массы по формуле

                                                   (В.1)

где KМ - прежний коэффициент преобразования, введенный в ППО;

 - значение систематической погрешности, симметричное относительно минимального и максимального значений при всех нагружениях измерительной емкости, определяемое по формуле

                                                                    (В.2)

где ,  - минимальное и максимальное значения систематических погрешностей, определенных по 7.1.4, %.

 

Приложение Г

Методика анализа результатов измерений и вычислений

Пусть получена выборка из «k» значений какой-либо характеристики, например, k значений относительной погрешности измерений установкой расхода жидкости за k циклов измерений при i-м значении заданного расхода. При этом значения относительной погрешности подсчитаны по формуле (10).

Г.1. Выделяют значения, резко отличающиеся от остальных, и выясняют причину их появления (ошибки, допущенные при измерениях, неисправность используемых средств измерений, несоблюдение условий поверки, какие-то неучтенные факторы, которые повлияли на результаты измерений, и т.д.). Если причина установлена, то результаты измерений аннулируют и измерений проводят вновь после устранения причин. Если причину выявить не удается, то проверяют анормальность указанных значений следующим образом.

Г.2. Определяют выборочное среднее при i-м нагружении по формуле

                                                          (Г.1)

где θij - значение относительной погрешности измерений расхода жидкости установкой в j-м цикле измерений при i-м нагружении, %;

k - число циклов измерений.

Г.3. Вычисляют оценку СКО погрешности измерений при i-м нагружении по формуле

                                            (Г.2)

Г.4. Определяют для наиболее выделяющихся значений (θнаиб или θнаим) соотношения

 или .                                     (Г.3)

Г.5. Сравнивают полученные значения «U» с величиной «h», взятой из таблицы для объема выборки «k».

Таблица Г.1

k

3

4

5

6

7

8

9

10

11

h

1,15

1,46

1,67

1,82

1,94

2,03

2,11

2,18

2,23

Если U ³ h, то подозреваемый результат исключают из выборки как анормальный. Допускают не более одного анормального результата из пяти - шести измерений и не более двух из одиннадцати. В противном случае поверку прекращают.

Коэффициенты Стьюдента для доверительной вероятности Р = 0,95

Таблица Г.2

nj - 1

3

4

5

6

7

8

9

10

12

t0,95

3,182

2,776

2,571

2,447

2,365

2,306

2,262

2,228

2,179

Приложение Д

Определение имитируемых значений расхода попутного газа

Расход газа (м3/сут), приведенный к нормальным условиям, в зависимости от того какие средства измерений используют в установке, определяют по следующим формулам:

- для установки с измерениями расхода газа с помощью диафрагмы

                     (Д.1)

DРij = KDP · (IijDP - 4), Рij = KP · (IijP - 4), tij = Kt · (Iijt - 4),

где DPij, Pij, tij - имитируемые значения, соответственно, перепада давления (кгс/м2), давления (кгс/см2) и температуры (°C) на диафрагме в i-й точке диапазона измерений расхода газа при j-м цикле;

IijDP, IijP, Iijt - измеренные значения силы тока, соответственно, для перепада давления, давления и температуры в i-й точке диапазона измерений расхода газа при j-м цикле измерений, мА;

KDP, KP, Kt - коэффициенты преобразования перепада давления, давления и температуры;

a, e, kt, d20 - константы диафрагмы (коэффициент расхода, коэффициент расширения, поправочный множитель на тепловое расширение, диаметр отверстия);

g, РВПmax, ρвг - постоянные для газа (относительная влажность газа, наибольшее возможное давление водяного пара во влажном газе, плотность влажного газа);

PБ - барометрическое давление, кг/см2;

K - коэффициент сжимаемости газа,

- для установки с измерениями расхода попутного газа с помощью ТПР

                                     (Д.2)

где  - частота подаваемых импульсов от генератора (Гц) при имитации импульсного сигнала ТПР при j-м цикле измерений в i-й точке диапазона измерений расхода газа;

KТПР - коэффициент преобразования ТПР;

KP, Kt - коэффициенты преобразования давления и температуры газа;

- для установки с измерениями расхода газа с помощью вихревых счетчиков (СВГ)

                                                    (Д.3)

где  - частота подаваемых импульсов от генератора (Гц) при имитации импульсного сигнала ДРГ при j-м цикле измерений в i-й точке диапазона измерений расхода газа;

KДРГ - цена единицы младшего разряда интегратора БВР при работе в комплекте с ДРГ.

 



© 2013 Ёшкин Кот :-)