Информационная система
«Ёшкин Кот»

XXXecatmenu

Система нормативных документов в строительстве

СВОД ПРАВИЛ
ПО ПРОЕКТИРОВАНИЮ И СТРОИТЕЛЬСТВУ

ЖЕЛЕЗОБЕТОННЫЕ ПРОСТРАНСТВЕННЫЕ
КОНСТРУКЦИИ ПОКРЫТИЙ И ПЕРЕКРЫТИЙ

Методы расчета и конструирование

СП 52-117-2008*

Москва
2010

Предисловие

1 РАЗРАБОТАН Научно-исследовательским, проектно-конструкторским и технологическим институтом бетона и железобетона им. А.А. Гвоздева (НИИЖБ им. А.А. Гвоздева) - филиалом ФГУП «НИЦ «Строительство»

2 РЕКОМЕНДОВАН к утверждению и применению конструкторской секцией НТС НИИЖБ им. А.А. Гвоздева 15 мая 2008 г.

3 УТВЕРЖДЕН И ВВЕДЕН В ДЕЙСТВИЕ приказом и.о. генерального директора ФГУП «НИЦ «Строительство» от 1 августа 2008 г. № 189

4 ВВЕДЕН ВПЕРВЫЕ

В СП 52-117-2008* внесены изменения и дополнения.

Пункты, таблицы, формулы и рисунки, в которые внесены изменения, отмечены звездочкой.

СОДЕРЖАНИЕ

1 Область применения. 4

2 Нормативные ссылки. 4

3 Термины и определения. 3

4 Общие указания. 3

4.1 Основные положения. 3

4.2 Основные расчетные требования. 8

5 Особенности применения материалов и изделий. 16

6 Основные требования к конструированию.. 18

6.1 Монолитные конструкции. 18

6.2 Сборно-монолитные конструкции. 20

6.3 Сборные конструкции. 21

6.4 Стыки сборных конструкций. 24

6.5 Отверстия и проемы.. 28

6.6 Деформационные швы.. 28

7 Своды.. 29

Основные положения. 29

Рекомендации по расчету сводов. 32

Конструирование сборных сводов. 37

Конструирование складчатых сводов. 38

Конструирование волнистых сводов. 41

8 Треугольные и трапециевидные складки. 43

Общие положения. 43

Рекомендации по расчету. 45

Конструирование складки. 47

9 Цилиндрические и складчатые оболочки. 51

9.1 Основные положения. 51

9.2 Рекомендации по расчету длинных цилиндрических и складчатых оболочек. 52

Конструирование длинных цилиндрических и складчатых оболочек. 57

9.3 Рекомендации по расчету коротких монолитных оболочек. 63

Конструирование коротких монолитных оболочек. 65

9.4 Рекомендации по расчету коротких призматических складок. 66

Расчет полки и поперечных ребер плиты.. 68

Расчет продольных ребер на кручение. 70

Схемы разрушения складок. 71

Расчет на сдвигающие усилия. 73

Расчет диафрагм.. 73

Конструирование коротких призматических складок. 74

Конструирование элементов складки. 75

Конструирование узлов складчатых покрытий. 76

10 Купола. 77

Основные положения. 77

Рекомендации по расчету. 78

Определение усилий по безмоментной теории. 78

Определение краевого эффекта по приближенной моментной теории. 80

Расчет несущей способности куполов по методу предельного равновесия. 83

Приближенный расчет несущей способности купола по «балочной» схеме. 83

Расчет несущей способности купола с учетом деформированного состояния. 85

Конструирование. 86

11 Пологие оболочки положительной гауссовой кривизны на прямоугольном плане. 89

Основные положения. 89

Рекомендации по расчету. 91

Учет действительной жесткости контурных диафрагм и их влияние на напряженно-деформированное состояние оболочек. 99

Расчет несущей способности оболочек. 102

Конструирование. 119

12 Оболочки отрицательной гауссовой кривизны на прямоугольном плане. 123

Общие положения. 123

Рекомендации по расчету. 125

Конструирование. 129

13 Висячие оболочки. 130

Общие положения. 130

Рекомендации по расчету. 137

Расчет оболочек с радиальной и перекрестной системами вант. 137

Расчет оболочек с полигональной системой вант. 142

Расчет полигонально-вантовой сети. 142

Расчет жесткости и трещиностойкости оболочки. 145

Расчет оболочки по несущей способности. 146

Расчет опорного контура. 147

Конструирование. 147

Конструирование оболочек с радиальной и перекрестной системами вант. 147

Конструирование оболочек с полигональной системой вант. 149

14 Панели-оболочки «на пролет здания» и сводчатые конструкции из них. 152

14.1 Панели-оболочки КЖС.. 152

Основные положения. 152

Рекомендации по расчету. 153

Расчет панели-оболочки КЖС по несущей способности и устойчивости. 154

Расчет диафрагм на поперечную силу. 155

Расчет анкеров. 157

Расчет панели-оболочки КЖС по деформациям.. 157

Расчет панели-оболочки КЖС по образованию трещин. 158

Расчет поля оболочки на изгиб вдоль образующей. 158

Проверка прочности сопряжения оболочки с диафрагмой. 162

Расчет покрытий на нагрузки от подвесных кранов. 162

Конструирование панелей-оболочек КЖС и покрытий с их применением.. 163

14.2 Сегментные своды из панелей-оболочек КЖС.. 165

Общие положения. 165

Рекомендации по расчету сегментных сводов. 167

Конструирование сегментных сводов. 168

14.3 Гиперболические панели-оболочки. 169

Общие положения. 169

Рекомендации по расчету гиперболических панелей-оболочек. 172

Конструирование гиперболических панелей-оболочек и покрытий из них. 175

15 Вспарушенные панели с плоской верхней поверхностью.. 177

Основные положения. 177

Рекомендации по расчету. 179

Конструирование. 180

16 Шатровые конструкции. 183

Основные положения. 183

Рекомендации по расчету. 187

Конструирование. 191

Приложение а*. Основные буквенные обозначения. 194

Приложение б. Перечень нормативной и технической документации. 196

Приложение в. Термины и определения. 197

Введение

Настоящий Свод правил разработан в развитие СНиП 52-01-2003 «Бетонные и железобетонные конструкции. Основные положения».

Свод правил содержит рекомендации по проектированию железобетонных оболочек, складок и других тонкостенных пространственных конструкций покрытий и перекрытий зданий и сооружений промышленного, гражданского и сельскохозяйственного строительства. Пространственные конструкции выполняются из тяжелого и легкого бетонов без предварительного напряжения арматуры и с преднапряжением, которые обеспечивают выполнение положений СНиП 52-01-2003.

Решение о применении Свода правил при проектировании пространственных конструкций покрытий и перекрытий конкретных зданий и сооружений относится к компетенции заказчика объекта или проектной организации. В случае применения Свода правил должны быть учтены все установленные в нем требования.

Настоящий Свод правил следует применять совместно с СП 52-101-2003 «Бетонные и железобетонные конструкции без предварительного напряжения арматуры» и СП 52-102-2004 «Предварительно напряженные железобетонные конструкции».

Единицы физических величин, приведенные в Своде правил, выражены в системе СИ: сила - в ньютонах (Н) или в килоньютонах (кН); линейные размеры в мм (для сечений) или в м (для элементов или их участков); напряжения, сопротивления, модули упругости - в мегапаскалях (МПа); распределенные нагрузки и усилия - в кН/м или Н/мм.

Свод правил разработали: д-р техн. наук, проф. В.В. Шугаев, канд. техн. наук, ст. науч. сотр. Б.С. Соколов, вед. инж. Т.В. Щербина, инж. А.С. Кочеткова.

При разработке Свода правил использованы материалы печатных работ Н.В. Ахвледиани, Б.Н. Бастатского, В.З. Власова, А.А. Гвоздева, В.В. Дикович, A.M. Дубинского, П.Г. Еремеева, Э.З. Жуковского, Е.К. Качаневского, В.И. Колчунова, М.Б. Краковского, Т.А. Кузьмич, П.А. Лукаша, И.Г. Людковского, Р.Н. Мацелинского, A.M. Овечкина, К.П. Пяшикрестовского, А.И. Рабиновича, А.Р. Ржаницына, Е.И. Стаковиченко, С.А. Тимашева, Г.К. Хайдукова, Я.Ф. Хлебного, Ю.В. Чиненкова, А.В. Шапиро и др.

СП 52-117-2008*

СВОД ПРАВИЛ ПО ПРОЕКТИРОВАНИЮ И СТРОИТЕЛЬСТВУ

ЖЕЛЕЗОБЕТОННЫЕ ПРОСТРАНСТВЕННЫЕ КОНСТРУКЦИИ
ПОКРЫТИЙ И ПЕРЕКРЫТИЙ

Spatial reinforced concrete structures of roofs and floors

Введен с 15 августа 2008 г.

1 Область применения

Настоящий Свод правил (СП) распространяется на проектирование железобетонных оболочек, складок и других тонкостенных пространственных конструкций покрытий и перекрытий зданий и сооружений промышленного, гражданского и сельскохозяйственного строительства. Пространственные конструкции выполняются из тяжелого бетона классов по прочности на сжатие от В15 до В60 без предварительного напряжения арматуры и с преднапряжением, для эксплуатации в климатических условиях России, в среде с неагрессивной степенью воздействия, при статическом действии нагрузки.

2 Нормативные ссылки

В настоящем Своде правил использованы ссылки на следующие основные нормативные документы:

СНиП 2.01.07-85* Нагрузки и воздействия

СНиП 2.03.03-85 Армоцементные конструкции

СНиП 2.03.11-85 Защита строительных конструкций от коррозии

СНиП 23-01-99* Строительная климатология

СНиП 52-01-2003 Бетонные и железобетонные конструкции. Основные положения

СП 52-101-2003 Бетонные и железобетонные конструкции без предварительного напряжения арматуры

СП 52-102-2004 Предварительно напряженные железобетонные конструкции

СП 52-104-2006 Сталефибробетонные конструкции

СП 53-102-2004 Общие правила проектирования стальных конструкций

ГОСТ 13015-2003 Изделия железобетонные и бетонные для строительства. Общие технические требования. Правила приемки, маркировки, транспортирования и хранения

ГОСТ 14098-91 Соединения сварные арматуры и закладных изделий железобетонных конструкций. Типы, конструкции и размеры

ГОСТ 27751-88 Надежность строительных конструкций и оснований. Основные положения по расчету

Другие нормативные и рекомендательные документы, ссылки на которые использованы в настоящем СП, приведены в приложении Б.

3 Термины и определения

В настоящем Своде правил использованы основные термины и определения по СНиП 52-01, СП 52-101, СП 52-102 и другим нормативным документам. Используемые термины и их определения в соответствии с документами, на которые имеются ссылки в тексте, приведены в приложении В.

4 Общие указания

4.1 Основные положения

4.1.1 Железобетонные тонкостенные пространственные конструкции покрытий и перекрытий (рис. 4.1) различаются:

по очертанию срединной поверхности

а) складки с различной формой поперечного сечения, в том числе складчатые своды и оболочки (рис. 4.1, а);

б) оболочки и своды нулевой гауссовой кривизны - цилиндрические и конические оболочки и цилиндрические своды (рис. 4.1, б);

в) оболочки и волнистые своды положительной гауссовой кривизны - сферические оболочки и купола, очерченные по поверхностям вращения с вертикальной осью (рис. 4.1, д); оболочки, очерченные по поверхности переноса в виде эллиптического параболоида, круговой поверхности (рис. 4.1, в) и бочарные своды (рис. 4.1, е, 10);

г) оболочки и волнистые своды отрицательной гауссовой кривизны - оболочки, очерченные по линейчатым поверхностям гиперболического параболоида (гипары) (рис. 4.1, г); и по поверхностям вращения с горизонтальной осью (рис. 4.1, е, 11);

а - призматические складки; б - оболочки нулевой гауссовой кривизны; в - оболочки положительной гауссовой кривизны; г - то же, отрицательной; д - оболочки с вертикальной осью вращения; е - оболочки с горизонтальной осью вращения; ж - тороидальные оболочки разнозначном, гауссовой кривизны; з - многогранники; и - то же, шатрового типа; к - составные оболочки; л - то же, из гиперболических треугольных сводов; м - панели-оболочки размером на пролет покрытия (КЖС) и ненарушенные оболочки размером на ячейку здания; н - неразрезные оболочки; 1 - балочная складка с треугольным поперечным сечением; 2 - то же, с трапециевидным; 3 - то же, со сводчатым (призматические выпуклые складки); 4 - свод-оболочка; 5 - длинные цилиндрические оболочки; 6 - то же, короткие; 7 - коническая оболочка; 8 - купол; 9 - тороидальная оболочка; 10 - бочарные своды; 11 - гиперболические оболочки; 12 - покрытие с треугольным планом из оболочек положительной и отрицательной гауссовой кривизны; 13 - то же, с полигональным планом; 14 - покрытие из составных гипаров; 15 - панели-оболочки КЖС; 16 - вспарушенные плиты-оболочки; 17 - многоволновые оболочки; 18 - многопролетные оболочки

Рисунок 4.1 - Схемы тонкостенных пространственных конструкций покрытий и перекрытий

д) оболочки разнозначной гауссовой кривизны - тороидальные оболочки (рис. 4.1, ж); поверхности которых имеют на некоторых участках положительную, а на других - отрицательную кривизну (между точками А и В на рис. 4.1, ж), коноиды (поверхность которых имеет в большей части нулевую гауссову кривизну) и параболические оболочки на плоском контуре (в основном положительной кривизны), угловые участки которых имеют отрицательную гауссову кривизну и др.;

е) многогранники, в том числе вписанные в поверхности оболочек, предусмотренные подпунктами б, в, г, д (рис. 4.1, з); а также шатровые складки (рис. 4.1, и);

ж) составные оболочки, имеющие сложную поверхность, образуемые из оболочек, предусмотренных подпунктами б, в, г, д, е (рис. 4.1, к, л);

з) вспарушенные плиты, в том числе ступенчато-вспарушенные шатровые и рамно-шатровые панели (рис. 4.1, м, 16);

по форме перекрываемой площади (при опирании на стены, фундаменты или отдельные опоры) и конструктивным особенностям

а) на круглом плане;

б) на овальном (эллиптическом) плане;

в) на квадратном плане;

г) на прямоугольном плане;

д) на треугольном плане;

е) на полигональном плане;

ж) кольцевые тороидальные и составные оболочки;

з) неразрезные многоволновые оболочки, многогранники и складки;

и) неразрезные многопролетные оболочки, многогранники и складки;

к) висячие оболочки;

л) шедовые конструкции;

м) то же, что и в подпунктах а - л, но гладкие или ребристые;

н) консольные оболочки, складки и многогранники;

по способу изготовления и возведения

а) монолитные;

б) сборно-монолитные (когда сборные элементы служат несущей опалубкой или, например, бортовые элементы сборные, а плита-оболочка - монолитная);

в) сборные из плоских, цилиндрических и других элементом;

г) панели-оболочки и панели-складки, изготовляемые и монтируемые в готовом виде (как правило, не требующие расчетного замоноличивания швов между ними) и имеющие размеры, соответствующие пролету между опорами и габаритам, установленным для данных условий изготовления, перевозки и монтажа;

по материалам, из которых возводятся:

а) железобетонные (в том числе с применением легких и других бетонов);

б) комбинированные, состоящие из железобетонной плиты и металлических диафрагм или бортовых элементов;

в) комплексные, состоящие из железобетонной пространственной конструкции и эффективных теплоизоляционных, гидроизоляционных и других материалов;

г) армоцементные и сталефибробетонные (СНиП 2.03.03 и СП 52-104).

4.1.2 Железобетонные пространственные конструкции должны быть обеспечены с требуемой надежностью от возникновения всех видов предельных состояний расчетом, выбором показателей качества материалов, назначением размеров и конструированием согласно указаниям настоящего Свода правил. При этом должны быть выполнены технологические требования при изготовлении конструкций и соблюдены требования по эксплуатации зданий и сооружений, а также требования по экологии, устанавливаемые соответствующими нормативными документами.

4.1.3 Применение железобетонных пространственных конструкций в средах с агрессивным воздействием допускается при выполнении требований, установленных СНиП 2.03.11 и настоящим СП.

4.1.4 При проектировании пространственных конструкций в особых условиях (в районах с расчетной сейсмичностью 7 баллов и более, в районах Крайнего Севера, на просадочных грунтах и подрабатываемых территориях) надлежит учитывать специальные рекомендации документов, приведенных в приложении В. (СНиП 2.02.01 и СНиП II-7).

4.1.5 Выбор конструктивных решений, типа и очертания поверхности пространственных конструкций покрытий и перекрытий зданий и сооружений следует производить исходя из технико-экономической целесообразности применения таких конструкций в конкретных условиях строительства с учетом архитектурно-технологических и производственных требований, максимального снижения их материало-, трудо-, энергоемкости и стоимости.

В необходимых случаях покрытия и перекрытия с применением тонкостенных пространственных конструкций должны удовлетворять акустическим и светотехническим требованиям, условиям отопления и вентиляции, а также допускать возможность подвески кранового оборудования, технологических коммуникаций, потолка или площадок и т.п.

4.1.6 Элементы сборных и сборно-монолитных пространственных конструкций рекомендуется проектировать с учетом условий механизации их изготовления на заводах или полигонах, а железобетонные монолитные пространственные конструкции - с учетом механизированного выполнения опалубочных, арматурных и бетонных работ (СНиП 12.01).

4.1.7 Сборные и сборно-монолитные пространственные конструкции рекомендуется проектировать с учетом эффективных способов их изготовления и монтажа - из унифицированных плоских, цилиндрических или иных, как правило, ребристых панелей, монтируемых с применением укрупнительной сборки или из крупноразмерных элементов, изготовленных вблизи места возведения конструкции.

Размеры укрупненных тонкостенных элементов покрытий и перекрытий: длина более 24 м, ширина (высота) более 3,2 м, а также масса более 15 т (учитывая условия перевозки, изготовления и монтажа) - должны быть специально обоснованы.

Панели-оболочки и панели-складки проектируют с учетом особенностей их транспортирования и хранения в штабелях.

4.1.8 Железобетонные покрытия пространственного типа следует проектировать с учетом комплекса требований по гидро- и теплоизоляции, водоотводу, устройству различных проходок через покрытие, фонарных и других проемов и отверстий.

Панели сборных пространственных конструкций рекомендуется проектировать так, чтобы завод или полигон изготовлял их по возможности повышенной готовности - утепленными, с гидроизоляцией и т.п.

4.2 Основные расчетные требования

4.2.1 Расчеты железобетонных пространственных конструкций следует производить по предельным состояниям, включающим:

- предельные состояния первой группы (по полной непригодности к эксплуатации вследствие потери несущей способности);

- предельные состояния второй группы (по непригодности к нормальной эксплуатации вследствие образования или чрезмерного раскрытия трещин, появления недопустимых деформаций и др.).

Расчеты по предельным состояниям первой группы включают расчет по прочности, с учетом в необходимых случаях деформированного состояния конструкции перед разрушением, и устойчивости (общей и локальной).

Расчеты по предельным состояниям второй группы включают расчеты по раскрытию трещин и по деформациям.

Расчеты выполняют в соответствии с СП 52-101 и рекомендациями настоящего СП.

4.2.2 Расчет пространственных конструкций покрытий и перекрытий по предельным состояниям согласно требованиям п. 4.2 главы СП 52-101 производится, как правило, для всех воздействий на конструкцию или ее элементы в процессе изготовления, транспортирования, возведения и эксплуатации, причем расчетные схемы и нагрузки должны отвечать принятым конструктивным решениям и воздействиям для каждой стадии. Необходимо также учитывать следующие рекомендации:

- монолитные конструкции, в том числе с предварительно напряженным армированием, должны быть рассчитаны по прочности и трещиностойкости при раскружаливании;

- элементы сборно-монолитных конструкций должны быть рассчитаны по прочности и трещиностойкости на действие собственного веса и веса бетона замоноличивания и монтажных нагрузок;

- сборно-монолитная конструкция после достижения бетоном замоноличивания проектной прочности должна быть рассчитана в целом как монолитная с включением в работу сборных элементов, если для этого предусмотрены соответствующие конструктивные и технологические мероприятия;

- элементы сборных конструкций, в том числе укрупненных, при монтаже (до замоноличивания) должны быть проверены по прочности и трещиностойкости на усилия от действия собственного веса, монтажных нагрузок и реактивных усилий от временных опор, затяжек и других приспособлений;

- сборные конструкции после достижения бетоном замоноличивания стыков проектной прочности и после раскружаливания рассчитывают по прочности, жесткости, трещиностойкости на действие собственного веса, монтажных нагрузок и предварительного напряжения арматуры с учетом изменения на данной стадии напряженно-деформированного состояния конструкции от удаления всех или части временных связей.

4.2.3 Расчеты железобетонных пространственных конструкций необходимо, как правило, производить с учетом возможного образования трещин и неупругих деформаций в бетоне и арматуре.

Определение усилий и деформаций от различных воздействий в конструкциях и в образуемых ими системах зданий и сооружений следует производить по методам строительной механики, как правило, с учетом физической и геометрической нелинейности работы конструкций.

4.2.4 При проектировании железобетонных пространственных конструкции их надежность устанавливают расчетом путем использования расчетных значений нагрузок и воздействий, расчетных значении характеристик материалов, определяемых с помощью соответствующих частных коэффициентом надежности по нормативным значениям этих характеристик с учетом степени ответственности зданий и сооружений (ГОСТ 27751).

Нормативные значения нагрузок и воздействий, коэффициентов сочетаний, коэффициентов надежности по нагрузке, коэффициентов надежности по назначению конструкций, а также подразделение нагрузок на постоянные и временные (длительные и кратковременные) принимают согласно СНиП 2.01.07.

4.2.5 Усилия и деформации в пространственных конструкциях определяют в зависимости от особенностей конструкции согласно разделу 6 СНиП 52-01, принимая во внимание следующие методы расчета и экспериментальных исследований:

расчет методами теории упругости, - главным образом техническую теорию оболочек и практические методы расчета тонких оболочек и складок, учитывающие неразрезность конструкции, податливость опор и диафрагм, наличие ребер, отверстий и проемом, а также неравномерные и динамические нагрузки и т.п.;

расчет методами упругопластической теории, с использованием прикладной теории деформаций железобетона путем учета практических гипотез и упрощений упругопластического расчета, вытекающих из особенностей работы железобетона с трещинами;

расчет железобетонных элементов по нелинейной деформационной модели с использованием двухлинейной и трехлинейной диаграмм состояния бетона, определяющих связь между напряжениями и относительными деформациями, и двухлинейной диаграммы арматуры. Указанные диаграммы используют при расчете прочности железобетонных элементов, расчете образования и раскрытия нормальных трещин и расчете деформаций железобетонных пространственных конструкций по нелинейной деформационной модели в соответствии с СП 52-101;

расчет методами предельного равновесия, в том числе по деформированной схеме, главным образом для решения задач несущей способности или проверки назначенных сечений бетона и арматуры в предварительных и рабочих расчетах, с учетом моделирования и натурных испытаний конструкций до разрушения, позволяющих получить схемы излома и формы разрушения;

экспериментальное исследование напряженно-деформированного состояния натурных образцов пространственных конструкций на все виды и величины нагрузок, с тем чтобы использовать экспериментально обоснованные и наиболее экономичные расчетные формулы для проверки всех требуемых предельных состояний.

Для отдельных сложных пространственных конструкций, для которых нет достаточно достоверных методов расчета, предусматривается обязательное испытание моделей при проектировании.

4.2.6 Выбор метода расчета какого-либо типа пространственной конструкции должен производиться согласно рекомендациям соответствующего раздела п. 4.2.5 настоящего СП. При использовании ЭВМ возможности программного обеспечения должны удовлетворять условиям рекомендуемого метода расчета.

4.2.7 При составлении расчетной схемы покрытия или перекрытия рекомендуется использовать срединную поверхность гладкой плиты, подкрепленной плиты оболочки, многогранника или складки. Для покрытии, которые по условиям возведения образуются как многогранники, вписанные в поверхность оболочки, с достаточно большим количеством граней n (например, когда на участке между диафрагмами п > 7), допускается за расчетную поверхность принимать гладкую срединную поверхность оболочки. При этом дополнительные моменты и нормальные силы, возникающие в местах переломов действительной поверхности, допускается определять приближенно.

Для пространственных ребристых конструкций, а также для складчатых и волнистых сводов-оболочек за срединную поверхность допускается принимать поверхность, в которой лежат центры тяжести поперечных сечении конструкций.

В этом случае при расчете ребристых оболочек, складчатых и волнистых допускается вводить в расчет усредненную приведенную толщину оболочки dred = Ab/c и усредненную приведенную жесткость D = EIb/c (где Аb и Ib - соответственно площадь и момент инерции приведенного двутаврового сечения с шириной полки, рамной с).

Расчетный пролет оболочек, многогранников и складок определяется как расстояние между осями опор покрытий и перекрытий.

Расчетный размер сторон оболочек, многогранников и складок в плане определяется как расстояние между осями соответствующих бортовых элементов или диафрагм. При этом, если для расчета система делится на поле оболочки и краевые элементы, в расчете следует учитывать эксцентриситет примыкания поля оболочки к диафрагме или бортовым элементам.

При определении усилий в железобетонных пространственных конструкциях в упругой стадии площадь и момент инерции допускается принимать как для бетонного или, если m > 1 % (m - количество арматуры в % площади бетонного сечения), как для приведенного к нему сечения. При расчете с учетом неупругих деформаций и трещин, а также по методу предельного равновесия следует учитывать действительные характеристики железобетонных сечений для рассматриваемой стадии их работы.

4.2.8 Метод предельного равновесия рассматривает равновесие конструкции в момент исчерпания несущей способности и перехода в изменяемую систему. Рекомендуется принимать, что к моменту исчерпания несущей способности железобетонная оболочка расчленяется пластическими шарнирами на несколько жестких дисков. Вид и характер пластического механизма, конфигурация и относительная величина дисков в схеме излома железобетонных пологих оболочек зависят от вида нагрузки, свойств поверхности и условий закрепления контура и достаточно обстоятельно выявлены экспериментально.

Применительно к задачам о несущей способности железобетонных оболочек хорошо разработан кинематический метод теории предельного равновесия с использованием понятия об обобщенных пластических шарнирах (линиях излома).

Расчет прочности конструкций (первое предельное состояние) в этом случае производится с учетом неупругих деформаций бетона и арматуры и наличия трещин, а также, в случае необходимости, деформированного состояния как отдельных элементов, так и конструкций.

Расчет несущей способности монолитных, сборно-монолитных и сборных пространственных конструкций по методу предельного равновесия допускается производить (учитывая перераспределение усилий в предельном состоянии конструкции) без учета монтажных и других усилий, возникающих в них до замоноличивания, в процессе изготовления и раскружаливания. При этом в случае необходимости учитывают деформированную схему конструкции, в том числе от перемещений, накопленных и процессе изготовления и возведения конструкции.

4.2.9 Участки плиты, оболочек и складок, где главные растягивающие напряжения sprt > Rbt, должны быть заармированы исходя из условия полного восприятия арматурой растягивающих усилий. Допускать sprt > 3Rbt не рекомендуется, и в соответствующих участках конструкции размеры по толщине следует увеличивать.

4.2.10 Диафрагмы и бортовые элементы оболочек, складок, многогранников и сводов-оболочек работают в основном на касательные усилия и, как правило, вводятся в расчет из условия их совместной работы с полем конструкции с учетом их действительных жесткостей и схемы нагружения.

4.2.11 Отверстия в плитах оболочек, имеющих размеры больше, чем расстояния между ребрами сборных элементов, а для гладких оболочек размером более 20d, должны учитываться в расчете конструкции.

4.2.12 Расчет предварительно напряженных конструкций следует производить с учетом начальных (предварительных) напряжений и деформаций в бетоне и арматуре, потерь предварительного напряжения и особенностей передачи предварительного напряжения на бетон.

При расчете пространственных конструкций потрещиностойкости и деформациям усилия от предварительного напряжения арматуры допускается определять как усилия от соответствующих внешних сил, приложенных в местах анкеровки арматуры, а при расчете криволинейных стержней - с учетом касательных сил трения по длине арматуры и нормальных сил, действующих по направлению радиуса кривизны.

Рекомендации по проектированию предварительно напряженных железобетонных конструкций с натяжением арматуры до твердения бетона (на упоры) приведены в СП 52-102, а Рекомендации по проектированию предварительно напряженных железобетонных конструкций с натяжением арматуры на бетон приведены в СНиП 2.03.01.

4.2.13 При расчете пространственных покрытий пролетом более 100 м или с поверхностью сложного очертания, не предусмотренной СНиП 2.01.07, нагрузки от действия снега и ветра допускается определять по экспериментальным данным.

4.2.14 Значительные сосредоточенные нагрузки, как правило, должны прикладываться к ребрам жесткости, диафрагмам, бортовым балкам оболочек и складок. С целью повышения экономической эффективности допускается при соответствующих конструктивных мероприятиях учитывать в расчете совместную работу пространственной конструкции и устройства для подвески грузов (например, крановых балок и т.п.).

4.2.15 В необходимых случаях рекомендуется производить проверку местной устойчивости или прочности тонкостенных элементов пространственных конструкций. Проверку местной прочности поля оболочки рекомендуется производить методом предельного равновесия по несущей способности с учетом изменения формы поверхности поля конструкции согласно пп. 11.27, 11.28 настоящего СП. При этом следует также учитывать несовершенство формы поверхности тонкостенных пространственных конструкций. Приближенную оценку критической нагрузки тонкостенных пространственных конструкций при потере устойчивости рекомендуется производить согласно пп. 4.2.20 - 4.2.23 настоящего СП.

4.2.16 При выборе расчетной схемы сборно-монолитных пространственных конструкций рекомендуется учитывать деформативные свойства стыков и особенности передачи усилий через них. При передаче усилий через закладные детали и приваренные к ним стержни или пластины следует учитывать неупругую податливость таких соединений величиной от 0,5 до 1 мм на каждое такое соединение. При передаче сжимающих усилий через стыки, замоноличенные мелкозернистым бетоном, допускается учитывать пониженный модуль упругости мелкозернистого бетона посредством введения в расчет пониженной местной или усредненной жесткости и с учетом отношения ширины стыков к расстоянию между ними.

4.2.17 Прогибы элементов в железобетонных пространственных конструкциях не должны превышать величин, указанных в СНиП 2.01.07. При этом рекомендуется, чтобы прогиб покрытий в виде оболочек двоякой кривизны и многогранников пролетом 18 - 60 м не превышал 1/400 пролета, а пролетом более 60 м - 1/500 пролета.

4.2.18 При расчете элементов сборных пространственных конструкций на воздействие усилий, возникающих при их подъеме, транспортировании и монтаже, нагрузку от веса элементов следует принимать с коэффициентом динамичности, равным: 1,60 - при транспортировании, 1,40 - при подъеме и монтаже. Допускается принимать более низкие, обоснованные в установленном порядке значения коэффициента динамичности, но не ниже 1,25.

4.2.19 При расчете по прочности железобетонных элементов на действие сжимающей продольной силы следует учитывать случайный эксцентриситет еа, принимаемый не менее: 1/600 длины элемента или расстояния между его сечениями, закрепленными от смещения; 1/30 высоты сечения; 10 мм.

Для элементов статически неопределимых конструкций значение эксцентриситета продольной силы относительно центра тяжести приведенного сечения е0 принимают равным значению эксцентриситета, полученного из статического расчета, но не менее еа.

Для элементов статически определимых конструкций эксцентриситет е0 принимают равным сумме эксцентриситетов - из статического расчета и случайного.

4.2.20 При проектировании тонкостенных конструкций оболочек, особенно большепролетных, следует учитывать опасность потери устойчивости и их деформированного состояния.

При испытании конструкции оболочки на устойчивость обычно наблюдается значительный разброс значений критических нагрузок. Это вызвано, как правило, неоднородностью напряженного состояния, начальными несовершенствами формы и граничных условий.

Как правило, значение верхней критической нагрузки, найденное с учетом начальных несовершенств, более точно оценивает действительную величину нагрузки, при которой происходит потеря устойчивости оболочки, чем расчет по формулам, основанным на понятии нижней критической нагрузки. Однако для определения величины несущей способности несовершенных оболочек необходимо знать статистические характеристики начальных несовершенств, вводимых в расчет.

Максимальные значения начального прогиба определяются опытным путем или задаются по аналогии с конструкциями подобного типа, для которых установлены возможные величины начальных несовершенств.

4.2.21 В практических расчетах гладких длинных цилиндрических оболочек продольные нормальные сжимающие напряжения s от расчетной нагрузки, подсчитанные по упругой стадии, не должны превышать величины

                                                            (4.1)

а скалывающие напряжения t0 по нейтральной оси не должны быть больше, чем

                                                       (4.2)

При сочетании нормальных и касательных напряжений необходимо соблюдать неравенство

                                                    (4.3)

где s0 и t0 вычисляют по формулам (4.1) и (4.2).

Для гладких коротких цилиндрических оболочек пролетом l интенсивность полной расчетной нагрузки не должна превышать величины

                                           (4.4)

Верхняя критическая нагрузка для замкнутой сферической оболочки при равномерном внешнем давлении q равна

                                       (4.5)

где m - коэффициент Пуассона.

Нижнюю критическую нагрузку находят по формуле

                                                         (4.6)

В формулах 4.1 - 4.6:

d, R - толщина и радиус кривизны оболочек.

Гладкие подъемистые и пологие оболочки вращения и переноса рекомендуется проектировать таким образом, чтобы при равномерном внешнем давлении q интенсивность полной расчетной нагрузки не превышала значение критической нагрузки, найденной по формуле

                                                       (4.7)

где R2 - больший из радиусов кривизны оболочки;

K = f(R2/R1) - коэффициент, учитывающий увеличение критической нагрузки на оболочку с увеличением отношения R2/R1. Для оболочек при R2/R1 < 1,5 принимается К = 1; для оболочек при R2/R1 ³ 1,5 - значения K принимаются:

R2/R1

1,5

1,75

2

2,25

2,5

К

1,17

1,4

1,63

1,79

1,98

4.2.22 В случае, если проверка, выполненная для гладкой оболочки, не дает достаточной уверенности в ее устойчивости, необходимо снабжать оболочку ребрами. Для оболочек положительной или отрицательной гауссовой кривизны целесообразно располагать ребра в двух взаимно перпендикулярных направлениях. Для цилиндрических оболочек может быть принято (если это оправдано архитектурными требованиями и производственными условиями) усиление оболочки только кольцевыми ребрами.

Во избежание образования местных выпучин между ребрами расстояние между ними не рекомендуется назначать большим, чем , где R - меньший радиус кривизны оболочки.

Ребристые оболочки при расчете устойчивости могут рассматриваться как ортотропные. В случае, когда размеры и расстояния ребер обоих направлений не слишком велики и мало отличаются друг от друга, ребристая оболочка может быть заменена для расчета фиктивной гладкой, имеющей ту же жесткость сечения на сжатие и тот же радиус инерции. При этом фиктивную толщину df определяют по формуле

                                                      (4.8)

а фиктивный модуль упругости Еf по формуле

                                                         (4.9)

где b - расстояние между осями соседних ребер;

А - площадь сечения, образованного одним ребром вместе с примыкающими частями тела оболочки шириной b;

l - момент инерции того же сечения.

Для ребристых цилиндрических оболочек при пользовании формулами (4.1) - (4.3) под s, t, s0 и t0 следует понимать напряжения, отнесенные к фиктивной толщине оболочки df.

4.2.23 Для железобетона большое значение имеет рост деформаций конструкции во времени, обусловленный ползучестью и возможностью постепенного выключения из работы бетона растянутой зоны.

В силу этих особенностей железобетона критические нагрузки тонкостенных гибких элементов, в частности оболочек, оказываются при длительном действии нагрузки значительно более низкими, чем при кратковременных испытаниях.

Ползучесть бетона при отсутствии более совершенных способов оценки ее влияния рекомендуется учитывать, заменяя в формулах (4.1) - (4.9), полученных теоретическим путем, модуль упругости материала E модулем деформации бетона Eb,t, определяемым по формуле (5.1) при продолжительном действии нагрузки, и Еb × 0,85 при непродолжительном действии нагрузки в соответствии с п. 5.7 настоящего СП.

4.2.24 При расчете конструкций в дополнение к основным положениям расчета по предельным состояниям необходимо проведение расчетов на наиболее вероятные варианты запредельных воздействий. Первоначально, исходя из расчета и анализа его результатов, выявляются элементы, узлы и связи, в наибольшей степени влияющие на живучесть конструктивной системы. Внезапное последовательное выключение из работы этих элементов и связей позволит расчетным путем выявить резервы прочности конструкций и предусмотреть конструктивные мероприятия по усилению отдельных элементов конструкции с целью предотвращения лавинообразного разрушения. Все расчеты выполняются с учетом физической, геометрической и конструктивной нелинейности. В процессе расчета целесообразно учесть эффект импульсного воздействия при мгновенном выключении из работы отдельного элемента (узла, связи) на достижение предельных и запредельных состояний в других элементах конструктивной системы.

4.2.25 Конструктивные решения железобетонных покрытий и перекрытий должны обеспечивать несущую способность сооружения даже при локальных повреждениях, предотвращать лавинообразное обрушение системы вследствие разрушения второстепенных элементов конструкции, узлов и деталей (связи, элементы, обеспечивающие устойчивость «ключевых» конструкций, и т.п.). Устойчивость здания против лавинообразного обрушения следует обеспечивать применением соответствующих конструктивных мер и материалов, в том числе способствующих развитию в конструктивных элементах и их соединениях пластических деформаций; рациональным решением системы связей и элементов соединений. Специальное внимание следует уделять расчетам и конструированию узлов, выполняя их равнопрочными сопрягаемым элементам.

Указания по расчету против лавинообразного обрушения должны содержаться в «Специальных технических условиях» на проектирование конкретного сооружения. Целесообразно при этом учесть материалы Рекомендаций, приведенных в приложении Б настоящего СП. Рекомендуется расчеты выполнять на статические нагрузки и воздействия, при необходимости с учетом геометрической и физической нелинейности, использования для железобетонных пространственных конструкций метода теории предельного равновесия. При этом усилия от аварийных воздействий на узловые элементы и соединения рекомендуется увеличивать на 15 %.

Расчетные прочностные и деформационные характеристики материалов следует принимать равными их нормативным значениям согласно СНиП II-23 и СНиП 52-01. Эти характеристики сопротивления материалов допускается повышать на 15 % за счет использования дополнительных коэффициентов надежности и коэффициентов условий работы, учитывающих малую вероятность аварийных воздействий, использования работы металлических конструкций и арматуры за пределом текучести материала, а также учитывая интенсивный рост прочности бетона в начальный период после возведения сооружения.

4.2.26 Большепролетные пространственные конструкции зданий и сооружений следует рассчитывать на усилия от изменения температуры, а в случае необходимости - от влажности и усадки бетона, возникающих в конструкциях вследствие заделки их в основание, а также вследствие взаимодействия наружных и внутренних конструкций, имеющих разные температурно-влажностные деформации.

Расчетные значения температур принимаются для различных климатических районов России по СНиП 21-01, а значения расчетных приведенных температур - в соответствии со СНиП 2.01.07.

Расчет производится на неблагоприятные сочетания летних (июльских) и зимних (январских) приведенных температур, которые могут иметь место как в период строительства, так и в период эксплуатации зданий.

Расчет усилий и деформаций пространственных конструкций на изменение температуры выполняется в упругой стадии, при этом учитывается податливость стыковых соединений (для сборных конструкций) и основания.

Изгибная и продольная жесткости их стыков (для сборных конструкций) определяются в соответствии с указаниями СП 52-101 как для армированных бетонных сечений, с учетом трещин, пластических свойств и ползучести бетона.

4.2.27 Для железобетонных пространственных покрытий и перекрытий весьма важным является обеспечение пожарной безопасности (см. СНиП 21-01, приложение Б).

Показателем огнестойкости является предел огнестойкости, за который принимается время в минутах от начала огневого стандартного воздействия до возникновения одного из предельных состояний по огнестойкости, характеризуемых п. 4.4 СТО 36554501-006.

Испытаниями было установлено, что разрушения железобетонных конструкций при огневом высокотемпературном нагреве происходят по тем же схемам, что и при нормальной температуре. Поэтому для расчета предела огнестойкости по потере несущей способности железобетонной конструкции используют те же уравнения равновесия и деформации, из которых выводят формулы для статического расчета.

Статический расчет предела огнестойкости по потере несущей способности основывают на общих требованиях расчета железобетонных конструкций по предельным состояниям первой группы в соответствии со СНиП 52-01, СП 52-101, при нормативных нагрузках и нормативных сопротивлениях бетона и арматуры при огневом воздействии, и с учетом дополнительных указаний, изложенных в настоящем СП.

За нормативную нагрузку принимают непродолжительное воздействие постоянных и временных длительных нагрузок с коэффициентом надежности по нагрузке gf = 1 (СНиП 2.01.07), которые существенно влияют на напряженное состояние железобетонной конструкции при пожаре. В тех случаях, когда нельзя установить значение усилий от нормативной нагрузки, разрешается принимать их равными 0,7 расчетных. Расчетная схема приложения нормативной нагрузки должна соответствовать проекту.

4.2.28 При проектировании многофункциональных высотных зданий, комплексов и сооружений, относящихся к первому ответственному уровню надежности, отказы которых после пожара могут привести к тяжелым экономическим и экологическим последствиям, а также тех конструкций, восстановление которых потребует больших технических сложностей и затрат, необходимо обеспечить их огнесохранность после пожара в соответствии с СТО 36554501-006.

5 Особенности применения материалов и изделий

5.1 Для железобетонных тонкостенных пространственных конструкций рекомендуется применять бетоны и арматуру, предусмотренные СНиП 52-01, с учетом рекомендаций настоящего СП. Расчетное сопротивление и другие характеристики бетона и арматуры следует принимать по СП 52-101 и СП 52-102.

5.2 Для несущих тонкостенных пространственных конструкций рекомендуется применять тяжелые бетоны, в том числе мелкозернистые, классов по прочности на сжатие, указанных в п. 1 настоящего СП, или легкие бетоны по прочности на сжатие не ниже В12,5 (ГОСТ 26633).

Легкие бетоны проектных классов по прочности на сжатие В7,5 и В10 допускается применять в совмещенных пространственных конструкциях покрытий (ГОСТ 25820).

Поризованные и крупнопористые бетоны в несущих железобетонных пространственных конструкциях допускается использовать при специальном технико-экономическом обосновании.

5.3 В качестве предварительно напряженной арматуры растянутых бортовых элементов большепролетных пространственных конструкций рекомендуется предусматривать канатную проволочную арматуру или пучки из таких канатов, выполненные в соответствии с действующими нормативными документами, защищенные от коррозии до замоноличивания оцинковкой или другим способом, допускаемым СНиП 2.03.11 (см. также п. 13.15 настоящего СП).

5.4 Класс по прочности на сжатие тяжелого мелкозернистого бетона, применяемого для заделки расчетных стыков, должен быть не ниже проектного класса по прочности на сжатие бетона стыкуемых элементов.

При замоноличивании конструктивных стыков класс по прочности на сжатие тяжелого бетона или бетона на пористых заполнителях должен быть не ниже В10.

5.5 Для ответственных пространственных конструкций покрытий, эксплуатируемых без наружной гидроизоляции, рекомендуется применять тяжелые бетоны марки по водонепроницаемости не ниже W8. В остальных случаях для конструкций, подверженных атмосферным воздействиям при расчетной отрицательной температуре наружного воздуха выше минус 40 °С, марку бетона по водонепроницаемости не нормируют.

5.6 Марку бетона по морозостойкости назначают в зависимости от требований, предъявляемых к конструкциям, режима их эксплуатации и условий окружающей среды.

Для конструкций, подвергаемых атмосферным воздействиям окружающей среды при расчетной отрицательной температуре наружного воздуха в холодный период от минус 5 °С до минус 40 °С, принимают марку бетона по морозостойкости не ниже F75, а при расчетной температуре наружного воздуха выше минус 5 °С в указанных выше конструкциях марку бетона по морозостойкости не нормируют.

В остальных случаях требуемые марки бетона по морозостойкости устанавливают в зависимости от назначения конструкций и условий окружающей среды (СНиП 23-01).

5.7 Значения начального модуля упругости бетона при сжатии и растяжении принимают в зависимости от класса бетона по прочности на сжатие согласно таблице 5.1.

При продолжительном действии нагрузки значения начального модуля деформаций бетона определяют по формуле:

Таблица 5.1

Класс бетона

В10

В15

В20

В25

В30

В35

В40

В45

В50

В55

В60

Eb, МПа×10-3

19,0

24,0

27,5

30,0

32,5

34,5

36,0

37,0

38,0

39,0

39,5

Таблица 5.2

Относительная влажность воздуха окружающей среды, %

Значения коэффициента ползучести бетона jb,cr при классе бетона на сжатие

В10

В15

В20

В25

В30

В35

В40

В45

В50

В55

В60

Выше 75

2,8

2,4

2,0

1,8

1,6

1,5

1,4

1,3

1,2

1,1

1,0

40 - 75

3,9

3,4

2,8

2,5

2,3

2,1

1,9

1,8

1,6

1,5

1,4

Ниже 40

5,6

4,8

4,0

3,6

3,2

3,0

2,8

2,6

2,4

2,2

2,0

Примечание - Относительную влажность воздуха окружающей среды принимают по СНиП 23-01 как среднюю месячную относительную влажность наиболее теплого месяца для района строительства.

                                                        (5.1)

где jb,cr - коэффициент ползучести.

При непродолжительном действии нагрузки значение начального модуля деформаций бетона определяют умножением Еb на коэффициент 0,85.

Значения коэффициента ползучести бетона jb,cr принимают в зависимости от условий окружающей среды (относительной влажности воздуха) и класса бетона. Значения коэффициента ползучести бетона приведены в таблице 5.2.

5.8 Арматура, расположенная внутри сечения конструкции, должна иметь защитный слой бетона (расстояние от поверхности арматуры до соответствующей грани конструкций), чтобы обеспечивать:

- совместную работу с бетоном;

- анкеровку арматуры в бетоне и возможность устройства стыков арматурных элементов;

- сохранность арматуры от воздействия окружающей среды (в том числе при наличии агрессивных воздействий);

- огнестойкость и огнесохранность.

Минимальные значения толщины защитного слоя бетона для рабочей арматуры следует принимать по табл. 8.1 СП 52-101.

5.9 Во время пожара защитный слой бетона предохраняет арматуру от быстрого нагрева ее до критической температуры. Предел огнестойкости увеличивается, если применить огнезащитное покрытие. Известково-цементная штукатурка толщиной 15 мм, гипсовая - толщиной 10 мм, вермикулитовая - толщиной 5 мм или теплоизоляция из минерального волокна толщиной 5 мм эквивалентны увеличению на 10 мм толщины защитного слоя тяжелого бетона. Огнезащитные покрытия, применяемые для повышения предела огнестойкости конструкций, также могут иметь армирование.

6 Основные требования к конструированию

6.1 Монолитные конструкции

6.1.1 Монолитные пространственные конструкции проектируют, как правило, с гладкой плитой, толщина d которой должна удовлетворять п. 8.2 СП 52-101.

С целью повышения жесткости поля оболочки или складки допускается предусматривать ребра, как правило, прямоугольного или трапециевидного сечения. Шаг ребер определяют расчетом поля оболочки или плиты складки на прочность, устойчивость или локальную несущую способность (см. п. 5 настоящего СП). С целью уменьшения изгибающих моментов в плите оболочки и упрощения опалубки рекомендуется ось симметрии сечения ребер совмещать с направлением нормали к поверхности (а для ребер, располагаемых в местах перелома складчатой поверхности, - с направлением биссектрисы угла сопряжения граней).

6.1.2 Монолитные тонкостенные конструкции покрытий можно проектировать для любых очертаний поверхности и форм плана, предусмотренных п. 4.1.1 настоящего СП. С целью сокращения трудоемкости и стоимости опалубки рекомендуется применять тонкостенные конструкции, удобные для использования многократно оборачиваемой (подвижной и переносной) опалубки:

с линейчатыми поверхностями (цилиндрические, гиперболические оболочки, коноиды, призматические складки);

с поверхностями переноса положительной гауссовой кривизны (параболические и круговые оболочки).

Стрелу подъема монолитных оболочек обычно принимают от 1/10 до 1/5 пролета. Угол наклона касательной к поверхности монолитных покрытий с горизонтом для их бетонирования на односторонней опалубке, как правило, должен быть не более 35°.

6.1.3 В качестве бортовых элементов оболочек, складок, многогранников рекомендуется предусматривать балки, рамы или арки, как правило, прямоугольного или квадратного сечения, высоту которых принимают не менее 1/80 пролета или фермы.

6.1.4 Переход от плиты к бортовым элементам (а также к ребрам) должен быть плавным в виде вута шириной до 10d. Если устройство вута недостаточно для восприятия краевых изгибающих моментов, следует предусматривать соответствующие утолщения плиты на величину от 0,5d до d. В необходимых случаях, согласно требованиям расчета, плита может иметь плавное утолщение от центра к бортовым элементам.

6.1.5 Армирование монолитных пространственных конструкций рекомендуется проектировать с использованием готовых сварных сеток и каркасов.

Изгибаемые плиты должны иметь у растянутой грани не менее одной арматурной сетки. Сжатые плиты, толщина которых назначается из условия местной несущей способности или устойчивости, и растянутые плиты рекомендуется армировать по расчету двумя сетками, располагаемыми симметрично относительно срединной поверхности с минимально допустимой величиной защитного слоя бетона.

Если в плите конструкции арматура по расчету не требуется, то рекомендуется предусматривать конструктивное армирование не менее одной сетки из стержней диаметром 3 - 4 мм. Наибольшие расстояния между осями стержней, обеспечивающие эффективное вовлечение в работу бетона, равномерное распределение напряжений и деформаций, а также ограничение ширины раскрытия трещин между стержнями арматуры должны быть не более 4d или 200 мм.

6.1.6 Для восприятия основных растягивающих усилий в контурных элементах, диафрагмах и затяжках большепролетных покрытий рекомендуется предусматривать предварительно напрягаемую арматуру, принимаемую согласно СП 52-102 и п. 5.7 настоящего СП.

Предварительно напрягаемую арматуру рекомендуется располагать в каналах или пазах с последующим замоноличиванием бетоном или без сцепления с бетоном в трубчатых каналообразователях с последующим их заполнением различного рода противокоррозионными смазками. Схемы расположения напрягаемой арматуры в основных типах пространственных конструкций показаны на рис. 6.1.

a - в куполе; б - в шатровой складке; в - в пологой оболочке положительной гауссовой кривизны, опертой по контуру; г - то же, с фермами-диафрагмами, опертыми в углах оболочки; д - в цилиндрической оболочке; е - в шедовой однопролетной оболочке; ж - в шедовой неразрезной оболочке, армированной перекрестными пучками; з - в зонтичной оболочке, образованной из четырех гиперболических параболоидов

Рисунок 6.1 - Схемы расположения напрягаемой арматуры

В бортовых элементах балочных оболочек и складок до 80 % основной растянутой арматуры допускается концентрировать у растянутой грани. В остальных случаях растянутую арматуру в тонкостенных элементах пространственных конструкций рекомендуется располагать, по возможности, равномерно вдоль растянутой зоны сечения оболочки, складки или многогранника.

6.2 Сборно-монолитные конструкции

6.2.1 Сборно-монолитные конструкции покрытий и перекрытий можно проектировать с применением в качестве несущей опалубки (рис. 6.2) железобетонных или армоцементных тонкостенных элементов, обеспечивающих создание готовой поверхности потолка, удовлетворяющей архитектурно-конструктивным требованиям. При проектировании армоцементных элементов несущей опалубки следует соблюдать требования СНиП 2.03.03. Несущую опалубку пространственных конструкций рассчитывают на усилия от веса уложенного монолитного бетона и монтажных нагрузок с учетом ее последующей работы в качестве элемента составного сечения на эксплуатационные нагрузки. Поверхность несущей опалубки, соприкасающаяся с монолитным бетоном, и выпуски арматуры должны обеспечивать совместную работу опалубки и монолитного бетона.

6.2.2 При проектировании сборно-монолитных конструкций с целью упрощения лесов и подмостей рекомендуется предусматривать сборные диафрагмы, бортовые элементы или ребра в соответствии с принятым проектом организации работ. Схема сборно-монолитной оболочки покрытия промышленного здания приведена на рис. 6.3. Сборные диафрагмы и бортовые элементы могут быть железобетонными, в том числе с несущей арматурой, и металлическими.

а - тонкостенный коробчатый железобетонный или армоцементный элемент; б - деталь поперечного сечения конструкции; 1 - монолитный бетон; 2 - выпуски арматуры из несущей опалубки

Рисунок 6.2 - Сборно-монолитной оболочки с использованием несущей железобетонной или армоцементной опалубки

1 - монолитная плита-оболочка; 2 - металлическая или сборная железобетонная ферма-диафрагма

Рисунок 6.3 - Схема сборно-монолитной оболочки покрытия

Для обеспечения передачи контактных усилий между монолитным бетоном и сборными элементами в зонах омоноличивания этих элементов рекомендуется предусматривать шпонки, упоры, выпуски арматуры, закладные детали (см. п. 6.4 настоящего СП).

6.2.3 Для облегчения массы сборных элементов, работающих на существенные монтажные усилия, при проектировании рекомендуется применять на время монтажа временные затяжки, опоры и другие подкрепляющие устройства. Выбор бетона и арматуры при этом рекомендуется производить с учетом условий их изготовления, предусмотренных проектом производства работ (СНиП 3.03.01).

6.2.4 Размеры поперечного сечения сборно-монолитных пространственных конструкций (плиты, ребер, бортовых элементов и диафрагм) рекомендуется принимать согласно расчету на усилия, действующие в стадии эксплуатации.

При конструировании монолитных частей сборно-монолитных конструкций необходимо учитывать рекомендации пп. 6.1.1 - 6.1.5 настоящего СП.

6.3 Сборные конструкции

6.3.1 Сборные пространственные конструкции рекомендуется проектировать из тонкостенных панельных, блочных (арочных) и других сборных элементов, которые после установки на место соединяются омоноличиванием и сваркой закладных деталей и образуют своды, оболочки, складки и другие конструкции покрытий и перекрытий. Стыки сборных пространственных конструкций должны быть рассчитаны и законструированы так, чтобы они могли надежно передавать от одного элемента к другому усилия, возникающие в соединении при монтаже (и том числе в стыках укрупненных элементов и при навесной сборке без лесов) и в процессе эксплуатации.

Элементы сборных конструкций должны удовлетворять требованиям расчета и быть целесообразными по форме и размерам с точки зрения технологии их изготовления, перевозки и монтажа, в том числе монтажа блоками с применением укрупнительной сборки монтажных элементов на строительной площадке (СНиП 3.03.01).

Допускается применять крупноразмерные элементы, изготовляемые на строительной площадке, в большепролетных и других уникальных конструкциях, а также во всех случаях, когда это технически и экономически целесообразно.

При проектировании сборных пространственных конструкций и их элементов отклонения от их номинальных размеров следует назначать согласно ГОСТ 13015.

6.3.2 Очертание срединной поверхности сборных оболочек покрытий выбирается с учетом удобства расчленения конструкции покрытия или перекрытия на минимальное число типов панелей и других элементов при максимальной их повторяемости. Например, для оболочек положительной гауссовой кривизны могут применяться поверхности вращения (сферическая, тора) или круговая поверхность переноса.

В качестве сборных элементов пространственных конструкций покрытий и перекрытий рекомендуется предусматривать:

панели плоские или цилиндрические, в том числе комплексные, повышенной готовности;

диафрагмы и бортовые элементы в виде балок, арок, безраскосных и раскосных ферм, балок-стенок.

Балки и арки могут иметь прямоугольное, тавровое, двутавровое, пустотелое и другие поперечные сечения. Растянутые и изгибаемые диафрагмы и бортовые элементы, а также панели длиной 12 м и более целесообразно проектировать с предварительно-напряженной арматурой, а в случае необходимости на период монтажа - с временными подкреплениями (см. также п. 6.2.3 настоящего СП).

При конструировании сборных пространственных покрытий и перекрытий допускается и другое членение при соответствующем технико-экономическом обосновании, например на панели, включающие части бортовых элементов или диафрагм. Примеры членения основных сборных покрытий и перекрытий приведены на рис. 6.4.

6.3.3 Поперечные сечения сборных элементов, как правило, должны иметь размеры, не менее: по толщине плиты 8 - 30 мм; по высоте сечения основных ребер панелей h - 1/20 их длины; по ширине сечения ребер панелей b - 40 мм.

Бортовые балочные элементы следует конструировать, по возможности, аналогичными типовым железобетонным балкам покрытий и перекрытий, а бортовые растянутые элементы оболочек положительной гауссовой кривизны - с предварительно напряженной арматурой. Для бортовых элементов небольших пролетов допускается обычное армирование.

6.3.4 В местах действия краевых моментов и максимальных главных растягивающих напряжений плиту допускается утолщать, в том числе с помощью слоя монолитного бетона, укладываемого по сборным плитам. При этом должны быть предусмотрены необходимое дополнительное армирование монолитного слоя (например, в углах оболочек положительной гауссовой кривизны) и конструктивные и технологические мероприятия для надежного сцепления монолитного слоя со сборными панелями. Толщина плиты сборных элементов может быть переменной, плавно изменяющейся между ребрами, или ступенчатой, постоянной в пределах пролета.

6.3.5 Основная арматура сборных пространственных конструкций предусматривается в плите и ребрах панелей, бортовых балках, диафрагмах и других элементах покрытия или перекрытия. В случае, когда арматуры, установленной в сборных элементах, недостаточно, сборные пространственные конструкции могут иметь дополнительное армирование в виде предварительно напряженных поясов и отдельных элементов или стержней, укладываемых в процессе возведения конструкции. Предварительное напряжение такой арматуры осуществляется натяжением на бетон и последующим обетонированием. В стыках между панелями и другими элементами (например, для обеспечения неразрезности в местах сопряжения соседних оболочек) также допускается укладывать стержни или сетки дополнительного армирования.

6.3.6 Сборные конструкции в виде панелей-оболочек, панелей-складок (размером, равным пролету между опорами покрытий или перекрытий зданий) проектируют исходя из условия, что они изготовляются, перевозятся и монтируются как готовые пространственные конструкции.

Соединения элементов при укрупнительной сборке должны быть достаточно простыми для выполнения, как правило, без замоноличивания.

а - длинная цилиндрическая оболочка из панелей размером 3´6 м, бортовых элементов и диафрагм, монтируемая укрупненными элементами; в - то же, короткая из плоских панелей размером 3´12 м и диафрагм; в - оболочка вращения из трапециевидных криволинейных или плоских панелей; г - шатровые складки из трапециевидных и прямоугольных панелей; д - оболочки двоякой кривизны из панелей размером 3´6 м, монтируемые укрупненными элементами размером 3´18 м; е - волнистый свод из плоских панелей; ж - шатровая висячая оболочка (со средней опорой) из трапециевидных панелей; з - составная оболочка из четырех гиперболических параболоидов, собранных из неплоских панелей размером 3´9 м; и - стрельчатый свод-оболочка из гиперболических панелей с торцевой стенкой-диафрагмой; к - складчатое покрытие; 1 - панель; 2 - бортовой элемент; 3 - ферма-диафрагма; 4 - монтажный блок размером 3´18 м

Рисунок 6.4 - Примеры членения сборных пространственных покрытий и перекрытий

6.3.7 В комбинированных пространственных конструкциях покрытий плита оболочки или складки может выполняться из железобетона, а бортовые элементы, устройства для подвесных кранов и др. - из стальных ферм, балок и т.п. При проектировании таких конструкций рекомендуется предусматривать совместную работу железобетонных и металлических элементов покрытия или перекрытия.

6.4 Стыки сборных конструкций

6.4.1 Стыки конструкций должны быть надежны и просты при сборке и замоноличивании. Следует различать расчетные, проектируемые для восприятия расчетных усилий и конструктивные стыки (например, замоноличенный стык между соседними панелями-оболочками КЖС). К конструктивным стыкам требование расчета по прочности не предъявляется.

а - сжатый стык панелей со сварными накладками; б - то же, с перепуском арматуры; в - то же, с отгибами при наличии сдвигающих усилий; г - растянутый стык; д - то же, при наличии сдвигающих усилий; е - стык со сварной накладкой и шпонками, работающий на сдвиг; ж - то же, испытывающий сжатие с изгибом; з - стык панелей висячей оболочки на ванте; и - стык панелей и диафрагмы смежных оболочек и схема шпонки стыка; 1 - панель; 2 - закладная деталь; 3 - соединительная накладка; 4 - бетон замоноличивания; 5 - продольная арматура стыка; 6 - ванта в трубке с защитной смазкой; 7 - диафрагма с выпусками арматуры; 8 - сварной шов; 9 - шпонки

Рисунок 6.5 - Схема стыков сборных конструкций

6.4.2 Расчет стыков по прочности рекомендуется производить в зависимости от вида передаваемых через них усилий. Расчетные стыки оболочек, складок и многогранников, как правило, конструируются со шпонками с целью передачи касательных, а также сжимающих или растягивающих усилий. В сжатых стыках допускается учитывать сопротивление трению при действии минимальной величины сжимающего усилия или напряжение сцепления бетона замоноличивания с бетоном сборных элементов величиной t £ 0,25Rbt. Схемы стыков приведены на рис. 6.5.

6.4.3 В стыках железобетонных элементов со стальными диафрагмами и бортовыми элементами вместо шпонок в металлической конструкции предусматриваются жесткие упоры и отрезки стержней (рис. 6.6). Жесткие упоры предусматриваются также в стыках с железобетонными диафрагмами в случае, если шпонок недостаточно для восприятия сдвигающих усилий.

6.4.4 Соединение арматуры в стыках рекомендуется осуществлять сваркой стержней с закладными деталями или между собой, а также с перепуском концов стержней и сеток согласно требованиям п. 6.4.2 (ГОСТ 14098 и ГОСТ 10922). С целью уменьшения зоны перепуска арматуры допускается стыкование с помощью перепуска петель диаметром (или размером стороны) не менее 10d с заделкой в шов каждой петли на длину не менее 15d (здесь d - диаметр стыкуемых стержней). При расположении петель в вертикальной плоскости внутри петель по их периметру должны быть заложены продольные по стыку стержни (рис. 6.5, г, д). При расположении петель в горизонтальном плоскости к ним привариваются продольные стержни. Расчетные стыки на период монтажа допускается проектировать без замоноличивания, предусматривая передачу возникающих в них усилий через соединительные металлические детали (рис. 6.5, ж).

1 - стальной упор; 2 - шпонки; 3 - бетон замоноличивания

Рисунок 6.6 - Схема стыков соединений железобетонных и металлических элементов

Металлические детали стыков должны быть защищены от коррозии согласно СНиП 2.03.11.

6.4.5 Размер ширины стыков следует назначать с учетом положительных и отрицательных допусков для размеров собираемых элементов, но не менее 40 мм и, как. правило, не более 150 мм.

Передача монтажных сжимающих усилий в стыках допускается через металлические закладные детали без применения замоноличивания. При этом прочность бетона сборных элементов в стыке должна быть проверена на местное сжатие.

Ширина раскрытия трещин на уровне арматуры должна быть не более допустимой по п. 6.4.5 СНиП 52-01.

6.4.6 С целью сокращения размеров и количества закладных деталей и стержней, проектируемых в стыке, а также упрощения работ по стыкованию арматуры допускается основную арматуру в элементах и в стыках покрытий сосредоточивать на отдельных небольших участках в зоне ребер, пересекаемых стыком (но не реже чем через 3 м), а при отсутствии ребер - на участках протяженностью 5 - 10 толщин плиты при расстоянии между участками 10 - 20 толщин плиты.

6.4.7 В стыках элементов, работающих на растяжение или изгиб, все растягивающие усилия должны быть восприняты надежно заанкеренной арматурой (как правило, являющейся продолжением основной арматуры ребер стыкуемых элементов).

В стыках, воспринимающих касательные усилия сдвига с помощью шпонок, размеры выступов и углублений, образуемых в бетоне сборных элементов и в бетоне замоноличивания, должны удовлетворять расчету шпонок на смятие Q1 и срез Q2 по формулам:

Q1 £ Rb lk tk nk;                                                        (6.1)

Q2 £ 2Rbt hk lk nk,                                                     (6.2)

здесь Rb, Rbt - расчетные сопротивления бетона сборных элементов или замоноличивания соответственно при осевом сжатии и растяжении;

lk, hk, tk - длина, высота и глубина шпонок (рис. 6.5, и).

Если через стык передаются местные сдвигающие усилия, то число шпонок пk учитывают только в зоне действия этих усилий, при этом две крайние шпонки не учитываются.

Гибкие выпуски арматуры и соединения закладных деталей, расположенные перпендикулярно к оси стыка, как правило, не учитываются в расчете на усилия сдвига. Их устанавливают для восприятия возможных растягивающих усилий, перпендикулярных оси шва, и по конструктивным соображениям. Если такое армирование может полностью воспринять данные растягивающие усилия, то в формуле (6.2) вместо 2Rbt допускается принимать 3Rbt.

Если шпоночный шов обжат усилием N, перпендикулярным плоскости шва, то высоту шпонки допускается определять по формуле

hk = (Q2 - 0,7N)/(2Rbt lknk)                                                  (6.3)

и принимать уменьшенной против высоты, определяемой по формуле (6.2), но не более чем в два раза.

6.5 Отверстия и проемы

6.5.1 В тонкостенных пространственных конструкциях допускается проектировать отверстия и проемы различной формы в пределах расстояния между диафрагмами или ребрами жесткости, а также большей величины, но с проверкой расчетом. Световые проемы могут устраиваться также с применением перепада поверхностей покрытия или раздвижки оболочек, складок или сводов.

При больших размерах проемов в плите рекомендуется устраивать распорки и раскосы, которые вместе с окаймляющими ребрами образуют раму или ферму, способную воспринять нормальные или касательные усилия, или только нормальные усилия. Возможно применение специальных металлических конструктивных элементов, обеспечивающих прочность и жесткость железобетонных элементов оболочек с отверстиями и поддерживающих светопрозрачные панели.

6.5.2 Отверстия в плите оболочек и складок с размером сторон (или диаметром) не более 15d допускается устраивать без специального утолщения края плиты, но с установкой конструктивной арматуры, окаймляющей отверстие, диаметром не менее 8 мм при d > 30 мм.

Отверстия рекомендуется проектировать круглыми, овальными или многоугольными с округлением углов радиусом r ³ 2d (рис. 6.7).

1 - арматура; 2 - стык арматуры с перепуском на 30d или равнопрочный сварной стык

Рисунок 6.7 - Окаймляющее армирование отверстий

6.5.3 В зоне отверстий плиты размером более 15d края полок и стенок должны иметь утолщение и армирование, принимаемое по расчету. Утолщение должно иметь высоту ³ 3d, ширину ³ 2d и площадь бетона и арматуры не менее чем площадь бетона и арматуры в поперечном сечении вырезанной части плиты. Отверстия, устраиваемые в растянутых полках или стенках, должны иметь в ребрах количество арматуры, достаточное для восприятия усилия, приходящегося на вырезанную часть полки или стенки.

6.6 Деформационные швы

6.6.1 В пространственных покрытиях и перекрытиях в соответствии с п. 8.2.3 СП 52-101 следует предусматривать их разрезку постоянными и временными температурно-усадочными швами, расстояние между которыми назначают в зависимости от климатических условий, конструктивных особенностей сооружения, последовательности производства работ и т.п. Кроме того:

в многопролетных покрытиях швы следует устраивать между парными бортовыми элементами (рис. 6.8);

в складчатых и волнистых сводчатых покрытиях деформационные швы, с целью повышения их водонепроницаемости, рекомендуется проектировать на гребне у складки или волны свода;

температурно-усадочные деформации пространственных конструкций должны компенсироваться за счет гибких или качающихся колонн, а также катучих, скользящих или упруго-деформируемых (полимерных прокладок) опорных устройств. При больших (100 м и более) пролетах, как правило, применяют свободно податливые опоры при условии неподвижного закрепления покрытия не менее чем в двух точках по сторонам контура или в углах;

деформационные швы покрытия должны совпадать со швами, перерезающими стены, если специально не предусмотрены мероприятия для независимого деформирования стен и покрытия.

6.6.2 Покрытия с круглым или полигональным планом (оболочки вращения, складчатые купола и т.п.) диаметром более 40 м, в которых не могут быть предусмотрены деформационные швы, должны опираться по контуру на гибкие колонны или подвижные опоры в радиальном направлении, допускающие компенсацию температурных и усадочных деформаций.

6.6.3 В распорных покрытиях пролетом более 40 м, опирающихся жестко или шарнирно непосредственно на фундаменты, температурно-усадочные деформации рекомендуется учитывать как при расчете, так и при конструировании.

а - в направлении l2; б - в направлении l1; 1 - бортовая балка; 2 - ферма-диафрагма; 3 - оболочка; 4 - колонна; 5 - шов

Рисунок 6.8 - Пример решения температурного шва

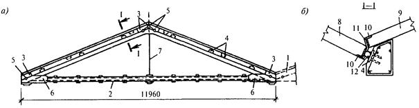
7 Своды

Основные положения

7.1 Своды представляют собой несущую железобетонную пространственную конструкцию покрытия в виде изогнутой вдоль оси гладкой или волнистой плиты, обладающей распором и работающей на сжатие с изгибом.

Сводчатые покрытия проектируются, как правило, из сборных железобетонных элементов для прямоугольных в плане однопролетных или многопролетных зданий. По продольным краям (вдоль образующей) своды могут опираться на колонны, стены или непосредственно на фундаменты.

Распор сводов воспринимается затяжками (рис. 7.1) из стали или железобетона, поперечными стенами, рамами, контрфорсами или фундаментами (рис. 7.2). При проектировании сводов следует учитывать податливость элементов или конструкций, воспринимающих распор. Уменьшение податливости поперечных стен, контрфорсов и фундаментов может быть обеспечено установкой затяжек, расположенных ниже уровня пола.

Рисунок 7.1 - Своды с затяжками

Рисунок 7.2 - Своды без затяжек

7.2 Очертание свода рекомендуется принимать по дуге окружности, параболе, цепной линии или другим близким к ним кривым. Своды призматического (полигонального) очертания состоят из прямолинейных участков, вписанных в дугу указанных выше кривых.

Очертание сводов, секции которых состоят из трех и большего числа элементов, с целью сокращения числа типоразмеров элементов рекомендуется принимать по дуге окружности.

7.3 Стрелу подъема сводов (в ключе) в зависимости от назначения и размеров перекрываемого помещения, способов восприятия распора, архитектурных требований и других условий рекомендуется принимать в пределах от 1/2 до 1/10 величины перекрываемого пролета.

7.4 По форме поперечного сечения (вдоль образующей) сводчатые покрытия делятся на цилиндрические (с прямолинейной образующей верхней поверхности), складчатые и волнистые. Придание поперечному сечению сводов складчатого (треугольного, трапециевидного) или волнистого очертания (рис. 7.3) повышает несущую способность сводчатых покрытий и позволяет существенно увеличить их пролет.

а - цилиндрические своды; б - складчатые своды (типы 1 и 2); в - волнистые своды (типы 1, 2, 3)

Рисунок 7.3 - Поперечные сечения сводчатых покрытий

По условиям изготовления элементов сборных сводчатых покрытий, удобству укладки утеплителя и устройства кровли цилиндрические и складчатые своды предпочтительнее волнистых.

Сборные элементы сводчатых покрытий рекомендуется изготовлять с пароизоляционным слоем, утеплителем и слоем кровельного ковра.

7.5 Деформативность складчатых и волнистых сводов в продольном направлении позволяет проектировать их без температурно-усадочных швов. При этом продольный каркас здания, служащий опорой для сводов, должен быть рассчитан на температурные воздействия. В случае необходимости устройства в каркасе деформационных швов в сводах между складками или волнами также должны устраиваться швы, перекрываемые компенсаторами.

Складки или волны сводов, примыкающие к деформационным швам, должны конструироваться с затяжками-распорками, диафрагмами и т.п., исключающими возможность деформации контура их поперечного сечения.

7.6 В сводчатых покрытиях могут быть предусмотрены проемы для зенитных светоаэрационных фонарей, вытяжных шахт и т.п. с учетом рекомендаций п. 6.5 настоящего СП. Допускается подвешивать к сводам кран-балки или другое грузоподъемное оборудование, а также трубопроводы, площадки и т.п. При этом сосредоточенные нагрузки рекомендуется прикладывать в местах расположения подкрепляющих ребер и переломов поверхности свода.

7.7 Своды рекомендуется проектировать из тяжелого или легкого бетона. Проектные классы бетонов назначаются по расчету с учетом рекомендаций п. 5 настоящего СП. Швы между сборными элементами сводчатых покрытий проектируются с замоноличиванием мелкозернистым бетоном класса по прочности на сжатие не менее В15.

7.8 Монолитные своды проектируются преимущественно цилиндрическими, очертание которых, по возможности, приближается к кривой давления от постоянной нагрузки. В сводах пролетом более 12 м следует предусматривать подкрепляющие ребра, расположенные в направлении перекрываемого сводом пролета. При проектировании монолитных сводов следует учитывать рекомендации п. 6.1 настоящего СП.

Рекомендации по расчету сводов

7.9 Своды рекомендуется рассчитывать как двухшарнирные или трехшарнирные тонкостенные арки (при наличии шарнирного стыка в ключе свода). Рассчитывается одна секция цилиндрического свода, складка или волна складчатого либо волнистого свода. При этом сечение складок или волн принимается недеформируемым. Работа крайних волн сводов в поперечном направлении учитывается согласно рекомендациям п. 7.20 настоящего СП.

Своды по предельным состояниям рассчитываются согласно СНиП 52-01 и с учетом рекомендаций п. 4.2 настоящего СП. При расчете сводов величины нагрузок и воздействий принимают согласно СНиП 2.01.07. При расчете элементов, воспринимающих опорные реакции сводов (затяжки, опорные фермы, контрфорсы и т.п.), снеговая нагрузка принимается равномерно распределенной по всему пролету свода.

Сосредоточенные нагрузки от подвесного грузоподъемного или другого оборудования, а также полосовые нагрузки рекомендуется полностью учитывать при расчете тех складок или волн свода, к которым они непосредственно приложены, без учета их взаимодействия со смежными складками или волнами.

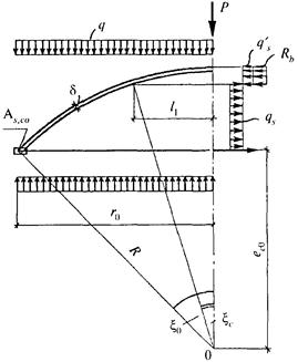
Рисунок 7.4 - Расчетная схема свода

7.10 При расчете сводов постоянного сечения со стрелой подъема f > l/8 следует учитывать нагрузку gx (дополнительную нагрузку, вызываемую уклоном покрытия в сечениях, отстоящих на расстоянии х от опоры), которая увеличивается в направлении от ключа к пятам (рис. 7.4) по кривой, определяемой формулой

                                                   (7.1)

где g - постоянная нагрузка в ключе свода;

j - угол наклона касательной к оси свода в рассматриваемом сечении.

При очертании оси сводов по дуге окружности (рис. 7.4) R0, j, у, s определяются по формулам:

                                                      (7.2)

                                                   (7.3)

y = f - R0(1 - cosj);                                                      (7.4)

                                                                   (7.5)

При расчете складчатых сводов с треугольным очертанием поперечного сечения, распор которых воспринимается затяжками, расположенными в двух уровнях (см. рис. 7.9 и 7.10), следует принимать, что усилия между затяжками распределяются равномерно, при этом равнодействующая усилий в затяжках расположена в середине расстояния между ними по высоте.

7.11 Формулы для определения опорных реакций в двухшарнирной арке при равномерно распределенной, увеличивающейся к пятам (п. 7.10) и односторонней нагрузках с учетом влияния смещения опор и упругого обжатия арки на величину распора приведены в табл. 7.1.

Таблица 7.1

Схема нагрузки

Вертикальные реакции

Распор

VA = VB = gl/2

H = kgl2/(8f)

VA = VB = m1g1l

H = m2kg1l

VA = 3pl/8

VB = pl/8

H = kpl2/(16f)

Коэффициенты m1 и т2 принимаются по табл. 7.2.

Таблица 7.2

f/l

m1

т2

f/l

m1

т2

1/2

0,061

0,007

1/5

0,142

0,093

1/3

0,099

0,031

1/6

0,15

0,116

1/4

0,127

0,061

1/7

0,155

0,15

Нагрузку g1 в опорном сечении следует определять по формуле (7.1), принимая угол j в этом сечении равным углу наклона элементов свода, примыкающих к опорам.

Коэффициент k, учитывающий влияние смещения пят вследствие упругого удлинения затяжек и обжатия сводов на величину распора, определяется по формуле

                                              (7.6)

где I и А - момент инерции и площадь поперечного сечения складки или волны свода;

At и Еt - площадь поперечного сечения и модуль упругости стальных затяжек в пределах одной складки или волны свода; для железобетонных затяжек при нагрузках, действующих после их замоноличивания, следует учитывать работу бетона с трещинами;

Таблица 7.3

f/l

Длина оси свода S*

Коэффициент п

f/l

Длина оси свода S*

Коэффициент п

1/2

1,57l

-

1/6

1,07l

0,881

1/3

1,28l

0,696

1/7

1,05l

0,911

1/4

1,16l

0,785

1/8

1,04l

0,931

1/5

1,1l

0,843

1/9

1,03l

0,942

1/10

1,02l

0,952

* Свод очерчен по дуге окружности.

п - коэффициент, принимаемый в зависимости от подъема свода по табл. 7.3;

Е¢ - модуль упругости бетона с учетом ползучести, а также податливости швов между панелями или элементами свода, определяемый по формуле

                                                   (7.7)

где Еb - начальный модуль упругости бетона;

lp - ширина панели или длина элемента свода в направлении перекрываемого пролета, м;

hp - толщина приведенного сечения панели (п. 7.14) или элемента свода;

hs - высота замоноличенного шва.

При восприятии распора сводов контрфорсами, фундаментами, поперечными стенами или другими конструкциями коэффициент k определяется по формуле

                                              (7.8)

где D - горизонтальное смещение пяты свода при единичной величине распора Н.

При расчете на температурные воздействия распор сводов Н определяется по формуле

                                                (7.9)

где a - коэффициент линейного расширения бетона;

 и  - соответственно повышение температуры свода и затяжки.

При определении распора от собственного веса панелей или элементов сборных сводчатых покрытий принимается k = 1. Для сводов со стрелой подъема f ³ 1/3 коэффициент k при всех нагрузках допускается не учитывать.

7.12 Изгибающие моменты М и нормальные силы N в поперечных сечениях складок или волн сводов определяются по формулам:

M = M0 - Hy;                                                          (7.10)

N = Q0sinj + H cosj,                                                  (7.11)

где M0 и Q0 - изгибающий момент и поперечная сила в соответствующем сечении однопролетной балки пролетом l;

Н - распор складки или волны свода;

у - ордината оси свода в рассматриваемом сечении.

7.13 Прочность сводов при внецентренном сжатии следует проверять в сечениях, расположенных в четвертях пролета, где при односторонней снеговой нагрузке возникают максимальные положительный и отрицательный изгибающие моменты. Проверка прочности сечений сводов производится согласно СНиП 52-01 и СП 52-101 при усилиях, определяемых по формулам (7.10) и (7.11).

При наличии сосредоточенных нагрузок проверяется прочность сечений с наибольшими изгибающими моментами.

7.14 При расчете складки свода (рис. 7.3, б, тип 1) принимается ее приведенное поперечное сечение (рис. 7.5), эквивалентное фактическому по площади и моменту инерции. Толщина приведенного сечения панелей свода в их средней части определяется путем деления площади поперечного сечения, расположенной между осями смежных поперечных ребер, на расстояние между ребрами в осях.

Приведенное поперечное сечение складки свода образуется путем суммирования толщины двух панелей по горизонтальному сечению.

7.15 Высота поперечного сечения складок свода h (рис. 7.3, б, тип 1) определяется из условия, чтобы определенная по деформированной схеме (СП 52-101) величина эксцентриситета приложения нормальной силы относительно центра тяжести сечения не превышала 0,7у, где у - расстояние от центра тяжести сечения до его края в сторону эксцентриситета. При соблюдении этого условия расчет сечений производят как для внецентренно сжатых бетонных элементов без учета сопротивления растянутой зоны. При этом в растянутой зоне сечения, согласно СП 52-101, должна быть установлена конструктивная арматура. С учетом знакопеременных изгибающих моментов эта арматура устанавливается в панелях у верхнего и нижнего краев поперечного сечения складки. В случае, если при соблюдении условия е0h £ 0,7у прочность складки окажется недостаточной, рекомендуется увеличить высоту ее поперечного сечения. По краям поперечного сечения складки в панелях устанавливается рабочая арматура, и сечение складки рассчитывается как железобетонное. Рабочая арматура в панелях устанавливается также в тех случаях, когда высота сечения складок ограничена архитектурными требованиями.

7.16 При расчете складчатых и полигональных сводов (рис. 7.3, б и рис. 7.8) следует учитывать дополнительный положительный изгибающий момент M1, возникающий вследствие прямолинейности участков складки или элементов полигональных сводов и определяемый по формуле

M1 = Ne1.                                                             (7.12)

Величина эксцентриситета е1 (рис. 7.6) определяется по формуле

                                                  (7.13)

где R0 - радиус оси свода;

j0 - центральный угол, ограничивающий края прямолинейного элемента складки.

а - сечение панели свода; б - приведенное сечение панели; в - приведенное сечение складки свода

Рисунок 7.5 - Приведенное поперечное сечение складки свода

Рисунок 7.6 - Эксцентриситет приложения нормальной силы на прямолинейных участках складки

Рисунок 7.7 - Расчетная схема опорной панели

7.17 Расчетная длина свода l0 в направлении перекрываемого пролета принимается равной:

- для двухшарнирных сводов l0 = 0,54S;

- для трехшарнирных сводов l0 = 0,58S,

где S - длина оси свода, определяемая по табл. 7.3.

7.18 Ребристые панели складчатого свода (рис. 7.9) следует рассчитывать на изгиб от местной постоянной и снеговой нагрузок по короткому пролету, принимая, что опоры панелей являются шарнирными и находятся в местах стыков между ними, по линиям переломов очертания складок. Этим расчетом определяется сечение арматуры в поперечных ребрах панелей. Усилия в арматуре поперечных ребер уменьшаются вследствие наклонного положения панелей. Сечение арматуры в продольных ребрах рекомендуется определять из условия прочности панелей при транспортировании и монтаже.

Сплошные опорные панели (рис. 7.9) рассчитываются на изгиб в своей плоскости как балки-стенки на двух опорах от равномерно распределенных по сечению складки нормальных сжимающих сил. При этом принимают, что опорами панелей являются затяжки сводчатого покрытия (рис. 7.7). Величину растягивающего усилия в рабочей арматуре Ns, устанавливаемой у примыкающего к фермам продольного края панелей, допускается определять по формуле

Ns = 0,2ql,                                                              (7.14)

где ql - нормальное усилие, воспринимаемое опорной панелью между затяжками.

Сечение арматуры в каркасах опорных панелей и расстояние между каркасами в обоих направлениях рекомендуется определять по расчету на поперечную силу и на раскрытие трещин.

а - из секций шириной 6 м; б - то же, шириной 1,5 - 3 м; в - опорный узел; г - свод из складчатых ребристых панелей; 1 - рядовые панели; 2 - опорные панели; 3, 4 - предварительно напряженные железобетонные или стальные затяжки; 5 - подвески; 6 - накладки; 7 - отверстие для затяжки

Рисунок 7.8 - Полигональные своды из ребристых плит

7.19 Опорные фермы (рис. 7.10) следует рассчитывать на нагрузку от вертикальной опорной реакции складки свода. Принимается, что половина этой реакции приложена в виде сосредоточенной силы в коньковом узле фермы, в котором закреплена верхняя пара затяжек, а остальная часть опорной реакции передается непосредственно на колонны, над которыми установлены нижние затяжки. При расчете верхнего пояса фермы следует учитывать также распределенную нагрузку его собственного веса, нагрузки опорных панелей и плит продольного карниза.

Опорную ферму допускается рассчитывать как раму с затяжкой с учетом жесткости конькового узла.

7.20 Жесткость поперечных сечений крайних складок или волн сводов, примыкающих к торцевым стенам и деформационным швам, должна обеспечиваться затяжками-распорками (см. п. 7.30), диафрагмами, ребрами или другими конструктивными мероприятиями.

7.21 Расчетные усилия в элементах сводов на нагрузки и воздействия в период изготовления, перевозки и монтажа определяются с учетом рекомендаций п. 4.2.2 настоящего СП.

Конструирование сборных сводов

Конструирование цилиндрических и призматических (полигональных) сводов

7.22 Сборные цилиндрические своды проектируют из цилиндрических ребристых, а полигональные - из плоских ребристых плит.

При членении цилиндрических сводов по поперечному сечению на два элемента их рекомендуется проектировать трехшарнирными. При большем количестве сборных элементов своды, как правило, проектируются двухшарнирными.

Разновидностью цилиндрических сводов являются сегментные своды, собираемые из панелей-оболочек КЖС и проектируемые согласно рекомендациям, приведенным в разделе 14.2 настоящего СП.

7.23 Полигональные своды рекомендуется проектировать из ребристых плит, изготовляемых в формах для типовых плит, с размерами сторон 1,5´6 м или 3´6 м (рис. 7.8, а, б). Ребра плит по краям каждой монтажной секции должны обеспечивать прочность и жесткость свода.

Возможно применение также складчатых панелей с переломами поверхности полки и изломами ребер в продольном направлении для образования конструкции трехшарнирного свода (рис. 7.8, г).

В полигональных сводах к стержням рабочей арматуры ребер в углах панелей следует приваривать закладные детали, которые в пределах каждой секции должны соединяться между собой накладками, обеспечивающими непрерывность армирования ребер в пределах всего перекрываемого пролета.

Торцы плит, примыкающих к опорам, должны быть запроектированы с учетом устройства отверстий для пропуска затяжек и образования плоскостей для опирания сводов на опорные конструкции (рис. 7.8, в).

Цилиндрические и полигональные своды рекомендуется проектировать с учетом возможности их монтажа укрупненными элементами, длина которых равна величине перекрываемого пролета.

Конструирование складчатых сводов

Своды с треугольным поперечным сечением складок

7.24 Складчатые своды с треугольным очертанием сечения (рис. 7.3, б, тип 1) рекомендуется проектировать из трапециевидных железобетонных ребристых панелей с плоской верхней поверхностью (рис. 7.9).

Ширину b примыкающих друг к другу тонкостенных складчатых арок (складок), образующих свод, принимают, как правило, равной 6 - 12 м в соответствии с шагом несущих колонн. В общественных зданиях ширину складок допускается принимать равной 3 м, если это необходимо по архитектурным соображениям.

Высоту поперечного сечения складок h следует принимать от 1/4 до 1/10 их ширины. При увеличении высоты поперечного сечения складок возрастает несущая способность сводов и обеспечивается возможность перекрытия ими больших пролетов.

7.25 Сборные панели для складчатых сводов (рис. 7.9) рекомендуется проектировать с учетом изготовления их в стальных формах по обычной поточно-агрегатной технологии. Толщина плит и шаг поперечных ребер определяются расчетом. Ребра панелей армируются сварными арматурными каркасами, рабочую арматуру которых рекомендуется принимать из стали класса А500. Полка толщиной 30 мм армируется сварной сеткой из арматурной проволоки периодического профиля класса В500, диаметром 3 - 4 мм, с размером ячейки 200´200 мм. Толщину панелей и их полок рекомендуется принимать одинаковыми независимо от пролета сводов и стрелы их подъема в ключе. Длина панелей принимается в зависимости от высоты поперечного сечения складки (см. п. 7.25). Ширина панелей принимается, как правило, не более 3000 мм, а для панелей, транспортируемых в положении «на ребро», - 3200 мм.

a - общий вид; б - рядовая панель; в - опорная панель; 1 - рядовые панели; 2 - опорные панели; 3 - опорные фермы; 4 - затяжки; 5 - закладные шнеллеры, усиленные пластиной; 6 - закладные уголки; 7 - закладные пластинки; 8 - отверстия для строповки панелей и установки бандажей; 9 - плиты торцевого карниза

Рисунок 7.9 - Конструкция складчатого свода

При конструировании панели с проемом для зенитного фонаря края проема усиливают ребрами, расположенными в направлении действия основных усилий в складках сводов. Опорные панели вследствие концентрации усилий в местах расположения затяжек или других элементов, воспринимающих распор сводов, проектируют сплошными.

В сводах значительных пролетов для распределения на большую площадь усилий, возникающих в местах закрепления затяжек, может возникнуть необходимость усиления сплошными участками ребристых панелей, примыкающих к опорным панелям свода. Необходимость такого усиления устанавливается расчетом (см. п. 7.18). Все панели складчатого свода, за исключением опорных, рекомендуется принимать с одинаковыми опалубочными размерами.

7.26 При опирании сводов на колонны в качестве бортовых элементов рекомендуется применять треугольные фермы (рис. 7.10, а) с железобетонным верхним и стальным нижним поясами из прокатных профилей или из железобетона с предварительно напряженной арматурой.

7.27 В сводах, опираемых на колонны или продольные стены, распор каждой складки шириной 12 м рекомендуется воспринимать четырьмя затяжками из круглой стали классов С345, С390 или арматурной стали классов А400 и А500. Затяжки располагаются попарно в двух уровнях на расстоянии 6 м друг от друга и пропускаются сквозь отверстия в коньковых и опорных узлах ферм (рис. 7.10, а).

а - опорная ферма; б - примыкание к ферме опорных панелей и плит продольного карниза; 1 - консоль для опирания торцевого карниза у ферм, установленных в крайних пролетах; 2 - швеллеры; 3 - пластина; 4 - закладные пластины; 5 - отверстия для затяжек; 6 - накладка; 7 - подвеска; 8 - опорная панель; 9 - плита продольного карниза; 10 - закладные уголки; 11 - анкер; 12 - фиксатор (стержень, l = 80 - 100 мм)

Рисунок 7.10 - Конструкция опор складчатого свода, распор которого воспринимается затяжками

При расположении опор свода в уровне земли бортовыми элементами могут служить ленточные фундаменты (сборные или монолитные) с верхней наклонной гранью, перпендикулярной оси свода в опорном сечении.

В сводах, опирающихся непосредственно на фундаменты, допускается устройство проемов для ворот в пределах ширины одной складки свода. При этом для восприятия усилий, возникающих в ослабленных проемами складках, должны быть предусмотрены контрфорсы, перемычки или другие элементы, окаймляющие проем.

7.28 Стыки между элементами складчатого свода рекомендуется проектировать с применением монтажных вставок в виде коротких стержней из круглой стали Æ 20 мм, привариваемых при монтаже к закладным уголкам и пластинам, расположенным вдоль продольных краев панелей. Монтажные вставки фиксируют ширину швов между панелями, что обеспечивает необходимую точность монтажа.

7.29 При проектировании складчатых сводов следует учитывать, что монтаж их выполняется, как правило, из укрупненных блоков, состоящих из двух или четырех панелей, в зависимости от грузоподъемности монтажных кранов. Укрупненные блоки собираются на кондукторе из панелей, соединяемых на гребне складок накладками из листовой стали. Конструкцию укрупненных монтажных блоков рекомендуется проектировать с учетом обеспечения их неизменяемости при монтаже, например, временными затяжками.

Конструкцию свода и укрупненных монтажных блоков рекомендуется проектировать с учетом сборки складок с помощью инвентарного передвижного кондуктора (рис. 7.11). Распалубка складок может производиться после достижения бетоном швов кубиковой прочности 0,2 МПа.

7.30 В крайних складках сводов, примыкающих к торцам перекрываемых зданий, в плоскости швов между панелями через каждые две панели, но не более чем через 7 м, следует устанавливать жесткие затяжки-распорки из двух уголков, предельная гибкость которых должна быть не более 200. Конструкция примыкания складок к торцевым стенам не должна препятствовать их вертикальным перемещениям.

7.31 В многопролетных сводах рекомендуется применять опорные фермы, воспринимающие опорные реакции сводов двух смежных пролетов. Верхние пояса ферм, к которым примыкают опорные панели сводов, имеют наклонные плоскости с обеих сторон. Затяжки в опорных фермах смежных пролетов рекомендуется закреплять в соответствии с рис. 7.12.

7.32 В сводах пролетом не более 24 м при ширине складок 6 м и высоте их поперечного сечения не более 1 м складки проектируются с двумя затяжками, расположенными в одном уровне в опорном сечении.

7.33 Подвески, воспринимающие усилия от грузоподъемного оборудования (кран-балок, тельферов, транспортерных галерей и т.п.), рекомендуется крепить к накладкам из листовой стали, соединяющим панели на гребнях складок.

Своды с трапециевидным поперечным сечением складок

7.34 В сводах с трапециевидным очертанием поперечного сечения складок (рис. 7.3, б, тип 2 и рис. 7.13) ширину складок b, исходя из условия транспортирования элементов, рекомендуется принимать не более 3 м, высоту поперечного сечения h - от 1/4 до 1/6b и ширину горизонтальных полок b1 - от 1/8 до 1/10b в зависимости от величины перекрываемого пролета.

1 - укрупненные монтажные блоки

Рисунок 7.11 - Схема инвентарного передвижного кондуктора для монтажа свода

1 - опорные панели; 2 - муфта; 3 - труба или полый цилиндр; 4 - стержень с резьбой на двух концах

Рисунок 7.12 - Закрепление затяжек смежных пролетов в опорных фермах

Рисунок 7.13 - Трапециевидное поперечное сечение элемента свода

Длину прямолинейных элементов сводов рекомендуется принимать в пределах от 2 до 6 м.

7.35 Толщину горизонтальных полок по верхнему и нижнему краям поперечного сечения элементов сводов, в которых устанавливается рабочая (или конструктивная) арматура, рекомендуется принимать не менее 60 мм, а боковых наклонных граней, армируемых сетками из обыкновенной арматурной проволоки, - не менее 30 мм.

7.36 Соединение трапециевидных элементов складок рекомендуется выполнять с помощью сварки закладных деталей на торцевых частях элементов и последующего замоноличивания швов мелкозернистым бетоном. Для стыкования продольной арматуры, расположенной в полках складок, предусматриваются закладные пластины, приваренные к концам арматурных стержней.

7.37 Сводчатые покрытия пролетом до 24 м с трапециевидным поперечным сечением складок рекомендуется проектировать с учетом монтажа складок укрупненными блоками длиной, равной величине перекрываемого пролета.

Конструирование волнистых сводов

7.38 Если волнистые своды состоят из элементов, поперечное сечение которых имеет вид, представленный на рис. 7.3, в, тип 1, они носят название бочарных сводов.

Для бочарных сводов пролетами от 48 до 100 м, нашедших применение в строительстве, отношение стрелы подъема к пролету принималось в диапазоне 1/10 - 1/12. Ширина свода 6 - 12 м. Поверхность бочарного свода образуется перемещением вдоль оси дуги окружности или параболы таким образом, что плоскость образующей остается перпендикулярной оси свода. Опорная зона свода имеет переменную высоту сечения, постепенно переходящую от профиля средней зоны к прямой линии опор. Форма поверхности сборных плит может быть различной в зависимости от схемы разрезки - продольной или поперечной. Размеры сборных ребристых плит обычно 3´6 или 3´12 м. Боковые поверхности ребер плит выполняются со шпонками, обеспечивающими передачу сдвигающих усилий. Соединение плит между собой производится обычно сваркой закладных деталей или выпусков арматуры. Затяжки бочарных сводов могут выполняться предварительно напряженными железобетонными или стальными. В качестве напрягаемых элементов применяют стержневую арматуру и высокопрочную проволочную арматуру в виде прядей и стальных канатов. Затяжки, воспринимающие распор свода, крепятся непосредственно к опорным балкам, воспринимающим вертикальные и горизонтальные (в промежутках между затяжками) нагрузки (рис. 7.14).

а - продольный разрез по своду; б - план раскладки плит; в - поперечный разрез по средней зоне; г - то же, по опорной зоне; 1 - опорный блок; 2 - бортовые элементы; 3 - стальная подвеска; 4 - средняя плита с отверстиями; 5 - блок затяжки; 6 - плита опорной зоны; 7 - балка диафрагмы

Рисунок 7.14 - Схема бочарного свода пролетом 96 м

Волнистые своды выполняют из тонкостенных криволинейных в продольном направлении элементов шириной 2 - 3 м.

7.39 Волнистые своды (рис. 7.3, в, тип 2) выполняют из тонкостенных элементов, криволинейных в направлении пролета с волной шириной до 3 м.

Для перекрытия пролетов до 24 м в тех случаях, когда это целесообразно по условиям изготовления и транспортирования элементов, каждую волну свода можно монтировать из двух криволинейных элементов, стыкуемых в ключе свода (рис. 7.15). При этом стык между элементами может быть шарнирным или жестким. Очертание сводов, волны которых состоят из двух элементов, рекомендуется принимать по кривой давления от постоянной нагрузки.

7.40 Элементы волнистых сводов двоякой кривизны (рис. 7.3, в, тип 3) шириной до 3 м, криволинейные в продольном направлении, по поперечным краям имеют ребра, повышающие жесткость их в поперечном направлении (рис. 7.16). Элементы сводов соединяются сваркой закладных деталей с последующим замоноличиванием стыков.

7.41 Жесткость элементов сводов трапециевидного и волнистого поперечных сечений в период их транспортирования и монтажа до соединения со смежными складками и волнами рекомендуется обеспечивать установкой временных распорок, диафрагм и т.п.

1 - стык элементов свода

Рисунок 7.15 - Свод, монтируемый из двух криволинейных элементов

1 - ребра по поперечным краям элементов

Рисунок 7.16 - Поперечное сечение волнистого свода двоякой кривизны (тип 3)

8 Треугольные и трапециевидные складки

Общие положения

8.1 Складчатые железобетонные пространственные конструкции состоят из плоских элементов - граней, соединенных между собой под углом так, что в месте их сопряжения образуется прямолинейное ребро, через которое от одной грани к другой могут передаваться возникающие в них усилия (касательные усилия, нормальные усилия и изгибающие моменты). В стыке граней рекомендуется предусматривать утолщения (вуты), что позволяет улучшить работу сопряжений граней на изгиб, упростить устройство опалубки и улучшить размещение арматуры.

8.2 Складчатые конструкции могут быть разделены на две основные группы: балочные складки и призматические складки или складчатые оболочки. К балочным складкам могут быть отнесены треугольные и трапециевидные складки с жестким поперечным сечением, которые могут быть рассчитаны и законструированы по схеме простой балки в предположении линейного распределения продольных деформаций по высоте сечения. В этом случае часто для повышения жесткости граней из их плоскости предусматриваются подкрепляющие ребра или диафрагмы жесткости.

Призматические складки или складчатые оболочки рассчитывают и проектируют с учетом деформаций поперечного контура. Призматические складки аналогично длинным цилиндрическим оболочкам имеют продольные бортовые балки, в которых размещается вся или большая часть продольной растянутой арматуры, и поперечные жесткие диафрагмы по торцам складок (см. п. 8.6 настоящего СП).

8.3 Конструктивные схемы треугольных и трапециевидных складок и некоторых складчатых систем из них для покрытий и перекрытий приведены на рис. 8.1.

Трапециевидные складки имеют (рис. 8.1, б, в) горизонтальные полки, усиливающие наиболее сжатую и растянутую зоны сечения. С целью устройства плоской верхней поверхности покрытия по складкам могут укладываться плиты, образуя складки замкнутого сечения. В наклонно или горизонтально расположенных гранях складчатых покрытий можно устраивать световые проемы (рис. 8.1, г).

Складчатые конструкции на замкнутом полигональном контуре образуют складчатый распорный купол (рис. 8.1, д). Такие конструкции рассчитываются и конструируются с учетом рекомендаций раздела 5.

а - треугольные складки, образуемые из плоских элементов (плит); б - то же, из Г-образных элементов; в - трапециевидные складки, образуемые из Z-образных элементов; г - устройство световых проемов в треугольных и трапециевидных складках; д - треугольные складки переменного сечения на полигональном плане; е - призматические трапециевидные складки в консольном подвесном покрытии; ж - балочная складка с линейчатыми гранями, очерченными по поверхности гиперболического параболоида

Рисунок 8.1 - Схемы призматических складок и складчатых систем

Имеются примеры проектирования консольно-вантовых покрытий с применением призматических складчатых элементов (рис. 8.1, е). В этом случае складки рассчитываются и конструируются с учетом сил, возникающих в месте крепления вант.

К треугольным складчатым конструкциям могут быть отнесены системы с переменным углом наклона граней. В этом случае грани имеют очертание весьма пологой линейчатой поверхности второго порядка, например, гиперболического параболоида или коноида (рис. 8.1, ж). Растянутый пояс таких складок обычно предусматривается предварительно напряженным.

8.4 Складчатые конструкции могут изготовляться сборными, сборно-монолитными и из монолитного бетона с обычной и предварительно напряженной основной растянутой арматурой, располагаемой в ребрах и поясах. Толщину стенок складок, конструкцию ребер и диафрагм рекомендуется принимать в соответствии с разделом 6 настоящего СП.

Сборные призматические складки проектируются в зависимости от условий их изготовления и монтажа из плоских, Г- или Z-образных элементов, а также элементов треугольного и трапециевидного сечений длиной 2 - 6 м в зависимости от вида и размеров поперечного сечения складчатого покрытия или целыми панельными складками, длина которых равна длине перекрываемого пролета.

Стыки между гранями складок должны проектироваться согласно рекомендациям п. 8.15 настоящего СП.

8.5 Призматические складки треугольного и трапециевидного сечений рекомендуется применять для покрытий однопролетных зданий с пролетами длиной не более 30 м. Грани складок при этом располагаются по направлению пролета и образуют лотки для отвода атмосферной влаги.

Балочные складки шириной менее 3 м рекомендуется опирать на подстропильные балки, фермы и тому подобные элементы или стены, а складки шириной 3 м и более можно опирать непосредственно на колонны.

Рекомендации по расчету

8.6 При расчете призматических складок треугольного и трапециевидного сечений следует различать два случая статической работы конструкции:

а) когда поперечное сечение складки после приложения нагрузки (в том числе и от действия собственного веса) или температурных и других воздействий не испытывает кручения (и, следовательно, нет депланации поперечного сечения) и в нем не возникают поперечные симметричные или асимметричные деформации (a = const, рис. 8.1).

В этом случае в средних волнах многоволновой складки или отдельной складки, имеющей подкрепляющие ребра и диафрагмы, дополнительных касательных и нормальных усилий в поперечных сечениях не возникает. Тонкостенный элемент такой складчатой конструкции может быть рассчитан и законструирован по схеме простой балки в предположении линейного распределения продольных деформаций по высоте сечения. Стенки и полки, непосредственно нагруженные поперечной нагрузкой, рассчитываются и конструируются с учетом их изгиба. Стыки соседних граней между собой и соединения граней с диафрагмами проектируются так, чтобы обеспечить конструктивно их совместную работу;

б) когда в складчатой конструкции, нагруженной полосовой или сосредоточенной нагрузкой либо работающей как тонкостенная пространственная складчатая система (в зоне опирания крайних складок на торцевую стену), поперечные сечения изменяют свою форму. В этом случае складчатую систему рекомендуется рассчитывать по технической теории ортотропных оболочек и призматических складок или методом конечных элементов с учетом геометрической нелинейности. Поперечное армирование граней и стыков между ними в этом случае определяется расчетом складок как пространственной системы.

8.7 Для предварительного расчета призматических складок (соответствующих случаю б), а также для подбора продольной арматуры и вычисления прогибов балочных складок (случай а) допускается приводить сечения складок к тавровому или двутавровому сечению (рис. 8.2) с последующим расчетом их по предельным состояниям согласно СНиП 52-01.

Приведенную толщину бетона стенки b для схем, указанных на рис. 8.2, следует рассчитывать по формуле

                                                            (8.1)

а приведенную толщину b1 (рис. 8.2) по формуле

b1 = 2d1,                                                             (8.2)

где d1 - толщина бортовых элементов;

a - угол наклона боковых граней.

а - к прямоугольным сечениям; б - к тавровым сечениям; в - к двутавровым сечениям

Рисунок 8.2 - Схемы поперечных сечений складок и их приведение для расчета

При расчете прочности складки на поперечную силу по наклонному сечению следует учитывать фактическую толщину наклонных стенок с поправкой на угол наклона.

8.8 Для определения поперечных изгибающих моментов в гранях складок, рассматриваемых как балки с недеформируемым поперечным сечением, а также для предварительных расчетов складок в других случаях допускается рассчитывать их как для полосы неразрезной плиты на шарнирных опорах. За опоры в данном случае принимаются места сопряжения граней, а за пролет плиты - ширина граней. Число пролетов принимается не менее двух и не более пяти. Соответственно конструктивному решению крайняя опора плиты рассматривается как шарнирно-, упруго- или жесткозащемленная.

При этом нормальные усилия для расчета сечений граней допускается определять без учета неразрезности плиты как статически определимые величины.

8.9 Расчет складок открытого профиля рекомендуется производить, как правило, с учетом моментов, вызывающих поперечный изгиб граней. Соответственно армирование плит и подкрепляющих ребер граней, а также их сопряжений рекомендуется проектировать с учетом возможных изгибающих моментов.

Предварительный расчет поперечных моментов в отдельных складках трапециевидного и прямоугольного сечений допускается производить как для консольных плит с защемлением по вертикальной плоскости симметрии.

8.10 Расчет предварительно напряженных стыков складчатых элементов, выполняемых с применением вставок из стержневой арматуры (рис. 8.7), производится по прочности и раскрытию трещин из условия обеспечения сохранности арматуры согласно СП 52-102 и следующим рекомендациям:

а) сечение стержней-вставок As,ins определяется как для железобетонного изгибаемого сечения. Если все стержни и канаты расположены в полке, то сечение стержней-вставок допускается определять по формуле

                                                        (8.3)

где Rs - расчетное сопротивление стали стержней-вставок;

gs - коэффициент условий работы, учитывающий возможные эксцентриситеты и ослабления в зоне анкеровки стыковых стержней, принимаемый равным 0,8;

М - изгибающий момент в сечении стыка;

z0 - плечо внутренней пары;

п - количество стержней;

б) сечение стальных анкерных упоров на вставках и колодок рекомендуется определять: из условия смятия по контактным поверхностям согласно СП 53-102 по формуле

                                                        (8.4)

где Nc - усилие в канате;

 - коэффициент условий работы, равный 0,8;

Rp - расчетное сопротивление смятию стального упора согласно СП 53-102;

Ас - площадь сечения упора;

из условия сжатия бетона под анкерами - согласно СП 52-101 по формуле

                                                       (8.5)

где Ас - площадь сечения анкерной колодки;

Rb - призменная прочность бетона.

Кроме того, расчетное усилие N в предварительно напряженных канатах и стержнях-вставках в растянутой зоне (рис. 8.6) должно удовлетворять условию

N £ Rbs,loc Ab + RsAs,                                                 (8.6)

где Аb - сечение бетона, в котором расположены анкерные колодки;

Rbs,loc - приведенное расчетное сопротивление бетона сжатию с учетом влияния косвенной арматуры в зоне местного сжатия в соответствии с п. 6.2.45 СП 52-101;

As, Rs - соответственно площадь сечения и расчетное сопротивление продольной арматуры в зоне анкеровки канатов и стержней-вставок.

Конструирование складки

8.11 Основную растянутую арматуру балочных складок рекомендуется проектировать прямолинейной предварительно напряженной из высокопрочных арматурных стержней классов А600, А800 или арматурных канатов (допускается применять стержни диаметром 20 мм и более из стали класса А540). При этом диаметр стержней и канатов, располагаемых в утолщенных частях складок и в гранях, выбирается, по возможности, наибольшим с учетом требований СП 52-102.

В случае необходимости расположения предварительно напряженной арматуры на отдельных участках нижней или верхней зон складок (например, в консольно-балочных складках, рис. 8.3) рекомендуется проектировать прямолинейную арматуру только на тех участках, где она требуется по расчету. На других участках складки монтажные стержни или канаты располагаются без сцепления и могут быть удалены после отпуска их натяжения и освобождения складки от формы. Для этого в соответствующем месте обрыва арматуры предусматривают выемки в стенке складки, через которые стержни или канаты могут быть обрезаны или осуществлен разъем соединительных муфт между основной арматурой и монтажным удлинителем. Размеры выемки принимаются:

а - армирование складки; б - деталь выемки для перерезания канатов электродом

Рисунок 8.3 - Пример армирования консольно-балочной складки покрытия прямолинейной предварительно напряженной арматурой с обрывом канатов в соответствии с эпюрой моментов

по направлению, перпендикулярному оси арматуры, а = d + d/2;

по направлению, параллельному оси арматуры, b £ 44 мм;

по глубине с = (d + d)/2,

где d - диаметр стержня или каната.

При достаточной толщине стенки (d ³ 40 мм) возможно применение предварительно напряженной арматуры с отгибом из нижней зоны складки в верхнюю.

8.12 Грани балочных складок армируются одинарными сварными сетками, расположенными в срединной плоскости граней, если они не подвержены изгибу и возможной потере устойчивости, или двойными, располагаемыми в соответствии с эпюрой поперечных изгибающих моментов.

В зонах анкеровки предварительно напряженной арматуры около торцов складок рекомендуется предусматривать поперечную арматуру, предотвращающую расслаивание полок или стенок (рис. 8.4).

8.13 Жесткие узлы сопряжения граней сборных и монолитных складок рекомендуется конструировать как входящие углы железобетонных конструкций с применением пересекающихся стержней или сеток (рис. 8.5) для того, чтобы растянутые стержни имели требуемую длину заделки согласно п. 8.3.21 СП 52-101.

1 - предварительно напряженная арматура; 2 - поперечные стержни; 3 - верхние стержни и их заделка; 4 - сетка

Рисунок 8.4 - Деталь армирования полки и стенки в торцевой зоне самозаанкерования предварительно напряженной арматуры

8.14 С целью упрощения конструкции форм и процесса бетонирования элементов сборных складчатых покрытий изготовление складок может предусматриваться на плоских шарнирных поддонах с последующим изгибанием. В этом случае паз с пересекающей его неразрезной арматурой оставляют незабетонированным (рис. 8.6). После погиба граней до заданного утла наклона могут быть произведены сварка арматуры и установка дополнительных стержней и сеток, а затем замоноличивание узла бетоном прочностью не ниже прочности бетона граней. Предварительно напряженная арматура может натягиваться на упоры или на бетон и располагаться в бетоне замоноличивания.

8.15 Сборные балочные складки трапециевидной или треугольной формы сечения рекомендуется проектировать из отдельных по длине элементов, соединяемых на месте строительства.

Стыки таких элементов следует предусматривать в менее напряженных участках складки, в плоскостях, перпендикулярных продольной оси складки. Минимальная ширина замоноличенного шва принимается с учетом диаметра стыкуемых стержней и конструкции их соединения, но не более 250 мм.

Стыки сборных складок с ненапряженной арматурой, расположенные в зонах действия изгибающих моментов, проектируются с применением сварки выпусков арматуры и последующего замоноличивания шва.

Стыки складок с предварительно напряженной арматурой допускается проектировать шириной не менее 40 мм и не более шага поперечной арматуры в стенках складки без выпусков ненапряженной арматуры. При этом продольная предварительно напряженная арматура складки с натяжением на бетон располагается в пазах или каналах с последующим их замоноличиванием или инъецированием.

а - отдельными стержнями; б - сварными сетками; в - положение сеток при сварке; 1 - верхние стержни; 2 - то же, нижние; 3 - армирование в вутах; 4 - поперечные стержни пересекающихся сеток; 5 - то же, продольные; 6 - места точечной сварки

Рисунок 8.5 - Армирование пересекающимися стержнями жесткого сопряжения граней треугольной складки

1 - бетон замоноличивания; 2 - отгибаемые и свариваемые выпуски; 3 - предварительно напряженная арматура, натягиваемая на упоры формы; 4 - дополнительные сетки

Рисунок 8.6 - Армирование узла складок, изготавливаемых погибом до его замоноличивания

8.16 Стыки в складках трапециевидного сечения, собираемых из предварительно напряженных элементов (рис. 8.7), рекомендуется проектировать приторцованными (допускаемые отклонения зазора касания от проектного не более 0 ¸ +3 мм) с промазкой стыкуемых поверхностей эпоксидным клеем с мелким наполнителем и последующим обжатием с помощью предварительно напряженных арматурных вставок, размещаемых в растянутой зоне складки. Вставки следует принимать из стержневой горячекатаной стали классов А600, А800 с механическим или электротермическим натяжением, выполняемым согласно СП 52-102.

8.17 Формы поперечного сечения призматических складок треугольного и трапециевидного сечений выбираются из условий производства работ, требований архитектурной выразительности, а также с учетом следующих особенностей:

трапециевидные складки с горизонтально направленными полками в сжатой зоне меньше склонны к потере устойчивости наклонных стенок и имеют существенно больший момент инерции, чем треугольные той же высоты;

1 - линия стыка; 2 - предварительно напряженная арматура элемента; 3 - предварительно напряженные вставки; 4 - анкерные колодки

Рисунок 8.7 - Конструкция предварительно напряженного стыка элементов балочных складок

трапециевидные складки с полками только в растянутой зоне удобнее для их опирания и требуют меньше поперечной арматуры на монтажные усилия; их недостатком является необходимость замоноличивания стыка между складками по низу лотка, отводящего с покрытия воду;

замоноличенный стык треугольных складок рекомендуется делать только по верхней кромке;

целесообразно выполнять трапециевидные складки с полками в сжатой и растянутой зонах с замоноличиванием стыка в сжатой зоне.

Наклон и ширину полок рекомендуется выбирать методами оптимального проектирования. Оптимальными являются сечения, обеспечивающие наибольшую жесткость складки для заданной площади сечения.

При совместном действии полезной равномерно распределенной нагрузки и собственного веса оптимальное поперечное сечение должно иметь форму, занимающую промежуточное положение между очертаниями складок, приведенными на рис. 8.8, отвечающими оптимальным поперечным сечениям только для нагрузки, равномерной по площади покрытия (очертание 1), и для нагрузки собственного веса складки (очертание 2).

а - треугольные сечения; б - трапециевидные сечения; 1 - для нагрузки постоянной интенсивности по ширине складки; 2 - для нагрузки собственного веса складки

Рисунок 8.8 - Оптимальные соотношения размеров сечений складок по жесткости

9 Цилиндрические и складчатые оболочки

9.1 Основные положения

9.1.1 Цилиндрическими оболочками (рис. 9.1) называются тонкостенные конструкции, состоящие из следующих основных элементов:

тонкой плиты, очерченной по цилиндрической поверхности (собственно оболочки);

бортовых элементов, окаймляющих оболочку вдоль крайних образующих;

поперечных диафрагм по криволинейным краям, опирающихся на колонны или стены.

Если тонкая плита очерчена по призматической поверхности, вписанной в цилиндрическую, покрытие называется складчатым (рис. 9.2). Оболочки и складки могут быть гладкими и ребристыми.

9.1.2 Расстояние между осями опорных диафрагм l1 называется пролетом оболочки. Расстояние между бортовыми элементами l2 называется длиной волны. Высота оболочки, включая бортовые элементы, обозначается через h. Стрела подъема оболочки без бортовых элементов обозначается через f. Направление по образующей вдоль пролета l1 называется продольным, а по направляющей вдоль пролета l2 - поперечным.

1 - плита оболочки; 2 - диафрагма; 3 - бортовой элемент

Рисунок 9.1 - Цилиндрические оболочки

Рисунок 9.2 -Типы складчатых оболочек

Рисунок 9.3 - Схема оболочки с диафрагмами, не совпадающими с длиной волны

Многоволновые оболочки монолитно связаны между собой и имеют общие бортовые элементы (рис. 9.1, 9.2). При этом различают крайние и промежуточные бортовые элементы.

Расстояние L между осями колонн, поддерживающих диафрагму (рис. 9.3), в общем случае может не совпадать с длиной волны оболочки (складки).

9.1.3 Цилиндрические и складчатые оболочки в зависимости от отношения пролета к длине волны условно подразделяются на длинные - при l1/l2 ³ 1 и короткие - при l1/l2 £ 1.

При определении усилий и расчете оболочек по предельным состояниям следует учитывать рекомендации СП 52-101 и п. 4.2 настоящего СП.

9.2 Рекомендации по расчету длинных цилиндрических и складчатых оболочек

9.2.1 В общем случае определение усилий в длинных цилиндрических оболочках и складках рекомендуется производить с учетом деформации поперечного контура в соответствии с полумоментной теорией. При этом изгибающие моменты M1, действующие на площадках поперечного сечения оболочки, соответствующие им поперечные силы Q1, а также крутящие моменты T и T1 принимаются вследствие незначительной величины равными нулю (рис. 9.4).

а - полная схема усилий; б - усилия, учитываемые при расчете

Рисунок 9.4 - Усилия, действующие в длинных цилиндрических оболочках и складках

Силы N, действующие нормально к площадкам продольного сечения, а также возникающие на тех же площадках поперечные силы Q учитываются в расчете, но не оказывают непосредственного влияния на подбор сечений. Размеры сечений определяются в первую очередь величинами нормальных усилий N1, действующих на площадках поперечного сечения, скалывающими усилиями S и изгибающими моментами М, возникающими на площадках продольного сечения оболочки или складки.

9.2.2 В ряде частных случаев (например, в конструкциях, опертых по углам, при действии равномерно распределенной нагрузки и большой величине отношения l1/l2 при большой жесткости поперечных ребер и др.) взаимное влияние поперечных изгибающих моментов и продольных нормальных усилий отсутствует или настолько незначительно, что для упрощения расчета ими можно пренебречь и рассчитывать оболочки и складки как балки криволинейного поперечного сечения. В каждом отдельном случае применение упрощенных методов расчета должно быть мотивированным.

9.2.3 В многоволновых покрытиях при конструкциях, опертых по углам, крайние полуволны можно приближенно рассчитывать как полуволны одноволновой оболочки или складки, имеющей симметричное сечение (рис. 9.5, а). Средние волны многоволновых оболочек и складок можно приближенно рассчитывать как оболочки (складки), у которых продольные края закреплены от смещений в горизонтальной плоскости и поворота в плоскости поперечного сечения (рис. 9.5, б).

9.2.4 Длинные цилиндрические оболочки и складки по прочности, жесткости и трещиностойкости рекомендуется рассчитывать с учетом образования трещин в бортовых элементах и плите и трещин вдоль образующих в плите (или трещин в поперечных ребрах, которые в сборных конструкциях могут образовываться уже на стадии монтажа конструкции) в соответствии с методами, изложенными в Руководстве (приложение Б). Косые трещины в углах (рис. 9.6) практически не влияют на распределение усилий при эксплуатационных нагрузках в средних, расчетных сечениях оболочки (складки) и при расчете не учитываются. Расчет по образованию трещин в нормальных сечениях и вдоль образующих рекомендуется производить с учетом пластических деформаций в растянутой зоне бетона.

а - схема нагрузки и расчетная схема крайней волны; б - расчетная схема средней волны

Рисунок 9.5 - К приближенному расчету многоволновых оболочек и складок

Рисунок 9.6 - Схема трещин в длинной цилиндрической оболочке

Для расчета длинных цилиндрических оболочек по образованию и раскрытию трещин, жесткости и прочности используется тот же метод расчета с учетом деформаций поперечного контура, что и для упругой системы.

9.2.5 В работе нормальных сечений оболочки или складки с ненапрягаемой арматурой, законструированных согласно рекомендациям настоящего раздела, с увеличением нагрузки от нуля до предельных значений можно различить следующие четыре стадии (рис. 9.7):

стадия I имеет место при малых нагрузках, когда напряжения в растянутой части сечения меньше прочности бетона на растяжение Rbt,ser. Оболочка в указанной стадии рассчитывается как обычная упругая система с учетом того, что арматура увеличивает жесткость бортовых элементов, для этого рекомендуется вводить в расчет приведенные сечения;

Рисунок 9.7 - Стадии напряженного состояния поперечных сечений оболочки (складки)

стадия Iа наступает при достижении предельных значений напряжений и удлинений бетона растянутой зоны. В бетоне образуются трещины, и в местах трещин бетон выключается из работы. В этой стадии работы определяются усилия, которые соответствуют появлению трещин в растянутой зоне сечения;

стадия II (основная рабочая стадия) наступает после появления трещин. В этой стадии определяется раскрытие трещин в растянутой зоне и проверяется жесткость конструкции;

стадия IIа наступает, когда напряжения в арматуре бортовых элементов достигают предела текучести. Данная стадия работы сечения используется при оценке предельного состояния конструкции по прочности. При проектировании конструкции напряжения в арматуре бортовых элементов в этой стадии принимаются равными Rs.

9.2.6 В продольных сечениях оболочки или складки действуют изгибающие моменты и небольшие по величине нормальные силы. Снижение жесткости продольных сечений незначительно влияет на прогибы и несущую способность оболочки. Поэтому для упрощения расчета рекомендуется после появления трещин рассматривать продольные сечения как изгибаемые, определяя жесткость, раскрытие трещин и прочность по формулам СП 52-101.

При достижении предельных моментов в продольных сечениях в оболочке или складке образуются пластические шарниры, величина момента в которых с ростом нагрузки остается постоянной. Образование трех продольных пластических шарниров приводит к значительному увеличению деформаций и раскрытию трещин. Поэтому эта стадия используется при оценке предельного состояния конструкции по прочности, когда причиной разрушения является недостаточная прочность плиты.

9.2.7 Статический расчет конструкции после выбора ее геометрических размеров рекомендуется выполнять в соответствии с методами, изложенными в Руководстве (приложение Б):

определяют продольную арматуру бортовых элементов по формуле 9.1 и рассчитывают конструкцию в упругой стадии с учетом арматуры бортовых элементов;

по полученным из расчета моментам с учетом рекомендаций п. 9.2.9 подбирают поперечную арматуру плиты;

на основе расчета на предыдущем этапе находят положение равнодействующей усилий в сжатой зоне сечения, расстояния от нее до центра тяжести растянутого бетона zb и арматуры zs и величину момента внешних сил Мcrc, соответствующего появлению трещин (пп. 9.2.10 и 9.2.11), и рассчитывают конструкцию с учетом трещин;

из расчета находят эпюру продольных усилий в поперечном сечении конструкции, а по ней - равнодействующую усилий в сжатой зоне, величину плеча внутренней пары сил z и момент внутренних сил Mult;

рассчитывают конструкцию с учетом трещин. По полученным расчетным данным находят перемещения конструкции, а по формуле (9.2) определяют раскрытие трещин в бортовых элементах;

в соответствии с указаниями пп. 9.2.15, 9.2.16 производят расчет угловых зон и диафрагм оболочек.

9.2.8 Площадь основной продольной растянутой арматуры As, устанавливаемой в бортовых элементах, может быть определена по формуле

                                                       (9.1)

где M - изгибающий момент от внешних нагрузок в расчетном поперечном сечении оболочки или складки;

h0 - рабочая высота сечения оболочки или складки, равная полной высоте за вычетом расстояния от нижней грани бортового элемента до равнодействующей усилий в растянутой арматуре.

9.2.9* Поперечную арматуру плиты и арматуру поперечных ребер на участках, примыкающих к бортовым элементам, определяют согласно СП 52-101 по усилиям из расчета оболочек и складок как упругих систем. Для расчета в поперечном направлении необходимо рассмотреть условия равновесия полоски единичной ширины, вырезанной в любом сечении по длине оболочки. Такая полоска представляет собой криволинейную плиту, которую можно рассчитать как круговую бесшарнирную арку пролетом, равным ширине оболочки.

Задача определения усилий сводится к расчету дважды статически неопределимой системы. Решается такая задача системой канонических уравнений метода сил. В средней части сечения значения полученных из такого расчета отрицательных моментов увеличиваются на 25 - 30 %.

9.2.10 Изгибающий момент Мcrc при образовании трещин (стадия Iа на рис. 9.7) определяют без учета неупругих деформаций растянутого бетона как для сплошного упругого тела по пп. 7.28, 7.29 СП 52-101 или с учетом неупругих деформаций растянутого бетона с учетом следующих положений:

сечения после деформирования остаются плоскими;

эпюру напряжений в сжатой зоне бетона принимают треугольной формы как для упругого тела (рис. 9.8);

1 - уровень центра тяжести приведенного поперечного сечения

Рисунок 9.8 - Схема напряженно-деформированного состояния сечения оболочки при проверке образования трещин при действии изгибающего момента и нормальной силы

эпюру напряжений в растянутой зоне бетона принимают трапециевидной формы с напряжениями, не превышающими расчетных значений сопротивления бетона растяжению Rbt,ser.

относительную деформацию крайнего растянутого волокна бетона принимают равной ее предельному значению ebt2 при кратковременном действии нагрузки; при двухзначной эпюре деформаций в сечении элемента ebt2 = 0,00015;

напряжения в арматуре принимают в зависимости от относительных деформаций как для упругого тела.

В предварительно напряженных конструкциях момент образования трещин находят в соответствии с п. 4.2.2 СП 52-102.

9.2.11 Расчет жесткости конструкций цилиндрических оболочек выполняют в соответствии с Руководством (приложение Б). В основе расчета лежит расчет длинных цилиндрических оболочек и призматических складок с учетом деформаций контура по методу В.З. Власова. В расчете учитывается появление поперечных трещин в бортовых элементах и оболочке и продольных трещин в оболочке или трещин в поперечных нефах.

9.2.12* Для расчета трещиностойкости оболочки в стадии эксплуатации необходимо учесть напряжения, возникающие в бортовой балке на всех этапах ее работы, в том числе на всех этапах монтажа, в соответствии с рекомендациями п. 4.2.2 настоящего СП. Ширину раскрытия нормальных трещин определяют по формуле

                                                    (9.2)

где ss - напряжение в продольной растянутой арматуре в нормальном сечении с трещиной от соответствующей внешней нагрузки;

ls - базовое (без учета влияния вида поверхности арматуры) расстояние между смежными нормальными трещинами;

ys - коэффициент, учитывающий неравномерное распределение относительных деформаций растянутой арматуры между трещинами;

j1 - коэффициент, учитывающий продолжительность действия нагрузки, принимаемый равным: 1,0 - при непродолжительном действии нагрузки; 1,4 - при продолжительном действии нагрузки;

j2 - коэффициент, учитывающий профиль продольной арматуры, принимаемый равным: 0,5 - для арматуры периодического профиля; 0,8 - для гладкой арматуры;

j3 - коэффициент, учитывающий характер нагружения, принимаемый равным: 1,0 - для элементов изгибаемых и внецентренно сжатых; 1,2 - для растянутых элементов.

Значения ss, ls и ys находят по п. 7.2 СП 52-101 и п. 4.2 СП 52-102.

9.2.13 В поперечном сечении оболочки или складки момент внутренних сил Mult определяется как произведение усилий в основной растянутой арматуре бортовых элементов, соответствующих достижению ею расчетных сопротивлений, на расстояние до равнодействующей усилий в сжатой зоне сечения (рис. 9.7, стадия IIа) по формуле

Mult = As Rs z.                                                         (9.3)

Если при этом в каком-либо продольном сечении оболочки изгибающий момент соответствует предельному, то в нем образуется пластический шарнир. С ростом нагрузки момент в сечении сохраняет постоянную величину, равную предельному моменту. Если же в плите образуется три продольных пластических шарнира при нагрузках меньше расчетных, то поперечная арматура должна быть усилена.

9.2.14 Если момент внутренних сил Mult более чем на 5 % отличается от момента внешних сил M, возникающего от расчетных нагрузок, то количество основной растянутой арматуры должно быть скорректировано и произведен перерасчет.

Количество поперечной арматуры, принятой по результатам предварительного расчета, корректируется с учетом расчетных усилий при наличии трещин в поперечных и продольных сечениях оболочки.

9.2.15 Усилия в угловых зонах оболочек и складок рассчитываются как для упругих систем.

Во избежание хрупкого разрушения оболочек и складок в углах от скалывания величина скалывающих напряжений не должна превышать 2,5Rbt. На участках, где напряжения скалывания больше указанной величины, необходимо осуществлять местное утолщение плиты. При этом производить перерасчет конструкции не требуется.

9.2.16 Диафрагмы рассчитываются как плоские стержневые или балочные конструкции. Нагрузкой на них являются собственный вес и опорное давление, передаваемое в виде сдвигающих сил S (рис. 9.9). Эти силы являются касательными к срединной поверхности оболочки или складки, обратными по направлению и равными по величине сдвигающим усилиям в оболочке на контуре.

Величина сдвигающих сил определяется из расчета оболочек и складок как упругих систем.

При расчете диафрагм следует учитывать эксцентричное приложение сдвигающих сил по отношению к оси элементов конструкции.

Рисунок 9.9 - Схема передачи усилий с оболочки на диафрагму

Конструирование длинных цилиндрических и складчатых оболочек

Выбор схемы и очертаний элементов цилиндрических оболочек

9.2.17 Высоту оболочки h, включая высоту сечения бортовой балки, рекомендуется назначать равной (1/6 - 1/8)l1, а стрелу подъема f равной (1/6 - 1/8)l2.

Продольные края оболочки в пролете могут оставаться свободными или опираться на колонны или стены.

Поперечное сечение оболочек может быть очерчено по дуге круга, эллипса или по другой кривой. Рекомендуется принимать круговое очертание как наиболее простое в производстве работ.

Схемы сечений оболочек и складок приведены на рис. 9.1 - 9.3.

9.2.18 Сборные и сборно-монолитные цилиндрические оболочки обычно выполняют ребристыми. Монолитные оболочки предпочтительно делать гладкими, так как устройство ребер усложняет производство работ. Ребристые монолитные оболочки (рис. 9.10) рекомендуется применять лишь в тех случаях, когда вследствие наличия сосредоточенных нагрузок, особенностей очертания оболочки, условий ее опирания, больших пролетов или других причин поперечные изгибающие моменты настолько велики, что требуют для гладкой оболочки слишком большой толщины и устройства очень массивных бортовых элементов. Ребра в монолитной оболочке могут потребоваться также для обеспечения ее устойчивости.

9.2.19 Бортовые элементы, в которых размещается основная растянутая арматура, существенно снижают величину напряжений растяжения, уменьшают вертикальные и горизонтальные перемещения краев оболочки. Выбор типа бортовых элементов зависит в основном от условий опирания краев оболочки. Бортовые элементы для оболочек со свободно висящими краями рекомендуется принимать в виде балок, расположенных ниже края оболочки (рис. 9.11, а). Для сборных конструкций балки в целях снижения их массы могут быть двутаврового сечения.

Рисунок 9.10 - Ребристая оболочка

При необходимости бортовые элементы могут располагаться выше края оболочки (рис. 9.11, б). Они выполняются прямоугольного сечения (возможно, с приливами) или L-образного сечения (рис. 9.11, в). Если края оболочки (складки) подперты, то бортовой элемент целесообразно проектировать в виде горизонтальной плиты (рис. 9.11, г).

Размеры сечений бортовых элементов определяются расчетными и конструктивными соображениями. Примерные размеры сечений этих элементов в долях от полной высоты сечения оболочки приведены на рис. 9.11. Примерную высоту сечения бортовых элементов в долях пролета l1 рекомендуется принимать равной 1/20 - 1/30.

Промежуточные бортовые элементы, соединяющие отдельные волны многоволновых оболочек, проектируются обычно аналогично крайним бортовым элементам по одному из типов, изображенных на рис. 9.11.

9.2.20 Средние и торцевые диафрагмы устраиваются обычно в виде арок с затяжкой (рис. 9.12). Это решение наиболее экономично по расходу материалов.

При небольшом пролете волны оболочки и небольшой стреле подъема диафрагмы могут проектироваться в виде балок переменной высоты. Для облегчения диафрагмы и пропуска коммуникаций в стенке балок устраиваются отверстия.

Возможны и другие, реже используемые диафрагмы в виде криволинейного бруса при опирании на стену; в виде рам с криволинейным ригелем, если распор воспринимается каркасом пристроек; в виде ферм при значительных пролетах волны оболочки и т.д.

Диафрагмы обычно проектируются вертикальными, однако, при необходимости, они могут быть наклонными и криволинейными.

9.2.21 Фонарные проемы и другие отверстия рекомендуется располагать в верхней части оболочки в продольном направлении. Размер отверстий в поперечном направлении рекомендуется назначать не более (1/4 - 1/3)l2, в продольном направлении размеры отверстий не ограничиваются. Отверстия в оболочках окаймляются рамками и усиливаются через 2 - 3 м распорками (рис. 9.13).

Выбор схемы и очертаний элементов складчатых оболочек

9.2.22 Поперечное сечение монолитных складчатых покрытий проектируется по одному из типов, показанных на рис. 9.2. Ширину граней монолитной складки рекомендуется принимать не более 3 - 3,5 м, исходя из условия, чтобы толщина плиты получалась не более 100 мм. Ширина верхней грани в складках назначается равной (0,25 - 0,4)l2. Целесообразно, чтобы все грани были одинаковыми по ширине.

Рисунок 9.11 - Бортовые элементы

Рисунок 9.12 - Диафрагмы цилиндрических оболочек

Рисунок 9.13 - Схема оболочки с фонарным проемом

При указанной предельной ширине граней складки длина волны монолитной складки может достигать не более 10 - 12 м. Сборные складки рекомендуется делать ребристыми. При величине l2 > 10 - 12 м рекомендуется применять складчатые с числом граней больше, чем указано на рис. 9.2, или в крайнем случае усиливать грани складки поперечными ребрами. Высоту складчатых оболочек без предварительного напряжения рекомендуется назначать не менее 1/10l1. Бортовые элементы в них проектируются такими же, как и в цилиндрических оболочках (см. рис. 9.11).

Предварительное определение сечений элементов оболочек

9.2.23 Для расчета оболочек необходимо предварительно задаться размерами сечений их элементов с учетом рекомендаций пп. 9.2.17, 9.2.19 и 9.2.22 настоящего СП. Для монолитных оболочек толщина плиты может назначаться равной (1/200 - 1/300)l2, но не менее 50 мм. Толщина плит сборных и сборно-монолитных оболочек принимается не менее 30 мм.

Во избежание местной потери устойчивости оболочки между поперечными ребрами расстояние между ними не рекомендуется назначать больше, чем , где R - радиус кривизны оболочки.

При наличии больших скалывающих напряжений на опорах рекомендуется, не утолщая всей оболочки или складки, делать местные утолщения у опор, которые при определении усилий не учитываются.

Некоторые особенности конструирования

9.2.24 Продольную рабочую арматуру рекомендуется располагать в основном в нижней части бортовых элементов. При этом обеспечивается для заданного сечения оболочки или складки наибольшее значение плеча внутренней пары сил z. Часть арматуры располагается по высоте сечения бортовых элементов или в их верхней зоне. При бортовых элементах, располагаемых выше края оболочки (рис. 9.11, б, в), часть арматуры может размещаться в плите оболочки или складки. Кроме основной арматуры в бортовых элементах устанавливается поперечная и монтажная арматура.

9.2.25 По длине пролета как в однопролетных, так и в многопролетных оболочках не менее 30 % сечения растянутой арматуры доводится до опор. Сечение арматуры по длине пролета целесообразно уменьшать не обрывом стержней, а приваркой стержней меньшего диаметра к стержням большего диаметра. Места уменьшения сечения арматуры назначаются в соответствии с эпюрой изменения напряжений вдоль пролета, при этом стержни большего диаметра должны быть заведены на длину не менее 20d за сечение, где теоретически возможно уменьшение диаметра.

9.2.26 В неразрезных многопролетных оболочках кроме основной растянутой арматуры в пролете ставится арматура в верхней части оболочки для восприятия растягивающих напряжений над опорами (диафрагмами), которая располагается в средней половине растянутой части дуги.

Не менее 50 % растянутой арматуры над опорой должно быть продлено на длину 1,2b0 в каждую сторону от диафрагмы (b0 - расстояние от опоры до сечения с нулевыми моментами).

9.2.27 Продольная арматура в сжатой зоне оболочки, а также на участках, где главные растягивающие напряжения меньше Rbt, устанавливается конструктивно через 15 - 25 см, площадью не менее 0,2 % сечения бетона. Вместе с поперечной арматурой, рассчитываемой на восприятие поперечных изгибающих моментов, она образует сетку.

Сечение арматуры, необходимое для работы на поперечные моменты, определяется как для плит. По длине волны арматура сетки, воспринимающая поперечные моменты, устанавливается соответственно эпюре моментов - ближе к растянутой зоне. В местах примыкания плиты к бортовым элементам (а также к диафрагмам) устанавливаются двойные сетки из арматуры диаметром 5 - 8 мм и шагом не более 20 см.

В ребристых оболочках поперечные моменты воспринимаются основной арматурой ребер. Ребра армируют обычно двойной арматурой, связанной поперечными стержнями. При этом плита армируется конструктивно одиночной сеткой.

9.2.28 На участках, где sprt > Rbt, сечение арматуры определяется растягивающими напряжениями, действующими под углом 45° к образующей. Величина этих напряжений определяется по формуле

                                                          (9.4)

где sх и tху - соответственно нормальные и сдвигающие напряжения, действующие в рассматриваемой точке.

В тех местах, где имеющаяся сетка из поперечных и продольных стержней недостаточна для восприятия главных растягивающих усилий, ставится дополнительная косая арматура под углом 45° к образующей или же сетка усиливается дополнительными стержнями.

Сечение арматуры на единицу длины должно удовлетворять условию

                                   (9.5)

где fsy, fsx, fs,inc - соответственно сечения продольной, поперечной и косой арматуры плиты;

Rs,inc - расчетное сопротивление косой арматуры плиты.

Вводимые в расчет сечения продольной и поперечной арматуры не должны различаться более чем на 20 %.

Косая и поперечная арматуры, воспринимающие главные растягивающие усилия, заделываются в бортовой элемент. Выше нейтральной оси дополнительная косая и поперечная арматуры продлеваются не менее чем на 20 диаметров за сечение, где главные растягивающие напряжения могут быть восприняты основной сеткой.

9.2.29 В целях экономии арматуры, а также повышения трещиностойкости и жесткости конструкции арматуру бортовых элементов оболочек и арматуру затяжек диафрагм целесообразно выполнять предварительно напряженной.

9.2.30 Сборные цилиндрические оболочки собираются либо из бортовых балок длиной на пролет, криволинейных ребристых панелей длиной на пролет волны и затяжек диафрагм (рис. 9.14, а), либо из криволинейных ребристых панелей с примыкающими к ним частями бортовых балок длиной на половину пролета волны и затяжек диафрагм (рис. 9.14, б); складчатые оболочки собираются из бортовых балок длиной на пролет, арок-диафрагм длиной на пролет волны и плоских гладких или ребристых плит (рис. 9.15). Верхним поясом диафрагм в оболочках служит усиленное ребро крайних панелей. Панели приняты размерами 3´6 и 3´12 м.

9.2.31 Каждый тип конструкции имеет свои преимущества и недостатки, связанные с изготовлением, транспортированием, монтажом и особенностями конструирования.

Предварительное напряжение бортовых балок и затяжек диафрагм при выполнении их отдельно от оболочки или складки (рис. 9.14, а и 9.15) осуществляется заранее на заводе, а при членении по схеме рис. 9.14, б - на месте строительства.

При членении оболочки по схеме рис. 9.14, б перед установкой на леса сборные элементы объединяют попарно в направлении волны оболочки, сваривая закладные детали криволинейных ребер и устанавливая временные затяжки между бортовыми элементами.

9.2.32 Элементы конструкций при членении по схемам рис. 9.14 а, и 9.15 могут проектироваться из разных материалов: бортовые балки и диафрагмы - из бетонов высоких марок с использованием предварительного напряжения; элементы оболочек могут изготовляться из легких или ячеистых бетонов и выполнять при этом кроме несущих и ограждающих функций функцию теплоизоляции.

9.2.33 Конструкция стыка между элементами в сборных оболочках и складках выбирается согласно рекомендациям п. 6.4 настоящего СП в зависимости от характера и величины передающихся через стык усилий.

В средней части оболочек и складок в нормальных сечениях действуют сжимающие и небольшие сдвигающие усилия. Стыки здесь решаются путем замоноличивания шпоночных швов бетоном с вибрированием.

9.2.34 В нормальных сечениях бортовых элементов действуют значительные растягивающие усилия. При устройстве стыков в этих сечениях (рис. 9.14, б) их целесообразно осуществлять предварительно напряженными, используя напрягаемую арматуру в качестве расчетного армирования. Арматура размещается в специально оставленных в элементах каналах и закрепляется по торцам оболочки. При натяжении арматуры обжимаются как сами элементы, так и стыки между ними. Для обеспечения совместной работы предварительно напряженной арматуры с бетоном каналы заполняются цементным тестом под давлением.

а - из бортовых балок, криволинейных ребристых панелей и затяжек диафрагм; б - из криволинейных ребристых панелей с бортовым элементом и затяжек диафрагм

Рисунок 9.14 - Схемы членения сборных длинных цилиндрических оболочек и складок

Рисунок 9.15 - Складчатые оболочки из бортовых балок, арок-диафрагм и плоских ребристых или гладких плит

9.2.35 В продольных сечениях оболочек и складок кроме сдвигающих и незначительных нормальных сил действуют изгибающие моменты и сопутствующие им перерезывающие силы. При устройстве здесь стыков помимо заполнения бетоном шва между элементами должна обеспечиваться передача растягивающих усилий стыкованием арматуры ребер соединяемых элементов. При большой ширине шва арматура может соединяться сваркой выпусков, при малой - наиболее целесообразно соединение с помощью накладок через закладные детали сборных элементов.

9.2.36 В местах соединения собственно оболочки или складки с бортовыми балками и диафрагмами по схеме разрезки на рис. 9.14, а и 9.15 действуют значительные сдвигающие силы и изгибающие моменты (в отдельно стоящих конструкциях величина последних незначительна). В сборных элементах со стороны стыка устраиваются специальные углубления и выпуски арматуры с тем, чтобы после замоноличивания образовывались пересеченные арматурой шпонки, препятствующие их смещению (рис. 9.16, а).

9.2.37 Арматуру смежных элементов необходимо соединять также в стыках, расположенных в угловых зонах оболочек и складок, где действуют значительные по величине главные растягивающие усилия. Арматуру можно соединять сваркой выпусков или накладками через закладные детали, а также через сварные каркасы, устанавливаемые в заранее предусмотренные углубления в элементах (рис. 9.16, б).

В оболочках типа, приведенного на рис. 9.14, б, стыки между панелями обжимаются при натяжении арматуры бортовых балок, поэтому здесь арматура смежных элементов может не стыковаться.

а - ребристых плит с бортовыми балками в отдельно стоящей складке между ребрами и в местах ребер; б - панелей в угловых зонах (со сваркой выпусков и со сварными каркасами, устанавливаемыми в углублениях сверху)

Рисунок 9.16 - Стыки элементов сборных длинных цилиндрических оболочек и складок

9.3 Рекомендации по расчету коротких монолитных оболочек

9.3.1 Короткие оболочки с пролетом l1 £ 12 м при соотношении l1/l2 < 0,5 могут конструироваться по результатам упрощенного расчета (см. п. 9.3.2 настоящего СП). Однако при значительных пролетах l2, малой толщине, тяжелых или сосредоточенных нагрузках, а также при 0,5 < l1/l2 £ 1 короткие оболочки требуется рассчитывать более точно.

9.3.2 При приближенном расчете оболочек на равномерно распределенную нагрузку усилия в плите оболочки не определяются. Сечение и армирование плиты назначаются конструктивно (см. п. 9.3.6 настоящего СП).

Для наиболее часто применяемых коротких оболочек (с пролетами l1 £ 12 м; l2 £ 30 м) плечо внутренней пары продольных усилий (рис. 9.17) составляет 0,5 ¸ 0,61 (f + d1). Поэтому растягивающее усилие Nб в одном бортовом элементе отдельно стоящей оболочки допускается определять по формуле

                                                         (9.6)

где d1 - высота бортового элемента;

q - приведенная расчетная нагрузка на 1 м2 горизонтальной проекции с учетом массы бортовых элементов.

В средних пролетах короткой многопролетной монолитной одноволновой оболочки растягивающее усилие Nб в пролете бортового элемента уменьшается вдвое.

Рисунок 9.17 - К расчету бортового элемента короткой цилиндрической оболочки

В многоволновых оболочках величина усилия в бортовом элементе должна быть увеличена пропорционально увеличению нагрузки, приходящейся на этот элемент от обеих примыкающих к нему волн.

9.3.3 Нормальное усилие N по сечению оболочки в середине пролета l2 допускается определять по безмоментной теории. Полученную таким образом величину продольной силы можно использовать при расчете промежуточных диафрагм. Крайние диафрагмы или диафрагмы отдельно стоящей оболочки рассчитываются на воздействие половины этого усилия.

9.3.4 При расчете диафрагм их сечение принимается тавровым (рис. 9.18). В многопролетных оболочках ширину полки принимают равной расстоянию между диафрагмами l1. При этом оболочки параллельно диафрагмам как бы рассекаются посередине пролетов сечениями (рис. 9.18, а). В многоволновой несущей конструкции диафрагма с прилегающими к ней частями смежных оболочек делится на не связанные между собой отдельные волны. Если диафрагмы арочные, то в расчетной схеме разрезаются их затяжки, после чего остаются отдельные пролеты балочных диафрагм, связанные с прилегающими к ним частями оболочек (рис. 9.18). Усилия в сечениях такой конструкции определяются как в балке с прямолинейной или криволинейной осью.

а - арочной; б - балочном

Рисунок 9.18 - К расчету диафрагмы короткой оболочки

Для расчета собственно диафрагм надо определить усилие, приходящееся на оболочку, при этом изгибающими моментами и поперечными силами в сечении оболочки можно пренебречь.

Полное нормальное сжимающее усилие  в сечениях оболочки рассчитывают:

для крайней диафрагмы, когда примыкает лишь один полупролет оболочки, по формуле

                                                     (9.7)

для средней диафрагмы, когда примыкают два полупролета оболочки, по формуле

                                                     (9.8)

где R - радиус кривизны оболочки в середине пролета l2;

х - горизонтальное расстояние продольного сечения оболочки от одной из опор (рис. 9.18).

Усилия в диафрагмах определяются по формулам:

в арочных диафрагмах

                                                            (9.9)

в балочных диафрагмах

                                                (9.10)

где , ,  - соответственно изгибающий момент, поперечная и продольная силы по оси диафрагмы, определяемые от полной вертикальной нагрузки (Nx вводится в эти формулы со знаком плюс);

ех - расстояние от оси диафрагмы до срединной поверхности оболочки, измеряемое вдоль сечения (рис. 9.18). Если оболочка расположена выше оси диафрагмы, величина ех считается положительной, ниже - отрицательной;

g - угол между нормалью к поперечному сечению диафрагмы и касательной к срединной поверхности оболочки в этом сечении (рис. 9.18, б).

После того как определены усилия в безраспорных диафрагмах, учет неразрезности, влияния затяжек арочных диафрагм или других факторов производится обычными методами, применяемыми для расчета статически неопределимых плоских систем. Усилиями, приложенными к диафрагмам (опорными моментами, усилиями от затяжки), оболочка нагружена сравнительно слабо, поэтому при определении перемещений и усилий в диафрагмах, вызываемых лишними неизвестными, участием оболочки можно пренебречь. Расчет ведется на восприятие этих усилий сечениями только самих диафрагм; части оболочек, примыкающие к диафрагмам, не учитываются.

9.3.5 Диафрагмы коротких оболочек с фонарными проемами рассчитываются на вертикальную нагрузку по всей оболочке. При расчете боковых частей пролета разгружающим влиянием продольных сил оболочки Nx пренебрегают.

Усилие Nб, передаваемое на арматуру бортового элемента такой оболочки, определяют как и в оболочках без фонарей, лишь заменяя l2 на (l2 - l1/2 - b), по формуле

                                                (9.11)

где b - ширина фонаря.

Если ширина остающихся боковых частей оболочки менее 1/3l2 или менее l1, их следует заменить другой конструкцией или рассчитывать как длинные оболочки с учетом деформаций контура.

Конструирование коротких монолитных оболочек

9.3.6 Размеры сечений элементов монолитных оболочек рекомендуется назначать с учетом указаний пп. 6.1.1 - 6.1.7 настоящего СП. При длине оболочки l1 от 8 до 12 м и стреле подъема не менее 1/8l2 (l2 £ 30 м) толщина плиты при нагрузке от собственного веса, снега и утеплителя может быть принята согласно табл. 9.1.

Таблица 9.1

Класс бетона

Толщина плиты оболочки, мм, при пролете l1, м

6

12

В15

50

80 - 90

В20 - В30

50

70 - 80

В тех случаях, когда расчет оболочки произведен согласно рекомендациям п. 9.3.2 настоящего СП, плита армируется конструктивно прямоугольной сеткой из стержней диаметром 4 - 6 мм и шагом 100 - 160 мм.

9.3.7 В многопролетных монолитных оболочках для восприятия действующих усилий толщину плиты над опорами допускается увеличивать. Для обеспечения заделки плиты и восприятия возможных растягивающих напряжений над диафрагмами и у примыкания к бортовым элементам устанавливается верхняя арматура, продолжающаяся в обе стороны от диафрагмы на расстояние 0,1l1, а от бортового элемента - на расстояние 1,25 - 1,5 м.

Высота бортовых элементов без предварительного напряжения принимается не менее 1/15l1, а ширина - от 1/5 до 1/2 высоты. При этих размерах горизонтальная жесткость бортового элемента оказывается достаточной.

В пролете большая часть арматуры бортовых элементов устанавливается внизу, а на опорах (над диафрагмами) арматура того же сечения устанавливается вверху бортового элемента.

9.3.8 В монолитных оболочках с фонарными проемами для обеспечения прочности следует выполнить ряд дополнительных условий:

высота подфонарных балок должна быть не менее 1/12l1;

толщина плиты должна быть несколько увеличена по отношению к толщине сплошной оболочки;

подъем плиты каждой боковой части не должен быть менее 1/20 ее пролета (наклонной хорды);

длина дуг ее боковых частей должна быть не менее l2/3 и l1.

9.4 Рекомендации по расчету коротких призматических складок

9.4.1 Короткие призматические складки состоят из плоских ребристых плит, бортовых элементов и диафрагм (рис. 9.19, а, б).

Складки допускается проектировать без бортовых элементов. В этом случае функции бортовых элементов выполняют продольные ребра плит, устанавливаемые вдоль краев покрытия (рис. 9.19, в).

9.4.2 Расчет складчатых покрытий производится в соответствии с двумя этапами работы конструкции - до и после замоноличивания швов между сборными элементами покрытия.

До замоноличивания швов сборные элементы складок рассчитываются как разрезные конструкции на воздействие нагрузок, возникающих в стадиях изготовления, транспортирования и возведения.

а - конструкция складчатого покрытия; б - складка с бортовыми элементами; в - то же, без бортовых элементов; 1 - диафрагма; 2 - ребристая плита; 3 - бортовой элемент; 4 - стальной фонарь; 5 - подвеска; 6 - продольное ребро плиты, выполняющее функции бортового элемента; 7 - крайние грани складки

Рисунок 9.19 - Короткая призматическая складка

После замоноличивания швов (в стадии эксплуатации) складка рассчитывается на воздействие постоянных и временных нагрузок как пространственная конструкция по схемам разрушения, охватывающим одну или две крайние грани складки. Средняя часть складки, расположенная между четырьмя крайними гранями (по две с каждой стороны), находится в благоприятных контурных условиях и работает как жесткий диск, продольные ребра которого рассчитываются на нагрузки, возникающие в стадиях изготовления, транспортирования и возведения, и не рассчитываются на нагрузки в стадии эксплуатации. В эксплуатационной стадии складка рассчитывается на «местное» разрушение полки, поперечных ребер, а также продольных ребер плит, не закрепленных швами замоноличивания от кручения.

9.4.3 Первый этап расчета выполняется с целью подбора арматуры сборных элементов складчатого покрытия, требуемой для работы в стадиях изготовления, транспортирования и возведения. Назначение геометрических размеров поперечных сечений сборных элементов производится на основании запроектированных, ранее близких по очертанию складчатых покрытий и корректируется в дальнейшем расчетом в стадии эксплуатации.

При изготовлении сборные элементы складок рассчитываются на воздействие усилий предварительного напряжения, вводимого в расчет как внешняя внецентренно приложенная нагрузка.

При подъеме, транспортировании и монтаже сборные элементы складок рассчитываются как разрезные конструкции на воздействие собственного веса с учетом коэффициента динамичности в соответствии с п. 4.2.18 настоящего СП.

В стадии возведения сборные элементы складок рассчитываются как разрезные конструкции на воздействие собственного веса и снеговой нагрузки, учитываемой в соответствии со СНиП 2.01.07.

В стадиях изготовления, транспортирования и возведения производится подбор предварительно напряженной арматуры бортового элемента и плиты, а также обычной арматуры - верхнего стержня каркаса продольных ребер; кроме того, проверяются прочность концевых участков ребер при отпуске напряжения и трещиностойкость.

При проектировании верхнего пояса ферм-диафрагм в неразрезных покрытиях (рис. 9.22) арматура пояса подбирается по усилиям в стадии возведения.

При расчете сборных элементов в стадии возведения принимается коэффициент перехода от веса снегового покрова земли к снеговой нагрузке на покрытие m = 1, предельный прогиб при этом не должен превышать величин, указанных в СНиП 2.01.07.

9.4.4 Второй этап расчета коротких ребристых призматических складок покрытий производится по прочности, жесткости и ширине раскрытия трещин.

Расчет прочности складок покрытий производится кинематическим способом теории предельного равновесия по схемам разрушения, приведенным на рис. 9.23 и 9.24. В результате расчетов определяют внутренние усилия; подбор сечений арматуры проводят согласно СП 52-101.

Жесткость и ширину раскрытия трещин в полке плиты и в поперечных ребрах определяют согласно СП 52-101. Жесткость продольных ребер плит складчатого покрытия обеспечивается при условии h/l1 > 1/33, где h - высота ребра; l1 - длина пролета.

Расчет прочности призматических складок покрытий следует вести в следующей последовательности: сначала по местным схемам разрушения рассчитываются полка, поперечные и продольные ребра плит (от кручения), затем - складки покрытия и диафрагмы.

Расчет полки и поперечных ребер плиты

9.4.5 По схемам разрушения, приведенным на рис. 9.20, а, б, в, рассчитываются полка и поперечные ребра всех плит покрытия; по схеме разрушения, приведенной на рис. 9.20, г, - крайние плиты складок.

Изгибающие моменты в полке на единицу длины линии излома и в поперечных ребрах определяются по «конвертным» схемам разрушения в зависимости от значения параметра

k = g/[1 - Rsf hs/(h RsR h0)].                                          (9.12)

При k £ 1/g разрушение полки происходит по схеме, приведенной на рис. 9.20, а, изгибающие моменты определяются по формулам:

Ма = h qa2(3 - gk)k/[48(k + gy)];                                     (9.13)

Мb = y Ма;                                                         (9.14)

МR = qa3(3 - k2g2)/24g2 + qR b2/8;                                     (9.15)

y = k3/(3 - 2gk).                                                      (9.16)

При k > 1/g разрушение полки происходит по схеме, приведенной на рис. 9.20, б. В этом случае принимается k1 = 1/k и изгибающие моменты определяются по формулам:

а, б, в - схемы разрушения для всех плит; г, д - то же, для крайних плит; 1 - 5 - звенья в схемах разрушения

Рисунок 9.20 - Схемы разрушения полки и поперечных ребер плит от изгиба и продольных ребер от кручения

Мb = h q b2(3g - k1)k1/[48(k1g + y)];                                (9.17)

Мa = yМb;                                                          (9.18)

МR = q k1 b3/12 + qR b2/8;                                                 (9.19)

                                                (9.20)

В формулах (9.12) - (9.20):

h - коэффициент, учитывающий влияние распора. В первом приближении рекомендуется принимать h = 1;

q - равномерно распределенная нагрузка на единицу площади полки с учетом ее веса;

g = а/b - отношение сторон полки;

Ma, Мb - изгибающие моменты на единицу длины линии излома, действующие в сечениях полки соответственно в поперечном и продольном направлениях;

qR - нагрузка на единицу длины поперечного ребра, расположенная на ребре и рассчитываемая с учетом его массы;

MR - изгибающий момент, приходящийся на сечение поперечного ребра без полок (рис. 9.20, сечение I-I);

Rsf, RsR - расчетные сопротивления на растяжение арматуры соответственно полки и поперечных ребер;

hf, h0 - соответственно толщина полки и рабочая высота ребра.

9.4.6 Плита, армированная по схеме разрушения, приведенной на рис. 9.20, а и б, рассчитывается также по другой возможной «конвертной» схеме разрушения полки и поперечных ребер (рис. 9.20, в).

Изгибающий момент M24, действующий на все поперечные ребра плиты в пролете, определяют по формуле

M24 = qb2(3c - 2a1)/24 - M02,                                          (9.21)

где q - нагрузка на единицу площади полки с учетом массы поперечных ребер;

b - расстояние в свету между продольными ребрами;

a1 - расстояние в свету между торцевым и поперечным ребрами (рис. 9.20, в, г);

M02 - изгибающий момент, воспринимаемый всеми поперечными ребрами плиты в местах их примыкания к продольным, рассчитывается исходя из установленной в полке арматуры, подобранной по схемам разрушения, приведенным на рис. 9.20, а, б, в или г;

с - расстояние между внутренними гранями торцевых ребер.

Подбор арматуры производят по большей величине изгибающего момента в пролете, приходящегося на одно поперечное ребро и полученного по формулам (9.15) или (9.19) и (9.21).

9.4.7 Расчет поперечных ребер плиты по поперечной силе производится согласно СП 52-101. Максимальная величина поперечной силы в поперечном ребре определяется в зависимости от схемы разрушения, определившей его продольное армирование. При схеме разрушения, приведенной:

на рис. 9.20, а

Q = qa(2b - ak)/8 + qRb/2;                                               (9.22)

на рис. 9.20, б

Q = qb2k1)/8 + qRb/2;                                                   (9.23)

на рис. 9.20, в, г

Q = b(qa + qR)/2.                                                       (9.24)

При расчете жесткости и ширины раскрытия трещин принимаются:

а) полное защемление полки в поперечных и продольных ребрах и шарнирное опирание поперечных ребер, если расчет ведется по схемам разрушения, приведенным на рис. 9.20, а, б;

б) полное защемление поперечных ребер в продольных при расчете по схеме разрушения, приведенной на рис. 9.20, в;

в) защемление с одной стороны поперечного ребра и шарнирное опирание с другой при схеме разрушения, приведенной на рис. 9.20, г.

При определении прогибов поперечных ребер следует принимать тавровое сечение ребра (рис. 9.20, сечение II-II).

Расчет продольных ребер на кручение

9.4.8 В крайних плитах складчатых покрытий, осуществляемых без бортовых элементов, и в плитах, примыкающих к фонарным проемам, кроме схем разрушения, приведенных на рис. 9.20, а, б, в, может иметь место также схема разрушения, приведенная на рис. 9.20, г. Крутящие моменты M45, действующие в наклонных сечениях концевых участков продольных ребер под углом 45° к их нижней плоскости (рис. 9.20, сечение V-V), воспринимаются сетками, устанавливаемыми на концевых участках продольных ребер, и определяются по формуле

M45 = [q(B + b)2(3с - 2а1)/48 - (M02 + 2M24)]/22.                              (9.25)

Во всех случаях изгибающий момент М05 = 0 из-за того, что угловая арматура не воспринимает усилий растяжения (рис. 9.20, сечение V-V).

Если в результате расчетов по формуле (9.24) M45 £ 0, то концевые участки продольных ребер армировать на кручение не требуется.

Схемы разрушения складок

9.4.9 Короткие призматические складки покрытий на действие равномерно распределенной нагрузки рассчитываются по трем схемам разрушения (рис. 9.21, а, в, г), охватывающим одну или две грани у свободного края.

Изгибающие моменты определяются на основе кинематического способа теории предельного равновесия. Например, для определения изгибающего момента M13 в продольном ребре разрезной складки линии излома 1 - 3, пересекающие это ребро (рис. 9.21, а), задают единичное возможное перемещение. Работу внешней нагрузки, полученную на перемещениях жестких звеньев схемы излома, приравнивают к работе внутренних сил на линиях излома (пластических шарнирах), соединяющих эти звенья. Если линия излома 1 - 3 пересекает несколько продольных ребер (рис, 9.21, в, г), то изгибающий момент определяется для всех ребер.

При изломе двух граней складки работа внутренних сил определяется из пространственной схемы перемещений жестких звеньев. В этих случаях кроме перемещений, совершаемых звеньями 1 - 4 из их плоскости, имеют место перемещения в плоскости одной из граней, излом которой происходит как балки на двух опорах от достижения в наклонных сечениях предельных изгибающих моментов Миlt (рис. 9.21, в, г).

а - схемы разрушения первой грани складки и бортового элемента; б - диаграмма скоростей виртуальных перемещений; в - схема разрушений двух граней складки с изломом бортового элемента; г - то же, без излома бортового элемента; д - поперечное сечение складки у края; 1 - 4 - звенья в схемах разрушения; 5 - первые грани складки; 6 - первая и вторая крайние грани складки; 7 - средняя часть складки

Рисунок 9.21 - Схемы разрушения складчатого покрытия

9.4.10 При расчете неразрезных складок покрытий армирование продольных ребер плит и бортовых элементов подбирают в соответствии с усилиями от нагрузок, действующих до замоноличивания швов между сборными элементами, а армирование полки и поперечных ребер плит - в соответствии с усилиями от нагрузок, действующих после замоноличивания швов. В стадии эксплуатации определению подлежат опорные моменты M01 и M03 на промежуточных диафрагмах (на крайних диафрагмах M01 = 0 и M03 = 0).

В неразрезной складке покрытий бесфонарных зданий опорные арматурные каркасы, устанавливаемые в швы между бортовыми элементами и плитами, а также между плитами первой и второй граней над диафрагмами, являются расчетными. Из конструктивных соображений в остальные швы между плитами над диафрагмами рекомендуется устанавливать каркасы. В покрытиях зданий с фонарями, а также в покрытиях по фонарям все арматурные каркасы являются расчетными.

Если суммарная величина опорных моментов над диафрагмой, полученная из расчета по схемам разрушения, приведенным на рис. 9.21, а, г, больше изгибающего момента, полученного из расчета по схеме разрушения, приведенной на рис. 9.21, в, то подбор сечения рабочих стержней арматурных каркасов, устанавливаемых в швах между бортовым элементом и плитой, а также между плитами первой и второй граней складки над диафрагмами, производится по опорным моментам, полученным по схемам разрушения, приведенным на рис. 9.21, а, г.

Если суммарная величина этих же опорных моментов над диафрагмой меньше изгибающего момента, полученного из расчета по схеме разрушения, приведенной на рис. 9.21, в, то этот опорный момент следует распределить между швами таким образом, чтобы на каждый шов приходилась величина момента не меньше, чем вычисленная по схемам разрушения, приведенным на рис. 9.21, а, г.

9.4.11 При расчете разрезных складок покрытий армирование полки и поперечных ребер плит подбирают в соответствии с эксплуатационными нагрузками, действующими после замоноличивания швов. В складках покрытий без фонарей следует определять изгибающие моменты в пролетах продольных ребер первой и второй граней складки. В остальных гранях складки (в средней части покрытия) армирование продольных ребер плит определяется из расчета по стадиям изготовления, транспортирования и возведения. В покрытиях зданий с фонарями, а также в покрытиях по фонарям следует определить изгибающие моменты в продольных ребрах всех плит.

Расчет на сдвигающие усилия

9.4.12 Максимальные сдвигающие усилия S1 и S2, действующие справа и слева на диафрагму в плоскости первой грани складки, составляют сдвигающие усилия S, воспринимаемые бетонными шпонками верхнего пояса диафрагм неразрезных складчатых покрытий. В разрезных складчатых покрытиях сдвигающее усилие воспринимается стальными упорами, приваренными к закладным деталям опорных узлов диафрагм, а в покрытиях с фонарями - бетоном замоноличивания в узле опирания плит и стойки рамы фонаря на диафрагму.

Проверку наклонных сечений первой грани складки на действие сдвигающих усилий производят так же, как и балок на действие поперечной силы.

Сдвигающие усилия S1 или S2 в разрезных складчатых покрытиях передаются на диафрагму в точках приварки продольных ребер плиты. В рассматриваемых покрытиях плиты рекомендуется приваривать с четырех сторон, поэтому на одно продольное ребро приходится 0,5S1 или 0,5S2. На эту величину сдвигающей силы следует рассчитывать сварные швы, крепящие все плиты к диафрагмам. У краев покрытия и у температурных швов, где ось первой диафрагмы смещена, сдвигающее усилие S1 передается на одно продольное ребро. Несущую способность продольного ребра на скалывание следует определять по формуле

Р = aRbt uh0,                                                       (9.26)

где a - коэффициент, принимаемый для тяжелых бетонов равным 1, для бетонов на пористых заполнителях - 0,8;

и - среднее арифметическое между периметрами оснований пирамиды, образующейся при продавливании.

При Р < S1 необходимы конструктивные мероприятия в виде устройства связи между плитами первой и второй граней складки по верху торцевых ребер, что позволяет часть S1 передать на плиту второй грани покрытия.

Расчет диафрагм

9.4.13 В стадии эксплуатации на диафрагмы от складки передается нагрузка в виде нормальных и сдвигающих усилий. Допускается вести расчет диафрагм на вертикальные нагрузки, собираемые с грузовых площадей, приходящихся на соответствующие узлы.

Статический расчет диафрагм производится с учетом жесткости узлов как многократно статически неопределимой системы. Допускается вести расчет диафрагм как шарнирно-стержневой системы с учетом изгибающих моментов, возникающих от нарушения центрации узлов.

Конструирование коротких призматических складок

Складки могут быть одно- и многоволновыми в поперечном направлении, разрезными и неразрезными - в продольном. Короткие призматические складки рекомендуется выполнять сборно-монолитными. Сборные элементы складки свариваются между собой на монтаже, а швы между ними замоноличиваются. Плиты к диафрагмам следует приваривать на всех четырех опорах по доступному контуру.

Совместную работу элементов складок рекомендуется обеспечивать:

для неразрезных складок - устройством бетонных шипов на верхнем поясе диафрагм, пазов на наружных гранях продольных и торцевых ребер плит и бортовых элементов, установкой арматурных каркасов в швах замоноличивания;

для разрезных складок - устройством пазов на наружных гранях.

9.4.14 Призматические складки рекомендуется применять в покрытиях одноэтажных производственных зданий массового строительства пролетами 18 - 36 м с фонарями и без фонарей, с мостовыми кранами грузоподъемностью до 50 т.

К элементам складки допускается подвеска двух- или трехопорных кран-балок грузоподъемностью от 1 до 6 т или подвесного тельфера грузоподъемностью до 5 т.

9.4.15 Для образования призматической поверхности складки рекомендуется использовать плоские ребристые плиты размером 3´6 или 3´12 м.

Очертание верхнего пояса диафрагм должно соответствовать поверхности складки. В неразрезных складках после замоноличивания образуется комплексное сечение верхнего пояса, что позволяет облегчить диафрагму (рис. 9.22).

1 - бетонные шипы на верхнем поясе диафрагмы; 2 - стержень, армирующий комплексное сечение; 3 - пазы на торцевых ребрах плит; 4 - каркас в продольном шве между плитами над диафрагмами; 5 - пазы на продольных ребрах плит; 6 - продольные ребра плит; 7 - верхний пояс диафрагмы; 8 - торцевые ребра плит

Рисунок 9.22 - Узел сопряжения плит с диафрагмой при комплексном сечении верхнего пояса

Допускается использование типовых ферм, очертание которых не соответствует поверхности складки. В этом случае комплексное сечение не образуется, а ребра плит складки опираются на бетонные столбики, устраиваемые в узлах ферм.

9.4.16 Сборные железобетонные элементы складчатых покрытий рекомендуется проектировать из тяжелого (классов В15 - В30 по прочности на сжатие) или легкого (классов В15 - В20) конструктивного бетона.

Диафрагмы рекомендуется предусматривать из тяжелого бетона (классов В30 - В50 и выше).

9.4.17 В качестве предварительно напряженной арматуры продольных ребер плит, бортовых элементов и нижних поясов ферм-диафрагм рекомендуется применять стержни из стали классов А500, А600, А800 и арматурные канаты класса К1400. Полку плит толщиной 30 мм рекомендуется армировать сварными сетками из арматуры класса В500. Ненапрягаемую арматуру ребер плит, элементов диафрагм, а также швов замоноличивания рекомендуется выполнять в виде сварных каркасов из стали классов А400, А500.

9.4.18 В неразрезных складках шов для замоноличивания над диафрагмой образуется в результате соответствующего размещения торцевых ребер плит покрытия.

Ширину швов между плитами рекомендуется назначать не менее: для продольных швов 50 мм; для поперечных швов над диафрагмами - 200 мм.

Замоноличивание швов рекомендуется бетоном, класс которого не менее В15, а в зимнее время - В25.

Конструирование элементов складки

9.4.19 Плиты складок рекомендуется проектировать с номинальными размерами 3´6 и 3´12 м. Продольные ребра рекомендуется выполнять предварительно напряженными; поперечные и торцевые - ненапряженными (рис. 9.23).

Высоту продольных ребер рекомендуется принимать в пределах (1/30 - 1/35)l1.

Шаг поперечных ребер рекомендуется принимать равным 1 - 2 м. Высоту поперечных ребер рекомендуется назначать в пределах 1/15 - 1/20 расчетного пролета, равного расстоянию между внутренними гранями продольных ребер. На наружных гранях продольных ребер предусматриваются пазы, обеспечивающие восприятие сдвигающих усилий между плитами. Пазы располагаются на длине (1/3 - 1/4)l1 (рис 9.23).

При комплексном сечении верхнего пояса диафрагм пазы рекомендуется устраивать также на торцевых ребрах. В этом случае торцевые ребра устраиваются увеличенной высоты, что позволяет не ставить опалубку при замоноличивании (рис. 9.22).

9.4.20 Размеры бортовых элементов, как и плит, определяются расчетными и конструктивными соображениями. Как правило, бортовые элементы проектируются лоткового сечения с торцевыми ребрами и без промежуточных ребер (рис. 9.23).

Бортовые элементы рекомендуется принимать двух типоразмеров: крайние, устанавливаемые вдоль краев оболочек, и средние, устанавливаемые по всем промежуточным рядам колонн многоволновых складок и соединяющие между собой отдельные волны.

9.4.21 Диафрагмы складчатых покрытий рекомендуется проектировать в виде ферм сегментного очертания, безраскосных ферм, а также арок с железобетонной или стальной затяжкой.

Особенностью конструктивного решения ферм-диафрагм неразрезных складчатых покрытий является наличие бетонных шипов на верхнем поясе, обеспечивающих совместную работу диафрагмы с плитами и бетоном замоноличивания.

Диафрагмы разрезных складчатых покрытий проектируются без шипов по верхнему поясу. В этом случае совместность работы складки с диафрагмой достигается за счет сварных соединений плит и ферм, рассчитываемых на восприятие сдвигающих усилий.

1 - поперечное ребро; 2 - то же, торцевое; 3 - то же, продольное; 4 - полка плиты; 5 - арматурная сетка полки; 6 - пазы па продольных ребрах плиты и бортового элемента; 7 - крайний бортовой элемент

Рисунок 9.23 - Плиты и бортовые элементы

Диафрагмы пролетом 18 - 24 м проектируются, как правило, цельными.

Для пролетов 30 - 36 м рекомендуется устройство составных сталежелезобетонных диафрагм, монтируемых из отдельных блоков с помощью переставных подмостей. Блоки стыкуются сваркой закладных деталей, а затяжка выполняется из прокатного металла.

При стальной затяжке рекомендуется устраивать строительный выгиб узлов нижнего пояса, равный (1/200 - 1/250)l2.

Конструирование узлов складчатых покрытий

9.4.22 Характерные узлы рекомендуется конструировать, как показано на рис. 9.24. Крепление подвесного кранового оборудования рекомендуется осуществлять к диафрагмам, как в типовых конструкциях. В складчатых покрытиях допускается устройство аэрационных, светоаэрационных и зенитных фонарей с шириной проема, равной (1/2 - 1/3)l2. Опирание рам фонарей предусматривается на верхний пояс диафрагм.

а - сопряжение диафрагмы с бортовым элементом и плитой неразрезного складчатого покрытия; б - то же, с плитой разрезного складчатого покрытия; в - крепление плиты к фонарной панели; 1 - диафрагма; 2 - плита складки; 3 - бортовой элемент; 4 - арматурный каркас в шве замоноличивания; 5 - стальной упор; 6 - фонарная панель; 7 - соединительная планка-подвеска

Рисунок 9.24 - Узлы складчатого покрытия

Проемы для продольных или поперечных зенитных фонарей рекомендуется устраивать при помощи плит-рамок или плит с отверстиями.

Продольные ребра плит, примыкающие к фонарному проему, рекомендуется крепить посредине пролета к стальной фонарной панели (рис. 9.24, в). Фонарная панель при этом должна быть рассчитана на дополнительную нагрузку от покрытия.

10 Купола

Основные положения

10.1 Купол представляет собой пространственную железобетонную конструкцию в виде выпуклой оболочки круглого, эллиптического или многоугольного очертания в плане.

Элементами куполов служат, как правило, осесимметричная оболочка вращения и растянутое опорное кольцо. При наличии фонарного проема в вершине купола устраиваются сжатое фонарное кольцо, а также проемы и отверстия, расположенные на боковых участках купола.

Срединную поверхность оболочки рекомендуется принимать в виде поверхности вращения: конуса, сферы, параболоида, эллипсоида и др. (рис. 10.1). Кроме того, оболочка может быть образована волнистыми и складчатыми элементами. В покрытиях находят применение также железобетонные сетчатые и многогранные купола.

а - геометрия; б - схема усилий; 1 - ось вращения; 2 - параллель; 3 - меридиан; 4 - краевой параллельный круг

Рисунок 10.1 - Оболочка вращения

10.2 Купола проектируются в виде пологих или подъемистых тонкостенных оболочек. Подъем куполов рекомендуется принимать не менее 1/10 диаметра опорного контура оболочки.

Опорное кольцо может лежать на сплошном основании, образованном стенами, или на отдельных колоннах.

10.3 Купольные покрытия могут проектироваться монолитными, сборно-монолитными или сборными. Монолитные купола рекомендуется предусматривать гладкими, а сборные - из ребристых цилиндрических или плоских панелей.

При проектировании куполов следует учитывать общие рекомендации разделов 4, 5 и 6 настоящего СП по расчету и конструированию.

Рекомендации по расчету

10.4 Расчет куполов производится по двум предельным состояниям с учетом рекомендаций раздела 4.2 настоящего СП. При этом определение усилий в элементах куполов допускается производить методами теории упругости, изложенными в пп. 10.6 - 10.9. По найденным усилиям расчет прочности сечений, жесткости и трещи постой кости железобетонных элементов производится согласно требованиям СНиП 52-01. Для случаев, предусмотренных пп. 10.11 - 10.15, расчет куполов по несущей способности производится методом предельного равновесия.

10.5 При проектировании куполов усилия можно определять по безмоментной теории с наложением усилий краевого эффекта. Безмоментное напряженное состояние упругой оболочки с вертикальной осью вращения может быть обеспечено лишь при следующих условиях:

плавных изменениях толщины стенок купола и радиуса кривизны меридиана, а также при равномерных симметричных нагрузках, действующих на оболочку;

свободных радиальных и угловых перемещениях краев оболочки, при этом направление меридианальных усилий должно быть по касательной к меридиану.

В этом случае краевые условия оболочки статически определимы. В противном случае напряженно-деформированное состояние купола должно определяться с учетом действия изгибающих моментов.

Определение усилий по безмоментной теории

10.6 При симметричной нагрузке в стенке купола действуют нормальные меридианальные N1 и кольцевые N2 усилия (рис. 10.1). Усилие на единицу длины меридиана N1 определяют из условия равновесия сегмента, отсеченного от купола конической поверхностью с углом раствора j

                                                   (10.1)

где Vj - вертикальная равнодействующая внешней нагрузки на часть оболочки выше рассматриваемого сечения;

R2 - радиус кривизны нормального сечения, перпендикулярною к меридиану в данной точке (длина нормали поверхности до оси вращения).

Распор купола H определяют как горизонтальную проекцию N1

                                              (10.2)

где j0 - 1/2 центрального угла дуги оболочки в меридианальном направлении. Растягивающее усилие N0 в кольце определяют по формуле

                                                        (10.3)

оно должно быть целиком воспринято кольцевой арматурой.

Кольцевое усилие Nsk в фонарном кольце определяют по формуле

Nsk = -pR2sk cosjsk,                                                   (10.4)

где р - нагрузка на 1 м фонарного кольца.

Индексы 0 и sk в формулах 10.2 - 10.4 указывают на то, что все переменные величины, входящие в эти формулы, относятся соответственно к широте опорного и фонарного кольца оболочки.

Величину кольцевого усилия N2 определяют по формуле

                                                   (10.5)

где z - нормальная к поверхности купола в рассматриваемом сечении составляющая внешней нагрузки на единицу площади поверхности.

Для сферической оболочки при R1 = R2 = R

N1 + N2 = z R;                                                          (10.6)

                                                  (10.7)

pz - вертикальная составляющая внешней нагрузки.

Для конической оболочки R1 = ¥; j = a = const.

Формулы для определения усилий N1, N2 и N0 для сферических и конических оболочек при некоторых видах нагружения приведены в Руководстве (приложение Б, п. 47).

10.7* При одностороннем нагружении купола нагрузкой q ее распределение по поверхности z допускается определять по формуле

z = 0,68q(1 + sinj siny),                                                  (10.8)

где q - нагрузка на единицу площади горизонтальной проекции;

j - 1/2 центрального угла в меридианальном направлении;

y - центральный угол в кольцевом направлении.

Нормальные усилия N1, N2 и сдвигающие усилия S определяют по формулам:

                    (10.9)

             (10.10)

                              (10.11)

В случае использования конечно-элементных программ расчета распределение односторонней снеговой нагрузки рекомендуется принимать в соответствии с действующими нормативными документами «Нагрузки и воздействия».

10.8 Краевые изгибающие моменты М0 и распор купола H0 вблизи кольца рекомендуется определять методом сил. Система канонических уравнений, выражающих совместность угловых и линейных перемещений купола и опорного кольца по линии их контакта, имеет вид

а11М0 + a12H0 = a10;                                                 (10.12)

a21M0 + a22H0 = а20,

где а11 - взаимный угол поворота от действия M0 = 1 в направлении этого момента в сечении вблизи кольца;

a12 - то же, от действия Н0 = 1 в направлении момента;

а21 - взаимное перемещение от M0 = 1 в направлении H0;

а12 = а21 в силу взаимности перемещений;

а22 - взаимное перемещение от H0 = 1 в направлении H0;

a10 - взаимный угол поворота в том же сечении, вызванный внешней нагрузкой;

а20 - взаимное перемещение, вызванное внешней нагрузкой, при совпадении с направлением Н считается положительным.

Если углы a12 и а10 совпадают по направлению с углом поворота a11, вызванным M0 = 1, то их принимают со знаком «плюс», если не совпадают - со знаком «минус». Такое же правило знаков принимается и для линейных перемещений. Перемещения а11 и а20 всегда положительны.

10.9 Перемещения сферической оболочки a10 и a20 определяют по формулам

а) при нагрузке от собственного веса

                                                   (10.13)

                               (10.14)

б) при равномерно распределенной нагрузке р0 на горизонтальную проекцию (по поверхности оболочки распределяется по закону косинуса р = p0cosj)

                                         (10.15)

                                        (10.16)

Значение величины коэффициента А для гладких куполов определяется по формуле

Для ребристых куполов

Здесь In - момент инерции, приходящийся на единицу длины, с учетом меридианальных ребер;

dn - приведенная толщина оболочки с учетом сечения кольцевых ребер.

Определение краевого эффекта по приближенной моментной теории

10.10 При воздействии распора H0 в опорном кольце возникают моменты Н0е (см. рис. 10.2), вызывающие поворот кольца на угол qk, который определяется по формуле

                                                    (10.17)

Перемещения края оболочки, вызванные радиальным распором H0, приведены на рис. 10.3.

Рисунок 10.2 - Расчетная схема узла сопряжения опорного кольца и оболочки купола

Рисунок 10.3 - Перемещения края оболочки, вызванные радиальным распором H0

Коэффициенты уравнения метода сил а11, a12, a22, т.е. перемещения краев любых непологих оболочек от неизвестных М0 и H0 (рис. 10.4), интенсивность которых равна единице, определяются по следующим формулам, полученным на основе моментной теории:

                                                    (10.18)

                                            (10.19)

                                 (10.20)

Здесь D - изгибная жесткость меридианальной полосы единичной ширины купола. В формулах (10.17) - (10.20) значение модуля упругости Е принимается сниженным в соответствии с разделом 5.6 настоящего СП.

а - момент; б - распор

Рисунок 10.4 - Момент и распор при взаимодействии оболочки и опорного кольца купола

Подставив в систему уравнений (10.12) значения коэффициентов, вычисленные по формулам (10.18) - (10.20), находят искомые М0 и H0. Моменты М(l) и кольцевое усилие N2(l) по длине меридиана оболочки в зависимости от краевых значений моментов M0 и H0 определяют по формулам, полученным на основе теории балки на упругом основании:

M(l) = - M0(cosl + sinl)e-l + AH0sinj0sinle-l;                                (10.21)

                 (10.22)

где N2 - кольцевое усилие в безмоментной оболочке;

М(l), N2(l) - соответственно интенсивности момента и кольцевого усилия в произвольной точке купола.

Величину l определяют по формуле

l = S/F,

где e-lcosl и e-lsinl - функции, значения которых приведены в табл. 10.1.

Отсчет длины дуги S или величины X ведется от края, к которому приложены М0 и H0.

Таблица 10.1

l

e-lcosl

e-lsinl

l

e-lcosl

e-lsinl

0

1

0

1,6

-0,0059

0,2018

0,1

0,9004

0,0903

1,7

-0,0236

0,1812

0,2

0,8024

0,1627

1,8

-0,0376

0,161

0,3

0,7078

0,2189

1,9

-0,0484

0,1415

0,4

0,6174

0,261

2

-0,0564

0,1231

0,5

0,5323

0,2908

2,1

-0,0618

0,1057

0,6

0,453

0,3099

2,2

-0,0652

0,0896

0,7

0,3798

0,3199

2,3

-0,0668

0,0748

0,8

0,313

0,3223

2,4

-0,0669

0,0613

0,9

0,2528

0,3185

2,5

-0,0658

0,0491

1

0,1988

0,3096

2,6

-0,0636

0,0383

1,1

0,151

0,267

2,7

-0,0608

0,0287

1,2

0,1092

0,2807

2,8

-0,0573

0,0204

1,3

0,0729

0,2626

2,9

-0,0535

0,0133

1,4

0,0419

0,2430

3

-0,0493

0,00703

1,5

0,0158

0,2226

Расчет несущей способности куполов по методу предельного равновесия

10.11 Расчет несущей способности железобетонных куполов по методу предельного равновесия при соблюдении общих положений раздела 4 СП 52-101 рекомендуется производить согласно пп. 10.12 - 10.15 при условии, что:

осесимметричная нагрузка интенсивностью q равномерно распределена по горизонтальной проекции купола;

форма купола - сферическая;

отношение диаметра контура к стреле подъема не превышает 10;

арматура состоит из меридианальных и кольцевых стержней, образующих верхнюю и нижнюю сетки;

оболочка вращения опирается по всему периметру (если опорное кольцо опирается в отдельных точках, в нем должна быть уложена дополнительная арматура, необходимая для восприятия вертикальных составляющих усилий на контуре);

исчерпание несущей способности купола происходит вследствие текучести арматуры.

10.12* Схема разрушения купола принимается в виде системы сквозных меридианальных трещин, начинающихся у растянутого контура и соединенных по концам раскрывающимися вниз кольцевыми пластическими шарнирами (рис. 10.5). Эта схема является наиболее вероятной формой обращения купола в пространственный механизм в случае, когда вся арматура контурного кольца достигает расчетного сопротивления на растяжение. При равномерно распределенной по горизонтальной проекции нагрузке принимается, что поверхность купола сферическая, с центральным углом, не превышающим 90°, либо она образована вращением квадратной или кубической параболы, а также гиперболы и цепной линии. Для сферических куполов в рассматриваемых условиях при r0/d £ 400 область реализации данной схемы излома может быть принята для значений 2r0/f ³ 3,5 (r0 - радиус опорного кольца).

а - поперечное сечение; б - схема разрушения

Рисунок 10.5 - К расчету купола по предельному равновесию

Приближенный расчет несущей способности купола по «балочной» схеме

10.13* Для свободно опертых по контуру сферических оболочек вращения с меридианально-кольцевой схемой разрушения расчет производится из условия равновесия рассматриваемой части оболочки (рис. 10.6). При этом работой внутренних сил в кольцевом пластическом шарнире можно пренебречь.

Рисунок 10.6 - К расчету купола по «балочной» схеме

Из условия равенства нулю суммы проекций усилий на горизонтальную ось выражение для угловой координаты xс, ограничивающей сжатую зону бетона

                                                 (10.23)

где В = Rb h0 + qs + q¢s;

As,s0 - площадь сечения всех кольцевых стержней опорного кольца;

R - радиус кривизны срединной поверхности купола;

x0 - угловая координата края купола;

Rb - призменная прочность бетона;

qs, q¢s - погонные усилия, воспринимаемые кольцевой арматурой купола соответственно в растянутой и сжатой зонах рассматриваемого сечения купола;

h0 - рабочая высота сечения стенки купола.

Из равенства моментов внешних и внутренних сил после интегрирования

sinxc - kexс - т = 0,                                                    (10.24)

где kе = ec0/R;

ec0 - расстояние от центра тяжести рабочей арматуры кольца до центра окружности 0;

М - момент внешних сил относительно оси, проходящей через центр окружности 0.

Зная выражение для М из (10.24), можно найти величину суммарной внешней нагрузки P (рис. 10.6). В общем виде

                                                             (10.25)

где k - коэффициент, зависящий от вида опирания и характера внешней нагрузки (0 £ k £ 1);

r0 - радиус основания купола.

Формулы для определения k для характерных случаев опирания и различных видов нагружения приведены в табл. 10.2.

Таблица 10.2

Вид нагрузки

Вид опирания

на 3 точки

на 4 точки

на 5 точек

на 6 точек

по всему контуру

Равномерно распределенная по всей поверхности

См. на 3 точки

Кольцевая, распределенная по радиусу х

То же

Сосредоточенная в вершине оболочки

»

1

Собственная масса оболочки

»

Расчет несущей способности купола с учетом деформированного состояния

10.14* В основе расчета купола лежит меридианально-кольцевая схема разрушения, представленная на рис. 10.5. Принимаем условные обозначения геометрии оболочки и армирования, приведенные на рис. 10.6.

Для удобства расчета срединную поверхность оболочки принимаем в виде параболоида вращения, описываемого уравнением

z = h(x2 + у2),

где h = f/r0;

здесь f - стрела подъема оболочки;

r0 - радиус окружности ее основания.

Расстояние от оси оболочки до кольцевого пластического шарнира находим из условия равновесия:

где  n = As,c0Rs; k = (Rbh0 + q¢s)/qs,

здесь As,c0 - площадь сечения кольцевых стержней опорного кольца;

Rs - их расчетное сопротивление на растяжение;

Rb - призменная прочность бетона;

qs и q¢s - погонные усилия, воспринимаемые кольцевой арматурой купола, соответственно в растянутой и сжатой зонах рассматриваемого сечения купола.

В начальной стадии деформирования несущая способность оболочки может быть найдена по формуле

q1 = 6[M* + qsf(b - 3aw*/2)/3]/ak*,                                         (10.26)

здесь

a = k + 1 - kn;

w* - относительный прогиб оболочки;

w* = w¢0t/f;

т - погонное значение предельной величины изгибающего момента в верхнем кольцевом пластическом шарнире

где As,mb - площадь сечения меридианальной арматуры нижней сетки на единицу длины кольцевого направления;

x - высота сжатой зоны сечения, определяемая с соблюдением условия:

где xR - граничное значение относительной высоты сжатой зоны, определяемое по СП 52-102.

10.15* Деформированному состоянию оболочки отвечает критический прогиб wcr, при этом:

w*cr = 2kna/(k + 1)2.                                                    (10.27)

Подставляя (10.27) в (10.26), получим

q¢1 = 6[М*1 + qsf(b/3 - а2kп/(k + 1)]/аk*,                                   (10.28)

где

Полученные значения предельной нагрузки (10.28) рекомендуется принимать в качестве расчетного при расчете на равномерно распределенную нагрузку оболочки с опорным кольцом и разрушением по схеме, представленной на рис. 10.5.

Конструирование

10.16 На стадии предварительного проектирования толщину стенок гладких куполов рекомендуется принимать равной от 1/800 до 1/600 радиуса кривизны оболочки в вершине. Высота ребер сборных куполов-оболочек определяется, как правило, условиями изготовления, перевозки и монтажа элементов. Толщина оболочки и размеры сечения ребер должны быть не менее, чем это предусмотрено в разделе 6 настоящего СП.

10.17 Армирование гладких оболочек при толщине до 70 мм рекомендуется выполнять конструктивно, одиночной сеткой из стержней диаметром 4 - 6 мм, с шагом 150 - 200 мм. При большей толщине рекомендуется устанавливать две сетки.

В зоне примыкания оболочки к кольцу толщину оболочки увеличивают и устанавливают дополнительную сетку со стержнями диаметром 6 - 8 мм меридианального направления (рис. 10.7, а, б). Количество стержней рассчитывается по максимальному меридианальному изгибающему моменту.

а - обычного опорного кольца купола; б - предварительно напряженного кольца купола; в - сборного элемента (плиты); г - продольных ребер плиты; д - узла сопряжения продольного ребра плиты с предварительно напряженным опорным кольцом; е - узла сопряжения продольного ребра с верхним кольцом; 1 - продольное ребро; 2 - поперечное ребро; 3 - арматурная сетка плиты; 4 - сварные каркасы поперечных ребер; 5 - сварной каркас продольного ребра; 6 - стальные закладные детали в продольном ребре; 7 - стальные закладные детали в элементах кольца; 8 - бетон омоноличивания напрягаемой арматуры; 9 - предварительно напряженная арматура кольца; 10 - шов замоноличивания; 11 - верхнее опорное кольцо; 12 - стальные соединительные накладки

Рисунок 10.7 - Армирование монолитных и сборных железобетонных куполов и их элементов

В местах действия на купол сосредоточенных нагрузок, а также около отверстий и проемов предусматривается дополнительная конструктивная или расчетная арматура с учетом рекомендаций п. 6.5 настоящего СП.

10.18 Распор купола воспринимается растянутым опорным кольцом, которое рекомендуется выполнять предварительно напряженным. Выбор величины обжатия и конструирование опорного кольца рекомендуется производить так, чтобы обеспечить трещиностойкость кольца или допустимую ширину раскрытия трещин согласно рекомендациям СП 52-102.

При проектировании следует учитывать способ предварительного напряжения опорного кольца. Например, целесообразно предусматривать механическое натяжение пучков, канатов или стержней (рис. 10.8), располагаемых в прямолинейных или криволинейных пазах кольца и закрепляемых в одном, трех, четырех или шести его выступах в зависимости от диаметра кольца. Для стержневой арматуры может быть предусмотрено натяжение с применением электронагрева. Полигонально-кольцевую арматуру можно также натягивать оттяжкой с помощью радиально установленных домкратов.

10.19 Для купольных покрытий диаметром не более 30 м при устройстве на уровне кольца купола горизонтального покрытия или перекрытия, опоясывающего купол по всему периметру, целесообразно передавать распор на это перекрытие. Перекрытие в этом случае проектируется с учетом передающихся на него распора и изгибающих моментов.

10.20 Сборные купольные покрытия обычно имеют ортогональную сетку меридианальных и кольцевых ребер (рис. 10.9) или ромбическую сетку, если это оправдано архитектурными или технологическими соображениями.

10.21 Характер армирования ребер приведен на рис. 10.7, в. Если распределенная нагрузка является основной, то в средней зоне покрытия изгибающие моменты в ребрах плит, как правило, невелики, поэтому ребра армируются по расчету на монтажные нагрузки. В приконтурной зоне купола арматура ребер проверяется из условия восприятия краевых изгибающих моментов при расчетной нагрузке. Арматура меридианальных ребер заводится в опорное и фонарное кольца либо соединяется с ними закладными деталями (рис. 10.7, е).

а - схема армирования; б - деталь анкерного узла; 1 - арматурные пучки или стержни; 2 - выступ; 3 - анкер; 4 - спирали

Рисунок 10.8 - Предварительно напряженное опорное кольцо купола

10.22 Покрытия и перекрытия зданий и сооружений могут проектироваться в виде складчатого купола (рис. 10.10, а) из сопряженных купольных оболочек (рис. 10.10, б, в), а также в виде неполного купола. Примером покрытия в виде неполного купола может служить сферическая оболочка покрытия театра, в результате отсечения части которой образован сценический проем.

а - общий вид; б - план; в - трапециевидная плоская плита; 1 - монолитное нижнее опорное кольцо; 2 - монолитное верхнее опорное кольцо

Рисунок 10.9 - Сборный купол из плоских ребристых плит

а - складчатый купол; б, в - сопряженные купольные оболочки

Рисунок 10.10 - Формы купольных оболочек

11 Пологие оболочки положительной гауссовой кривизны на прямоугольном плане

Основные положения

11.1 Пологими считаются оболочки, имеющие небольшой подъем над опорным планом при

f1 £ a/5 и f2 £ b/5,

где 2а и 2b - размеры стороны оболочки в плане;

f1 и f2 - стрелы подъема оболочки на контуре (рис. 11.1).

11.2 Тип срединной поверхности характеризует форму оболочки. В качестве срединной рекомендуется принимать поверхность переноса или вращения. Образующими для всех поверхностей в практике проектирования обычно принимаются круговые кривые. Допускается также применение таких поверхностей, как эллиптический параболоид, эллипсоид вращения, тор и др.

Рисунок 11.1 - Схема оболочки положительной гауссовой кривизны

Для сборных оболочек тип поверхности определяется схемой разрезки, возможностями унификации и удобством изготовления сборных элементов, а также условиями возведения оболочек.

Для сборных оболочек в качестве срединной рекомендуется принимать часть тороидальной поверхности, имеющей положительную кривизну. Членение оболочек на плиты осуществляется системой радиальных секущих плоскостей, проходящих через ось вращения, и системой вертикальных плоскостей, перпендикулярных этой оси (рис. 11.2). При таком членении полосы между равноотстоящими радиальными секущими плоскостями внутри оболочки являются равновеликими, что позволяет сократить число типоразмеров сборных плит.

1 - элемент членения; 2 - вертикальные секущие плоскости; 3 - ось вращения радиальных секущих плоскостей; 4 - радиальные секущие плоскости

Рисунок 11.2 - Схема членения исходной поверхности оболочки на сборные элементы

11.3 Оболочки по контуру опираются на диафрагмы, которые выполняются в виде арок, ферм или балок, а также криволинейных брусьев, уложенных на стены. Контурные балки рекомендуется применять в отдельно стоящих оболочках при колоннах, часто расположенных по периметру здания, а также устанавливать по наружным рядам колонн многоволновых оболочек, когда не намечается расширение корпуса в соответствующем направлении.

В остальных случаях (по средним рядам и деформационным швам) рекомендуется устанавливать фермы или арки. Применение ферм как более жестких в вертикальной плоскости элементов имеет преимущество перед арками, так как обеспечивает более благоприятную в статическом отношении работу оболочек на смежных диафрагмах.

11.4 В зависимости от количества и расположения ячеек здания оболочки могут проектироваться отдельно стоящими (одноволновыми) и многоволновыми в одном и двух направлениях (см. п. 4.1 настоящего СП). Многоволновые оболочки могут проектироваться разрезными и неразрезными. К разрезным многоволновым оболочкам относятся такие, в которых с помощью специальных конструктивных мер обеспечивается возможность горизонтальной податливости контура не только крайних, но и средних волн оболочек (см. п. 11.5 настоящего СП).

В неразрезных оболочках приконтурные зоны соседних конструкций жестко соединяются между собой и с диафрагмами (см. п. 11.5 настоящего СП).

11.5 Сборные многоволновые оболочки (рис. 11.3) рекомендуется, как правило, проектировать разрезными. К разрезным следует относить также оболочки, осуществляемые по типу тангенциально-подвижных, расчетная схема которых близка к отдельно стоящим, что является благоприятным в статическом отношении. Такое сопряжение принято для типовых сборно-монолитных железобетонных оболочек положительной гауссовой кривизны (рис. 11.4).

Неразрезные оболочки являются более жесткими, чем другие типы конструктивных решений, но требуют большего расхода стали для обеспечения неразрезности. Их рекомендуется применять при нагрузках на покрытие, превышающих 6 кН/м2, а также в районах с сейсмичностью 7 баллов и более. Монолитные многоволновые оболочки рекомендуется проектировать неразрезными.

11.6 В оболочках допускается устройство зенитных или светоаэрационных фонарей, располагаемых в средней зоне (см. п. 6.5 настоящего СП).

Рисунок 11.3 - Общий вид многоволновых сборных железобетонных оболочек положительной гауссовой кривизны

На оболочки допускается передавать нагрузки от подвесных кранов или тельферов, пути которых крепятся к оболочкам на специальных подвесках.

Рекомендации по расчету

Расчет отдельно стоящих (одноволновых) оболочек

11.7 В пологой оболочке возникает система усилий N1, N2, S, Q, а также изгибающих M1, М2 и крутящих моментов Т12, Т21 (рис. 11.5).

В зависимости от стадии проектирования, конструктивных особенностей, вида нагрузки и условий опирания по контуру пологие оболочки могут рассчитываться по безмоментной теории с учетом краевого эффекта или более точно по моментной теории с определением всех усилий, показанных на рис. 11.5. Безмоментная линейная теория с учетом изгибающих моментов, возникающих в приопорных зонах, может быть использована в предварительных расчетах шарнирно-опертых гладких оболочек с относительно большим подъемом (f/d > 20) при равномерно распределенной нагрузке. Допускается считать шарнирным опирание оболочки на стены или на часто расположенные по контуру колонны, а также на достаточно жесткие в своей плоскости и гибкие из плоскости диафрагмы, например в виде железобетонных ферм с предварительно напряженным нижним поясом.

11.8 При рабочем проектировании рекомендуется пользоваться расчетами с помощью ЭВМ, основанными на методе конечных элементов, позволяющими учесть конструктивные особенности оболочек (наличие ребер, отверстий, переломов поверхности), а также действительную жесткость бортовых диафрагм.

а - общий вид оболочки; б - план оболочки размером 18´24 м; в - цилиндрические ребристые панели размером 3´6 м; г - деталь сопряжения смежных оболочек; 1 - железобетонный упор верхнего пояса диафрагмы; 2 - контурные плиты; 3 - стальные упоры; 4 - бетон замоноличивания угловой зоны; 5 - соединительные накладки

Рисунок 11.4 - Конструкция типовых сборных железобетонных оболочек с тангенциально подвижными диафрагмами

Описание: Описание: Описание: Описание: 1

Рисунок 11.5 - Схема усилий в пологих оболочках

11.9 Уравнения нелинейной моментной теории пологих оболочек записываются в значительно более сложном виде, и чтобы решить, какие уравнения должны быть положены в основу расчета заданной конкретной оболочки, необходимо рассмотреть вопрос о пределах применимости линейных теорий.

Влияние нелинейности на величину усилий зависит от подъема оболочки: чем меньше подъем, тем это влияние значительнее. Для весьма пологих оболочек (f/d £ 6) линейная теория может дать значительную погрешность в отношении прогибов. Вопрос о целесообразности расчета по нелинейной теории можно решать следующим образом: подсчитывается вся нагрузка q, действующая на рассматриваемую оболочку (вместе с коэффициентами перегрузки), и по формулам линейной теории определяется максимальный прогиб w1. Это значение прогиба подставляется в формулы нелинейной теории, по которым определяется величина нагрузки qn, соответствующая прогибу w1. Если окажется, что qn существенно меньше q (например, на 5 % и более), то данную оболочку следует рассчитывать по нелинейной теории. Для оболочки, края которой в плане свободно смещаются либо шарнирно оперты, либо защемлены, нелинейная зависимость между нагрузками q и прогибом w в центре опорного плана оболочки выражается формулой

                                        (11.1)

здесь q* = 16qa4/Ed4,

где 2a - ширина опорного плана, см. п. 11.1 настоящего СП;

x = w/d;

x0 = f0/d - безразмерные величины;

f0 - начальный подъем оболочки;

a1, a2, a3, a4 - коэффициенты для квадратной в плане оболочки со стороной 2а для шести случаев граничных условий (табл. 11.1).

Штриховка на рисунках таблицы означает, что соответствующий край защемлен относительно углов поворота; отсутствие штриховки - край шарнирно оперт.

Коэффициенты подсчитаны при v = 0,3; при других значениях коэффициента Пуассона необходимо величину a4 умножить на коэффициент 0,91(1 - v2); значения a1, a2, a3 не изменяются. Для оценки влияния геометрической нелинейности на величину нагрузки с помощью формулы (11.1) и табл. 11.1 первоначально подсчитывается наибольшее значение всех нагрузок q*. Далее по формуле x1 = q*/a4 подсчитывается безразмерная величина прогиба x1, определяемая линейной теорией. Это значение прогиба подставляется в формулу (11.1), по которой вычисляют соответствующее значение нагрузки , и относительная разница между  и q* подсчитывается по формуле

                                           (11.2)

11.10 Для безмоментной оболочки с шарнирным опиранием по контуру нормальные и сдвигающие силы N1, N2 и S рекомендуется определять по формулам:

            (11.3)

Таблица 11.1

Случай граничного условия

a1

a2

a3

a4

I

+8,63

-19,62

+9,92

+22,12

II

+9,9

-19,05

+8,15

+32,51

III

+7,57

-13,65

+5,48

+46,07

IV

+12,45

-20,18

+7,27

+43,59

V

+ 10,31

-15,64

+5,27

+56,99

VI

+9,24

-13,1

+4,13

+68,89

Здесь:

                                    (11.4)

 

В формулах (11.3) и (11.4): R1, R2 - главные радиусы кривизны срединной поверхности в вершине оболочки.

11.11 Безмоментная теория не дает возможности определить сдвигающие усилия в угловых зонах оболочки, так как при приближении к углам сдвигающие усилия стремятся к бесконечности. Это указывает на то, что в углу оболочки равновесие может быть обеспечено только с учетом действительно возникающих в оболочке изгибающих моментов и перерезывающих сил. Приближенно при расчете диафрагм величину сдвигающих усилий на приопорных участках (0,04 - 0,05 длины пролета) рекомендуется определять по разности между внешней нагрузкой и вертикальной проекцией сдвигающих сил на остальной части пролета.

11.12 Могут быть предложены упрощенные выражения для определения нормальных и сдвигающих сил N1, N2 и S для расчета прямоугольной в плане оболочки со сторонами 2а и 2b:

                                  (11.5)

Здесь:

где А = k1a2 + k2b2;

 

При расчете по формуле (11.5) эпюра усилия S получается более спокойной и не стремится в угловых точках к бесконечности.

11.13 Вблизи контура оболочки возникает искажение безмоментного напряженного состояния, так как здесь действуют краевые изгибающие моменты и поперечные силы. Для приближенных расчетов принимается, что изгибное состояние оболочки имеет характер краевого эффекта и быстро затухает по мере удаления от края оболочки. Зона действия изгибающих моментов распространяется не далее (3 - 4)s от края в зависимости от его закрепления, где  Ширину зоны краевого эффекта, в пределах которой на нижней грани оболочки действуют растягивающие напряжения, можно определять из графиков, приведенных на рис. 11.15.

В моментной зоне имеют место изгибающие моменты М1 и M2, действующие в двух взаимно перпендикулярных направлениях, и крутящие моменты Т12. Их величины могут быть найдены по формулам:

                                             (11.6)

где f1(х) и f1(y) - функции, характеризующие изгибное состояние оболочки на контуре;

 

Функция f1(х) и две ее производные имеют вид:

                                                 (11.7)

Меняя индекс х на у и s1 на s2, получим соответствующие выражения для f1(y) и ее производных. Для удобства вычисления оси координат располагаются таким образом, что начало координат совпадает с углом оболочки.

В формуле (11.7):

На основе формул (11.6) могут быть вычислены максимальные изгибающие моменты (M1)max и (M2)max и крутящие (Т12)max

 при x = y = 0.                                          (11.8)

Очевидно, что аналогичные значения имеют и M2. Максимальный крутящий момент

 при x = y = 0.                                        (11.9)

11.14 Усилия и прогибы прямоугольных в плане отдельно стоящих оболочек со сторонами l1, l2 при равномерно распределенных нагрузках q и шарнирном опирании по контуру могут быть определены по формулам, приведенным в Руководстве (приложение Б), где они представлены в двойных тригонометрических рядах. Расчет, выполненный по этим формулам, составленным на основе моментной теории оболочек, позволяет получить более достоверные величины усилий в приопорных зонах, так как учитывает дополнительное поле напряжений, вызванное моментным напряженным состоянием.

11.15 Расчет отдельно стоящих оболочек, квадратных в плане со сторонами l, рекомендуется выполнять с помощью таблиц, приведенных в Руководстве (приложение Б).

Усилия при равномерно распределенной нагрузке рекомендуется определять по формулам:

а) нормальные силы N1 в направлении оси х и N2 в направлении оси у по линии у = 0

                                       (11.10)

где  и  - коэффициенты, принимаемые по графику на рис. 11.6. На рис. 11.7 - 11.9 приведены графики коэффициентов kM, kS, kQ, kpr.

Графики этих коэффициентов представлены для наиболее часто встречающихся значений l (), равных 7, 9 и 11;

б) изгибающие моменты М в направлении оси х по линии у = 0 (рис. 11.7)

M = ql2kM;                                                           (11.11)

в) сдвигающие усилия S по граням оболочки (рис. 11.8)

                                                        (11.12)

г) поперечные силы Q, действующие по граням оболочки (рис. 11.8)

Q = qlkQ;                                                         (11.13)

д) главные усилия Npr, действующие в оболочке (в направлении диагонали - кривая 1) и нормально к ней (рис. 11.9 - кривая 2)

                                                   (11.14)

Рисунок 11.6 - Графики коэффициентов ,

Рисунок 11.7 - Графики коэффициентов kM

Рисунок 11.8 - Графики коэффициентов ks, kQ

Рисунок 11.9 - Графики коэффициентов kpr

11.16 Расчет количества арматуры в угловой зоне оболочки и ее распределение вдоль диагонали рекомендуется производить после построения эпюры главных растягивающих напряжений в диагональном сечении. Зачем оболочку рекомендуется разделить на участки, для каждого из которых по эпюре определить суммарное усилие, а по нему - необходимое количество арматуры.

Дополнительно строится огибающая эпюра главных растягивающих усилий по грани оболочки при равномерной и односторонней (например, снеговой) нагрузках. Главные растягивающие усилия на грани оболочки направлены под углом 45° к контуру и численно равны сдвигающим усилиям. На эти усилия проверяется количество арматуры у контура. При этом для квадратных в плане оболочек главные усилия, действующие в направлении диагонали и нормально к ней, могут быть найдены по формуле (11.14), а сдвигающие по граням оболочки - по формуле (11.12).

11.17 Нагрузкой на диафрагмы оболочек является опорное давление, передаваемое по граням в виде сдвигающих сил S, касательных к срединной поверхности оболочки, обратных по направлению и равных по величине сдвигающим усилиям в оболочке, а также поперечные силы. Влияние поперечных сил в оболочках с небольшой стрелой подъема увеличивается. При этом для квадратных в плане оболочек сдвигающие усилия и поперечные силы, действующие по граням, рекомендуется определять по формулам (11.12) и (11.13) настоящего СП.

При расчете диафрагм, выполняемых в виде ферм, усилия собираются в узлы. При переносе усилий с оси оболочки на ось диафрагмы рекомендуется учитывать возникающие при этом дополнительные моменты.

11.18 Односторонняя равномерно распределенная нагрузка обычно заменяется комбинированной из симметричной и обратно симметричной нагрузок.

При обратно симметричной нагрузке моменты возникают не только на приопорных участках, но и в средней части оболочки у мест перепада нагрузок. Нормальные усилия при обратно симметричной нагрузке в 4 - 5 раз меньше, чем при сплошной. При обратно симметричной нагрузке значительные сдвигающие усилия возникают не только в углах оболочки, но и на приопорных участках в средней части пролета.

В случае использования конечно-элементных программ расчета распределение односторонней снеговой нагрузки рекомендуется принимать в соответствии с действующими нормативными документами «Нагрузки и воздействия».

11.19 Усилия в оболочках с соотношением сторон в плане 1:2, имеющих одинаковые или близкие по величине радиусы кривизны в направлениях, параллельных обеим сторонам контура, при равномерно распределенной нагрузке можно определять по формулам и таблицам для расчета квадратных оболочек, нагруженных обратно симметричной нагрузкой. Формулы для определения усилий в оболочках при действии обратно симметричной нагрузки приведены в Руководстве (приложение Б), где система коэффициентов в выражениях усилий, аналогичных приведенным выше, дана в табличной и графической формах.

Учет действительной жесткости контурных диафрагм и их влияние на напряженно-деформированное состояние оболочек

11.20 Если оболочки опираются на гибкие в своей плоскости диафрагмы (например, арки с затяжками), то величины усилий в приконтурной зоне значительно отличаются от полученных расчетом при жестких диафрагмах, хотя в средней зоне сохраняется безмоментное состояние. На рис. 11.10 показаны результаты расчета одной и той же конструкции оболочки без учета податливости диафрагм (линия 1) и с учетом действительной жесткости диафрагм в виде арок и ферм (линии 2, 3). Из расчета следует, что величина усилий N1 практически не зависит от жесткости диафрагм.

При шарнирном опирании на жесткие диафрагмы усилия N2 на контуре равны нулю. При диафрагмах в виде ферм оболочка в краевой зоне испытывает незначительное растяжение от усилий N2. При диафрагмах в виде арок, обладающих значительной податливостью, в результате сжимающих напряжений от изгиба контура оболочка в приконтурной зоне оказывается сжатой. В зависимости от жесткости диафрагм меняется и знак моментов в оболочке: при податливых диафрагмах в виде арок растянутой от изгиба оказывается верхняя грань оболочки, при более жестких диафрагмах в виде ферм растянута нижняя грань. Таким образом, лишь при достаточной жесткости диафрагм, например, в виде железобетонных ферм с предварительно напряженным нижним поясом, допустимо в первом приближении вести расчет без учета податливости диафрагм. Расчет может производиться по безмоментной теории с учетом краевого эффекта или по моментной теории.

1 - без учета податливости диафрагм; 2 - с учетом податливости диафрагм в виде ферм; 3 - то же, в виде арок

Рисунок 11.10 - Графики усилий N1, N2, S и М в отдельно стоящей оболочке по результатам расчетов

В оболочках с контурными элементами в виде криволинейного бруса, опертого на колонны, распределение усилий в приконтурной зоне отлично от оболочек с контурными элементами других видов (арки, фермы и др.), что должно учитываться при расчете и конструировании.

Нагрузки на колонны, изгибающие моменты в контурных элементах и их прогибы могут быть найдены приближенно из расчета контурных брусьев как неразрезных балок на равномерно распределенную по их длине нагрузку интенсивностью, равной частному от деления общей нагрузки на оболочку на длину контура в осях. Из расчета контурных брусьев как неразрезных балок могут быть найдены усилия в них и от осадки колонн (опор).

11.21 В отдельно стоящих оболочках упругая податливость диафрагм влияет существенно лишь на усилия, действующие в сечениях у диафрагм; в средних оболочках многоволнового покрытия - на усилия по всей конструкции, что должно учитываться при расчете и конструировании. На рис. 11.11 приведены результаты расчетов средней оболочки многоволнового в одном направлении покрытия с учетом податливости диафрагм. Для оценки жесткости диафрагм оболочка рассчитывалась при диафрагмах в виде ферм, арок и криволинейных ригелей, опирающихся на стену, прогиб которых равен нулю (соответственно линии 1, 2, 3). Для сравнения на графики рис. 11.11 нанесены величины усилий (линия 4), полученные из расчета средней длины волны с жесткими диафрагмами. При абсолютно жестких диафрагмах, прогиб которых равен нулю, усилия N1 по всему сечению оказываются сжимающими. Следовательно, в многоволновом покрытии с жесткими диафрагмами смежные оболочки должны оказывать друг на друга взаимное давление.

1 - с учетом податливости диафрагм в виде ферм; 2 - то же, в виде арок; 3 - то же, в виде криволинейных ригелей; 4 - без учета податливости диафрагм

Рисунок 11.11 - Графики усилий N1, N2, S и M1 в многоволновых неразрезных оболочках по результатам расчетов

Результаты расчета с учетом действительной жесткости диафрагм в виде арок и ферм показывают, что по линии сопряжения оболочек возникают усилия растяжения, причем при более гибких диафрагмах в виде арок действуют большие растягивающие усилия N1. При абсолютно жестких диафрагмах усилия N2 на контуре равны нулю, а по всему сечению являются сжимающими. При учете податливости диафрагм в сечениях оболочек у контура возникают усилия растяжения. Существенно увеличиваются также сдвигающие усилия по сравнению с расчетом без учета податливости диафрагм. При расчете оболочек контурные конструкции допускается приближенно характеризовать приведенными жесткостями элементов типа балки или арки с затяжкой.

Из числа практических методов расчета, которые могут быть использованы как без применения, так и с помощью ЭВМ, рекомендуется расчет с учетом действительной жесткости контурных элементов, который сводится к наложению на основное напряженно-деформированное состояние от действия нагрузки на шарнирно опертую по контуру оболочку дополнительных значений усилий и перемещений, вызванных воздействием на основную систему «лишних» неизвестных, учитывающих совместную работу оболочки с примыкающими конструкциями.

Если допустить, что деформации, вызванные на одном краю оболочки, затухают, не дойдя до трех других краев, по каждому краю оболочки следует составить и решить систему из четырех канонических уравнений, связывающих «лишние» неизвестные между собой. В качестве этих неизвестных приняты краевой изгибающий момент, краевое нормальное усилие, продольные и нормальные к поверхности перемещения точек края оболочки.

11.22 Поверхность оболочек, собираемых из цилиндрических панелей, в одном из направлений в местах стыков плит имеет переломы (см. пп. 11.44 и 11.47 настоящего СП). Наличие переломов поверхности приводит к появлению значительных изгибающих моментов по всему полю оболочки и перераспределению нормальных усилий, действующих в направлении переломов (рис. 11.12). Расчетные формулы, учитывающие влияние переломов поверхности, приведены в Руководстве (приложение Б). Расчет выполняется в два этапа: сначала находят основные усилия из расчета конструкции как гладкой оболочки, в которую она вписана, затем определяют дополнительные усилия, вызываемые наличием переломов поверхности. Полученные усилия суммируют.

При таком подходе нормальные усилия вдоль образующих цилиндрических панелей будут такими же, как и в гладких оболочках, т.е. их определяют на первом этапе расчета. На первом же этапе определяют суммарные в пределах ширины панелей нормальные силы в сечениях по образующим, а также усилия в угловых зонах и на контуре. На втором этапе находятся дополнительные усилия, действующие в направлении переломов, и изгибающие моменты в сечениях, перпендикулярных образующим цилиндрических панелей.

Дополнительные усилия определяют путем раскрытия статической неопределимости в местах переломов поверхности с использованием в расчете полученных на первом этапе усилий.

Для оболочек с ребрами вдоль образующих цилиндрических панелей в расчет вводится приведенная жесткость на 1 м сечения, параллельного перелому, определяемая с учетом этих ребер.

а - гладких; б - с ребрами и переломами поверхности

Рисунок 11.12 - Графики прогибов W и усилий Nx, Ny, Мх по результатам экспериментальных исследований моделей оболочек

Расчет несущей способности оболочек

11.23 Экспериментальные исследования позволили выявить, что при действии на оболочку равномерно распределенной нагрузки возможны общая и местная схемы разрушения. Наиболее наглядным примером общего разрушения является образование пятидисковой (шатровой) схемы излома (рис. 11.13). Расчетом по этой схеме рекомендуется проверять количество арматуры, установленной в угловой зоне оболочки (см. пп. 11.25 - 11.27 настоящего СП).

При образовании общей схемы разрушения прогибы оболочки к моменту исчерпания несущей способности малы по сравнению со стрелой подъема оболочки над опорной плоскостью. В этом случае рекомендуется использовать метод предельного равновесия в его классической постановке, когда при составлении уравнений равновесия внешних и внутренних сил пренебрегают измененной геометрией поверхности.

11.24 Местное разрушение связано с существенным изменением формы поверхности оболочки в ограниченной области. В ребристых железобетонных оболочках при действии распределенных нагрузок разрушение чаще всего наступает в результате исчерпания несущей способности полки между ребрами, что также относится к местному разрушению, а в случае приложения сосредоточенных нагрузок обычно наблюдается разрушение в виде конуса с вершиной под сосредоточенной силой. Расчет несущей способности оболочек при местном разрушении рекомендуется производить по методу предельного равновесия, при этом целесообразно учитывать изменение формы поверхности оболочки в стадии, близкой к разрушению, - см. пп. 11.28, 11.29 настоящего СП.

11.25 При выполнении предварительного расчета оболочки на прямоугольном плане со сторонами 2а и 2b, стрелой подъема f и радиусами кривизны срединной поверхности Rх и Ry с шарнирным опиранием по контуру, нагруженной равномерно распределенной нагрузкой интенсивностью q, необходимое количество дополнительной косой арматуры А¢y в угловых зонах рекомендуется определять по формуле

                    (11.15)

Здесь К = 1 при шарнирном опирании оболочки по контуру и К = 4 при ее опирании по углам;

qsd - усилие, воспринимаемое арматурой сетки плиты на длине 1 м в диагональном сечении;

Rd - приведенный радиус кривизны диагонального сечения, определяемый по формуле

xd - угловая координата края оболочки в диагональном сечении, определяемая по формуле

Acon - площадь сечения контурной арматуры, расположенной в контурных элементах на расстоянии t от плоскости, проходящей через вершины углов срединной поверхности;

а - механизм разрушения; б - схема излома оболочки в плане; в - эпюры пластических деформаций по линиям излома; 1 - первоначальная форма оболочки; 2 - форма оболочки и стадии предельного равновесия; 3 - линии излома (пластические шарниры); 4 - растянутые (разрывные) участки линий излома; 5 - то же, сжатые

Рисунок 11.13 - Схема разрушения гладкой оболочки при действии равномерно распределенной нагрузки

Rsy, Rs,con - расчетное сопротивление соответственно косой арматуры в угловой зоне и арматуры контура;

b - угол наклона косой арматуры к диагонали плана;

t1 - расстояние от равнодействующей усилий в косой угловой арматуре до плоскости, проходящей через вершины углов срединной поверхности.

Если в выражении (11.15) A¢у £ 0, то дополнительной косой арматуры в угловой зоне по расчету не требуется. При опирании оболочки по углам подбором контурной арматуры должна быть исключена возможность разрушения оболочки по среднему сечению.

11.26 Окончательный расчет несущей способности оболочки с шарнирным опиранием по контуру при общем разрушении в результате действия равномерно распределенной нагрузки рекомендуется производить по пятидисковой схеме излома (см. рис. 11.13).

Приведенные формулы получены для пологих оболочек, имеющих форму эллиптического параболоида

Они могут быть также рекомендованы для расчета пологих оболочек, имеющих другую форму поверхности (например, круговую поверхность переноса, внешнюю часть тора), поскольку несущая способность этих оболочек отличается незначительно.

Расчетное значение нагрузки q, отвечающее исчерпанию несущей способности оболочки, рекомендуется определять по формуле

(11.16)

Выражение (11.16) является функцией двух переменных величин v и z, так как остальные пять параметров l, y, m, hcon, c имеют определенные значения для каждой конкретной оболочки

 

                                                 (11.17)

 

где а, b, Acon, Rsy, t - обозначения те же, что и в формуле (11.15);

f1, f2 - стрелы подъема оболочки на контуре;

Ai, Ay - площадь сечения стержня соответственно арматурной сетки и дополнительной косой (угловой) арматуры;

и, u1 - расстояния соответственно между стержнями арматурной сетки плиты и между угловыми стержнями дополнительной косой арматуры (общее количество дополнительной косой арматуры в угловых зонах задается на основе расчета по п. 11.25 настоящего СП).

Величины v и z, соответствующие минимуму функции Ф5, представляют собой параметры схемы излома, так как определяют размеры среднего диска (рис. 11.13).

Минимум функции Ф5(v, z) рекомендуется определять численно с помощью ЭВМ. Зная значение min Ф5, по формуле (11.16) находят значение расчетной нагрузки q.

11.27 При расчете несущей способности прямоугольных в плане ребристых оболочек с шарнирным опиранием по контуру рекомендуется сечение арматуры ребер в поле оболочки распределить равномерно («размазать») по поверхности, проведенной через центры тяжести арматуры подкрепляющих ребер параллельно срединной поверхности оболочки. При расчете несущей способности оболочек при общем разрушении в результате действия равномерно распределенной нагрузки рекомендуется, как и в п. 11.26 настоящего СП, рассматривать пятидисковую схему излома (рис. 11.13), определяемую двумя параметрами v и z.

Для ребристой оболочки с квадратным планом с одинаковым шагом ребер lrib в обоих направлениях величину расчетной равномерно распределенной нагрузки q рекомендуется определять по формуле

                                (11.18)

Ребристые оболочки с квадратным планом имеют одинаковые стрелы подъема на контуре (y = l = 1).

В этом случае угловые линии излома проходят вдоль диагоналей плана, схема излома имеет один неизвестный параметр v, и в формулу 11.18 входят еще шесть параметров, которые для конкретной оболочки определяют по формулам:

                                         (11.19)

m, hcon, c - см. формулу (11.17).

В формуле (11.19):

Arib - площадь сечения нижней арматуры ребер;

h0 - расстояние от нижней арматуры ребер до срединной поверхности поля оболочки.

Минимум функции  находят методом перебора одной неизвестной v в пределах 0,2 < v < 0,7. Зная величину , находят значение расчетной нагрузки q. Формулой (11.18) рекомендуется пользоваться также при расчете квадратных в плане гладких оболочек, приняв w = h = t = 0.

11.28 Одной из возможных схем разрушения железобетонных оболочек при величине параметра кривизны k* > 60 является образование одиночной вмятины, преимущественно в угловой зоне оболочки. Величина параметра кривизны k* определяется по формуле

                                                 (11.20)

где а и b - половина длины сторон оболочки;

R1 и R2 - главные радиусы кривизны срединной поверхности.

Для оболочек с параметром k* > 60 наряду с расчетом по полной схеме должна быть вычислена величина несущей способности оболочки при локальном разрушении.

11.29 Несущая способность пологих железобетонных оболочек, защемленных по контуру, при местном разрушении с образованием отдельной вмятины в результате действия равномерно распределенной нагрузки (рис. 11.14) может быть найдена по методу предельного равновесия с учетом изменения формы поверхности оболочки в зоне разрушения.

1 - наиболее вероятные места образования вмятин; 2 - кривая прогибов

Рисунок 11.14 - Схема разрушения оболочки с образованием локальной вмятины

Расчет несущей способности производится для части оболочки во вмятине, представляющей собой как бы отдельную сферическую оболочку, круглую в плане, с упругим защемлением по контуру. Несущую способность оболочки q при локальном разрушении определяют по формуле

                        (11.21)

Здесь

где xr - угловая координата вмятины;

R - начальный радиус кривизны срединной поверхности оболочки во вмятине;

h0 - полезная высота сечения оболочки;

п, т - предельные величины соответственно нормального усилия и момента, воспринимаемых в железобетонном сечении кольцевого пластического шарнира;

w - прогиб оболочки к моменту разрушения.

При определении прогиба в центре вмятины рекомендуется учитывать прогиб центральной безмоментной части оболочки за зоной вмятины, укорочение дуги меридианального сечения оболочки во вмятине в результате действия сжимающих усилий и дополнительный прогиб, вызванный поворотом опорного сечения на краю вмятины. В результате деформации поверхности на краю вмятины возникает момент т. Действительные значения момента и нормальной силы в формуле (11.21) рекомендуется находить последовательным приближением искомых величин к предельным, лежащим на кривой, изображающей зависимость т - п для рассматриваемого внецентренно сжатого сечения на контуре вмятины. Найденные предельные значения нормальной силы и момента в железобетонном сечении кольцевого пластического шарнира, а также соответствующего им прогиба центра вмятины подставляют в уравнение (11.21) для нахождения локально-экстремального значения предельной нагрузки для заданного размера вмятины. Для нахождения действительного размера вмятины и соответствующей ему величины разрушающей нагрузки уравнение (11.21) рекомендуется решать численно с помощью ЭВМ с использованием шаговой процедуры по размерам вмятины, в процессе которой определяется минимум предельной нагрузки. При определении действительного размера вмятины и величины разрушающей нагрузки рекомендуется учитывать влияние начального несовершенства поверхности, которое при значительном искажении ее исходной геометрии может привести к существенному снижению несущей способности оболочек.

11.30 Для оболочек с податливыми диафрагмами весьма важно устройство угловых и контурных утолщений поля. Необходимая толщина оболочки в угловых зонах определяется в соответствии с требованиями пп. 4.2.9, 6.3.4 и 11.41 настоящего СП. Желательно также утолщение плиты оболочки вдоль контура, где действуют значительные изгибающие моменты и появляются растягивающие усилия. Ширина утолщения угловых и приконтурных зон оболочек может быть найдена в соответствии с рекомендациями, представленными на рис. 11.15. Здесь показано, как найти радиус зоны утолщения в углу и ширину утолщения вдоль контура для оболочек с квадратным и прямоугольным планами. Для оболочек с отношением сторон 1:1,5 ширина зоны утолщения принимается средней из расчета оболочек с отношением сторон 1:1 и 1:2.

а - зоны напряженного состояния при сплошной равномерно распределенной нагрузке (квадратной и прямоугольной в плане оболочек); б - графики для определения ширины приопорной зоны, в пределах которой на нижней грани возникают растягивающие напряжения; 1 - зона сжимающих напряжений; 2 - зона, в пределах которой на нижней грани возникают растягивающие напряжения; 3 - кривая при сплошной равномерно распределенной нагрузке для квадратной в плане оболочки; 4 - кривая при сплошной равномерно распределенной нагрузке для прямоугольной в плане оболочки с отношением сторон 1:2

Рисунок 11.15 - Графическое изображение рекомендаций по определению угловых и приконтурных зон утолщения поля оболочек

При наличии угловых и контурных утолщений вмятина формируется за их границей и оказывается обжатой со всех сторон нормальными силами. Несущая способность оболочек с податливыми диафрагмами при этом увеличивается, приближаясь к защемленным по контуру (см. п. 11.29 настоящего СП). В этом случае существенное влияние на несущую способность оболочки оказывает жесткость верхнего пояса диафрагм на кручение.

Для того чтобы кручение верхнего пояса не вызывало значительного снижения несущей способности оболочки, его размеры рекомендуется назначать в соответствии с табл. 11.2, где приведены значения высоты сечения бортового элемента Н в зависимости от толщины поля плиты d при условии, что его ширина В = Н. В случае прямоугольного сечения бортового элемента его размеры рекомендуется назначать из условия восприятия той же величины крутящего момента.

Таблица 11.2

R/d

x0 = 10°

x0 = 20°

x0 = 60°

100

35

55

75

500

65

105

125

1000

75

125

165

Примечание - x0 угловая координата края оболочки в среднем сечении.

В случае выполнения указанных конструктивных требований несущую способность оболочек с податливыми диафрагмами рекомендуется определять по формуле (11.21). При этом величину прогиба w в зоне вмятины рекомендуется определять следующим образом.

Вычисляют для заданного размера вмятины первоначальную длину дуги меридианального сечения оболочки во вмятине s1 = 2x1R и длину стягивающей ее хорды l1 = 2Rsinx1. Учитывают, что под действием сжимающих усилий п, действующих в области вмятины, дуга меридианального сечения оболочки s1 сократится до величины s2

s2 = 2Rx1(1 - d/0,85);                                             (11.22)

здесь

 

где Еb,t - модуль деформаций бетона при продолжительном действии нагрузки;

jb,cr - по таблице 5.5 СП 52-101-2003 и таблице 5.2 настоящего СП.

За счет обжатия оставшейся части оболочки за зоной вмятины край вмятины получит дополнительное перемещение Dl, величину которого рекомендуется определять по формуле

                                         (11.23)

где x0 и xy - угловые координаты, определяющие соответственно положение края оболочки и границы зоны краевого утолщения поля оболочки. При опирании оболочки на стены или часто расположенные по контуру колонны принимают Dl = 0.

С учетом формулы (11.23) определяют новую длину хорды l2 по формуле

l2 = l1 + Dl,                                                              (11.24)

а стрелу подъема деформированной части оболочки в зоне вмятины приближенно по формуле

                                                     (11.25)

Составляющая прогиба w1 = f1 - f2, где f1 - первоначальная стрела подъема части оболочки во вмятине.

При упругом защемлении край вмятины поворачивается на угол j/2, где j = x1 - x2;

x2 = arc sin(4f2/l2).

Поворот края вызывает появление на границе вмятины момента М = ij/2 и дополнительного усилия в области вмятины n¢j/2, где п¢ = b/2a2sinx1.

Таким образом, за зоной вмятины нормальное усилие n1 = п - п¢j/2.

Стрела подъема в центре вмятины изменяется на величину w2, определяемую по формуле

                                          (11.26)

Значения параметров a, b и i рекомендуется находить по формулам:

                                    (11.27)

Полный прогиб оболочки во вмятине w определяют по формуле

w = w1 + w2.                                                              (11.28)

Дальнейший расчет рекомендуется производить в соответствии с методикой, изложенной в п. 11.29 настоящего СП. В первом приближении относительную высоту сжатой зоны рекомендуется принимать равной граничному значению при внецентренном сжатии x/h0 = xR и в соответствии с полученным результатом вычислять значение п на первом шаге. Заданное значение нормальной силы и найденное значение момента в сечении кольцевого пластического шарнира сравнивается с предельным. Если прочность сечения оказывается более высокой и при данном сочетании нормальной силы и момента разрушения произойти не может, нормальная сила получает приращение, и расчет повторяется. Расчет рекомендуется выполнять с помощью ЭВМ.

11.31 Прямоугольную в плане оболочку с различными радиусами кривизны рекомендуется приближенно рассчитывать по методике, изложенной в п. 11.29 настоящего СП, заменяя ее сферической оболочкой на квадратном плане. При проведении расчета прямоугольную в плане оболочку со сторонами 2а и 2b, с радиусами кривизны Rx и Ry рекомендуется приводить к квадратной со сторонами 2ак и радиусом кривизны R. При этом

                                                          (11.29)

                                                     (11.30)

где fк - стрела подъема центра приведенной квадратной оболочки;

f = fx + fy,

а fx и fy - стрелы подъема исходной оболочки в направлениях х и у.

Зная fк, находят R по формуле

                                             (11.31)

Начальный радиус кривизны Rв в зоне вмятины, отличающийся от R, находят по формуле

                              (11.32)

где

После приведения прямоугольной оболочки к квадратной расчет ее несущей способности рекомендуется производить по формуле (11.21).

11.32 При усилении гладкой оболочки системой подкрепляющих ребер ее несущая способность значительно возрастает. Однако при редко поставленных ребрах может наступить разрушение поля оболочки между ребрами до образования вмятины, включающей в себя ребра. В связи с этим ребристые оболочки рекомендуется первоначально рассчитать как конструктивно-ортотропные (приведенные к гладким), а затем отдельно проверить несущую способность поля оболочки между ребрами, которая должна быть не ниже общей несущей способности оболочки.

При проверке несущей способности поля плит ребристых оболочек основное внимание уделяется расчету плит на воздействие распределенной нагрузки в местах снеговых мешков, так как с целью уменьшения количества типоразмеров сборных плит их толщину, как правило, принимают постоянной. При этом несущую способность поля проверяют при средней интенсивности расчетной распределенной нагрузки для рассматриваемой зоны.

11.33 Несущую способность поля ребристых оболочек, собираемых из цилиндрических панелей, рекомендуется определять в зависимости от места расположения панели в конструкции. В панелях у контура с некоторыми допущениями схема разрушения может быть принята аналогичной схеме разрушения в плоских плитах, опертых по контуру (рис. 11.16). Однако в отличие от плит часть сечений по линиям излома является криволинейной. Сечение оболочки по каждой линии излома в предельном состоянии целиком находится в состоянии текучести, а зона растяжения отделяется от зоны сжатия нейтральной линией, совпадающей с взаимной осью вращения смежных частей оболочек.

В криволинейных сечениях длину х участков сжатия рекомендуется находить из условия равновесия

                                                   (11.33)

где fs - площадь арматуры на единицу длины сечения полки;

r - радиус кривизны панели;

q - половина центрального угла, рад.

Предельный момент М в криволинейном сечении определяют по формуле

                                             (11.34)

где

Величину предельной нагрузки q на единицу площади проекции полки при принятом армировании определяют по формуле

а - схема излома; б - перемещения панели в предельной стадии; в - сечение по криволинейному контуру панели

Рисунок 11.16 - Расчетная схема плиты ребристой цилиндрической панели сборной оболочки, расположенной в приконтурной зоне

                                (11.35)

где     - предельные моменты в сечениях; индексы I, II относятся к опорным сечениям, 1, 2 - к пролетным;

l1, l2 - пролеты полки (расстояние между внутренними гранями ребер).

11.34 Толщина поля и армирование панелей вне приконтурной зоны могут быть уменьшены за счет благоприятного влияния, оказываемого на несущую способность поля оболочки сжимающих усилий, действующих вдоль криволинейной образующей панелей.

Несущую способность поля цилиндрических панелей вне приконтурной зоны рекомендуется определять исходя из схемы разрушения, представленной на рис. 11.17, для участка поля оболочки в виде прямоугольника размером l1´l2, заключенного между продольными и поперечными ребрами панелей. Размеры сторон зоны разрушения принимаются равными шагу ребер за вычетом их ширины.

В весьма пологой цилиндрической панели нормальные усилия п2, действующие вдоль прямолинейной образующей, начинают резко ухудшать работу поля оболочки после того, как прогиб центра рассматриваемого участка зоны разрушения превысит 0,46f. Этот прогиб численно равен расстоянию от центра срединной поверхности поля оболочки до места приложения равнодействующей нормальных усилий N2 на контуре (рис. 11.17) при треугольной эпюре их распределения с максимумом в угловой зоне.

Несущую способность поля цилиндрической панели с учетом прогиба к моменту разрушения находят по формуле

q = qN + qM,                                                           (11.36)

где qM находят по формуле (11.35) настоящего СП.

                                                     (11.37)

Здесь N1 - величина нормальной силы, действующей перпендикулярно стороне l1 (рис. 11.17), определяемая по формуле N` = 2n1l1/3.

При определении N1 принимается параболическая форма эпюры нормальных усилий n1 с максимумом в середине стороны l1. При вычислении n1 рекомендуется принимать относительную высоту сжатой зоны равной xR. При армировании приконтурной зоны одной сеткой

                                                 (11.38)

где fs - площадь растянутой арматуры, перпендикулярной стороне l1, на единицу длины.

а - схема разрушения плиты между ребрами; б - взаимодействие усилий на контуре зоны разрушения

Рисунок 11.17 - Расчетная схема плиты ребристой цилиндрической панели оболочки, расположенной вне приконтурной зоны

При расчете рекомендуется принимать сетку, расположенную в сечении с одинаковыми защитными слоями продольных и поперечных стержней. В случае армирования плиты двумя сетками по высоте сечения при вычислении  учитывается только первый член в правой части формулы (11.38). В (11.37) f* стрела подъема деформированной поверхности оболочки с учетом смещения точки приложения нормальных усилий в опорном сечении приближенно находится по формуле

f* = 0,54f + (d - xRh0)/2.                                                (11.39)

При определении qM по формуле (11.35) предельные моменты  и  рассчитывают по формуле

где  - значения предельного изгибающего момента на длине 1 м, воспринимаемого железобетонным внецентренно сжатым сечением плиты при высоте сжатой зоны, отвечающей нормальному усилию

                                                 (11.40)

Количество арматуры fs, вводимое в расчет при вычислении n1 и m1 по формулам (11.38) и (11.40), должно быть ограничено условием

                                                        (11.41)

Предельные моменты  и в криволинейных сечениях вдоль сторон l2 находят по формуле (11.34) (см. рис. 11.16).

11.35 В гладких оболочках при действии сосредоточенной нагрузки наступает разрушение с образованием местной вмятины в виде конуса с вершиной в месте приложения силы с появлением радиального и кольцевого пластических шарниров. Радиус зоны разрушения в оболочке радиусом R и толщиной d находят по формуле

                                                    (11.42)

Здесь Dp - диаметр штампа под сосредоточенной нагрузкой.

При расчете рассматривают два деформированных состояния:

а) центр оболочки касается плоскости осей взаимного вращения (ПОВ) (рис. 11.18), положение которой определяется аппликатой С, равной прогибу оболочки w

а - схема излома; б, в - схемы деформирования; г - схема армирования поперечного сечения

Рисунок 11.18 - Локальное разрушение гладкой оболочки положительной гауссовой кривизны при действии сосредоточенной нагрузки

С = w = f1k1(k + 1).                                                  (11.43)

Здесь: f1 - стрела подъема оболочки в зоне вмятины;

k = [Rb(d - а¢) + A¢sR]/qs;

qs = (Аs + A¢s)Rs;

Аs и А¢s - площади сечения арматуры сетки (соответственно верхней и нижней) на единицу длины;

k1 = 1 + n/qs.

Здесь и далее в формулах 11.44 и 11.45 п и т - предельные значения нормальной силы и изгибающего момента на контуре вмятины.

Предельная нагрузка Р1, отвечающая деформированному состоянию по п. а, равна

                          (11.44)

где М = т + nf1[1 - k1/(k + 1)];

б) при прогибах оболочки w > С (рис. 11.18, б) ПОВ пересекает поверхность оболочки в двух сечениях. Для этой стадии деформирования выражение предельной нагрузки принимает вид

Р2 = 2p(т + ntc) + 2pqs[l(k + l) + gr]/r.                            (11.45)

Здесь                           (11.46)

g = hr2/3 + ar/2 - C1.

 l1 = rk1/(k + 1);

h = f/r2; tc = f - C1.

Зная прогиб оболочки w, найдем l2 и С1 из выражений

l2 = w/(2rh) - l1/2;

Для сферической оболочки расчет деформированного состояния ограничивается п. а и выражением (11.44).

Для оболочки положительной гауссовой кривизны с различными главными радиусами кривизны R1 и R2 (рис. 11.18) первоначально для меньшего радиуса кривизны (например, R1) находим Р1 по формуле (11.44). Основными неизвестными здесь являются значения предельных величин изгибающего момента т и нормального усилия п на границе зоны разрушения. Значения п определяем по формулам СП 52-101 как для внецентренно сжатого сечения, при этом первоначально принимаем x = xR. Момент т находим относительно срединной оси сечения.

Если арматурные сетки в ортогональных направлениях имеют разную площадь поперечного сечения, то при определении т и п в расчет вводится меридианальная арматура, а при определении qs - кольцевая. В результате прогиба центра оболочки на величину w = С (кривая 1 на рис. 11.18, б) на краю вмятины возникнет момент

M = if1k1/[2r1(k + 1)].                                              (11.47)

Значение i найдем, определив «упругие» характеристики края оболочки по формулам (11.27).

При правильно выбранном значении высоты сжатой зоны в рассматриваемом внецентренно сжатом сечении с малыми эксцентриситетами значения моментов т и М по (11.47) должны совпасть. Их совпадение ищется методом последовательных приближений варьированием значений x ³ xR. Найденные значения т = М и п подставляем в (11.44) для определения величины Р1.

Аналогично находим по (11.44) значения Р1 для оболочки с радиусом кривизны другого направления R2 (рис. 11.18, в). Если окажется, что прогиб оболочки с радиусом R2 будет большим, чем оболочки с радиусом R1, в качестве критического прогиба всей системы принимается максимальный из вычисленных прогибов. В этом случае предельному деформированному состоянию оболочки с радиусом R1 отвечает стадия, приведенная на рис. 11.18, б, когда центр оболочки расположен ниже ПОВ и она дважды пересекает поперечное сечение и обозначена цифрой 2. Как было показано выше, значение предельной нагрузки Р2 следует определять по формуле (11.45). Такой же расчет, но для оболочки с радиусом кривизны R2 следует выполнить в случае, если окажется, что прогиб оболочки с радиусом R1 будет большим.

Полная нагрузка равна полусумме нагрузок, найденных для каждого из направлений.

11.36 В ребристых оболочках сосредоточенные нагрузки от подвесного транспорта, фонарной надстройки, подвесного потолка и т.п. рекомендуется прикладывать в местах пересечения ребер. Разрушение таких оболочек наступает с образованием местной вмятины в виде конуса с вершиной в месте приложения силы с появлением радиального и кольцевого пластических шарниров. Кольцевая трещина, ограничивающая зону разрушения, может иметь круговое или эллиптическое очертание в зависимости от высоты пересекающихся ребер и главных радиусов кривизны поверхности. Пластические шарниры, образующиеся в ребрах под силой и в месте пересечения с кольцевой трещиной, работают на внецентренное сжатие. Однако в шарнире под силой напряжения в арматуре ребер достигают величины расчетного сопротивления, а в кольцевом пластическом шарнире прежде наступает разрушение бетона со стороны наиболее напряженной нижней грани сечения.

Расстояние от места приложения сосредоточенной нагрузки до кольцевых пластических шарниров в ребрах rк1 и rк2 рекомендуется находить по формуле

                                        (11.48)

где R - радиус кривизны оболочки в рассматриваемом направлении;

Ired - погонный момент инерции оболочки с учетом ребер рассматриваемого направления;

dred - приведенная толщина оболочки с учетом площади ребер, перпендикулярных рассматриваемому направлению.

11.37 Для приближенной оценки несущей способности ребристых оболочек при действии сосредоточенных нагрузок может быть использован метод расчета, в котором не учитывается изменение формы поверхности оболочки под нагрузкой. Величина разрушающей нагрузки находится кинематическим методом предельного равновесия из условия равенства работы внешних и внутренних сил на перемещениях в рассматриваемой схеме разрушения (рис. 11.19). Для оболочек с различными радиусами кривизны или с ребрами различного сечения разрушающую нагрузку Р определяют по формуле

                       (11.49)

где ; ;  - предельные моменты соответственно в ребре в месте кольцевого шарнира; в ребре под силой; момент в радиальном сечении, определяемый как полусумма моментов по сечениям вдоль ребер.

Рисунок 11.19 - Схема разрушения ребристой оболочки в зоне приложения сосредоточенной нагрузки

Для общего и наиболее распространенного случая, когда ребра имеют трапециевидное сечение, предельный момент в кольцевых сечениях  определяют по формуле

                            (11.50)

где bс - ширина нижней грани ребра;

b¢r - ширина ребра на уровне верхней арматуры;

h0, а - расстояния соответственно от нижней или верхней грани ребра до центра тяжести верхней арматуры;

As - площадь нижней арматуры ребра.

Предельный момент  в ребре под силой определяют по формуле

                                                   (11.51)

где zp - расстояние от центра тяжести нижней арматуры ребра до центра тяжести сжатой зоны в радиальном сечении оболочек (рис. 11.20). В радиальных сечениях сжатая зона обычно находится в пределах защитного слоя бетона, при этом

где fs - площадь арматуры на единицу длины сечения полки;

z0 - расстояние от центра тяжести арматуры полки до центра тяжести сжатой зоны в радиальном сечении оболочек.

Площадь сжатого бетона Аbc в радиальных пластических шарнирах, необходимую для определения zp и z0, определяют из условия равновесия усилий в сжатой и растянутой зонах по формуле

RbAbc = 0,5RsAs + fsAsrк.                                                (11.52)

Рисунок 11.20 - Схема взаимодействия усилий в радиальном сечении оболочек

11.38 Расчет с целью установления более точного значения величины несущей способности ребристой оболочки при действии сосредоточенных нагрузок рекомендуется выполнять с учетом изменения формы поверхности оболочки к моменту разрушения.

При определении величины предельной нагрузки P рассматривается прочность двух взаимно перпендикулярных сечений вдоль ребер в стадии предельного равновесия (рис. 11.21). Принимается, что ребро, расположенное в направлении оси у, вместе с примыкающей к нему частью оболочки воспринимает часть общей нагрузки Рy, а ребро другого направления - часть общей нагрузки Рх. Из рассмотрения условий равенства моментов внешних и внутренних сил относительно оси х в плоскости сечения оболочки zox находят Ру по формуле

      (11.53)

Ребро другого направления воспринимает часть нагрузки Рх, которую определяют аналогичным способом по формуле (11.53) с заменой индексов, указывающих направление сил.

Здесь Nx, Ny - предельные нормальные усилия, воспринимаемые сечениями ребер;

  - угловые координаты кольцевых пластических шарниров в ребрах;

qsy - усилие, воспринимаемое арматурой, расположенной в растянутой зоне поля оболочки на длине 1 м;

Рисунок 11.21 - Схема взаимодействия усилий в зоне приложения сосредоточенной нагрузки

Аsy - площадь нижней арматуры ребра в сечении под силой;

zsy - расстояние от арматуры ребра до середины полки плиты;

Мy,u - предельный момент, воспринимаемый ребром в сечении кольцевого пластического шарнира при внецентренном сжатии;

тк - величина изгибающего момента в кольцевом пластическом шарнире плиты на длине 1 м.

lx, ly - параметры, учитывающие форму и размер кольцевого шарнира и определяемые по формуле

                                      (11.54)

а и b - полуоси эллипса излома (рис. 11.21). В случае образования кругового излома радиуса r0 принимаем lx = ly = 2r0.

Полную нагрузку Р находят по формуле

Р = Рх + Ру.                                                         (11.55)

При расчете по формуле (11.53) с учетом изменения формы поверхности истинную величину предельной нормальной силы находят по методу последовательных приближений. Значения Nx и Ny вычисляют одновременно с деформациями системы, для чего последовательно рассматривают условные арки в направлении осей х и у со стрелами подъема соответственно fx и fy. Принимается, что совместно с ребром работают примыкающие части поля оболочки шириной по 6h¢f, где h¢f - толщина поля панели. Первоначально рекомендуется построить кривую прочности в координатах N - М для заданного сечения условной тавровой арки ребра в кольцевом пластическом шарнире при внецентренном сжатии.

В первом приближении рекомендуется назначать величину нормальной силы, отвечающую граничным значениям относительной высоты сжатой зоны x/h0 = xR, при которых предельное состояние элемента наступает одновременно с достижением в растянутой арматуре напряжения, равного расчетному сопротивлению. При заданном значении нормальной силы N находят укорочение дуги условной арки в результате ее обжатия и новую длину хорды, изменившуюся за счет обжатия бетона за пластическим шарниром. По вычисленным данным находят прогиб оболочки в зоне вмятины и изгибающий момент на ее контуре. Полученные значения нормальной силы N и изгибающего момента N наносят на построенную кривую прочности сечения на контуре вмятины. В случае их несовпадения дают приращение значению N и вычисление повторяют. Определение действительных значений М выполняют шаговым методом с помощью ЭВМ. По найденным значениям M и N находят прогибы условных арок.

Прогиб арки в направлении у обозначим wy, а в направлении х - wx. В общем случае эти прогибы не равны между собой. За прогиб всей системы рекомендуется принимать максимальную величину прогиба. Угловые координаты  и  радиусы кривизны Rx и Ry пересчитывают в соответствии с найденным прогибом всей системы. Найденные значения радиусов кривизны и угловых координат деформированной поверхности вместе со значениями Nx, Ny подставляют в уравнение (11.53) и по формуле (11.55) находят несущую способность оболочки с учетом деформирования системы к моменту разрушения. Формулы для определения прогибов арок wx и wy приведены в Руководстве (п. 47 приложения Б).

11.39 При расчете несущей способности ребристых оболочек следует учитывать конструктивные особенности стыков сборных элементов, места приложения нагрузки и способы опирания загруженных плит на контур:

а) если в месте приложения нагрузки арматура смежных ребер в направлениях х или у не соединяется, то в формуле (11.49) Мrp1 или Мrp2 принимают равным нулю. Аналогично для Рх или Рy принимают равным нулю выражение RsAsxzsx или RsAsyzsy в формуле (11.53);

б) если расстояние от места приложения сосредоточенной нагрузки до контурного элемента менее 1,5rк, то, как правило, надежное защемление ребра на контуре, препятствующее его повороту, не может быть обеспечено. В связи с этим необходимо учитывать возможность образования только трех кольцевых пластических шарниров в ребрах и при вычислении Рy по формуле 11.53 и ввести коэффициент 0,5 к значениям Ny и Му,и. При вычислении Px понижающий коэффициент не вводится. Полная нагрузка Р находится по (11.55).

Конструирование

11.40 Пологие оболочки могут быть гладкими и ребристыми и конструируются в соответствии с п. 6 настоящего СП. Толщина и армирование средней зоны гладких оболочек, где действуют только сжимающие усилия, назначаются конструктивно. Принятую толщину оболочки следует проверять расчетом на устойчивость по формулам, приведенным в пп. 4.2.20 - 4.2.23 настоящего СП.

11.41 В ребристых сборных оболочках толщина поля панелей средней зоны определяется технологическими возможностями производства и проверяется расчетом по формулам п. 11.34 настоящего СП на заданную величину расчетной нагрузки.

11.42 Плиту в приконтурных и угловых зонах оболочки рекомендуется утолщать с целью размещения дополнительной арматуры и восприятия действующих усилий, увеличенных по сравнению с центральной зоной.

Утолщение оболочки вдоль контура целесообразно выполнять на всей ширине действия приконтурных изгибающих моментов (рис. 11.15) с плавным переходом к постоянной толщине за зоной действия изгибающих моментов (см. 6.1.4 настоящего СП).

Толщина оболочки в угловой зоне выбирается по расчету при соблюдении главными растягивающими и главными сжимающими напряжениями условия sprt < 0,3Rb, sprc £ Rb или по конструктивным соображениям с тем, чтобы обеспечить размещение необходимого количества арматуры с учетом двух защитных слоев.

11.43 В приконтурных участках оболочки в зоне действия изгибающих моментов укладывается дополнительная арматура. Если эта арматура воспринимает положительные моменты, то она располагается в нижней зоне плиты (рис. 11.22). Основная сетка располагается при этом в верхней зоне и в случае применения неразрезных конструкций проверяется на восприятие отрицательных моментов, возникающих при защемлении плиты на промежуточных диафрагмах. Для восприятия растягивающих усилий, действующих параллельно контуру, у нижней грани оболочки на приопорных участках укладывается расчетная или конструктивная арматура.

11.44 Для восприятия главных растягивающих напряжений, действующих в угловых зонах, рекомендуется к основной арматуре добавлять косую, перпендикулярную диагонали плана (рис. 11.22). В оболочках пролетом более 40 м эту арматуру рекомендуется выполнять предварительно напряженной. Вблизи углов оболочки эту арматуру рекомендуется заменять обычной, так как при коротких стержнях трудно обеспечить и проконтролировать необходимую степень натяжения напрягаемой арматуры.

1 - конструктивная арматура в зоне сжимающих напряжений; 2 - то же, в зоне действия моментов; 3 - рабочая арматура в зоне действия моментов; 4 - то же, для восприятия главных растягивающих напряжений в виде косых стержней или сеток; 5 - зона утолщения оболочки; 6 - эпюра главных растягивающих напряжений

Рисунок 11.22 - Схема армирования пологих оболочек

Арматура для восприятия главных растягивающих напряжений выполняется в виде отдельных стержней или сеток и располагается у верхней и нижней поверхностных плит оболочки.

11.45 Сборные оболочки имеют конструктивные особенности, которые во многом определяются формой и параметрами элементов, а также способами их соединения (см. пп. 6.3 и 6.4 настоящего СП).

Габариты плит определяются требованиями обеспечения их экономичности по расходу материалов, унификации, технологичности изготовления, выбранного способа монтажа. По форме поверхности плиты могут быть плоскими, цилиндрическими или двойной кривизны. Для оболочек рекомендуется применять цилиндрические плиты, так как плиты двойной кривизны сложны в изготовлении, а плоские требуют повышенного расхода материалов.

При плоских плитах реальная поверхность оболочки представляет собой многогранник. Если радиус цилиндрической плиты совпадает с одним из радиусов исходной поверхности, то при использовании цилиндрических плит реальная поверхность получается плавной в одном направлении и граненой - в другом.

В отечественной практике наибольшее применение нашли плоские плиты размером 3´3 м и цилиндрические размером 3´6 (рис. 11.4, в) или 3´12 м.

11.46 Плиты рекомендуется проектировать с контурными и промежуточными ребрами. В плитах размером 3´6 м рекомендуется принимать одно, а в плитах размером 3´12 м - два или три поперечных ребра.

Применяемая система ребер должна обеспечить прочность и жесткость плит в стадии транспортирования и монтажа, прочность и устойчивость оболочки в стадии эксплуатации, возможность устройства проемов для светоаэрационных устройств и подвесок для крановых путей.

Для удобства изготовления рекомендуется, как правило, назначать одинаковую высоту продольных и поперечных ребер. По внешним боковым граням ребер плит предусматриваются пазы для образования шпонок, воспринимающих после замоноличивания швов сдвигающие и перерезывающие усилия. Плиты рекомендуется армировать сварными сетками и каркасами. Арматура полки панелей должна быть надежно заделана приваркой поперечных стержней по контуру в пределах ребер. В местах сопряжения полки с ребром рекомендуется устраивать вуты.

11.47 Толщина оболочки в угловых зонах обычно увеличивается (см. п. 11.41 настоящего СП). Однако для сборных оболочек введение нового типоразмера плит с утолщенной полкой и усиленным армированием часто оказывается экономически нецелесообразным. В этом случае утолщение плиты оболочки рекомендуется выполнять с помощью набетонки монолитного железобетона, укладываемого поверх сборных плит. При этом следует принимать необходимые меры для обеспечения сцепления старого и нового бетона. В пределах набетонки располагается дополнительная косая арматура, устанавливаемая по расчету (см. пп. 11.46 и 11.25). Общая толщина оболочки в угловой зоне и размеры набетонки должны соответствовать требованиям п. 11.42 настоящего СП.

11.48 Поверхность оболочек, собираемых из цилиндрических панелей, в одном из направлений в местах стыков плит имеет переломы, что приводит к изменению распределений усилий в конструкции по сравнению с гладкими оболочками. В отдельных случаях у мест переломов появляются усилия растяжения. Тогда ребра панелей в местах стыков рекомендуется соединять сваркой закладных деталей.

Усилия, вызываемые наличием переломов поверхности, зависят от жесткости сечений оболочки, параллельных переломам. С увеличением жесткости этих сечений уменьшаются прогибы оболочки между переломами и влияние переломов. Это еще раз подтверждает целесообразность устройства поперечных ребер панелей, которые обычно располагают с шагом 2 - 3 м.

11.49 В неразрезных оболочках по линии опирания на контурные элементы все сборные плиты привариваются к диафрагмам. Контурные плиты и верхние пояса контурных элементов снабжаются шпонками, выпусками арматуры и закладными деталями для соединения между собой контурных плит. Все пространство до уровня верха плит над контурными элементами по периметру оболочек замоноличивается. Этим обеспечивается передача с оболочки на контурные элементы сдвигающих усилий и поперечных сил и совместные деформации плит и контурных элементов.

11.50 В конструкциях, осуществляемых по типу тангенциально-подвижных, соседние оболочки, опирающиеся на общий контурный элемент, соединяются между собой жестко лишь на части контура в угловых зонах. На остальной части контура соединение остается подвижным. При тангенциально-подвижном опирании торцевые ребра соседних плит над контурными элементами рекомендуется соединять накладками (рис. 11.4, г), приваренными к закладным деталям плит. Таким образом, образуется контурный пояс, который воспринимает сдвигающие усилия в оболочке и передает их на упоры контурных элементов.

Для более плавной передачи сдвигающих сил приопорные участки между оболочками над контурными элементами замоноличиваются на всю высоту панелей. На этом участке рекомендуется располагать металлические упоры, приваренные к контурным элементам и воспринимающие сдвигающие усилия (рис. 11.4, г).

11.51 Железобетонные контурные фермы могут иметь раскосную и безраскосную решетки. Для пролетов 18 и 24 м контурные элементы принимаются железобетонными, при больших пролетах целесообразно применять раскосные стальные фермы. Верхние пояса ферм по всей длине в неразрезных оболочках и в пределах крайних панелей в тангенциально-подвижных оболочках снабжаются железобетонными и стальными упорами и шпоночными гнездами для восприятия сдвигающих усилий.

Торцы взаимно перпендикулярных контурных ферм следует соединять между собой, в том числе сварными накладками.

11.52 В оболочках с контурными элементами в виде криволинейного бруса, опертого на колонны, в контурных брусьях наряду с усилиями растяжения действуют изгибающие моменты, по характеру аналогичные изгибающим моментам в многопролетных неразрезных балках, - в средней части пролета между колоннами наиболее растянута нижняя грань бруса, на участках у колонны - верхняя. Контурная арматура определяется из расчета на внецентренное растяжение и может полностью размещаться в контурных брусьях. Она назначается в соответствии с эпюрой усилий вдоль пролета. При обрыве арматура должна быть заведена за сечение, где по расчету она не требуется, из условия обеспечения ее полного использования в расчетном сечении. Около 30 % арматуры должно быть доведено до угловых опор, где арматура смежных контурных брусьев должна взаимно пересекаться. Арматуру контурных брусьев целесообразно выполнять предварительно напряженной.

11.53 В оболочках со светоаэрационными или зенитными фонарями фонарный проем рекомендуется осуществлять с помощью плит-рамок, представляющих собой систему продольных и поперечных ребер, оставшуюся после удаления полки. При проектировании плит-рамок по контуру ребер за вутом рекомендуется оставить часть утолщенной полки шириной около 10 см и по контуру отверстия уложить дополнительную арматуру. Углы отверстия в полке должны быть закругленными (см. п. 6.5 настоящего СП).

11.54 Подвески путей подвесных кранов или тельферов (см. п. 11.6 настоящего СП) рекомендуется располагать с шагом 6 м и выполнять жесткими в плоскости, перпендикулярной рельсам. Их рекомендуется крепить к оболочке анкерными болтами, проходящими в специальные отверстия, располагаемые в углах пересечения плит либо в швах между плитами. В зоне расположения подвесок крановых путей швы между плитами рекомендуется замоноличивать на всю высоту. Расчет оболочек на действие крановых нагрузок рекомендуется выполнять методом предельного равновесия (см. п.п. 11.35 - 11.39 настоящего СП).

12 Оболочки отрицательной гауссовой кривизны на прямоугольном плане

Общие положения

12.1 Типичным представителем оболочки отрицательной гауссовой кривизны является поверхность гиперболического параболоида (гипара). Оболочка, очерченная по поверхности гиперболического параболоида над прямоугольным планом со сторонами 2а и 2b, задана параболой, выпуклой кверху, со стрелой подъема f1, над стороной 2а и параболой, выпуклой книзу, со стрелой провеса f2 над стороной 2b (рис. 12.1).

Уравнение поверхности такого гиперболического параболоида

                                               (12.1)

12.2 Оболочки в форме гиперболического параболоида на квадратном и прямоугольном планах применяют для покрытий производственных, общественных и складских зданий. Размеры перекрываемого плана могут изменяться в пределах от 10 до 70 м и более.

12.3 В покрытиях могут быть использованы однолепестковые и многолепестковые гипары (рис. 12.2, 12.3).

В отличие от (12.1) уравнение срединной поверхности однолепесткового гипара может быть представлено в виде

z = С0ху + С1х + С2у + С3,                                              (12.2)

где С0, ..., С3 - константы, которые находят по известным аппликатам четырех углов оболочки.

Рисунок 12.1 - Гиперболический параболоид

Например, для поверхности, приведенной на рис. 12.2, а, при х = у = 0 С3 = 0, а для точки х = а, у = 0, z = f2 получим С1 = f2/а. Аналогичным образом получают С2 = f1/b; C0 = - f1/(ab) - f2/(ab). Точно так же определяют константы для поверхности, приведенной на рис. 12.2, б.

Поверхности, приведенные на рис. 12.2, можно получить движением прямой (образующей), пересекающей две скрещивающиеся прямые (направляющие). В процессе движения образующая остается параллельной одной из вертикальных координатных плоскостей. Направляющими могут быть выбраны прямые, проходящие по двум любым противоположным сторонам плана. Тогда начальное положение образующей может быть принято проходящим по одной из двух других сторон. В сечении поверхности вертикальными плоскостями, не параллельными координатным, лежат параболы. Параболы одного семейства обращены выпуклостью вниз, параболы другого - выпуклостью вверх.

12.4 Покрытие может быть образовано в результате комбинации однолепестковых гипаров. На рис. 12.3 приведены возможные схемы покрытий, образованные сочленением четырех лепестков.

12.5 Во многих случаях гипары являются распорными конструкциями. Возникающий распор рекомендуется воспринимать затяжками. На рис. 12.3 двойными пунктирными линиями показаны схемы расположения затяжек в различных покрытиях из четырехлепестковых гипаров. В покрытиях, приведенных на рис. 12.3, д, е, затяжки не требуются. В однолепестковых гипарах, опертых на два противоположных угла, затяжку устанавливают между опорами.

12.6 Особое внимание при расчете и конструировании оболочек отрицательной гауссовой кривизны рекомендуется уделять несимметричным нагрузкам. Они во многих случаях вызывают большие напряжения и деформации, чем симметричные. Гипары могут воспринимать значительные сосредоточенные нагрузки, приложенные к ребрам.

Рисунок 12.2 - Однолепестковые гипары

а - е - возможные формы покрытий

Рисунок 12.3 - Четырехлепестковые гипары

Рекомендации по расчету

12.7 Расчет гипаров производят с учетом рекомендаций пп. 4.2.1 - 4.2.19 настоящего СП. Усилия и перемещения рекомендуется определять исходя из предположения упругой работы материала по моментной теории с учетом действительных жесткостей контурных элементов и коньковых балок.

12.8* Несущую способность гладких гипаров на квадратном плане при действии равномерно распределенной нагрузки можно определить по теории предельного равновесия согласно пп. 12.9 - 12.13 настоящего СП.

Предельная нагрузка q на оболочку, определяемая по приведенным ниже формулам, включает массу оболочки, контурных ребер и коньковых балок

q = p + g + ge,                                                            (12.3))

где р - интенсивность предельной внешней нагрузки;

g - равномерно распределенная нагрузка от веса оболочки;

ge - приведенная равномерно распределенная нагрузка от веса контурных ребер, формулы для ее определения приводятся ниже для каждого рассматриваемого случая. В формулах (12.8) - (12.12) принимаются следующие обозначения:

l - сторона квадратного плана однолепестковой оболочки (по рис. 12.2, 12.3 l = а = b);

f - стрела подъема оболочки (по рис. 12.2, а f = f1 = f2);

hr, br - соответственно высота и ширина контурного ребра (рис. 12.4, б);

Rb - расчетное значение сопротивления бетона осевому сжатию;

Rs,i, Rs,1 - расчетные значения сопротивления растяжению соответственно арматуры поля и углов;

а - армирование нижнего угла; б - примыкание оболочки к контурному ребру; в - то же, к коньковому ребру в четырехлепестковом покрытии с горизонтальными коньками; 1 - арматура ребра; 2 - арматура поля оболочки; 3 - угловая арматура

Рисунок 12.4 - Узлы гипаров

Rs,r - то же, для арматуры ребра;

u´u - размер ячейки арматурной сетки (рис. 12.4, а);

Ai, А1 - площадь сечения арматурного стержня соответственно сетки и угловой арматуры;

и1 - шаг угловой арматуры (рис. 12.4, а);

Аr - площадь всей арматуры в ребре;

At - площадь сечения затяжки;

Rs,t - расчетное сопротивление металла затяжки;

h0r - расстояние от центра тяжести арматуры ребра до срединной поверхности оболочки (рис. 12.4, б);

d - расстояние от угла оболочки до последнего стержня угловой арматуры (рис. 12.4, а);

gb - объемный вес бетона ребер.

                                  (12.4)

 

   

                                                              (12.4)

12.9 При расчете опертых на нижние углы однолепестковых гипаров (рис. 12.2, а, углы закреплены от горизонтальных смещений) предельную нагрузку q на оболочку определяют по формуле

                                                     (12.5)

Коэффициент Ki принимается в зависимости от величины коэффициента y1, определяемого по формуле

                                                  (12.6)

При y1 ³ 0 (рис. 12.5, б, когда нейтральная ось линии излома не пересекает ребер) Ki определяют по формуле

                             (12.7)

при y1 < 0 (рис. 12.5, в, когда нейтральная ось проходит в пределах ребер) Ki определяют по формуле

                     (12.8)

Здесь

При отсутствии углового армирования принимают w = z = 0. Для оболочек без контурных ребер значение коэффициента Ki определяется по формуле (12.7) при h = t = 0.

Приведенную нагрузку ge от массы контурных ребер определяют по формуле

ge = 3gbdh.                                                            (12.9)

Полное закрепление углов от горизонтальных смещений достигается установкой жесткой затяжки или контрфорсов. Жесткость затяжки, при которой углы могут считаться несмещаемыми, рекомендуется определять по формуле (12.17).

а - схема излома; б, в - схемы расположения нейтральной оси

Рисунок 12.5 - К расчету оболочек, опертых по нижним углам

12.10 При расчете опертых на нижние углы однолепестковых гипаров, когда углы не закреплены или частично закреплены от горизонтальных смещений (рис. 12.2, а, частичное закрепление углов от горизонтальных смешений достигается с помощью затяжек), предельную нагрузку q находят по формуле

                                               (12.10)

Для определения коэффициентов Kj, Kv необходимо найти величину коэффициента y2 по формуле

                                                (12.11)

тогда

                                       (12.12)

При  (когда нейтральная ось проходит вне контурных ребер) Kj определяют по формуле

             (12.13)

При  (когда нейтральная ось пересекает ребра) следует предварительно вычислить коэффициент y3 по формуле

       (12.14)

В этом случае Kj находят по формуле

           (12.15)

где l = sh/t.

При расчете оболочки без окаймляющих ребер коэффициент Kj следует определять по формуле (12.13) при h = t = 0, а предельную нагрузку на оболочку без затяжки определяют при v = 0.

Приведенную равномерно распределенную нагрузку ge от веса ребер определяют по формуле

ge = 1,5gbdh.                                                           (12.16)

Площадь сечения затяжки Аt, обеспечивающую несмещаемость нижних углов оболочки, находят из условия

                                                       (12.17)

где

 если                                (12.18)

 если                                (12.19)

В формуле (12.19) коэффициент Кi вычисляют в зависимости от значения y1 по формулам (12.7) или (12.8);

Kj - в зависимости от значения y2 по формуле (12.13) или (12.15).

При выполнении условия (12.17) несущую способность оболочки определяют согласно п. 12.8 настоящего СП.

12.11 При расчете четырехлепесткового покрытия с горизонтальными коньками (рис. 12.3, а, покрытие опирается на треугольные фермы или на стены; коньковые балки расположены выше оболочки) предельную нагрузку q на оболочку определяют по формуле (12.5). Коэффициент Кi в формуле (12.5) находят в зависимости от значения y4, определяемого по формуле

                                                (12.20)

При y4 ³ 0 (когда нейтральная ось линии излома не пересекает коньковой балки) Ki вычисляют по формуле

                                              (12.21)

где

       (12.22)

B = 3[1 - y4(2 - sh - sy4)];

x - коэффициент, определяемый из уравнения

(2 - 0,7B)x3 - (3 - А - В)x2 - 2Ax + A = 0.                                  (12.23)

Подходящий корень уравнения должен удовлетворять условию x > 0.

При y4 < 0 (когда нейтральная ось линии излома пересекает коньковую балку) Ki вычисляют по формуле

Ki = 0,5(С - 1);                                                        (12.24)

Здесь

С = 3 + 0,75t0{2тп + sh0 + q3[4 - sh0(2 - q3)]} +

+ 2wz[3(1 + 0,5q3t0) - z(3 - z)];

                         (12.25)

b¢r - ширина конькового ребра;

h¢0r - расстояние от центра тяжести арматуры конькового ребра до его грани (рис. 12.4, в).

Приведенную равномерно распределенную нагрузку ge от веса коньковых балок определяют по формуле (12.16).

12.12 При расчете четырехлепестковых покрытий с наклонными коньками и поднятыми углами (рис. 12.3, б, покрытие опирается на четыре нижних угла, закрепленных от горизонтальных смещений) предельную нагрузку q на оболочку находят по формулам п. 12.8. Площадь сечения затяжки, обеспечивающую несмещаемость углов, находят по формуле (12.7).

12.13 При расчете четырехлепесткового покрытия с наклонными коньками и плоским контуром (рис. 12.3, в, покрытие опирается на четыре опоры, расположенные в серединах сторон квадратного плана; опоры покрытия закреплены от горизонтальных смещений затяжкой) предельную нагрузку q на оболочку находят по формуле (12.5). Площадь сечения затяжки определяют по формуле (12.17). Коэффициент Ki в зависимости от значения коэффициента y1, вычисляемого по формуле (12.6), находят:

при y1 ³ 0 по формуле

                            (12.26)

при y1 < 0 - по формуле

                                     (12.27)

где q1 - имеет то же значение, что и в формуле (12.8).

Приведенную равномерно распределенную нагрузку ge от массы контурных ребер и коньковых балок определяют по формуле (12.9).

Конструирование

12.14 Гипары могут выполняться сборными и монолитными (см. п. 4.1 настоящего СП). Монолитные оболочки, как правило, конструируются гладкими, без ребер. В сборном варианте разрезка на плиты осуществляется по направлению прямолинейных образующих и направляющих. Плиты по краям окаймляются ребрами. Геометрические размеры и армирование ребер назначают, как правило, в соответствии с требованиями монтажа. Совпадение геометрии двух поверхностей - исходной и получаемой в результате сборки плит - достигается за счет переменной толщины монолитных швов.

Гипары могут изготовляться из тяжелого и легкого бетонов.

12.15 Гипары, как правило, проектируют с контурными элементами, в качестве которых обычно применяют бортовые балки и фермы.

Сильно искривленные однолепестковые гипары относительно небольших пролетов (до 30 м) могут не иметь контурных элементов. Оболочки по контуру могут также опираться на ряд стоек. В оболочках, приведенных на рис. 12.3, по линиям сопряжения отдельных лепестков расположены коньковые балки.

При действии равномерно распределенной нагрузки в зависимости от взаимного расположения оболочек в контурных элементах и коньковых балках возникают сжимающие либо растягивающие усилия (рис. 12.5). При больших пролетах растянутые контурные элементы и коньковые балки рекомендуется выполнять с предварительным напряжением арматуры.

Собственный вес бортовых элементов, как правило, неблагоприятно сказывается на работе опирающихся по углам гладких гипаров. Поэтому сечения бортовых элементов рекомендуется назначать минимально возможными.

12.16 При армировании необходимо учитывать, что под действием равномерной нагрузки гипары растянуты в направлении парабол, обращенных выпуклостью вниз, и сжаты в направлении парабол, обращенных выпуклостью вверх. Армирование гипаров рекомендуется осуществлять, располагая стержни по прямолинейным образующим и направляющим поверхности. Для армирования плит рекомендуется использовать сварные сетки из холоднодеформированной проволоки класса В500. Нижние углы однолепестковых и многолепестковых гипаров могут быть армированы косыми стержнями, служащими для восприятия главных растягивающих усилий. Стержни имеют криволинейное очертание и располагаются по направлению не проходящей через эти углы диагонали прямоугольного или квадратного плана оболочки.

12.17 В сборных гипарах стыки плит должны обеспечивать восприятие сдвигающих и нормальных усилий. Стыки рекомендуется проектировать с учетом указаний п. 6.4 настоящего СП.

13 Висячие оболочки

Общие положения

13.1 Висячей железобетонной оболочкой называется оболочка, в которой роль основной рабочей арматуры выполняют ванты.

13.2 Висячие оболочки применяются в покрытиях зданий промышленного, сельскохозяйственного и культурно-бытового назначения (цехи, склады, навесы, шламбассейны, сгустители, резервуары, помещения для содержания скота, овощехранилища, крытые стадионы, спортзалы, крытые катки и плавательные бассейны, выставочные залы и павильоны, кинотеатры, крытые рынки и т.п.), в том числе зданий и помещений с подвесным транспортом.

13.3 Висячие оболочки могут иметь различное очертание в плане (рис. 13.1 - 13.5) и могут быть образованы на основе вантовых систем:

параллельных (рис. 13.1);

радиальных (радиально-вантовые сети), рис. 13.2, 13.3;

перекрестных (перекрестные вантовые сети, в том числе ортогональные), расположенных на поверхности положительной или отрицательной гауссовой кривизны, различают несущие (провисающие) и напрягающие (вспарушенные) ванты (рис. 13.4);

полигональных (рис 13.5).

1 - плиты; 2 - опорный контур; 3 - ванты

Рисунок 13.1 - Висячая оболочка с параллельной системой вант

1 - плиты; 2 - опорный контур; 3 - ванты; 4 - центральное кольцо; 5 - опорное кольцо фонаря

Рисунок 13.2 - Висячая оболочка положительной гауссовой кривизны (вогнутая) с радиальной системой вант

1 - опорный контур; 2 - растянутое кольцо; 3 - центральная опора; 4 - ванты; 5 - плиты

Рисунок 13.3 - Шатровая висячая оболочка

Рисунок 13.4 - Висячие оболочки с перекрестной системой вант

13.4 Стрелу провисания вант при расчетной нагрузке рекомендуется назначать в пределах 1/15 - 1/30 их пролета с учетом архитектурных, конструктивных и технико-экономических соображений.

13.5 Висячие оболочки обычно выполняются сборно-монолитными, значительно реже из монолитного бетона, в частности, с использованием метода торкретирования.

В сборно-монолитных оболочках, в зависимости от очертания опорного контура и принятой системы вант, плиты покрытия проектируют прямоугольной, трапециевидной или треугольной формы.

1 - опорный контур; 2 - контурные панты; 3 - угловые ванты

Рисунок 13.5 - Конструктивные схемы полигонально-вантовых систем

Рекомендуется при проектировании предусматривать монтаж висячих оболочек без лесов и подмостей. Ограждающие элементы в процессе монтажа укладывают на ванты, закрепленные в опорном контуре. Положение вант перед укладкой плит и в процессе монтажа определяет форму оболочки и должно строго соответствовать проектному, что достигается регулированием длины вант.

13.6 Висячие оболочки, как правило, имеют замкнутый, в основном работающий на сжатие опорный контур, воспринимающий распор вант и передающий только вертикальные нагрузки на поддерживающие конструкции.

13.7 Опорный контур может быть выполнен в виде кольца (круглого, эллиптического или овального) или многоугольника. Его ось может быть очерчена по гладкой плоской или пространственной кривой или состоять из нескольких отрезков прямых, плоских и пространственных кривых. Криволинейный опорный контур может быть для упрощения изготовления его элементов заменен вписанным или описанным полигональным.

13.8 На стадии монтажа до замоноличивания швов между плитами, когда конструкция представляет собой вантовую систему, необходимо предусматривать меры для уменьшения величины изгибающих моментов в контуре, стремясь к тому, чтобы он был условно безмоментным при основном виде монтажной нагрузки и испытывал незначительные изгибающие моменты при остальных комбинациях нагрузок, возможных при монтаже. Для этого ось контура должна иметь очертание, близкое к кривой давления от распора вантовой сети, а последовательность натяжения вант определяется расчетом.

13.9 Методы расчета, относящиеся к плоскому контуру, можно приближенно распространить на депланированный (неплоский) опорный контур, поскольку он обычно опирается на достаточно часто расположенные опоры или сплошные стены, воспринимающие вертикальные (сжимающие и растягивающие) усилия, а сама депланация контура в большинстве случаев относительно невелика, отклонения от плоскости не превышают 1/20 наименьшего размера перекрываемого пролета.

13.10 В оболочках с прямоугольным планом для устранения или уменьшения изгибающих моментов в элементах опорного контура могут быть использованы тросы-подборы (рис. 13.6), передающие усилия от вант в углы контура.

13.11 Покрытия на прямоугольном плане могут иметь ортогональную сетку вант и при отсутствии тросов-подборов. Вследствие того, что при обычном способе монтажа таких покрытий в опорном контуре возникают большие изгибающие моменты, вызывающие утяжеление контура, при проектировании оболочек рекомендуется предусматривать следующую последовательность монтажа плит: после устройства опорного контура и монтажа вантовой сети укладываются и включаются в работу плиты, смежные с опорным контуром.

Плиты соединяются с контуром, с вантами и между собой. Таким образом, на этой стадии монтажа контур и приконтурные ряды плит образуют жесткую замкнутую раму (рис. 13.7), которая воспринимает изгибающие моменты от последующих нагрузок. При этом удается избежать утяжеления контура, так как изгибающие моменты, возникающие при монтаже, воспринимаются контуром совместно с примыкающим к нему рядом плит. Связь между плитами и контуром осуществляется стальными полосами - жесткими в горизонтальной плоскости и гибкими в вертикальной. Поперечное сечение опорного контура назначается из условия работы его в составе оболочки и восприятия изгибающих моментов, возникающих при монтаже первого ряда плит.

а - система параллельных вант; б - ортогональная вантовая сеть; 1 - тросы-подборы; 2 - сжатые элементы опорного контура; 3 - ванты

Рисунок 13.6 - Использование тросов-подборов в висячих оболочках на прямоугольном плане

1 - опорный контур; 2 - плита; 3 - ванты

Рисунок 13.7 - Опорный контур, усиленный приконтурным рядом плит

13.12 Опорный контур висячих оболочек рекомендуется проектировать из сборного или сборно-монолитного железобетона. Допускается применение и монолитного железобетона. Поскольку опорный контур работает в основном на сжатие, следует стремиться к применению бетона высокого класса по прочности на сжатие и его эффективному армированию продольными стержнями класса А400 и выше, сетками и др. Рекомендуется также применение трубобетона.

Для облегчения сборных элементов опорного контура они могут предусматриваться корытообразного сечения. Полость стальных или железобетонных корытообразных элементов заполняется бетоном после монтажа.

13.13 Шаг вант и размеры плит следует назначать исходя из необходимости снижения массы оболочки, сокращения сроков ее монтажа, с учетом шага опор по контуру, членения сборных элементов опорного контура и расположения сосредоточенных нагрузок, которые целесообразно передавать в узлы пересечения вант.

13.14 В оболочках с параллельно расположенными вантами, в швах, перпендикулярных вантам, и в оболочках с радиальными вантами, в кольцевых швах рекомендуется устанавливать конструктивную арматуру, общая площадь поперечного сечения которой принимается не менее 15 % площади поперечного сечения вант. В качестве такой конструктивной арматуры рекомендуется использовать и арматуру, с помощью которой плиты крепятся к вантам.

13.15 Для несущих элементов висячих покрытий следует применять:

стержневую горячекатаную арматурную сталь классов А500 и выше;

канаты одинарной свивки по ГОСТ 3062; 3063; 3064;

канаты двойной свивки по ГОСТ 3066, 3067, 3068, 3081, 7669, 14954;

канаты одинарной свивки по ГОСТ 3064 из круглой оцинкованной по группе ЖС проволоки диаметром 2,6 мм и более;

канаты закрытые несущие по ГОСТ 3090, 7675, 7676, 18901;

пучки и пряди параллельных проволок, формируемых из канатной проволоки, удовлетворяющей требованиям ГОСТ 7372, и параллельно уложенных оцинкованных проволок по ГОСТ 3617.

13.16 Стальные канаты для устранения неупругих деформаций должны быть подвергнуты предварительной вытяжке усилием, равным половине установленного государственными стандартами или техническими условиями разрывного усилия каната в целом (а при его отсутствии в нормах - половине агрегатной прочности витого каната).

Рекомендуется преимущественно применять оцинкованные канаты с максимальным шагом свивки и линейным касанием проволок.

Применение канатов, пучков и прядей из проволоки диаметром менее 2,5 мм не рекомендуется.

13.17 При определении расчетного сопротивления стального витого каната с металлическим сердечником учитываются значение разрывного усилия каната в целом, установленное государственным стандартом или техническими условиями на канаты (а при его отсутствии в нормах - агрегатной прочности витого каната) и коэффициент надежности gт = 1,6.

Модуль упругости пучков и канатов из параллельно уложенных проволок следует принимать равным 2,01´105 МПа.

Расчетные сопротивления и модули упругости стержневой арматурной стали всех классов и арматурной проволоки классов А и В, арматурных канатов класса К принимают в соответствии с п. 2.2.2 СП 52-102.

Коэффициент условий работы вант принимается gс = 0,9 для всех видов арматурных изделий диаметром до 40 мм и gс = 0,85 для стальных канатов диаметром свыше 40 мм.

13.18 В опорных конструкциях ванты закрепляются при помощи анкерных устройств. По крайней мере на одном из концов ванты должно быть регулируемое анкерное устройство, обеспечивающее возможность регулировки длины вант во время монтажа и предварительного напряжения. Для компенсации потерь усилий натяжения по длине вант, возникающих за счет сил трения в узлах их пересечений, рекомендуется в напрягаемых конструкциях с ортогональной вантовой сетью предусматривать регулируемые анкерные устройства с обоих концов ванты.

Для вант из стержневой стали рекомендуется применять в качестве регулируемых анкерных устройств хвостовики и втулки с резьбой, соединяемые с вантами сваркой (рис. 13.8). Приваренные к вантам шайбы или коротыши (рис. 13.9) могут служить нерегулируемыми анкерами. Конструкция анкера не должна снижать несущей способности вант.

Для вант из горячекатаных арматурных сталей при соединении стержней и присоединении к ним хвостовиков из равнопрочного металла рекомендуется применять контактную стыковую сварку.

Ванты из стержневой стали с перегибами проектировать не рекомендуется.

Для вант из стальных канатов рекомендуется применять гильзоклиновые анкеры (рис. 13.10) или анкеры, заливаемые сплавами. Для заливки концов стальных канатов в анкерах рекомендуется применять сплав марки ЦАМ 9-1,5Л по ГОСТ 21437.

а - с расчетным сопротивлением, равным расчетному сопротивлению материала вант; б - с расчетным сопротивлением, меньшим расчетного сопротивления материала вант;

1 - ванта; 2 - хвостовик; 3 - контактная сварка; 4 - то же, дуговая

Рисунок 13.8 - Анкеры вант из стержневой стали, регулируемые с помощью хвостовиков из стали

а - коротышей; б - шайбы;

1 - ванта; 2 - коротыши; 3 - сварка; 4 - шайба

Рисунок 13.9 - Нерегулируемые анкеры вант из стержневой стали, выполняемые с помощью приваренных элементов

1 - ванта; 2 - гильза; 3 - клин; 4 - опорная гайка

Рисунок 13.10 - Гильзоклиновой анкер для вант из высокопрочной проволоки и стальных канатов

Для деталей анкеров стальных канатов рекомендуется применять сталь марки 295-III 09Г2С-4 по ГОСТ 19281, а также сталь марок 20-б-Т и 45-б-Т по ГОСТ 1050 в нормализованном состоянии.

13.19 Ванты из стержневой арматурной стали должны, как правило, располагаться внутри бетона и иметь защитный слой толщиной не менее 25 мм. Для этого оболочка в большинстве случаев должна быть ребристой. При этом ребра могут входить в состав плит покрытий или конструироваться в виде отдельных элементов, подвешенных к вантам. В этом случае сами плиты целесообразно проектировать гладкими. Как ребристые, так и гладкие плиты рекомендуется предусматривать из легкого бетона с укладкой по ним эффективного утеплителя. Возможно совмещение в легкобетонных плитах несущих и ограждающих (теплоизолирующих) функций.

13.20 Для защиты вант из высокопрочной стали от коррозии рекомендуется применять преимущественно оцинкованные канаты.

Ванты также могут быть пропущены внутри трубок, заполняемых после натяжения вант цементным раствором под давлением или специальными антикоррозионными составами.

13.21 Эффективным способом защиты вант от коррозии является предварительное напряжение оболочки.

Предварительное напряжение висячих оболочек рекомендуется осуществлять домкратами, с помощью пригрузки (временной нагрузкой или вертикальными оттяжками), с помощью укладки в швы между плитами бетона на напрягающем цементе. Величину предварительного напряжения назначают с учетом нормативной временной нагрузки и потерь напряжения.

При использовании напрягающего цемента ширина швов между плитами и их армирование назначают из условия достижения необходимой величины самонапряжения.

При предварительном напряжении с помощью домкратов замоноличивание кольцевых стыков между плитами предусматривается до натяжения вант с пропусками в местах, препятствующих натяжению вант.

При предварительном напряжении с помощью пригрузки, укладываемой на плиты, подвешиваемой к вантам или создаваемой оттяжками, закрепленными в нижележащих конструкциях, стыки между плитами замоноличивают согласно рекомендациям п. 13.12 настоящего СП.

13.22 При проектировании висячих оболочек отрицательной гауссовой кривизны, предварительное напряжение которых осуществляется с помощью пригрузки, вызывающей уменьшение усилий в напрягаемых вантах, рекомендуется принимать во внимание, что работа осуществляется в следующем порядке:

укладка и закрепление плит покрытия на смонтированной и выверенной вантовой сети;

пригрузка покрытия;

замоноличивание швов, располагаемых нормально к несущим вантам, т.е. кольцевых швов в шатровых покрытиях и швов, расположенных вдоль стабилизирующих вант, в седловидных покрытиях;

освобождение покрытия от временной нагрузки после набора бетоном в швах необходимой прочности;

замоноличивание всех остальных швов, бетон которых не получает предварительного напряжения, однако возможность раскрытия в нем трещин в значительной мере уменьшена общим повышением жесткости оболочки.

13.23 Во всех случаях проектирования висячих оболочек рекомендуется бетон в швы, расположенные между опорным контуром и крайними плитами, укладывать в последнюю очередь с целью уменьшения краевых изгибающих моментов. Для замоноличивания этих швов рекомендуется использовать бетон на расширяющемся или напрягающем цементе.

13.24 В пределах площади плит разрешается предусматривать проемы при условии, что это не отражается на их несущей способности в процессе монтажа. В плитах, примыкающих к контуру, не рекомендуется устраивать большие проемы, способствующие ослаблению сечения плиты более чем на 50 %.

Рекомендации по расчету

13.25 Расчет железобетонных висячих оболочек производят по предельным состояниям согласно требованиям СНиП 52-01. При этом усилия в элементах висячего покрытия в монтажной стадии определяют для вантовой сети в соответствии с рекомендациями пп. 13.26 - 13.41 настоящего СП. Указанные расчеты являются предварительными, т.к. ведутся в линейной постановке. Окончательный расчет при проектировании рекомендуется выполнить с применением ЭВМ по деформированной схеме с учетом геометрической и физической нелинейности.

Расчет стальных деталей и элементов, входящих в состав висячего покрытия и работающих в процессе монтажа или эксплуатации без учета окружающего бетона, должен производиться согласно требованиям СНиП II-23.

При определении расчетных усилий в опорном контуре и вантах предварительно напрягаемых конструкций необходимо учитывать усилия, возникающие в процессе монтажа конструкции и зависящие от принятого в проекте способа ее преднапряжения.

Расчет оболочек с радиальной и перекрестной системами вант

13.26 Простейшим видом радиальной сетки, широко используемой при строительстве висячих оболочек положительной гауссовой кривизны (см. рис. 13.2), является сетка, в которой ванты расположены с одинаковым угловым шагом, а образованная ими под равномерной нагрузкой поверхность имеет в центре горизонтальную касательную плоскость (рис. 13.11). Единственной формой сжатого условно безмоментного опорного контура такой равномерно нагруженной сети является эллипс, центр которого совпадает с горизонтальной проекцией узла сети (и окружность, т.е. эллипс, эксцентриситет которого равен единице). Распор H (горизонтальная проекция усилия) ванты определяют по формуле

                                                              (13.1)

где a - угловой шаг вант, рад;

r - расстояние между проекциями на горизонтальную плоскость узла сети и точки крепления ванты к опорному контуру (радиус-вектор);

f - стрела провисания вант.

1 - опорный контур; 2 - центральное кольцо; 3 - ванты

Рисунок 13.11 - Радиальная вантовая сеть с горизонтальной касательной в узле

Длина вант L может быть вычислена по формуле

                                                    (13.2)

где h = f/r.

Величину продольной силы N, действующей в любом сечении опорного контура и центрального кольца при условии отсутствия в них изгибающих моментов, находят из выражения

                                       (13.3)

Максимальное и минимальное значения N равны

                                      (13.4)

и имеют место соответственно в точках с координатами (х = 0; у = ±b); (х = ±а; у = 0).

13.27 В рассматриваемой сети при очертании опорного контура, отличающемся от кругового, усилия в вантах не одинаковы. Для того чтобы радиальная равномерно нагруженная сеть с постоянным угловым шагом вант при равенстве усилий в вантах имела сжатый условно безмоментный контур, необходимо соблюдение следующих условий:

а) нагрузка на оболочку должна быть равномерно распределенной;

б) проекция узла сети в плане должна совпадать с одним из фокусов эллипса, который и в этом случае является единственно возможной формой безмоментного контура (рис. 13.12);

Рисунок 13.12 - Радиально-вантовая система с узлом в фокусе эллипса

в) угол подхода b вант к узлу в вертикальной плоскости должен изменяться по закону

                                                  (13.15)

Распор вант H такой сети определяют по формуле

                                                       (13.6)

13.28 При круговом очертании опорного контура и расположении узла радиальной сети в центре круга а = b = R, b = 0; H и L определяют по формулам (13.1) и (13.2) при r = R = const

                                                       (13.7)

13.29 Критическую продольную силу Ncr в плоскости кривизны кругового опорного контура рекомендуется определять по формуле

                                                     (13.8)

где

A - изгибная жесткость контура.

13.30 Форма висячей шатровой оболочки кругового очертания в плане (см. рис. 13.3) и величина расчетных усилий в ее элементах при заданной нагрузке определяются следующими геометрическими параметрами:

радиусом контура R;

величиной подъема центрального кольца над уровнем контурного кольца f1;

углом наклона вант у контурного кольца a1 или у центрального кольца b1.

При равномерной нагрузке на покрытие величины h1 = f1/R, a1 и b1 связаны между собой отношениями

                                   (13.9)

Для обеспечения наружного водоотвода с покрытия должно выполняться условие

a1 ³ 0,                                                                (13.10)

а уклон кровли в центре не должен превышать предельно допустимого нормами значения [b1], т.е. b £ [b1].

13.31 Проектная геометрия покрытия обеспечивается точным назначением

                                                (13.11)

Распор вант H определяют по формуле

                                                          (13.12)

Расчетную продольную силу N в контурном и центральном кольцах определяют по формуле

                                                            (13.13)

13.32 При выполнении условия (13.10) вес покрытия передается на центральную опору. Осадка ее основания может оказаться при этом существенно большей, чем осадка опор контура.

Подбор сечений элементов при этом ведется по усилиям, соответствующим очертанию покрытия, до проявления осадок. Геометрические параметры начального очертания могут быть найдены по формулам:

                                     (13.14)

при условии, что

                                                       (13.15)

В выражениях (13.14, 13.15):

                                    (13.16)

где Q1 - вес участка опорного контура с длиной, равной шагу вант;

x = es/R;

es - взаимная осадка центральной и периферийной опор;

qj = qaR.

13.33 При действии равномерно распределенной нагрузки критическую продольную силу Ncr в опорном контуре шатровой оболочки в плоскости его кривизны определяют по формуле (13.8) при

                                                        (13.17)

При той же нагрузке критическую продольную силу Ncr в контуре из плоскости его кривизны определяют по формуле

                                        (13.18)

где n1 - количество волн при потере устойчивости, зависящее от наличия и количества связей;

В - жесткость кольца на изгиб из плоскости его кривизны;

С - жесткость на кручение;

                                                      (13.19)

13.34 При расчете центральной опоры необходимо учитывать случайный эксцентриситет продольного усилия, величина которого принимается равной 0,1 радиуса круглой опоры или 0,1 радиуса вписанной окружности, если поперечное сечение опоры имеет форму многоугольника.

13.35 На очертание условно безмоментного опорного контура радиальной вантовой сетки и на положение ее центрального узла никаких ограничений не накладывается (ось кольца может состоять из любого числа прямолинейных и криволинейных отрезков, сопряженных между собой плавно или с углом перелома).

Заданной форме контура отвечает определенная система распоров, направленных в заданный полюс, однако заданной системе распоров соответствует целое семейство замкнутых кривых, по которым может быть очерчена ось безмоментного контура.

Для радиальной вантовой сети система погонных распоров HS, обеспечивающая условную безмоментность контура плавного очертания, определяется выражением

                                                  (13.20)

где g - угол между проекцией ванты (радиусом-вектором r точки) и положительным направлением касательной;

С1 - произвольная постоянная, равная моменту продольной силы в контуре относительно центрального узла сети;

r - радиус кривизны кольца.

Соответствующую систему распоров Hj на единицу угла определяют по формуле

                                                     (13.21)

или

                                            (13.22)

где r¢ и r" - первая и вторая производные по j - углу между начальным фиксированным направлением и радиусом-вектором.

Нагружение радиальными силами в соответствии с этими формулами является необходимым и достаточным условием условной безмоментности контура произвольной формы.

При заданном графически очертании опорного контура в плане или громоздкости его аналитического выражения контур разбивается на отрезки, после чего необходимые для подстановки в формулы значения r¢ и r" вычисляют разностным методом.

Связь между погонным и угловым распорами определяется выражением

HSr = Hjsing.                                                       (13.23)

Системы распоров H, обеспечивающие условную безмоментность участков контура, имеющих очертания:

прямолинейные H = 0;

дуги окружности, центр которой совпадает с полюсом сил Hj = С1/r = const (обратное положение несправедливо). Из того, что на каком-либо участке кольца Hj = const, не следует, что этот участок обязательно должен быть очерчен по дуге окружности.

Случаю скачкообразного изменения радиуса кривизны в какой-либо точке при сохранении плавности поворота касательной отвечает разрыв функции H.

При переломе оси контура для сохранения его незначительных моментов в точке перелома необходимо приложить сосредоточенную силу H, определяемую по формуле

                                             (13.24)

где g1 и g2 - углы между радиусом-вектором r и касательными в точке перелома.

В частном случае контура полигональной формы с незначительными моментами на протяжении каждой его стороны нагрузки должны отсутствовать, могут действовать лишь приложенные в вершинах сосредоточенные усилия, определяемые по формуле (13.24). Величину продольной силы N, действующей в любом сечении контура, определяют по формуле

                                      (13.25)

13.36 Висячие оболочки с ортогональной системой вант целесообразно проектировать в виде поверхностей эллиптического параболоида, гиперболического параболоида или параболоида вращения, уравнения которых, соответственно, имеют вид:

                                                   (13.26)

где f - стрела провиса в центре эллиптического параболоида или параболоида вращения;

fx, fy - стрелы провиса вант, параллельных оси х и у гиперболического параболоида;

х, у, z - декартовы координаты;

а и b - полуоси контурного эллипса;

R - радиус контурной окружности.

Уравнения дают описания поверхности при полном нагружении вант.

Погонные распоры Нх, Ну в вантах определяют по формулам:

для эллиптического параболоида

                                               (13.27)

для гиперболического параболоида

                                          (13.28)

для параболоида вращения

                                                           (13.29)

где р - дополнительная нагрузка от напрягающих вант на 1 м2.

Распор в вантах определяют как произведение соответствующего погонного распора на расстояние между вантами.

Системы погонных распоров Нy и Нх для различных очертаний опорного контура ортогональной вантовой сети с одной и двумя осями симметрии, а также для перекрестной косоугольной вантовой сети с двумя осями симметрии приведены в Руководстве (п. 47 приложения Б).

Расчет оболочек с полигональной системой вант

Расчет полигонально-вантовой сети

13.37 Полигонально-вантовая сеть висячей оболочки должна быть рассчитана по несущей способности на полную расчетную нагрузку от собственного веса покрытия и снега, расположенного на всей его поверхности. Кроме того, должны быть учтены возможные неравномерности снеговых отложений согласно СНиП 2.01.07. Контурные и угловые ванты рассматривают как систему гибких нитей, прикрепленных к узлам общей вантовой сети. В основе расчета лежат условия равновесия узлов системы. В качестве примера на рис. 13.13 приведена схема несущей системы рассматриваемого висячего покрытия для квадратного здания размером 48´48 м в плане. Контурные ванты расположены с шагом 3 м по периметрам квадратов, угловые - по направлениям диагоналей плана (рис. 13.13, а). По вантам уложены железобетонные плиты (рис. 13.13, б).

а - схема вантовой сети; б - схема железобетонной оболочки

Рисунок 13.13 - Конструктивная схема полигонально-вантового висячего покрытия для здания размером 48´48 м в плане

13.38 Расчет конструкции рекомендуется начинать исходя из заданной формы равновесия висячего покрытия при полной равномерно распределенной расчетной нагрузке. Затем последовательно определяют:

расчетные усилия во всех элементах системы и площади их поперечных сечений;

исходную (начальную) геометрию системы;

длины заготовок контурных и угловых вант до приложения нагрузки.

При этом предполагается, что материал вант в рассматриваемом диапазоне нагружения следует закону Гука, а исходная геометрия конструкции соответствует форме равновесия вантовой сети из нерастяжимых нитей, длина которых равна длине заготовки.

Зная исходную геометрию системы, определяют форму ее равновесия и находят перемещения при всех монтажных состояниях нагружения.

13.39 Расчет контурных вант производят следующим образом: задают величину стрелки провеса f1 первой (от опорного контура) контурной ванты и определяют распор H1 первой контурной ванты по формуле

                                                       (13.30)

где qpr - равномерно распределенная расчетная нагрузка на 1 м длины горизонтальной проекции ванты;

l1 - величина пролета первой контурной ванты;

задаются условием равенства распоров H всех контурных вант

                                                      (13.31)

затем определяют стрелки провеса fi контурных вант по формуле

                                                         (13.32)

где i - номер контурной ванты (от 1 до k0), считая от контура (см. рис. 13.13);

k0 - количество контурных вант на каждом участке между угловыми вантами (т. е. количество гибких контуров в системе);

li - величина пролета контурной ванты i.

Расчетное продольное усилие Ti в произвольном сечении контурной ванты i определяют по формуле

                                                      (13.33)

где Qi - поперечная сила в однопролетной шарнирно-опертой балке при нагрузке qpr.

Ординаты линии равновесия yi контурных вант, измеренные от горизонтали, проходящей через центры узлов сопряжения контурных вант с угловыми при расчетной нагрузке, определяют по формуле

                                                          (13.34)

где Mi - изгибающий момент в сечении х однопролетной шарнирно-опертой балки пролетом li и при нагрузке qpr.

Соответствующие значения тангенсов углов наклона контурной ванты i находят по формуле

                                                         (13.35)

13.40 Для определения формы равновесия системы угловых вант при расчетной нагрузке:

а) определяют величины сосредоточенных нагрузок, передающихся в узлах сопряжения от примыкающих контурных вант (рис. 13.14); при этом величины горизонтальной и вертикальной составляющих узловой нагрузки определяют отдельно. Горизонтальную составляющую узловой нагрузки HD для квадратного плана определяют как геометрическую сумму распоров, примыкающих к узлу контурных вант, по формуле

HD = 1,41H.                                                        (13.36)

Вертикальная составляющая узловой нагрузки Vi равна арифметической сумме вертикальных составляющих опорных реакций двух примыкающих к узлу контурных вант плюс нагрузка от веса узловой конструкции и других элементов покрытия, опирающихся непосредственно на узел;

Рисунок 13.14 - Расчетная схема системы угловых вант в полигонально-вантовой системе

б) по найденным величинам узловых нагрузок определяют опорные реакции SV, SHD системы угловых вант из выражений:

                                    (13.37)

SHD = k0HD;                                                      (13.38)

в) находят тангенсы углов наклона системы угловых вант (см. рис. 13.14) на всех участках между узлами по формулам:

 

 и т.д.,                                           (13.39)

где i - номер узла;

г) зная углы наклона j и величины расстояний между узлами по горизонтали, определяют ординаты линии равновесия системы угловых вант. Полученная ломаная линия соответствует форме равновесия нижней угловой ванты. Все остальные угловые ванты располагаются выше на расстояниях, равных принятому шагу угловых вант по вертикали.

13.41 Для подбора сечений необходимо определить максимальные продольные усилия в вантах. Для контурных вант их определяют по формуле (13.33), подставляя вместо Qi вертикальную составляющую опорной реакции ванты. Усилия в угловых вантах достигают максимального значения на участке 0-1 (см. рис. 13.14), примыкающем к опорному узлу системы, где продольное усилие TD(0-1) в каждой угловой ванте равно

                                                   (13.40)

Сечения контурных и угловых вант подбирают по усилиям, полученным при расчете системы на полную расчетную нагрузку по всей площади покрытия.

После определения геометрических параметров висячей системы в расчетном предельном состоянии и подбора сечений ее основных элементов определяют длины заготовок вант (т.е. длины вант в исходном ненагруженном состоянии).

Расчет жесткости и трещиностойкости оболочки

13.42 Контроль жесткости и трещиностойкости оболочки осуществляют в соответствии с усилиями, найденными по теории расчета оболочки в упругой стадии на нагрузки, приложенные после замоноличивания оболочки.

При этом экспериментально подтверждено, что:

каждый квадрант оболочки (участок между угловыми вантами) можно рассматривать отдельно;

в упругой стадии (при достаточной высоте ребер) оболочка работает линейно;

в поперечном направлении (вдоль контурных вант) оболочка работает в основном на растяжение, а в продольном - на изгиб; деформации сдвига в оболочке практически отсутствуют;

влиянием вертикальных перемещений угловых вант на напряженное состояние оболочки можно пренебречь, поскольку эпюры этих перемещений имеют малую кривизну.

13.43 Предварительным конструктивным критерием допустимости расчета оболочки как линейно деформируемой системы может служить высота ребер, которую рекомендуется назначать не менее 1/250 величины L - общего пролета конструкции.

Для решения этого вопроса в общем виде (применительно к покрытию на квадратном плане при опирании оболочки по контуру) рекомендуется приближенный эмпирический критерий, так называемый критерий жесткости, который позволяет судить о деформативности оболочки при различных размерах ее элементов. Величину этого критерия определяют по формуле

                                                    (13.41)

где Ired - приведенный момент инерции поперечного сечения продольного ребра оболочки с учетом полки плит;

пr - количество продольных ребер оболочки в одном направлении;

L - величина общего пролета оболочки (см. рис. 13.13).

При KS > 1,2 кН геометрическую схему оболочки можно считать недеформируемой. При несоблюдении этого условия высоту ребер плит оболочки рекомендуется увеличить. Критерий KS действителен, когда величина равномерно распределенной нагрузки от снега не превышает нагрузки от собственного веса покрытия, что соответствует большинству практических случаев.

13.44 При расчете рассматривается предварительно напряженная оболочка, опертая на систему угловых вант и по контуру. Опоры на контуре принимают подвижными в продольном и поперечном направлениях. Считается, что согласно формуле (13.41) критерий жесткости удовлетворен. По результатам эксперимента расчетная схема рассматриваемой висячей оболочки представлена в виде перекрестной вантобалочной системы. Учитывая пологость вант, реакции взаимодействия между вантами и балками предполагаются вертикальными, тангенциальные связи исключены. Задача решается методом сил. В качестве лишних неизвестных приняты величины распоров контурных вант. Таким образом, задача расчета покрытия, например пролетом 48 м, имеет всего 7 неизвестных.

Реакции взаимодействия между вантами и балками определяют по формуле

                                                   (13.42)

где Rik - реакция взаимодействия ванты i с балкой k;

Hi - распор ванты i;

b0 - шаг балок (продольных ребер оболочки).

Из формулы (13.42) следует, что величины реакций взаимодействия вдоль каждой ванты постоянны. Полагая, что Нi = 1, можно определить узловые нагрузки от единичных неизвестных в основной системе и построить соответствующие эпюры моментов в балках и нормальных сил в вантах.

Расчет оболочки по несущей способности

13.45 Для определения несущей способности висячей оболочки полигонально-вантового типа применяется метод предельного равновесия в сочетании с общим решением задачи о расчете гибкой упругой нити. Практический способ расчета основан на следующих экспериментально обоснованных положениях:

каждый квадрант оболочки рассматривается как висячая конструкция с несмещаемыми опорами, расположенными по линиям угловых вант;

в предельном состоянии оболочка разделяется трещинами на продольные полосы, опертые на контурные ванты, и работает как вантобалочная система;

исчерпание несущей способности оболочки наступает вследствие одновременного появления текучести в контурных вантах и образования пластических шарниров в продольных ребрах (балках);

пластические шарниры в продольных ребрах располагаются на линии пересечения этих ребер с одной из ближайших к опорному контуру вант;

в предельном состоянии участки поверхности оболочки между линией расположения пластических шарниров и опорами остаются по форме близкими к цилиндрическим.

Расчет опорного контура

13.46 Расчетные сжимающие усилия в опорном контуре полигонально-вантовой системы определяют путем геометрического разложения опорных усилий угловых вант по направлениям элементов узла сопряжения угловых колонн с опорным контуром с учетом усилий в контуре от температурных и других воздействий. При необходимости рекомендуется производить проверку контура по деформированной схеме с учетом его совместной работы с колоннами.

13.47 Опорный контур полигонально-вантовой системы рассчитывается на внецентренное сжатие согласно СНиП 52-01. При этом расчетную длину l0 опорного контура в горизонтальной плоскости рекомендуется принимать равной 1/4 периметра здания, а в вертикальной плоскости - расстоянию между колоннами. Размеры поперечного сечения элементов опорного контура рекомендуется назначать равными не менее l0/20.

Конструирование

Конструирование оболочек с радиальной и перекрестной системами вант

13.48 При выборе системы вант следует иметь в виду, что по расходу арматуры на оболочку в целом, а также по расходу бетона на опорный контур оболочки с радиальной системой вант примерно в полтора раза экономичнее оболочек, имеющих перекрестную систему вант.

13.49 Для радиальной вантовой системы круговое очертание опорного контура (частный случай эллипса) является оптимальным, поскольку позволяет максимально унифицировать все элементы оболочки и обеспечить работу контура при небольших моментах практически на любой стадии монтажа. Для этого плиты оболочки необходимо монтировать кольцами, т.е. перед укладкой очередного ряда плит (кольца) все предыдущие должны быть закончены (замкнуты).

13.50 Связь опорного контура с вантами и плитами практически исключает возможность потери им устойчивости, вследствие чего его поперечное сечение можно при необходимости развивать в вертикальном направлении.

13.51 Если оболочка с радиальной системой вант имеет эллиптическое очертание в плане, то следует стремиться к тому, чтобы внутреннее кольцо имело также форму эллипса, подобного наружному.

13.52 Внутреннее кольцо в оболочках с радиальной вантовой сетью работает главным образом на растяжение.

Минимальный периметр внутреннего кольца определяют из условия размещения в нем анкеров вант.

Поперечное сечение кольца рекомендуется развивать в вертикальном направлении, обеспечивая распределение усилий от анкеров вант на всю высоту сечения. Конструкция кольца должна обеспечивать его жесткость в горизонтальной плоскости при монтаже вант и плит.

13.53 Большие сосредоточенные нагрузки на оболочки с радиальной сетью вант рекомендуется предусматривать в области, ограниченной внутренним кольцом.

13.54 Центральную опору шатровых оболочек рекомендуется проектировать железобетонной с круглым поперечным сечением из бетонов высокого класса по прочности на сжатие или трубобетонной.

13.55 Закрепление вант в контуре можно проектировать как с упором в опорную плиту на наружной грани контура, так и соединением с выпусками на его внутренней стороне.

Первое решение конструктивно проще и применяется при относительно небольшой ширине сечения опорного контура. Для этого в контурном кольце предусматриваются закладные трубки диаметром, достаточным для пропуска анкерных устройств вант.

Угол наклона трубок к горизонту следует принимать равным наклону касательной к поверхности покрытия у контура при расчетной равномерной нагрузке.

Закрепление вант в опорном контуре и внутреннем кольце должно проектироваться таким образом, чтобы линия действия усилия в ванте проходила через центр тяжести поперечного сечения (рис. 13.15). В противном случае необходимо учитывать возникающие вследствие отсутствия центрировки крутящие и изгибающие моменты.

13.56 Опорную плиту под анкер, как правило, проектируют перпендикулярно к оси закладной трубки, иначе под анкер следует устанавливать клиновидные шайбы.

Размеры опорных плит выбирают на основании расчета на местное сжатие. В необходимых случаях местное упрочнение контура под плитой может быть достигнуто с помощью дополнительной арматуры в виде сеток.

1 - центральная колонна; 2 - ванта; 3 - верхний пояс центрального кольца; 4 - нижний пояс центрального кольца; 5 - соединительные опорные планки; 6 - шайба; 7 - гайка; 8 - хвостовик; 9 - опорный контур; 10 - закладная трубка для пропуска ванты; 11 - закладная деталь, распределяющая нагрузку от ванты; 12 - патрубок для инъекции раствора

Рисунок 13.15 - Крепление вант к опорному контуру и центральному кольцу

С целью защиты вант от коррозии после окончания их регулировки и замоноличивания швов между плитами необходимо предусматривать возможность заполнения полости анкерных закладных трубок цементным раствором через патрубок, выведенный на верхнюю или боковую поверхность контура (рис. 13.15).

Анкеры вант должны быть обетонированы или надежно защищены от коррозии иным способом.

13.57 Конструкция узлов пересечения вант должна обеспечить совместную работу вант в нормальном, а в необходимых случаях и в тангенциальном направлениях к поверхности покрытия.

В местах пересечения вант предусматриваются специальные хомуты или штампованные косынки (рис. 13.16), используемые также для опирания плит.

В конструкциях деталей, изменяющих направление стального каната или проволоки в канате (анкерных устройств), а также обжимающих канат (сжимов, хомутов подвесок и т.п.), следует применять желоба криволинейного поперечного сечения с скруглениями у торцов (в месте выхода каната) и укороченными (по сравнению с основанием) прижимными накладками, прокладки из алюминия или другого мягкого материала. При этом для исключения электрохимической коррозии контактирующие с алюминием стальные канаты и стальные детали указанных выше устройств должны быть защищены покрытиями из кадмия или цинка толщиной не менее 20 мкм.

а - с применением хомутов; б - то же, штампованных стальных косынок;

1 - несущая ванта; 2 - напрягающая ванта; 3 - хомут; 4 - косынка

Рисунок 13.16 - Узлы пересечения вант

Сборные плиты могут быть подвешены к вантам при помощи выпусков рабочей арматуры, стальных крюков, привариваемых к арматуре плит и изготовленных из арматуры класса А240, или других специальных деталей. При подвеске в четырех точках каждый крюк рассчитывают на 1/3 нагрузки, приходящейся на плиту (рис. 13.17).

Конструирование оболочек с полигональной системой вант

13.58 Висячие оболочки полигонально-вантового типа применяются для покрытий с многоугольным планом (см. рис. 13.5). Их применение наиболее целесообразно в зданиях с квадратным и прямоугольным планами. Несущей основой конструкции служит гибкая полигонально-вантовая сеть при равномерно распределенном действии нагрузки с безмоментным в плане опорным контуром, опирающимся на колонны. Возможность применения такой вантовой системы для зданий с произвольным полигональным планом обеспечивается таким расположением несущих вант, при котором все усилия передаются только на углы опорного контура, вызывая в нем напряжения сжатия в основном без изгиба в горизонтальной плоскости.

13.59 Несущая система покрытия (см. рис. 13.5) состоит из контурных и угловых вант. В горизонтальной проекции контурные ванты расположены параллельно сторонам опорного контура и образуют полигональные гибкие контуры. Угол каждого гибкого контура соединен угловой вантой с соответствующим углом опорного контура. Угловые ванты располагаются по биссектрисам углов опорного контура (при прямоугольном плане - по диагоналям). Помимо основных возможно применение дополнительных угловых вант, проходящих непрерывно от угла к углу сооружения под основными угловыми вантами. Дополнительные угловые ванты рекомендуется применять в тех случаях, когда требуется уменьшить стрелу провиса центра покрытия по отношению к углам сооружения с целью увеличения уклона кровли по направлению к опорному контуру. Контурные и угловые ванты имеют на концах стальные анкерные детали, предназначенные для соединения вант между собой и для их крепления в углах сооружения.

Ванты могут быть одиночными или двойными, состоящими из одного или двух расположенных близко канатов, стальных арматурных стержней или других гибких элементов. Величины стрелок провиса контурных вант целесообразно выбирать таким образом, чтобы уклоны покрытия имели направления к сторонам опорного контура, что обеспечивает наилучшие условия для организации водоотвода с покрытия. При этом величины стрелок провиса контурных вант назначают таким образом, чтобы величины их распоров были одинаковыми. В этом случае форма поверхности покрытия между угловыми вантами близка к цилиндрической, что обеспечивает простейшее решение конструкции оболочки.

а - плоская плита; б - ребристая плита; 1 - железобетонная плита; 2 - ванта; 3 - крюки; 4 - бетон шва; 5 - армирование шва; 6 - ребро плиты; 7 - детали крепления плит к вантам

Рисунок 13.17 - Крепление плит к вантам

13.60 При проектировании вант (рис. 13.18) рекомендуется учитывать следующее их расположение в вертикальной плоскости: диагональные - в нижнем ярусе, угловые центрального гибкого контура - во втором ярусе, угловые следующего (от центра) контура - в третьем и т.д. Контурные ванты опираются сверху на систему проходящих ниже угловых вант, которые выполняются двойными, что обеспечивает устойчивость узла.

Возможен и обратный порядок расположения угловых вант, при котором узлы сопряжения подвешиваются снизу к проходящей над ними системе угловых вант. Конструкция узлов сопряжения контурных вант с угловыми должна обеспечивать свободу поворота концевых сечений контурных вант в вертикальной плоскости. Узлы могут быть запроектированы с применением болтов, сварки или стальных отливок (на основе принципа работы цилиндрических или листовых шарниров), желательно с устройством для регулировки длины вант.

13.61 Опорный контур и каркас здания могут быть выполнены из сборного, сборно-монолитного или монолитного железобетона. Опорный контур поддерживается колоннами, расположенными по периметру здания с шагом 6 м. Угловые колонны целесообразно выполнять двойными, что обеспечивает возможность монтажа всей вантовой системы на полу и подъема ее в готовом виде путем перемещения анкерных устройств сети по направляющим элементам угловых колонн. Опорный контур может быть запроектирован не только в виде горизонтального, но и полигонального ригеля, связанного с колоннами (рис. 13.19) и образующего вместе с ними многопролетную раму, в среднем пролете которой рекомендуется предусматривать вертикальные связи, повышающие горизонтальную устойчивость каркаса здания.

1 - угловые ванты; 2 - узлы сопряжения контурных вант с угловыми; 3 - диагональные ванты

Рисунок 13.18 - Расположение угловых вант полигонально-вантовой системы в вертикальной плоскости

Основными элементами висячей оболочки (см. рис. 13.13) в данном случае служат железобетонные ребристые плиты трех типоразмеров: основной размером 3´3 м (или 3´6 м) и два доборных, имеющих форму трапеции в плане. Плиты для оболочки целесообразно выполнять из бетона не ниже класса В25 по прочности на сжатие на легких заполнителях. Армирование плит предусматривается без предварительного напряжения. Узел опирания плит на двойные ванты приведен на рис. 13.20. В швах между плитами устанавливают дополнительную конструктивную, а в продольных швах оболочки - расчетную арматуру. Для обеспечения трещиностойкости оболочки в стадии эксплуатации или для уменьшения ширины раскрытия трещин до замоноличивания швов предусматривается предварительное напряжение вантовой сети при помощи пригрузки или другим способом. Возможно применение оболочек и без предварительного напряжения при надлежащем обосновании расчетом и защите вант от коррозии. Швы между плитами рекомендуется заполнять бетоном того же класса на сжатие, что и бетон плит. Для обеспечения устойчивости опорного контура оболочек с полигональной системой вант его поперечное сечение должно быть развито в горизонтальной плоскости.

13.62 Конструкция опорного узла рассматриваемой висячей системы должна обеспечивать возможность монтажа вантовой сети до замоноличивания стыков опорного контура. В углах контура рекомендуется предусматривать зазоры для прохода системы угловых вант, заанкеренных в специальном анкерном устройстве. В зазорах должны быть предусмотрены монтажные стальные распорки, способные воспринимать усилия сжатия в углах опорного контура от собственного веса вантовой сети. После монтажа вантовой сети зазоры в углах опорного контура замоноличиваются бетоном того же класса, что и бетон ригелей опорного контура.

1 - опорный контур; 2 - угловые (двойные) колонны; 3 - промежуточные колонны; 4 - вертикальные связи; а - с горизонтальным контуром; б - с полигональным контуром

Рисунок 13.19 - Конструктивные схемы опорного контура полигонально-вантового покрытия в вертикальной плоскости

а - узел опирания железобетонных плит на контурные ванты; б - поперечное сечение продольного ребра оболочки (балки);

1 - железобетонные ребристые плиты; 2 - контурные ванты; 3 - крюк жесткой конструкции; 4 - отверстие для строповки плит; 5 - дополнительная арматура в поперечных швах оболочки; 6 - рабочая арматура продольных ребер (балок)

Рисунок 13.20 - Конструктивное решение основных узлов висячей оболочки полигонально-вантового типа

14 Панели-оболочки «на пролет здания» и сводчатые конструкции из них

14.1 Панели-оболочки КЖС

Основные положения

14.1.1 Панель-оболочка КЖС (крупноразмерная, железобетонная, сводчатая) представляет собой короткий цилиндрический пологий предварительно напряженный свод-оболочку с двумя ребрами-диафрагмами сегментного очертания (рис. 14.1, 14.2), в нижней утолщенной части которых располагается предварительно напряженная арматура. Номинальные размеры панелей в плане рекомендуется принимать равными 3´12; 3´18 и 3´24 м.

Высоту поперечного сечения панели в середине пролета принимают равной 1/20 - 1/15l0 в зависимости от величины нагрузки и размера пролета. Очертание верхней поверхности оболочки рекомендуется принимать по квадратной параболе.

14.1.2 Панели-оболочки КЖС предназначаются для покрытий промышленных, общественных, сельскохозяйственных и других зданий с пролетами 12, 18 и 24 м, а при необходимости и для покрытий зданий других пролетов. Применение панелей КЖС предусматривается в покрытиях однопролетных и многопролетных зданий с фонарями и без фонарей верхнего света, бескрановых, а также оборудованных мостовыми кранами грузоподъемностью до 30 т или подвесным транспортом грузоподъемностью до 5 т.

Рисунок 14.1 - Панель-оболочка КЖС

1 - вертикальное ребро жесткости; 2 - разбивочная ось; 3 - напрягаемая рабочая арматура

Рисунок 14.2 - Поперечное сечение панели-оболочки КЖС

Покрытия рассматриваемого типа проектируются из панелей КЖС и поддерживающих продольных конструкций. В простейшем случае панели опираются на продольные несущие стены; такое решение наиболее целесообразно для невысоких зданий сельскохозяйственного строительства, невысоких складских и ряда других зданий.

В промышленном строительстве при шаге колонн 6 м панели опирают на продольные железобетонные балки прямоугольного сечения высотой 500 - 600 мм. При шаге колонн 12 м применяют предварительно напряженные железобетонные двутавровые балки с сечением высотой 1000 - 1200 мм или фермы раскосно-шпренгельного типа с предварительно напряженной арматурой (рис. 14.3).

Рисунок 14.3 - Продольная предварительно напряженная балка и ферма для покрытий из панелей-оболочек КЖС при шаге колонн 12 м

Рекомендации по расчету

14.1.3 Расчет пологой цилиндрической панели-оболочки КЖС производят по методике расчетных предельных состояний с учетом изменений геометрической схемы конструкции в процессе нагружения. Методика расчета основана на подтвержденной экспериментом статической гипотезе, что вдоль пролета панели действуют только продольные силы, а поперек (т. е. вдоль образующей оболочки) - только поперечные силы и изгибающие моменты. Таким образом, оболочка рассматривается как цилиндрический свод, работающий совместно с деформирующимися диафрагмами.

Излагаемый ниже метод расчета разработан для панелей-оболочек КЖС, у которых отношение l0/b0 ³ 4, опирающихся на продольные несущие конструкции согласно п. 14.1.2 настоящего СП.

Расчет панели-оболочки КЖС по несущей способности и устойчивости

14.1.4 Необходимо, чтобы несущая способность оболочки была достаточной для восприятия усилий сжатия и изгибающих моментов, возникающих при воздействии на систему «свод - диафрагмы» расчетных нагрузок в наименее благоприятных сочетаниях. Тогда общая несущая способность панели-оболочки КЖС может быть выражена величиной предельного изгибающего момента, воспринимаемого системой в целом.

В соответствии с этим необходимые площади сечения Аs рабочей арматуры диафрагм и толщины оболочки d (рис. 14.4) определяют из условий:

                                                           (14.1)

а - продольный разрез; б - план опорной части; 1 - 5 - номера характерных точек продольного сечения по оси панели; 6 - ось напрягаемой арматуры диафрагмы; 7 - ось оболочки

Рисунок 14.4 - Геометрическая схема панели-оболочки КЖС

                                                    (14.2)

где М - изгибающий момент в рассматриваемом сечении панели;

z - расстояние по вертикали от оси оболочки до оси рабочей арматуры диафрагмы;

Rs - расчетное сопротивление рабочей арматуры диафрагм;

bf - ширина панели поверху;

g0 - коэффициент условий работы тонкой оболочки, принимаемый равным для панелей шириной 3 м - 0,75; 2 м - 0,9; 1,5 м - 1;

gb1 - коэффициент условий работы бетона, принимаемый согласно п. 5.1.10 СП 52-101.

Рекомендуемая геометрическая схема конструкции приведена на рис. 14.4. Верхняя поверхность оболочки между точками 1 и 2 очерчена по квадратной параболе. Очертание нижней поверхности оболочки между точками 4 и 5 параллельно этой кривой.

Необходимую толщину оболочки в средней части пролета определяют по формуле (14.2); толщину оболочки d3-4 на участке, примыкающем к опоре, определяют с учетом усилий, действующих в опорной зоне.

На рис. 14.4 обозначены:

х - расстояние от рабочей поверхности анкера рабочей арматуры диафрагмы до рассматриваемого сечения;

a - угол наклона нижней поверхности оболочки у торца панели; tga £ 0,5;

аr - расстояние по горизонтали от оси рабочей арматуры диафрагмы до продольной грани панели на опоре;

z0 - стрела подъема оболочки (т.е. расстояние от оси оболочки до оси рабочей арматуры диафрагмы в середине пролета).

14.1.5 Помимо расчета по формуле (14.2) толщину оболочки следует проверить на условные критические напряжения сжатия по формуле

                                                (14.3)

где lb - расчетный пролет оболочки, равный расстоянию в свету между вутами (см. рис. 14.2);

 - изгибающий момент от расчетных нагрузок в середине пролета панели при коэффициенте надежности по нагрузке gf = 1;

у0 - расстояние от центра тяжести приведенного сечения панели в середине пролета до оси оболочки;

Ired0 - момент инерции приведенного поперечного сечения панели в середине ее пролета.

14.1.6 Площадь сечения стержней торцевой арматуры при опирании на продольные несущие конструкции согласно п. 14.1.2 подбирают по большему из усилий Ne, полученных по формулам:

                                                     (14.4)

                                                        (14.5)

где g - расчетная нагрузка от веса панели, кН/м2;

l - расчетный пролет панели;

bs - расстояние между осями рабочей арматуры диафрагм;

bsup - ширина панели на опоре;

2 - сопротивление отрыву, кН/м2, при съеме панели с формы.

Для торцевой арматуры рекомендуется применять сталь класса не ниже А400.

Расчет диафрагм на поперечную силу

14.1.7 Расчет диафрагм панели-оболочки КЖС на поперечную силу производят с учетом разгружающего действия вертикальных составляющих сил сжатия в оболочке. Часть поперечной силы Qd, воспринимаемую диафрагмами, определяют по формуле

                                                  (14.6)

при этом должно быть проверено условие

                                                    (14.7)

В формулах (14.6 и 14.7)

Q0 - полная величина поперечной силы в рассматриваемом сечении панели;

j - угол наклона оси оболочки;

 - ширина диафрагмы в самом узком месте рассматриваемого сечения (см. рис. 14.2);

h0 - рабочая высота сечения.

При соблюдении условия (14.7) на участках диафрагм длиной 0,1l, примыкающих к опорам, во всех случаях необходимо устанавливать конструктивную поперечную арматуру диаметром не менее 5 мм из проволоки класса В500 с шагом 100 мм, а при наличии на участках диафрагм сосредоточенных нагрузок от подвесного транспорта - не менее Æ 6 А400 с шагом 100 мм. Кроме того, при выборе шага поперечных стержней должны быть учтены указания раздела «Поперечное армирование» п. 83 СП 52-101. Также следует установить стержни-подвески в вертикальных ребрах жесткости диафрагм (см. рис. 14.5), располагаемые с шагом 1,5 - 1,6 м. При наличии подвесного транспорта эти подвески делаются двойными.

Во всех случаях, где условие (14.7) не соблюдается, рекомендуется устанавливать поперечную арматуру, при этом необходимая площадь сечения поперечной арматуры в диафрагмах принимается по формуле

                                               (14.8)

где fx - площадь сечения одного поперечного (вертикального) стержня каркаса диафрагмы;

çQdç - абсолютная величина части поперечной силы, воспринимаемой обеими диафрагмами панели, определяется по формуле (14.6);

z - плечо внутренней пары сил (расстояние по вертикали от оси напрягаемой арматуры до оси оболочки в рассматриваемом сечении);

и - шаг поперечных стержней каркаса диафрагмы.

При этом в знаменателе формулы (14.8) знак плюс для левой половины панели принимается в тех случаях, когда величина Qd положительна, и минус - когда величина Qd отрицательна.

1 - напрягаемая арматура диафрагмы; 2 - анкер; 3 - арматурная сетка оболочки; 4 - поперечная арматура диафрагмы (на участке Т устанавливается только при наличии подвесного транспорта); 5 - подвеска наружная; 6 - подвеска внутренняя; 7 - сетка в вуте; 8 - торцевая арматура (сечение IV¢-IV¢ при наличии подвесных кранов и для сегментных сводов)

Рисунок 14.5 - Армирование панели-оболочки КЖС размером 3´18 м

Расчет анкеров

14.1.8 Площадь рабочей поверхности анкера рабочей арматуры каждой диафрагмы рекомендуется проверять исходя из условия

                                                    (14.9)

где М1 - изгибающий момент на всю ширину панели в сечении, расположенном на расстоянии 1,5 м от рабочей поверхности анкера;

z1 - расстояние по вертикали от оси рабочей арматуры диафрагмы до оси оболочки в этом же сечении.

При нагрузках от подвесных кранов изгибающий момент M1 и величину z1 рекомендуется вычислять в сечении под грузом, ближайшим к опоре.

Расчет панели-оболочки КЖС по деформациям

14.1.9 Прогиб w0sh в середине пролета предварительно напряженной панели-оболочки КЖС при кратковременном действии равномерно распределенной на 1 м длины панели нагрузки qn рекомендуется определять по формуле

                                                 (14.10)

где qn - равномерно распределенная расчетная нагрузка при коэффициенте надежности по нагрузке gf = 1; Eb1 = 0,85Еb;

Ired0 - момент инерции приведенного поперечного сечения панели КЖС в середине пролета.

Величину прогиба w0l панели в середине пролета с учетом длительного действия нагрузки и предварительного напряжения определяют по формуле

                                    (14.11)

где qsh - кратковременно действующая часть нагрузки;

jb,cr - коэффициент ползучести бетона (см. табл. 5.2 и п. 5.6 настоящего СП);

ql - длительно действующая часть нагрузки;

qe - эквивалентная по моменту в середине пролета равномерно распределенная нагрузка от сил предварительного напряжения, определяемая по формуле

                                                         (14.12)

Dssp(2) = Dssp5 + Dssp6 - сумма потерь предварительного напряжения рабочей арматуры от усадки и ползучести бетона согласно СП 52-102;

 - то же, для напрягаемой арматуры, если бы она имелась на уровне крайнего сжатого волокна бетона;

Es - модуль упругости рабочей арматуры диафрагм;

h0c - рабочая высота поперечного сечения панели в середине пролета;

Р(1) - равнодействующая усилий в напрягаемой арматуре до обжатия бетона, определяемая при коэффициенте точности натяжения gsp = 1;

е0р - расстояние от оси напрягаемой арматуры до центра тяжести приведенного сечения панели в середине пролета.

Расчет панели-оболочки КЖС по образованию трещин

14.1.10 Расчет по образованию трещин в диафрагмах панелей КЖС рекомендуется производить согласно требованиям раздела 6.3 СНиП 52-01 с учетом следующих особенностей:

а) во всех случаях при определении потерь предварительного напряжения в арматуре рекомендуется учитывать разгружающее действие веса панели при gsp = 1;

б) величину момента сопротивления Wpl приведенного сечения панели для растянутой грани с учетом неупругих деформаций бетона допускается определять по формуле

Wpl = 1,3W,                                                     (14.13)

где W - момент сопротивления для растянутой грани сечения, определяемый в соответствии с правилами сопротивления упругих материалов по формуле

                                                   (14.14)

где а - расстояние от нижней грани ребра до оси напрягаемой арматуры (см. рис. 14.2).

Расчет поля оболочки на изгиб вдоль образующей

14.1.11 Короткую цилиндрическую оболочку между диафрагмами рекомендуется рассчитывать на изгиб в направлении ее образующей. При этом необходимо учитывать изменения геометрической схемы конструкции вследствие роста прогибов, появления и развития трещин в диафрагмах и уменьшения кривизны оболочки в процессе ее нагружения на всех стадиях - от начала нагружения до появления признаков предельного состояния.

Расчет производят путем определения «изгибающей нагрузки» qb, передающейся на диафрагмы за счет изгиба оболочки, и сравнения этой нагрузки с несущей способностью оболочки на изгиб, определяемой методом предельного равновесия. Несущую способность оболочки на изгиб рекомендуется проверять при следующих схемах нагружения:

при нагрузке, равномерно распределенной по всей поверхности оболочки;

при снеговой нагрузке, расположенной на половине пролета с учетом коэффициента снегоотложения m = 1, на участках нижних покрытий при перепаде высот - с учетом коэффициента m, определяемого согласно Приложению 3 СНиП 2.01.07;

при нагружении диафрагм сосредоточенными нагрузками от симметрично расположенных подвесных кранов;

при нагружении сосредоточенными нагрузками от стоек каркаса фонаря и т.п.

Перечисленные нагрузки следует учитывать в наименее благоприятных сочетаниях. Коэффициенты сочетаний принимают по СНиП 2.01.07. Поскольку при расчете оболочки решается нелинейная задача, то не допускается производить расчет на воздействие отдельных видов нагружения с последующим суммированием. В каждом случае необходимо производить расчет на возможные комбинации нагрузок.

При этом следует иметь в виду следующее: при нагрузке, приложенной к полю оболочки, изгибающая нагрузка положительна (направлена вниз), при нагрузке, приложенной к диафрагмам, - отрицательна (направлена вверх). Снеговая нагрузка, приложенная на одной половине пролета, создает на ней положительную изгибающую нагрузку, на другой - отрицательную. Силы предварительного напряжения рабочей арматуры диафрагм создают положительную изгибающую нагрузку на оболочку.

14.1.12 При равномерном нагружении (рис. 14.6) решение нелинейной задачи для определения максимальной величины qbmax - расчетной изгибающей нагрузки на 1 м2 - имеет вид

                                  (14.15)

где qM - расчетная равномерно распределенная нагрузка на 1 м2, приложенная непосредственно к оболочке с учетом ее веса (без учета веса диафрагм);

w0,max - расчетный прогиб панели в середине пролета, определяемый по формуле (14.16);

1 - ось оболочки; 2 - ось рабочей арматуры диафрагмы

Рисунок 14.6 - Расчетная схема панели-оболочки КЖС

q - эквивалентная по моменту в середине пролета расчетная равномерно распределенная нагрузка на 1 м2 с учетом веса панели;

qN - вертикальная нагрузка на 1 м2, эквивалентная по нормальной силе, возникающей в оболочке от предварительного напряжения панели, определяемая по формуле (14.20);

c - коэффициент, учитывающий неравномерность распределения сил сжатия в оболочке, определяемый по формуле (14.21).

Величины, входящие в уравнение (14.15), определяют по формулам:

                                  (14.16)

                          (14.17)

                                                    (14.18)

 a = Es/Eb;

                                               (14.19)

где sy - предел текучести арматуры диафрагм, принимаемый по соответствующим ГОСТам;

wy - прогиб панели, соответствующий началу текучести арматуры диафрагм;

wp - выгиб панели от сил предварительного напряжения;

Es - модуль упругости рабочей арматуры диафрагм;

ssp2 - величина предварительного напряжения в арматуре с учетом всех потерь, определяемая по СП 52-102;

                                               (14.20)

c = bfd0y0z0/Ired0,                                                      (14.21)

где d0 и Аred0 - толщина оболочки и площадь приведенного сечения панели в середине ее пролета;

Р - равнодействующая усилий в напрягаемой арматуре с учетом всех потерь предварительного напряжения.

Если в соответствии с формулой (14.21) c > 1, то следует принимать c = 1.

При определении изгибающей нагрузки qb,max величины ssp2 и Р, входящие в формулы (14.17), (14.18) и (14.20), вычисляют при gsp = 1,1.

14.1.13 Минимальную величину изгибающей нагрузки qb,min при равномерном нагружении панели определяют по формуле

                                   (14.22)

где w0,min - расчетный прогиб панели в середине пролета при нагрузке, равной q, определяемый по формуле

                                      (14.23)

здесь wy, wp, qN, c определяют по формулам (14.17), (14.18), (14.20), (14.21); ssp2, P определяют при gsp = 0,9.

                                                 (14.24)

14.1.14 При нагружении панели-оболочки постоянной равномерно распределенной нагрузкой g в сочетании с нагрузкой от снега р, расположенной на левой половине пролета (рис. 14.6), изгибающие нагрузки соответственно для левой qb,l и правой qb,r половин пролета определяют по формулам:

                            (14.25)

                               (14.26)

где qM,l, qM,r - равномерно распределенные нагрузки, приложенные непосредственно к оболочке соответственно на левой и правой половинах пролета с учетом собственного веса оболочки;

g - отношение временной (снеговой) к постоянной равномерно распределенной нагрузке, определяемое по формуле

g = p/g,                                                           (14.27)

здесь w0,max, w0,min - вычисляют по формулам (14.16) и (14.23), заменяя q на qc, определяемую по формуле

qc = g + 0,5p.                                                         (14.28)

14.1.15 При определении изгибающих нагрузок qb,l и qb,r соответственно вычисляют величины

w0,max и qN при gsp = 1,1;

w0,min и qN при gsp = 0,9.

Предельная несущая способность оболочки на изгиб определяется на основе принципа предельного равновесия исходя из характерной схемы разрушения оболочек рассматриваемого типа (рис. 14.7).

а - вид на диафрагму; б - план; 1 - оболочка; 2 - рабочая арматура диафрагм; 3 - трещины в диафрагме; 4 - пластические шарниры в оболочке

Рисунок 14.7 - Схема разрушения панели-оболочки КЖС

В наиболее распространенном случае при армировании одной сварной сеткой с рабочими стержнями, расположенными вдоль образующей оболочки (т.е. поперек панели), и при схеме излома с тремя пластическими шарнирами (по оси панели и по линиям сопряжения оболочки с вутами диафрагм) qu, кН на 1 м2 оболочки, определяют по формуле

                                            (14.29)

где Rs - расчетное сопротивление рабочей арматуры оболочки, МПа;

As - площадь сечения рабочей арматуры, м2, на 1 м оболочки;

lb - расстояние в свету между вутами диафрагм, м;

dx - толщина оболочки в рассматриваемом сечении, м.

Абсолютные величины расчетных изгибающих нагрузок, найденные из уравнений (14.15), (14.22), (14.25) и (14.26), не должны превышать предельной изгибающей нагрузки, определенной по формуле (14.29).

Проверка прочности сопряжения оболочки с диафрагмой

14.1.16 Прочность сопряжения оболочки с диафрагмами рекомендуется проверять расчетом на изгиб сечений II-II и III-III (см. рис. 14.5) при действии на оболочку расчетных изгибающих нагрузок, предполагая, что расчет самой оболочки на изгиб проведен заранее и величины расчетных изгибающих нагрузок при наименее благоприятных схемах нагружения известны. При этом принимается, что изгибающие моменты в вертикальном сечении II-II (у начала вута) и горизонтальном сечении III-III (по диафрагме) одинаковы. Величину расчетного изгибающего момента М2 и М3 для этих сечений определяют по формуле

                                     (14.30)

где q - расчетная изгибающая нагрузка для рассматриваемой схемы нагружения;

ab и lb - см. на рис. 14.2.

Величина изгибающего момента М2 получается отрицательной, когда преобладающее действие оказывают нагрузки, расположенные на поле оболочки, и положительной, когда преобладают нагрузки, приложенные к диафрагмам. Если изгибающий момент М2 отрицателен, то растянутой арматурой в сечении II-II (рис. 14.5) служат поперечные стержни основной сетки 3 оболочки, а в сечении III-III - наружная подвеска 5, расположенная в вертикальном ребре жесткости диафрагмы. Площадь сечения этих арматурных элементов должна обеспечивать восприятие момента М2. Если при всех комбинациях нагружения изгибающий момент М2 остается отрицательным, то установка дополнительных сеток 7 в вутах и внутренних подвесок 6 в диафрагмах не требуется. Их устанавливают (по расчету) только в тех случаях, когда М2 положителен.

Расчет покрытий на нагрузки от подвесных кранов

14.1.17 Покрытия из панелей-оболочек КЖС могут нести нагрузки от подвесных электрических кранов по ГОСТ 7890. Типовые схемы нагружения приведены на рис. 14.8.

По схемам а и в максимальная грузоподъемность кранов составляет 5 т, по схеме б - 3,2 т. Балки крановых путей выполняются неразрезными. При расчете принимают, что на каждой колее могут находиться по два максимально сближенных крана. Коэффициенты сочетания крановых нагрузок между собой и коэффициенты их сочетания со снеговой нагрузкой принимаются по СНиП 2.01.07. У поперечного температурного шва следует предусматривать шарнирное соединение концов балок крановых путей, не препятствующее взаимному повороту их концевых сечений, но способное передавать вертикальную поперечную силу, возникающую от крановых нагрузок. При расчете следует учитывать максимально возможное приближение кранов к торцевой стене здания с учетом расположения торцевых упоров на балках крановых путей.

Рисунок 14.8 - Типовые схемы нагружения (а, б, в) покрытия из панелей-оболочек КЖС подвесными кранами

Основной задачей расчета является определение нагрузок, передающихся от кранов на панель-оболочку, находящуюся в системе покрытия. Задача решается по принципу расчета неразрезной балки кранового пути как балки на оседающих опорах, которыми служат диафрагмы панелей-оболочек. При этом связь между опорными давлениями балки и вертикальными перемещениями диафрагм принимается нелинейной. Расчет состоит из определения максимальных нагрузок, передающихся на диафрагмы панелей КЖС, и нагрузок от кранов, при которых возникают наибольшие отрицательные моменты в оболочке. В связи с тем, что рассматриваемая задача является нелинейной, то в каждом случае она решается при условии одновременного воздействия нагрузок от покрытия и подвесных кранов в наименее благоприятных сочетаниях. Расчет рекомендуется выполнять численными методами с применением ЭВМ.

Конструирование панелей-оболочек КЖС и покрытий с их применением

14.1.18 Минимальная толщина оболочки должна быть не менее 30 мм; диафрагмы рекомендуется проектировать облегченной кессонированной конструкции с вертикальными ребрами жесткости и минимальной толщиной стенки, равной 40 мм. Минимальная толщина стенки в первом от опоры кессоне диафрагмы принимается равной 50 мм. Сопряжение оболочки с диафрагмами выполняется с применением пологих вутов (i = 1:5), как показано на рис. 14.2.

14.1.19 Основную напрягаемую рабочую арматуру панели (рис. 14.5) рекомендуется проектировать из двух предварительно напряженных элементов, расположенных в нижней утолщенной зоне диафрагм. Эта арматура проектируется из стержневой свариваемой стали классов А500 - А800 и, как правило, выполняется из одного или двух вплотную расположенных стержней в каждом ребре (диафрагме). Возможно также применение в качестве напрягаемой арматуры панелей КЖС холоднодеформированной арматуры периодического профиля классов от Вр 1200 до Вр1500 (Вр-Н) и канатов К-7, К-19.

По концам напрягаемых элементов рабочей арматуры предусматриваются прикрепленные к ним стальные анкерные детали (см. рис. 14.15). Эти детали должны обеспечивать надежное заанкеривание рабочей арматуры в бетоне опорного узла панели, так как эта арматура играет роль затяжек рассматриваемой сводчатой системы.

14.1.20 Армирование оболочки назначается по расчету и выполняется из сварной арматурной сетки рулонного типа. Площадь сечения арматуры (в % полной площади сечения бетона оболочки), расположенной в средней части пролета между точками 4 - 5 (см. рис. 14.4), должна быть не менее: поперечной - 0,3; продольной - 0,2.

Диафрагмы, как правило, следует армировать сварными каркасами только в опорных зонах (на участках длиной 0,1l0 или более, в зависимости от результатов расчета), а также стержнями-подвесками, расположенными в вертикальных ребрах диафрагм.

14.1.21 Панели КЖС рекомендуется проектировать из бетонов классов В25 - В40 на сжатие в зависимости от размеров пролета и нагрузок. В тех случаях, когда это технически и экономически целесообразно в данном районе строительства, рекомендуется проектировать панели-оболочки КЖС из бетонов тех же классов на пористых заполнителях. Рекомендуется также проектировать комплексные панели-оболочки повышенной заводской готовности с эффективным плитным утеплителем (без стяжки) и кровлей, приклеенными на заводе.

Для пропуска вентиляционных шахт и установки крышных вентиляторов предусматривается изготовление панелей с отверстиями диаметрами 400, 700, 1000 и 1450 мм, расположенными по оси панели на различных расстояниях от торца, вокруг которых предусматривается соответствующее усиление оболочки по расчету.

Для устройства светоаэрационных или зенитных фонарей панели следует проектировать с проемами (рис. 14.9) размером 2,5´6 м - для панелей размером 3´18 м и 2,5´9 м - для панелей 3´24 м.

По периметру фонарного проема в оболочке предусматривают плавное утолщение до 70 - 80 мм; сжатую зону диафрагм в пределах проема рекомендуется соответственно усиливать. В оболочке и в сжатой зоне диафрагм в соответствии с расчетом рекомендуется устанавливать дополнительную арматуру.

14.1.22 Для совместной работы панелей КЖС с каркасом здания должно быть предусмотрено их крепление сваркой во всех четырех углах панели к продольным несущим конструкциям покрытия. Это крепление рекомендуется осуществлять с применением листовых шарниров, обеспечивающих возможность поворота сечения панели в вертикальной плоскости. Листовые шарниры должны быть запроектированы так, чтобы они могли заранее на заводе привариваться к закладным деталям продольных конструкций. Жесткое крепление панелей, создающее их защемление на опорах, не допускается.

При проектировании рабочей арматуры из высокопрочной проволоки или стальных канатов конструкции анкеров должны обеспечивать возможность предварительного напряжения при натяжении арматуры с захватом за анкера арматурных элементов. При подъеме строповку панели следует осуществлять только за отверстия в угловых анкерных деталях (рис. 14.5).

На всех стадиях производства, складирования, транспортирования и монтажа панель-оболочка должна опираться только на угловые анкерные детали. Транспортирование панелей КЖС предусматривается на транспортных средствах с жесткой (на изгиб и кручение) грузовой платформой, размеры которой должны быть не менее транспортируемых панелей.

14.1.23 Для производственных зданий, где требуется пропуск коммуникаций в пределах покрытия, разработана панель-оболочка коммуникационного типа (КСО) - короткая складка с двумя продольными диафрагмами в виде безраскосных ферм полигонального очертания (рис. 14.10, а). Такие конструкции могут быть применены также и для устройства покрытий зальных помещений гражданских зданий.

а - план; б - продольный разрез по оси панели

Рисунок 14.9 - Панель-оболочка КЖС с проемом для светоаэрационного или зенитного фонаря

а - покрытие с применением только панелей-оболочек КСО; б - покрытие с применением панелей-оболочек КСО и дополнительных цилиндрических пластин-оболочек; 1 - панели-оболочки КСО; 2 - опорные конструкции в виде ферм; 3 - преднапряженные цилиндрические пластины-оболочки

Рисунок 14.10 - Покрытия с применением панелей-оболочек КСО

Дополнительное улучшение показателей материалоемкости и стоимость этих покрытий связывают с применением комбинированного варианта. Такое покрытие собирается из панелей КСО и тонкостенных преднапряженных цилиндрических пластин-оболочек, укладываемых на верхние грани двух смежных панелей, раздвинутых на расстояние 3 м (рис. 14.10, б).

14.2 Сегментные своды из панелей-оболочек КЖС

Общие положения

14.2.1 Сегментный свод из двух панелей-оболочек КЖС проектируется в виде трехшарнирной системы. Своды могут устанавливаться на продольные конструкции и колонны здания (рис. 14.11) и служить несущей и ограждающей конструкциями покрытия либо устанавливаться непосредственно на фундаменты (рис. 14.12) в случае применения для складов сыпучих материалов и других сооружений. В первом случае свод должен иметь затяжки, которые могут выполняться открытыми стальными или железобетонными с предварительным напряжением. Стрелу подъема свода рекомендуется принимать в пределах от 1/9 до 1/8 его пролета.

Пролеты сводов, опирающихся на колонны и продольные конструкции, принимают равными 24, 36 или 48 м. При опирании на фундаменты пролеты сводов назначаются в зависимости от технологических требований и размеров применяемых панелей-оболочек КЖС, а также от стрелы подъема сооружения и могут достигать 40 - 50 м.

14.2.2 Сегментный свод из трех шарнирно соединенных между собой панелей-оболочек КЖС приведен на рис. 14.13. Свод включает в себя затяжки, соединяющие наружные края свода, и систему гибких связей, образующих пространственную связевую систему, которая в плане имеет форму ромбов (рис. 14.13, б).

1 - панель-оболочка КЖС; 2 - ключевой шарнир свода; 3 - затяжки; 4 - подвески

Рисунок 14.11 - Конструктивная схема сегментного свода для покрытий, опирающегося на продольные балки каркаса здания

1 - панель-оболочка КЖС; 2 - ключевой шарнир; 3 - фундамент

Рисунок 14.12 - Конструктивная схема сегментного свода, опирающегося на фундаменты

Стрелу подъема сводов, очерченных по дуге окружности, рекомендуется принимать равной 1/7 пролета. При этом пролеты сводов, составленных из панелей-оболочек 3´18 м и 3´24 м, равны соответственно 52 и 69 м между осями опорных конструкций.

а - вид сбоку; б - план свода, состоящего по длине из 6 панелей-оболочек КЖС; 1 - опорная конструкция; 2 - панели-оболочки КЖС; 3 - затяжки; 4 - наклонные связи, образующие в плане ромбическую систему связей; 5 - стойки, снабженные напрягающим устройством; 6 - дополнительные стержни, соединяющие нижние углы треугольной решетки; 6¢ - опорная связь треугольной решетки

Рисунок 14.13 - Конструктивная система сегментного свода из трех панелей-оболочек КЖС

Рекомендации по расчету сегментных сводов

14.2.3 Расчеты сводов следует выполнять численными методами с применением ЭВМ с учетом изменений геометрической схемы конструкции в процессе нагружения и к моменту исчерпания его несущей способности. Свод следует проектировать таким образом, чтобы исчерпание его несущей способности начиналось с появления текучести в материале затяжек.

Расчеты сводов выполняются на различные сочетания нагрузок, включающие симметричную и несимметричную снеговые нагрузки, интенсивность которых принимается в соответствии со СНиП 2.01.07 для покрытий сегментного очертания. В расчетах принимается сниженный модуль деформаций бетона в соответствии с п. 5.6 настоящего СП.

14.2.4 Вертикальное перемещение wy (осадку) ключевого узла свода из двух панелей-оболочек КЖС в момент начала текучести затяжек определяют по формуле

                          (14.31)

где At - площадь поперечного сечения стальных затяжек или рабочей арматуры железобетонных затяжек одной секции свода;

sу - средний предел текучести материала стальных затяжек или рабочей арматуры железобетонных затяжек, принимаемый по соответствующим ГОСТам;

α и lk - см. рис. 14.14;

Ry - расчетное сопротивление материала стальных затяжек;

Rs - расчетное сопротивление рабочей арматуры железобетонных затяжек;

Es - модуль упругости материала стальных затяжек или рабочей арматуры железобетонных затяжек;

                                                    (14.32)

                                              (14.33)

где ssp - предварительное напряжение в арматуре железобетонных затяжек до обжатия бетона при gsp = 0,9;

Dssp - потери предварительного напряжения в арматуре затяжек при gsp = 0,9; для открытых стальных затяжек Kt = 1.

1 - панель-оболочка КЖС; 2 - упор затяжки; 3 - закладная деталь с отверстием для шарнира; 4 - ось рабочей арматуры диафрагм; 5 - ось затяжки; 6 - ось опорной конструкции

Рисунок 14.14 - Геометрическая схема трехшарнирного сегментного свода

Для определения осадки ключевого узла свода w при расчетных нагрузках в формулу (14.31) вместо sy подставляют величину расчетных напряжений в стальных затяжках или рабочей арматуры железобетонных затяжек в соответствии с СП 52-101 и СП 53-102.

14.2.5 При расчете сегментного свода из трех панелей-оболочек в пролете при несимметричном нагружении в наклонных стержнях треугольной решетки (4) и в дополнительных стержнях (6) (рис. 14.13) возможно появление небольших по величине сжимающих усилий, что недопустимо. Для их исключения в процессе сборки свода в них с помощью специальных устройств (см. п. 14.29 настоящего СП) создаются предварительные растягивающие усилия, по величине превышающие возможные усилия сжатия, величина которых определяется в процессе расчета свода.

Конструирование сегментных сводов

14.2.6 Сегментные своды во всех случаях проектируют из панелей-оболочек КЖС шириной 3 м. Длину панелей для сводов из двух панелей-оболочек принимают равной 12, 18 и 24 м, а для сегментных сводов из трех панелей-оболочек длиной 18 и 24 м. В каждой секции свода из двух панелей-оболочек КЖС (монтажной секции) должны быть предусмотрены две затяжки. В своде, образованном из трех панелей-оболочек КЖС, внутренняя пространственная система, образованная ромбической системой связей, обеспечивает повышенную жесткость сводчатого покрытия, что позволяет располагать затяжки, воспринимающие распор, в швах каждой второй панели.

14.2.7 Опорный и ключевой узлы свода (рис. 14.15) проектируют по принципу цилиндрического шарнира, расположенного в закладной детали с отверстием, приваренной к рабочей арматуре диафрагм. В узле соединяются закладные детали двух швов: с одной и двумя пластинами, причем суммарная толщина двух крайних пластин одной из деталей равна толщине средней пластины другой детали (сечение 1-1 на рис. 14.15, а). Образование шарнирного соединения двух панелей-оболочек завершается пропуском металлического стержня (шарнира) в совпавшие отверстия пластин двух закладных деталей (рис. 14.15, а). Опорный шарнир образован по типу ключевого, причем у крайних панелей опорная закладная деталь имеет две пластины, между которыми располагается металлическая пластина упора затяжки (рис. 14.15, б, в). Оси затяжки, опорного шарнира и опорной конструкции сцентрированы в опорном узле свода.

Геометрическая схема сегментного свода приведена на рис. 14.14. Схема опорного узла определяется взаимным расположением центра узла (точки С1) и центра пяты свода (точка С2). Линия, соединяющая эти точки, должна лежать на кривой давления свода при равномерно распределенной нагрузке, т.е. тангенс угла наклона этой линии к горизонту должен быть равен

tga0 = 4fc/lc.                                                       (14.34)

14.2.8 Армирование диафрагм и оболочки следует назначать по расчету, но не менее конструктивного минимума, указанного в п. 14.1.20 настоящего СП. Стержни-подвески в вертикальных ребрах жесткости диафрагм следует выполнять двойными, а в вутах сопряжения оболочки с диафрагмами - устанавливать конструктивные сетки 7 (см. рис. 14.5).

14.2.9 В сегментных сводах, состоящих из трех панелей-оболочек КЖС, предварительные растягивающие усилия (см. п. 14.2.5) в стержневых элементах (4) создаются с помощью стоек 5 (см. рис. 14.13), оборудованных напрягающим устройством, позволяющим придавать удлинение стойке.

а - ключевой узел; б - опорный узел с железобетонными предварительно напряженными затяжками; в - опорный узел с затяжками из стального проката; 1 - панель-оболочка КЖС; 2 - опорная конструкция; 3 - закладные детали с отверстием для шарнира; 4 - металлический шарнир; 5 - арматура диафрагм плиты; 6 - затяжки из стального проката; 7 - преднапряженные железобетонные затяжки; 8 - отверстие для строповки свода; 9 - закладная деталь опорной конструкции; 10 - металлический упор затяжки

Рисунок 14.15 - Узлы сегментного свода

Растягивающее напряжение в стержневых элементах 6 создается с помощью различных устройств, простейшим из которых является талреп.

Монтаж сводчатого покрытия рекомендуется вести укрупненными монтажными блоками, состоящими из двух панелей-оболочек КЖС, соединенных по длинной стороне сваркой закладных деталей с установкой наклонных связей 4 - средний блок или наклонных связей 4 и 6¢ - крайние блоки, напрягаемых на сборочном стенде удлинением стойки 5.

14.3 Гиперболические панели-оболочки

Общие положения

14.3.1 Гиперболическая панель-оболочка представляет собой длинную оболочку отрицательной гауссовой кривизны, обрамленную продольными бортами и торцевыми диафрагмами (вертикальными или наклонными) с нижними горизонтальными гранями (рис. 14.16 и 14.17), служащими для опирания панели-оболочки на поддерживающие конструкции. Линейчатая поверхность оболочки позволяет армировать панель прямолинейной предварительно напряженной арматурой.

14.3.2 Панели-оболочки с наклонными торцевыми диафрагмами применяются для покрытий однопролетных и многопролетных зданий, а с вертикальными торцевыми диафрагмами, как правило, только для однопролетных. Панели-оболочки с вертикальными торцевыми диафрагмами рекомендуется применять в покрытиях многопролетных зданий при опирании на широкие балки, что позволяет организовать водоотвод между торцами панелей.

14.3.3 Высоту сечения панели-оболочки в середине пролета рекомендуется принимать в пределах от 1/25 до 1/15 пролета. Стрелу подъема оболочки в продольном направлении рекомендуется принимать в пределах от 1/60 до 1/40 пролета.

Глубину волн f принимают в пределах 1/8 - 1/4 ширины b0, ширину прямолинейных участков сечения - продольных бортов - 1/4 - 1/2 глубины волны f.

14.3.4 Если ширина и глубина волны ограничены, строительную высоту конструкции увеличивают путем введения продольного ребра-киля (см. рис. 14.17 и 14.18). Для облегчения съема панели с формы боковые грани киля следует принимать с уклоном 1:50 - 1:20.

а - с вертикальными торцевыми диафрагмами; б - то же, с наклонными; в - поперечное сечение панели; г - план армирования панели с вертикальными торцевыми диафрагмами; д - то же, с наклонными; 1 - продольный борт; 2 - диафрагма вертикальная; 3 - то же, наклонная; 4 - каркас продольного борта; 5 - предварительно напряженная холоднодеформированная арматура периодического профиля (арматурные канаты); 6 - сварная сетка оболочки; 7 - арматура торцевой диафрагмы; 8 - верхняя сварная сетка у торца панели; 9 - арматурная сетка в наклонной диафрагме

Рисунок 14.16 - Гиперболическая панель-оболочка, армированная пакетами из высокопрочной проволоки

а - общий вид; б - поперечное сечение; в - план армирования; 1 - торцевое ребро; 2 - наклонная торцевая диафрагма; 3 - продольный борт; 4 - киль; 5 - каркас продольного борта; 6 - сварная сетка оболочки; 7 - предварительно напряженная арматура; 8 - арматура торцевого ребра; 9 - верхняя сварная сетка у торца панели; 10 - то же, нижняя; 11 - верхняя сварная сетка над килем

Рисунок 14.17 - Гиперболическая килевая панель-оболочка

а - пролетом 12 м; б, в - то же, 18 м (со сплошным килем и с отверстиями в нем); г - то же, 21 м (со сплошным и облегченным килем и с затяжкой); д - то же, 24 м (с облегченным килем, с отверстиями в нем и с затяжкой)

Рисунок 14.18 - Поперечные сечения гиперболических панелей-оболочек

С целью уменьшения массы большепролетных панелей-оболочек киль рекомендуется выполнять облегченным: с тонкой стенкой и вертикальными ребрами жесткости (см. рис. 14.18, г и д) или с отверстиями (рис. 14.18, в, д). Панели-оболочки с отверстиями в киле или с затяжками целесообразно применять при необходимости прокладки коммуникаций в пределах покрытия.

14.3.5 Бескилевые панели-оболочки рекомендуется армировать предварительно напряженной холоднодеформированной арматурой периодического профиля классов Вр1400 - Вр1500 или арматурными канатами классов К-7, К-19 в виде двух пакетов, расположенных по двум системам прямолинейных образующих (см. рис. 14.16).

В килевых панелях-оболочках предварительно напряженную арматуру располагают в киле, ширину которого рекомендуется принимать достаточной для возможности размещения арматуры (см. рис. 14.17).

Рекомендации по расчету гиперболических панелей-оболочек

14.3.6 Расчет гиперболических панелей-оболочек на действие вертикальных нагрузок рекомендуется производить исходя из предположения о недеформируемости контура поперечного сечения оболочки как балки на двух опорах с криволинейным поперечным сечением. При расчете действительное поперечное сечение оболочки (рис. 14.19, б) заменяют приведенным (рис. 14.19, в) путем проектирования горизонтальных участков оболочки на ось симметрии поперечного сечения. При этом для упрощения фактическое приведенное сечение можно заменить двутавровым (для бескилевых панелей) или крестообразным (для килевых) (рис. 14.19, в, г).

14.3.7 При проверке принятых размеров поперечного сечения панели-оболочки и ее армирования высоту сжатой зоны сечения х определяют методом подбора по поперечному сечению путем разбивки на элементарные площадки (рис. 14.19, б).

14.3.8 Расчет по прочности сечений, наклонных к продольной оси, по образованию и раскрытию трещин и по деформациям рекомендуется производить по расчетному (двутавровому или крестообразному) приведенному сечению согласно требованиям СП 52-101.

14.3.9 В зоне действия максимальных изгибающих моментов и в местах приложения сосредоточенных нагрузок оболочка должна быть проверена на действие усилий поперечного направления, определяемых по формулам (14.35) - (14.37).

а - схема усилий в поперечном сечении изгибаемой волны; б - разбивка на элементарные площадки половины поперечного сечения; в - приведенное поперечное сечение при расчете на изгиб панели-оболочки; г - то же, килевой панели-оболочки; 1 - контур фактического приведенного сечения; 2 - то же, расчетного приведенного сечения

Рисунок 14.19 - Расчетные схемы и поперечное сечение волны покрытия

14.3.10 Усилия М, N, Q в продольном сечении i панели-оболочки (рис. 14.20) определяют соответственно по формулам:

                                          (14.35)

                                               (14.36)

                                               (14.37)

В формулах (14.35) - (14.37):

п - номер элементарной площадки поперечного сечения волны;

DРп - внешняя нагрузка, приходящаяся на элементарную площадку поперечного сечения;

zn - абсцисса n-й элементарной площадки;

zi - абсцисса продольного сечения i оболочки;

gi - угол наклона к оси OZ, касательной к контуру поперечного сечения в точке i;

Dtn = tnDАп - сдвигающее усилие, действующее на элементарную площадку поперечного сечения, где tп - касательное напряжение в элементарной площадке поперечного сечения, определяемое по формуле (14.38).

                                           (14.38)

В формулах (14.35) - (14.37) суммирование распространяется на участок поперечного сечения от точки i до крайней площадки п = та поперечного сечения а-а или до п = тb поперечного сечения б-б,

где DNna и DNnb - нормальные силы от балочного изгибающего момента, действующие на элементарные площадки левого и правого поперечных сечений;

Dх - длина рассматриваемого продольного сечения, принимаемая не более ширины волны;

bia и bib - ширина горизонтальных сечений оболочки в точках i поперечных сечений а-а и б-б.

В формулах (14.35), (14.36) знаки принимаются положительными для Mi, если растянутое волокно расположено снизу условной консоли; для Ni - если в сечении i действует растягивающее усилие.

Нормальные силы DNna и DNnb определяют по формулам:

                                    (14.39)

а - элемент длиной Dх; б - половина поперечного сечения а-а; в - то же, поперечного сечения б-б

Рисунок 14.20 - К расчету на усилия поперечного направления

                                (14.40)

где sna и snb - нормальные напряжения, действующие на элементарные площадки левого и правого поперечных сечений;

Iа, Ib, уа, уb - приведенные моменты инерции и ординаты центров тяжести левого и правого поперечных сечений волны;

DАпа, DАпb, yna, ynb - площади и ординаты центров тяжести элементарных площадок левого и правого поперечных сечений;

Мха, Мхb - продольные балочные изгибающие моменты в левом и правом поперечных сечениях волны. При отсутствии внешней нагрузки на участке Dх

Mxb = Mxa + QxDx,                                                   (14.41)

где Qx - поперечная сила в сечении х.

14.3.11 В многоволновом покрытии горизонтальные усилия Nt, действующие в стыке между волнами, определяют по формуле

                                                            (14.42)

где Мti - изгибающий момент поперечного направления в среднем продольном сечении волны zi = 0;

f - глубина волны.

По усилиям Nt проверяют соединения между смежными волнами и сечения распорок, если их устанавливают для снижения деформативности в крайних волнах.

14.3.12 При действии полосовых и сосредоточенных вертикальных нагрузок, приложенных к гребням волн, необходимо учитывать их распределение между волнами.

Нагрузку, приходящуюся на полуволну k, определяют по формуле

Pk = 0,5akPloc,                                                        (14.43)

где аk - коэффициент, учитывающий отдаленность k-й полуволны от точки приложения нагрузки, определяемый по табл. 14.1;

Рloc - величина местной нагрузки.

14.3.13 Поперечное сечение волны и ее армирование проверяют по усилиям, полученным от суммирования полосовых и сосредоточенных нагрузок, приложенных к смежным волнам. Ввиду симметрии для расчета панели-оболочки следует принимать усилия в наиболее нагруженной полуволне, увеличенные в два раза.

Таблица 14.1

Вид панели-оболочки

Значения аk для полуволн

первой

второй

третьей

четвертой

Гладкая

0,457

0,303

0,162

0,078

Килевая

0,498

0,304

0,142

0,054

Примечания

1. При большем отдалении аk = 0.

2. Данные для килевой оболочки принимаются при условии, что площадь поперечного сечения киля составляет не более 80 % площади поперечного сечения собственно оболочки.

14.3.14 Более точный расчет панелей-оболочек при неравномерных нагрузках с учетом деформаций и расчет крайних волн покрытия могут быть выполнены численными методами с использованием программных комплексов по расчету конструкций с учетом геометрической и физической нелинейности.

14.3.15 Опорные конструкции волнистых покрытий из гиперболических панелей-оболочек рекомендуется рассчитывать с учетом их совместной работы с элементами покрытия. Интенсивность давления волнистого покрытия на опорную конструкцию, работающую по балочной схеме, рекомендуется определять по табл. 14.2 в зависимости от вида нагрузки, действующей на волнистое покрытие, при этом отношение 2b/L должно быть для поз. 1, 2 и 4 в пределах 0,5 - 0,25, для поз. 3 и 5 - 0,33 - 0,25.

Конструирование гиперболических панелей-оболочек и покрытий из них

14.3.16 Минимальную толщину оболочки принимают в соответствии с диаметром арматуры и минимальной толщиной защитного слоя бетона, но не менее 30 мм. В случае необходимости размещения рабочих стержней по низу волны толщину оболочки в этом месте рекомендуется увеличивать путем спрямления верхней кривой поперечного сечения оболочки или утолщения всего сечения.

Минимальную толщину продольных бортов следует принимать в зависимости от диаметра рабочих стержней, расположенных в этих бортах, равной (1,5 - 4)d, где d - толщина оболочки.

14.3.17 Затяжки в панелях-оболочках рекомендуется принимать стальными (из прокатных профилей) или железобетонными, армированными стержневой арматурой, арматурными канатами. Стальные затяжки могут быть открытыми или обетонированными.

Таблица 14.2

№ п.п.

Схема нагрузки на ячейку покрытия

Расчетная схема эквивалентной нагрузки на опорную конструкцию1

1

2

3

4

5

1 Равномерно распределенную нагрузку на покрытие от собственного веса панелей-оболочек до замоноличивания швов между оболочками рекомендуется принимать в расчете равномерно распределенной на опорную конструкцию по всей ее длине.

14.3.18 Оболочки рекомендуется армировать сварными сетками из обыкновенной холоднодеформированной проволоки, продольные борта и киль - сварными каркасами и отдельными стержнями, а торцевые диафрагмы - сварными сетками, каркасами и отдельными стержнями.

В наклонных диафрагмах для восприятия главных растягивающих напряжений следует предусматривать дополнительное армирование сварными сетками (см. рис. 14.16, д и 14.17, в).

14.3.19 В бескилевых панелях-оболочках и в оболочках с затяжками рекомендуется предусматривать четыре подъемные петли в торцевых диафрагмах, а в килевых, кроме того, - две петли в киле на расстоянии 2,5 - 3 м от опор.

14.3.20 В продольных бортах рекомендуется предусматривать расположенные с шагом 1,2 - 3 м закладные детали для соединения панелей. При необходимости в крайних панелях (у торцов здания и у температурных швов) к этим деталям рекомендуется приваривать стальные поперечные распорки из уголка или трубы. Необходимость установки таких распорок устанавливается расчетом на действие усилий поперечного направления.

14.3.21 Утепленную или холодную кровлю следует проектировать с утеплителем и гидроизоляционным ковром, укладываемыми непосредственно по криволинейной поверхности железобетонного волнистого покрытия.

Панели-оболочки полной заводской готовности рекомендуется проектировать с эффективным утеплителем и гидроизоляционным слоем, нанесенными механизированным способом.

14.3.22 В волнистых покрытиях можно предусматривать проемы для освещения, аэрации, коммуникаций и т.п. при соблюдении рекомендаций п. 6.5 настоящего СП. Ширину проема рекомендуется принимать не более 0,4 ширины панели. При этом необходимо сохранять участки поперечного сечения по низу и на гребнях волн панели, в которых размещается рабочая арматура. При необходимости значительного увеличения ширины отверстия, превышающего указанный размер, проем рекомендуется устраивать на всю ширину волны, предусматривая рамное обрамление, равнопрочное сечению волны.

14.3.23 В местах примыкания волнистых покрытий к торцевым стенам необходимо предусматривать соединения, не препятствующие вертикальным перемещениям конструкций покрытия.

15 Вспарушенные панели с плоской верхней поверхностью

Основные положения

15.1 Вспарушенные панели с плоской верхней поверхностью являются пространственными элементами покрытий и перекрытий. Они имеют переменную толщину, увеличивающуюся к контуру, и выпуклую срединную поверхность, описанную на плоском контуре (рис. 15.1). В случае ступенчатого изменения толщины панели называются ступенчато-вспарушенными (рис. 15.2).

Прямоугольные вспарушенные панели заводского изготовления проектируются длиной l1 £ 7 м, шириной l2 £ 3,6 м и с отношением сторон l1/l2 £ 2. При больших пролетах или полигональном плане перекрываемого помещения применяют сборные вспарушенные конструкции. При этом размеры таких конструкций рекомендуется принимать не более: по длине l1 = 12 м; по ширине l2 = 9 м.

15.2 Вспарушенные панели могут проектироваться как для однопролетных (разрезных), так и многопролетных (неразрезных) покрытий и перекрытий, а также в качестве средних распорных элементов сборных безбалочных перекрытий (рис. 15.3).

Вспарушенные панели и конструкции могут опираться по углам, по контуру, по трем или по двум противоположным сторонам.

1 - арматурная сетка; 2 - дополнительные сетки в углах панели; 3 - предварительно напряженный арматурный пояс

Рисунок 15.1 - Схема вспарушенной панели

Рисунок 15.2 - Поперечное сечение и построение нижней поверхности ступенчато-вспарушенной панели

1 - колонна; 2- надколонные плиты; 3 - вспарушенные панели

Рисунок 15.3 - Применение вспарушенных панелей в сборных безбалочных перекрытиях

15.3 Панели и конструкции с плоской верхней поверхностью применяют в сборных покрытиях и перекрытиях зданий и сооружений, для которых расчетной является равномерно распределенная (или близкая к ней) нагрузка.

15.4 Вспарушенные панели и конструкции, как правило, проектируют с предварительно напряженным армированием по контуру.

15.5 Шатровые панели с плоской плитой постоянной толщины с ребрами по контуру работают как пространственные панели и применяются в перекрытиях жилых и общественных зданий.

15.6 Нижнюю поверхность прямоугольных вспарушенных панелей рекомендуется очерчивать по поверхности положительной гауссовой кривизны, заданной уравнением

                                        (15.1)

где f - стрела подъема поверхности в центре панели по отношению к плоскому контуру;

l1 и l2 - размеры сторон контура (по осям бортовых ребер);

х, у - текущие координаты (рис. 15.1, 15.2);

С - параметр, изменяющийся от 0,3 до 0,5 (рекомендуется принимать С = 0,45).

Рекомендации по расчету

15.7 Расчет вспарушенных панелей производится по предельным состояниям согласно требованиям СНиП 52-01 и рекомендациям раздела 4.2 настоящего СП. При этом несущая способность и сечения основной арматуры пояса определяют методом предельного равновесия.

15.8 Для прямоугольных вспарушенных и ступенчато-вспарушенных панелей (рис. 15.1, 15.2), опертых по контуру, распор Я допускается определять, используя шатровую схему излома (рис. 16.3, б), по формуле

                                             (15.2)

а площадь сечения арматуры предварительно напряженного пояса As - по формуле

                                                            (15.3)

В формулах (15.2) и (15.3):

fp = h0 - ds/4 - расчетный подъем панели (рис. 15.2);

l1, l2 - расчетные размеры панели (расстояние между осями опорных площадок);

Rs - расчетное сопротивление предварительно напряженной арматуры пояса;

gd - коэффициент, принимаемый равным 1; для плит с отношением длины сторон от 1,7 до 2 или при h0/l2 £ 1/25 gd = 0,8, а для крайних панелей покрытий или перекрытий, для которых не выполняются рекомендации п. 15.20 настоящего СП, gd = 0,7.

Для полигональных вспарушенных панелей (рис. 15.5, в), у которых центральная панель имеет незначительные размеры или отсутствует, т.е. 0 < r1 < r/4, площадь сечения арматуры предварительно напряженного пояса As определяется по формуле

                                                    (15.4)

где r1 - радиус круга, вписанного в контур центральной панели;

r - радиус круга, вписанного в полигональный контур;

a = 2p/n, где п > 4 - число сторон полигонального контура.

Несущую способность панели по сжимающим усилиям в плите допускается проверять как для вспарушенной панели с несмещаемым контуром (см. п. 15.9 настоящего СП).

15.9 Для вспарушенных и ступенчато-вспарушенных панелей с несмещаемым контуром предельная нагрузка q или толщина плиты d5 может быть определена по формуле

                                                  (15.5)

В этом случае расчетный подъем панели fd определяют с учетом неупругих деформаций сжатого бетона по формуле

                                       (15.6)

где dm - средняя толщина вспарушенной или ступенчато-вспарушенной панели;

Еb1 - сниженный модуль упругости для непродолжительного действия нагрузки, определяемый формулой (5.2).

При продолжительном действии нагрузок Еb1 заменяется Eb,t по формуле (5.1).

15.10* Для панелей, опертых по двум сторонам или по углам, кроме расчета по шатровой схеме, приведенного в п. 15.8 настоящего СП, следует производить расчет панели в одном или при l1 ¹ l2 соответственно в двух направлениях по балочной схеме излома как балки П-образного сечения (рис. 16.3, а).

15.11 Определение прогиба поля ступенчато-вспарушенной панели w1 производится приближенно как для железобетонной конструкции, опертой по контуру, без трещин в растянутой зоне, по формуле

                               (15.7)

где ps и рl - соответственно кратковременно и длительно действующая на перекрытие нагрузки.

Поскольку в составе перекрытия панели опираются по углам, к величине прогиба плит w1 добавляют величины прогиба ребер w2, вычисляемые как для балок Г-образного сечения, и вычитают величину выгиба ребра от обжатия напрягаемой арматурой пояса.

15.12 Расчет шатровых панелей с ребрами по контуру и плоскими плитами постоянной толщины по несущей способности производится по методу предельного равновесия с использованием конвертной и балочной схем излома.

15.13 Расчет сборных предварительно напряженных вспарушенных конструкций по предельным состояниям должен выполняться на усилия, возникающие до и после замоноличивания стыков согласно рекомендациям п. 4.2 настоящего СП.

15.14 Для предварительно напряженных панелей, опертых по контуру, удовлетворяющих требованиям пп. 15.1, 15.17, 15.20 настоящего СП, проверку трещиностойкости допускается не производить. Проверка трещиностойкости панелей, опертых по двум сторонам или по углам, производится как для балочных элементов П-образного сечения соответственно в одном или в двух направлениях.

Конструирование

15.15 Нижнюю поверхность ступенчато-вспарушенных панелей проектируют таким образом, чтобы в направлении осей х и у она была очерчена дугами поверхности (рис. 15.1), пересечения которых с внутренними гранями контурных ребер лежали бы в плоскости осей арматурного пояса опорного контура (рис. 15.2). В качестве описывающих дуг в зависимости от технологических и архитектурных соображений допускается принимать квадратную параболу или дугу круга со стрелой подъема f. Количество ступеней, как правило, принимается от 2 до 5.

15.16 Вспарушенные и ступенчато-вспарушенные панели могут проектироваться с одним или несколькими кессонами. При l1/l2 > 1,7 панели конструируются с двумя или тремя кессонами, окаймленными ребрами, при этом вспарушенные плиты смежных кессонов проектируют как неразрезные (рис. 15.4).

а - ступенчато-вспарушенная панель с одним кессоном; б - ступенчато-вспарушенная панель с двумя кессонами; в - вспарушенная панель; 1 - основная растянутая арматура пояса; 2 - каркас поперечного армирования контурного ребра; 3 - сетка плиты

Рисунок 15.4 - Конструктивные схемы вспарушенных панелей

15.17 Плиту панелей армируют сварной сеткой из проволоки диаметром 3 - 4 мм с ячейкой размером 200´200 мм и по углам на участках l1/6 и l2/6 дополнительной сеткой из стержней того же диаметра, располагаемой под основной сеткой, и проектируют из бетона класса 25 и выше.

В плите допускается предусматривать отверстия и проемы. Конструирование и армирование плиты в зоне отверстий должны удовлетворять требованиям п. 6.5 настоящего СП.

15.18 Контурные ребра панелей армируют предварительно напряженными стержнями или канатами таким образом, чтобы создавался замкнутый арматурный пояс. Заанкеривание стержней в опорной зоне предусматривается с применением приварки их к стальным опорным колодкам анкерных устройств и за счет сцепления с бетоном согласно требованиям СП 52-102. В том случае, если стержни или канаты проектируются без анкеров, рекомендуется доводить арматурные элементы до наружной грани противоположной стороны панели.

Преднапряжение может быть предусмотрено по способу натяжения арматуры на бетон в процессе монтажа элементов с последующим обетонированием или с натяжением на упоры в заводских условиях (в пределах контурных ребер сборных элементов) с последующим устройством стыков пояса, перекрывающих швы между элементами.

С целью компенсации возможных неупругих деформаций для сборных вспарушенных конструкций следует предусматривать строительный подъем fс ³ fp/5, но не менее 20 мм.

15.19 В контурных ребрах кроме основной растянутой арматуры (арматурного пояса) следует предусматривать поперечную арматуру (рис. 15.4). В ребрах, опертых по всей длине, устанавливают одиночные арматурные каркасы, располагаемые по возможности ближе к наружной грани ребра. При этом около углов каркасы должны иметь поперечные стержни диаметром 4 - 6 мм с шагом не более 50 мм и нижние стержни диаметром не менее 6 - 8 мм. В контурных ребрах, испытывающих изгиб в вертикальной и горизонтальной плоскостях, около углов на участках l1/6 и l2/6 предусматривают дополнительные арматурные каркасы вблизи внутренней грани ребра из стержней того же сечения и в том же количестве, что и у наружной грани ребра при опирании ребер по всей длине.

15.20 Основные размеры элементов в средней части вспарушенных и ступенчато-вспарушенных панелей рекомендуется принимать не менее: толщину плиты df - 30 мм, ширину контурных ребер - 100 мм, ширину промежуточных ребер между кессонами панелей - 50 мм. Высоту контурных ребер панелей перекрытий назначают не более удвоенной высоты сечения примыкающей к ребру плиты и не менее высоты, необходимой по расчету панели по балочной схеме излома.

В контурных ребрах на длинных сторонах l1 панелей, расположенных по краю здания или сооружения, рекомендуется предусматривать горизонтальные полки у нижней грани ребра, увеличение ширины или соответствующего армирования ребра для уменьшения податливости крайних ребер в горизонтальной плоскости. С этой же целью в крайних панелях возможно предусмотреть увеличение толщины или армирования плиты, а также соответствующие связи между панелью и другими несущими конструкциями здания или сооружения.

15.21 Вспарушенные панели размером не более 4´6 м для безбалочных перекрытий (рис. 15.3) допускается проектировать без предварительно напряженного арматурного пояса с тщательным замоноличиванием стыка по контуру, предусматривая передачу распорных усилий на надколонные полосы. При этом ребра панели армируют с учетом усилий, действующих в стадиях изготовления, перевозки и монтажа. Толщину вспарушенной плиты в середине таких панелей перекрытий производственных зданий принимают по расчету на продавливание согласно п. 6.2.46 СП 52-101, но не менее dп = 40 мм.

Очертание нижней поверхности панели должно удовлетворять рекомендациям пп. 15.6, 15.15 настоящего СП.

15.22 Сборные вспарушенные конструкции на прямоугольном плане рекомендуется конструировать так, чтобы стыки между монтажными элементами располагались по возможности вдоль линий излома расчетной шатровой схемы разрушения. При этом конструкции допускается проектировать:

при l2 < 7,2 м - из четырех треугольных элементов (рис. 15.5, а);

при l2 ³ 7,2 м - из четырех трапециевидных и одного прямоугольного элемента (рис. 15.5, б);

на полигональном плане - из треугольных или трапециевидных панелей (рис. 15.5, в).

Монтажные элементы конструкций проектируют с окаймляющими, а в случае необходимости и с промежуточными ребрами и плитой переменной толщины согласно рекомендациям пп. 15.15 и 15.18 настоящего СП. Стыки между сборными элементами, совпадающие с расчетными линиями излома, допускается конструировать как цилиндрические шарниры.

а - на прямоугольном плане из треугольных элементов; б - на прямоугольном плане из прямоугольного и трапециевидных элементов; в - на полигональном контуре; 1 - сборные панели; 2 - арматурный пояс

Рисунок 15.5 - Схемы сборных вспарушенных конструкций

15.23 Ширину опорных площадок при опирании по контуру или по двум сторонам рекомендуется принимать не менее 50 мм, а опорные поверхности панелей, опирающихся по углам, размером не менее 70´70 мм (при опирании на металлические закладные детали) и размером не менее 100´100 мм (при опирании на бетонные поверхности).

15.24 В многопролетных покрытиях и перекрытиях из вспарушенных панелей или конструкций замоноличивание стыков и сварные соединения между ними предусматривают по конструктивным соображениям или из расчета покрытия или перекрытия как элемента здания в целом на горизонтальные нагрузки. В случае необходимости по контуру панелей предусматривают шпонки, образуемые бетоном замоноличивания стыка.

Возможно устройство предварительно напряженного пояса на всю длину или ширину перекрытия по осям опор в швах между смежными пролетами. Пример решения такого сборного покрытия для ячейки размером 7,2´7,2 м приведен на рис. 15.6.

Стыки между конструкциями смежных пролетов должны удовлетворять конструктивным и расчетным требованиям п. 6.4 настоящего СП.

16 Шатровые конструкции

Основные положения

16.1 Шатровые конструкции для покрытий или междуэтажных перекрытий зданий различного назначения выполняются в виде тонкостенных складок и пространственных плитно-стержневых систем (рамно-шатровые конструкции). Отличительным признаком шатровых конструкций является форма несущей конструкции в виде многогранника на плоском полигональном (как правило, прямоугольном) контуре. Многогранник имеет форму полной или усеченной пирамиды. В последнем случае в центральной части плана конструкции имеется горизонтальная грань, называемая средним диском (рис. 16.1, а).

Шатровые тонкостенные складчатые конструкции (шатровые оболочки) образованы тонкостенными плоскими или ребристыми плитами в форме горизонтальной и наклонных (боковых) граней шатра.

Шатровые конструкции могут проектироваться как многопролетными (или многоволновыми), так и однопролетными (отдельно стоящими) с опиранием по углам на колонны, по нескольким сторонам или по контуру (рис. 16.1).

1 - контурный элемент; 2 - центральная плита; 3 - колонна с отверстиями для пропуска напрягаемой арматуры; 4 - замоноличиваемые пазы; 5 - напрягаемая арматура; 6 - стальная пластина для сварного соединения сборных элементов; в сечении А-А; 5а и 5b - положение верхней арматуры соответственно в опорном сечении и в средней части пролета

Рисунок 15.6 - Вспарушенное перекрытие с натяжением арматуры на бетон

а - с вертикальными бортовыми элементами; б - гладкие с капителью и надколонной полосой; в - из ребристых плит

Рисунок 16.1 - Схемы шатровых складок покрытий и перекрытий

Железобетонные шатры могут выполняться сборными, сборно-монолитными или монолитными, а также комбинированными, сталежелезобетонными, например, из тонких железобетонных пластин на стальном решетчатом каркасе.

Пространственная работа конструкций шатрового типа определяется наличием усилий распора. Восприятие усилий распора конструктивно решается устройством замкнутого контура из бортовых элементов по периметру шатра, в которых размещается основная арматура (затяжка) шатра. Величина распора определяется величиной действующих нагрузок и соотношением основных геометрических размеров конструкции, к которым относятся размеры плана шатра в осях контурных элементов, габариты среднего диска и стрела подъема шатра.

Стрелой подъема шатра является превышение уровня срединной поверхности среднего диска над уровнем пояса затяжки шатра. Необходимая величина стрелы подъема шатра определяет строительную высоту конструкции и пологость наклонных граней шатра, в связи с чем при конструировании предварительно строительную высоту шатровых конструкции рекомендуется назначать в пределах 1/8 - 1/12 перекрываемого пролета.

Основной несущей конструкцией рамно-шатровых конструкций является пространственная шатровая рама. Продольные оси элементов шатровой рамы расположены вдоль диагональных ребер.

Диагональные рамы сборных рамно-шатровых конструкций в зависимости от величины перекрываемого пролета, строительной высоты перекрытия и уровня действующих нагрузок могут быть выполнены в виде отдельных сборных элементов - рам с подкосами (рис. 16.2, а) или в составе плит в виде ребер переменной высоты, увеличивающейся от высоты контура среднего диска до высоты бортового элемента в угловых зонах (рис. 16.2, б).

16.2 Шатровые конструкции предназначаются для покрытий и перекрытий, как правило, квадратных или прямоугольных (с отношением сторон l1/l2 < 2) ячеек зданий с укрупненным шагом колонн или стен. Известны примеры шатровых покрытий зданий с треугольной сеткой колонн, а также шести- и восьмиугольных в плане шатровых покрытий зальных помещений.

а - для нагрузки до 30 кН/м2; б - для нагрузки до 10 кН/м2;

1, 2 - колонны с капителями; 3 - бортовые элементы; 4 - диагональные рамы; 5, 6 - плиты настила; 7 - диагональные ребра плит переменной высоты

Рисунок 16.2 - Сборные рамно-шатровые перекрытия

Шатровые складки в плане рекомендуется принимать размерами:

- для покрытий: железобетонные - от 12´12 до 18´18 м, комбинированные сталежелезобетонные - до 24´24 м;

- для перекрытий - от 6´6 до 12´12 м.

Рамно-шатровые конструкции покрытий и перекрытий в зависимости от величины действующих нагрузок рекомендуется принимать в плане размерами от 6´6 до 18´18 м.

В шатровых конструкциях могут быть предусмотрены проемы для пропуска коммуникаций, для световых и аэрационных фонарей, а также крепежные приспособления для восприятия сосредоточенных нагрузок от подвесного транспорта, коммуникаций и т.п., которые следует располагать, как правило, в узлах сопряжения ребер.

Рекомендации по расчету

16.3 Расчет шатровых конструкций выполняется по предельным состояниям как для тонкостенной пространственной конструкции в соответствии с рекомендациями п. 4.2 настоящего СП.

Предварительные расчеты и расчет по несущей способности шатровых конструкций производятся методом предельного равновесия согласно рекомендациям пп. 16.5 - 16.10 настоящего СП.

Для шатровых складок с отношением стрелы подъема к пролету f/l ³ 1/10 (рис. 16.3) расчет по деформациям шатра в целом допускается не производить.

16.4 Расчет по несущей способности конструкций шатрового типа производится приближенно на основе:

а) расчета шатра в целом для определения основной растянутой арматуры поясов и нормальных усилий в шарнирно соединяемых гранях складок или элементах диагональных рам;

б) определения изгибающих моментов:

- в гранях шатровой складки как в плитах, в предположении, что ребра шатра являются их опорами;

- в диагональных рамах рамно-шатровых конструкций с учетом горизонтального усилия распора шатра в опорных узлах;

- в плитах настила при опирании их на несущие элементы конструкции.

16.5 Расчет отдельно стоящей шатровой конструкции в целом для определения усилий в поясе производят методом предельного равновесия исходя из возможных схем излома конструкции при основной равномерно распределенной нагрузке:

- при опирании шатра на подвижные опоры по углам - по двум балочным схемам, принимая схемы излома шатра по плоскостям zOx и zOy (рис. 16.3, а), и шатровой схеме (в результате разделения шатра на 5 дисков) (рис. 16.3, б);

- при опирании шатра по двум противоположным сторонам - по балочной схеме с изломом в середине пролета (рис. 16.3, а) и по шатровой схеме (рис. 16.3, б);

- при опирании по всему контуру - по шатровой схеме (рис. 16.3, б).

Расчет по шатровой схеме возможно производить и при несимметричных нагружениях.

Для многопролетных шатровых перекрытий, опираемых на колонны, основную арматуру допускается подбирать как для отдельных разрезных шатровых конструкций из расчета шатра в целом по балочным схемам (рис. 16.3, а) и при опирании на стены - по шатровой схеме (рис. 16.3, б) исходя из предположения шарнирного соединения шатров между собой.

16.6 Расчет граней шатровой складки как плит производят в соответствии с условиями их опирания при допущении, что плиты наклонных граней работают только в одном направлении, перпендикулярном горизонтальным ребрам, а верхняя горизонтальная плита - в двух направлениях, как плита, опертая по контуру.

Расчет плит производят на изгиб с учетом их сжатия усилием, центрально передающимся от грани к грани через цилиндрические шарниры в горизонтальных ребрах и определяемым по шатровой схеме (рис. 16.3, б). При этом в наклонных гранях, опирающихся по углам отдельно стоящих шатров, распределение нормальных усилий Nx и Ny по высоте принимают по треугольнику с вершиной около верхнего ребра, а в опертых по всей длине и в смежных гранях многопролетных шатровых складок - равномерным.

В случае укладки в сборных шатрах перпендикулярно ребрам арматуры, соединяющей отдельные грани и воспринимающей опорный изгибающий момент, плиты могут рассматриваться как неразрезные.

а - с изломом посредине пролета (балочная схема); б - с разделением на 5 дисков (шатровая схема излома);

1 - боковые грани; 2 - основная арматура пояса; Н1 и Н2 - усилия в поясе

Рисунок 16.3 - Схемы разрушения шатровых складок

Расчет изгибающих моментов как в неразрезных плитах допускается производить для средней полосы. При этом для расчета плиты средней грани учитывается только часть полной расчетной нагрузки q:q1 = hq, приходящейся на полосу направления l1 и q1 = (1 - h)q, приходящейся на полосу направления l2 (здесь h - коэффициент распределения нагрузки в направлении l1 и l2:h = 0,5 при l1 = l2; h = 0 при l1 = 2l2; при l1 < 2l2 определяется приближенно по интерполяции).

16.7 Расчет шатровых конструкций в целом по балочным схемам излома (рис. 16.3, а) производится в направлениях х и у на полную равномерно распределенную расчетную нагрузку интенсивностью q (или приведенную к ней нагрузку из условия равенства моментов как в простой балке).

Основная растянутая арматура шатра Asx и Аsy в серединах пролетов х и у определяется по формуле

                                             (16.1)

где с1, с2 - ширина надколонной капители или стороны сечения колонны соответственно в направлениях l1 и l2 (рис. 16.1);

fp1, fp2 - расчетные подъемы шатра, определяемые как расстояния между равнодействующими в арматуре бортовых элементов по направлениям х и у и срединной плоскостью горизонтальной грани.

При этом должно удовлетворяться условие

RsAs1(2) £ RbAb1(2)/2,                                                 (16.2)

где Ab1, Аb2 - площади бетона в поперечных сечениях горизонтальной грани шатровой складки или в поле плит на половине пролета рамно-шатровой конструкции соответственно по плоскостям z0x и z0y.

Размещение основной арматуры в элементах шатровой конструкции рекомендуется принимать в соответствии с рекомендациями п. 16.16.

16.8 Расчет по шатровой схеме при опирании шатровой конструкции по всему контуру производится для определения усилия Нс (углового распора), воспринимаемого арматурой пояса (и наклонных граней в случае шатровой складки), в диагональном сечении а-а одного из углов (рис. 16.3, б) по формуле

             (16.3)

где q1 - интенсивность равномерно распределенной нагрузки на горизонтальной грани;

q2 - интенсивность равномерно распределенной нагрузки, отнесенной к горизонтальной проекции наклонных граней;

, , ,  - размеры шатровой складки, приведенные на рис. 16.1;

fpc - расчетный подъем складки, определяемый как расстояние между срединной плоскостью плиты горизонтальной грани и горизонтально направленной равнодействующей растягивающих усилий в арматуре пояса и граней, пересекающей диагональное сечение а-а (рис. 16.3, б).

Проверка количества арматуры в диагональном сечении складки производится из условия

                                                      (16.4)

где Rsi, Asi - соответственно расчетное сопротивление и проекция площади сечения i-го стержня арматуры, пересекающего диагональное сечение, на вертикальную плоскость.

Положение равнодействующей усилий в арматуре (расчетный подъем складки fpc) определяется по формуле

                                                    (16.5)

где xi - расстояние от срединной плоскости горизонтальной грани до оси i-го стержня, пересекающего диагональное сечение а-a (рис. 16.3, б).

Для квадратной шатровой складки при q1 = q2 = q формула (16.3) примет более простой вид

                                                  (16.6)

Сечение растянутой арматуры во всех вертикальных промежуточных сечениях бортовых элементов и наклонных гранях шатровых складок, опертых по контуру, должно быть не менее сечения угловой арматуры.

При опирании шатровой конструкции по двум противоположным сторонам сечение основной растянутой арматуры рекомендуется определять по балочной схеме излома по формулам (16.1), (16.2), а сечение арматуры в направлении, перпендикулярном пролету, по величине углового распора, определяемого по формулам (16.3) - (16.6), с учетом рекомендаций пп. 16.7 и 16.8.

В общем случае расчет несущей способности шатровых конструкций может быть выполнен кинематическим методом предельного равновесия с использованием девятидисковой схемы излома, включающей восьмиугольный центральный диск и образованные исходящими из углов центрального диска линейными пластическими шарнирами четыре угловых и четыре пролетных диска (рис. 16.4).

Несущая способность конструкции в зависимости от ее геометрии, схемы нагружения и прочностных характеристик элементов конструкции находится из условия равенства работ внешних и внутренних сил и определяется минимумом предельной нагрузки при варьировании трех независимых геометрических параметров, определяющих форму схемы излома (размеры сторон центрального диска, расстояние от угла шатра до ближайшего пластического шарнира на бортовом элементе). При этом балочная и шатровая схемы являются частными случаями общей девятизвенной схемы.

При расчете сборных шатровых конструкций методом предельного равновесия следует учитывать возможность реализации схем излома, включающих, наряду с линейными пластическими шарнирами, конструктивные шарниры по швам сопряжения сборных элементов. Если в этих схемах несущая способность конструкции оказывается ниже требуемой, повысить несущую способность можно установкой и учетом в расчете связей, препятствующих раскрытию конструктивных шарниров (например, стальных пластин, соединяющих закладные детали смежных сборных элементов).

16.9 Крайний бортовой элемент шатровой складки следует проверять на изгиб в плоскости, проходящей через его ось и перпендикулярной к примыкающей к нему грани. При этом ребро (пролетом l1 или l2) следует рассматривать совместно с примыкающими полкой и гранью как при расчете железобетонных тавровых сечений. Нагрузкой на бортовой элемент в этом случае является проекция опорной реакции R из расчета неразрезной плиты на нормаль к грани (рис. 16.5).

16.10 Угловые зоны шатровых конструкций в месте опирания на капители или колонны должны быть проверены на прочность при действии в них усилия

N = V sinjd + H cosjd,                                              (16.7)

где V - вертикальная опорная реакция от нагрузки на шатре;

Н - распор шатра или шатровой рамы в диагональном направлении от нагрузки на шатре;

jd - угол наклона диагонального ребра шатровой складки или подкоса шатровой рамы к горизонту.

Рисунок 16.4 - Девятизвенная схема излома

Рисунок 16.5 - Расчетная плоскость изгиба крайних элементов шатровых складок

Для квадратной в плане шатровой конструкции:

                                                      (16.8)

                                                 (16.9)

(16.10)

В формулах (16.8) - (16.10):

q - полная расчетная нагрузка;

l0 -длина пролета внешнего контура шатра;

l1 - длина пролета внутреннего контура (при его наличии в рамно-шатровой конструкции);

l2 - длина пролета среднего диска;

f - стрела подъема шатровой складки или рамы.

При отсутствии внутреннего контура в рамно-шатровой конструкции и для шатровой складки общая формула (16.10) приобретает вид

                                        (16.11)

На прочность проверяются: в шатровой складке - минимальное опорное сечение бетона в плоскости, перпендикулярной ребру, размером, равным стороне капители или колонны; в рамно-шатровой конструкции - сечение опорного подкоса или нижняя по высоте половина опорного сечения диагонального ребра. При этом в расчетном поперечном сечении учитывается продольная арматура.

Для повышения прочности опорного сечения шатра целесообразно применять косвенное армирование.

16.11 При проектировании колонн, поддерживающих неразрезные шатровые складки, следует учитывать возможный изгибающий момент за счет эксцентриситета приложения реакции от шатрового покрытия к верху колонн в процессе монтажа и при эксплуатации.

Конструирование

16.12 Монолитные шатровые складки проектируют преимущественно с гладкими гранями без подкрепляющих ребер (рис. 16.1, б). Очертание нижней поверхности шатрового покрытия ячейки зданий выбирается с учетом возможности применения многооборачиваемой переставной укрупненной опалубки. Наклон боковых граней рекомендуется принимать не более 60°, а при бетонировании в односторонней опалубке - не более 35°. Толщина плиты граней назначается согласно рекомендациям п. 6.1 настоящего СП, но не менее 1/50 поперечного размера граней. В местах сопряжения граней рекомендуется предусматривать вуты.

16.13 Сборные шатровые конструкции, как правило, проектируют из ребристых плит (рис. 16.1, в, 16.6), аналогичных плоским плитам обычных покрытий и перекрытий. Плиты рекомендуется назначать размерами не более 3,6 м по ширине и 12 м по длине. Стыки между сборными элементами шатровых конструкций следует выполнять в соответствии с рекомендациями п. 6.4 настоящего СП.

16.14 Бортовые элементы монолитных шатровых складок рекомендуется проектировать плитными шириной не менее 0,5 м (рис. 16.1, б) или П-образного сечения с ребрами, направленными вниз, которые позволяют уменьшить высоту подъема шатра и легче разместить основную растянутую арматуру складки. Бортовые элементы сборных шатровых складок рекомендуется предусматривать в виде ребер, выступающих вниз (рис. 16.1, а, 16.7, а, 16.8, б), или двутавровых элементов, выступающих вверх с уложенными по ним плитами (рис. 16.6, 16.7, б), создающими плоскую поверхность перекрытия или покрытия, и опиранием наклонных граней шатра на их нижнюю полку. Бортовые элементы сборных рамно-шатровых конструкций рекомендуется в зависимости от уровня расчетных нагрузок выполнять в виде отдельных балочных элементов или ферм с параллельными поясами (рис. 16.6, 16.2, а), или в виде увеличенных по высоте ребер контурных плит (рис. 16.2, б).

Рисунок 16.6 - Ячейка сборного шатрового перекрытия под тяжелые нагрузки

Наклонные грани сборных и монолитных складок, опирающихся по краю здания на стены, следует конструировать как горизонтально развитые плиты (рис. 16.7, в), а при опирании в пролете на колонны, кроме того, рекомендуется предусматривать вертикальное ребро (рис. 16.7, г).

Наиболее напряженные угловые зоны шатровых складок и рамно-шатровых конструкций, в которых сопрягаются несущие элементы разных направлений, при пролетах 12 м и более целесообразно выполнять единым сборным элементом - угловым блоком (рис. 16.6).

При конструировании шатровых конструкций следует стремиться к уменьшению эксцентриситета между продольной осью ребра на пересечении наклонных граней шатровой складки или диагонального элемента рамно-шатровой конструкции (подкоса или ребра) и угловой точкой арматурного контура шатра.

Ребра жесткости, подкрепляющие поле сборных плит и рамно-шатровых элементов, могут быть выполнены постоянной (рис. 16.7, а, б, 16.8, б) или переменной высоты (рис. 16.2, б).

Рекомендуется предусматривать строительный подъем величиной 1/250 - 1/120 пролета:

а - П-образных; б - двутавровых с плитами поверху; в - крайних; г - при опирании на колонны

Рисунок 16.7 - Схемы бортовых элементов

а - из шатровых элементов размером па ячейку здания; б - из унифицированных элементов с использованием сборочного кондуктора

Рисунок 16.8 - Схемы сборных шатровых конструкций

- для рамно-шатровых конструкций пролетом 12 м и более: центра ячейки относительно середин пролетов бортовых элементов;

- для шатровых складок: центра среднего диска относительно середин пролетов его контура.

16.15 При конструировании элементов сборных шатровых перекрытий и покрытий следует учитывать способ их монтажа:

целиком, при этом размеры шатровой конструкции в плане после укрупнительной сборки должны соответствовать размерам перекрываемой ячейки здания (рис. 16.8, а);

сборка из унифицированных плит прямоугольной, трапециевидной и треугольной формы, диагональных рам, угловых блоков и бортовых балок (при наличии таких элементов в принятом конструктивном решении шатровой конструкции) с использованием сборочных кондукторов (рис. 16.8, б) или с последовательным опиранием элементов на ранее смонтированные (бескондукторный монтаж), возможность которого рекомендуется обеспечивать специальной конфигурацией поперечного сечения контурных ребер сборных элементов (рис. 16.7, а, б) или устройством монтажных столиков на закладных деталях ребер.

С целью упрощения подмостей для сборки шатрового покрытия при шаге колонн или пролете 18 м и более вдоль стыков плоских плит допускается предусматривать дополнительные железобетонные или металлические ребра, надежно соединяемые с плитами с помощью выпусков, упоров, шпонок и замоноличивания, согласно рекомендациям пп. 6.4 настоящего СП.

В сборных элементах рекомендуется предусматривать закладные металлические детали для монтажа с применением сварных монтажных стыков. Монтажные стыки конструируются как расчетные, если шатровые конструкции монтируются целиком или укрупненными элементами с незамоноличенными стыками. При замоноличиваемых стыках сборные элементы допускается проектировать с выпусками арматуры.

16.16 Шатровые конструкции рекомендуется армировать:

в плитах - сварными сетками;

в ребрах сборных и монолитных элементов - сварными каркасами;

в надколонных ребрах и плитах - сварными сетками, каркасами и предварительно напряженной арматурой.

Основная растянутая арматура, располагаемая в бортовых элементах, должна быть доведена до опор и надежно заанкерена или заведена в смежный бортовой элемент для образования замкнутого пояса шатра. При этом предварительно напряженная арматура пояса проектируется, как правило, с возможностью осуществления ее натяжения и обетонирования в открытых сверху каналах.

До 80 % полного количества основной растянутой арматуры шатровых складок As, необходимого для восприятия растягивающего усилия Н в вертикальном сечении посредине пролета складки (рис. 16.3, а), располагают в бортовых элементах при предварительно напряженном, до 60 % - при обычном армировании, а остальную часть арматуры As - в прилегающих к бортовым элементам частях граней.

В рамно-шатровых конструкциях вся основная арматура размещается в бортовом элементе, который при больших усилиях может быть выполнен, например, в виде фермы со сталежелезобетонным нижним поясом (рис. 16.2, а). При организации дополнительного внутреннего контура (рис. 16.2, б), способного включиться в работу по восприятию распора, количество основной арматуры шатра в его внешнем контуре может быть, соответственно, снижено.

В многопролетных шатровых конструкциях в качестве основной арматуры шатра можно использовать арматуру, напрягаемую на месте возведения на всю длину здания натяжением на бетон, устанавливаемую в бетонируемых после натяжения швах между бортовыми элементами смежных ячеек. Такую арматуру (как правило, канатную) рекомендуется предусматривать неразрезной, переходящей из пролета в пролет, прямолинейной или с отгибом части арматуры в верхнюю зону опорных сечений ригелей, образованных смежными бортовыми элементами и бетоном замоноличивания между ними аналогично тому, как это показано на рис. 15.6 для вспарушенных перекрытий с натяжением арматуры на бетон. Надежное включение сборного и монолитного бетонов в сечениях указанных ригелей в совместную работу рекомендуется обеспечивать устройством гребенчатых шпонок на поверхностях сборных элементов, при этом проектную прочность бетона замоноличивания рекомендуется предусматривать не ниже прочности бетона сборных элементов.

ПРИЛОЖЕНИЕ А*
(Справочное)

Основные буквенные обозначения

Усилия от внешних нагрузок и воздействий в поперечном сечении элемента

М

- изгибающий момент;

N

- продольная сила;

Q

- поперечная сила;

Т

- крутящий момент.

Характеристики материалов

Rb,n

- нормативное сопротивление бетона осевому сжатию;

Rb, Rb,ser

- расчетные сопротивления бетона осевому сжатию для предельных состояний соответственно первой и второй групп;

Rbt,n

- нормативное сопротивление бетона осевому растяжению;

Rbt, Rbt,ser

- расчетные сопротивления бетона осевому растяжению для предельных состояний соответственно первой и второй групп;

Rb,loc

- расчетное сопротивление бетона смятию;

Rbond

- расчетное сопротивление сцепления арматуры с бетоном;

Rs, Rs,ser

- расчетные сопротивления арматуры растяжению для предельных состояний соответственно первой и второй групп;

Rsw

- расчетное сопротивление поперечной арматуры растяжению;

Rsc

- расчетное сопротивление арматуры сжатию для предельных состояний первой группы;

Еb

- начальный модуль упругости бетона при сжатии и растяжении;

Еs

- модуль упругости арматуры;

eb0, ebt0

- предельные относительные деформации бетона соответственно при равномерном осевом сжатии и осевом растяжении;

es0

- относительные деформации арматуры при напряжении, равном Rs;

jb,cr

- коэффициент ползучести бетона.

Характеристики положения продольной арматуры в поперечном сечении элемента

S

- расположенной в растянутой зоне; при полностью сжатом от действия внешней нагрузки сечении - расположенной у менее сжатой грани сечения; при полностью растянутом от действия внешней нагрузки сечении:

для внецентренно растянутых элементов - расположенной у более растянутой грани сечения; для центрально-растянутых элементов - всей в поперечном сечении элемента;

S¢

- обозначение продольной арматуры: при наличии сжатой и растянутой от действия внешней нагрузки зон сечения - расположенной в сжатой зоне; при полностью сжатом от действия внешней нагрузки сечении - расположенной у более сжатой грани сечения; при полностью растянутом от действия внешней нагрузки сечении внецентренно растянутых элементов - расположенной у менее растянутой грани сечения.

Геометрические характеристики

b

- ширина прямоугольного сечения; ширина ребра таврового и двутаврового сечений;

bf, b¢f

- ширина полки таврового и двутаврового сечений соответственно в растянутой и сжатой зонах;

h

- высота прямоугольного, таврового и двутаврового сечений;

h¢f, h¢f

- высота полки таврового и двутаврового сечений соответственно в растянутой и сжатой зонах;

а, а¢

- расстояние от равнодействующей усилий в арматуре соответственно S и S¢ до ближайшей грани сечения;

h0, h¢0

- рабочая высота сечения, равная соответственно h-а и h-а¢;

х

- высота сжатой зоны бетона;

x

- относительная высота сжатой зоны бетона, равная х/h0;

sw

- расстояние между хомутами, измеренное по длине элемента;

е0

- эксцентриситет продольной силы N относительно нейтральной оси, проходящей через центр тяжести приведенного сечения;

е, е¢

- расстояния от точки приложения продольной силы N до равнодействующей усилий в арматуре соответственно S и S¢;

l1

- пролет конструкции или ее продольный размер;

l2

- длина волны или поперечный размер конструкции;

l0

- расчетная длина элемента, подвергающегося действию сжимающей продольной силы;

f

- стрела подъема элемента конструкции;

i

- радиус инерции поперечного сечения элемента относительно центра тяжести сечения;

ds, dsw

- номинальный диаметр стержней соответственно продольной и поперечной арматуры;

As, A¢s

- площади сечения арматуры соответственно S и S¢;

Asw

- площадь сечения хомутов, расположенных в одной нормальной к продольной оси элемента плоскости, пересекающей наклонное сечение;

ms

- коэффициент армирования, определяемый как отношение площади сечения арматуры S к площади поперечного сечения элемента bh0 без учета свесов сжатых и растянутых полок;

А

- площадь всего бетона в поперечном сечении;

Аb

- площадь сечения бетона сжатой зоны;

Abt

- площадь сечения бетона растянутой зоны;

Ared

- площадь приведенного сечения элемента;

Аloc

- площадь смятия бетона;

l

- момент инерции сечения всего бетона относительно нейтральной оси, проходящей через его центр тяжести;

Ired

- момент инерции приведенного сечения элемента относительно нейтральной оси, проходящей через его центр тяжести;

W

- момент сопротивления сечения элемента для крайнего растянутого волокна;

R

- радиус кривизны элемента конструкции;

d

- толщина полки пространственного элемента;

d1

- высота бортового элемента;

qs, q¢s

- погонные усилия, воспринимаемые арматурой полки сборного элемента соответственно в растянутой и сжатой зонах.

ПРИЛОЖЕНИЕ Б

Перечень нормативной и технической документации

СНиП 2.02.01-83*

Основания зданий и сооружений.

СНиП 2.03.01-85*

Бетонные и железобетонные конструкции (справочно).

СНиП 2.05.03-84*

Мосты и трубы.

СНиП 3.03.01-87

Несущие и ограждающие конструкции.

СНиП 12.01-2004

Организация строительства.

СНиП 21-01-97*

Пожарная безопасность зданий и сооружений.

СНиП II-7-81*

Строительство в сейсмических районах.

СНиП II-23-81*

Стальные конструкции.

ГОСТ 1050-88*

Прокат сортовой, комбинированный, со специальной отделкой поверхности из углеродистой качественной конструкционной стали. Общие технические условия.

ГОСТ 3062-80*

Канат одинарной свивки типа ЛК-0 конструкции 1´7(1 + 6). Сортамент.

ГОСТ 3063-80*

Канат одинарной свивки типа ТК конструкции 1´19(1 + 6 + 12). Сортамент.

ГОСТ 3064-80*

Канат одинарной свинки типа ТК конструкции 1´37(1 + 6 + 12 + 18). Сортамент.

ГОСТ 3066-80*

Канат двойной свивки типа ЛК-0 конструкции 6´7(1 + 6) + 1´7(1 + 6). Сортамент.

ГОСТ 3067-88*

Канат стальной двойной свивки типа ТК конструкции 6´19(1 + 6 + 12) + 1´19(1 + 6 + 12). Сортамент.

ГОСТ 3068-88*

Канат стальной двойной свивки типа ТК конструкции 6´37(1 + 6 + 12 + 18) + 1´37(1 + 6 + 12 + 18). Сортамент.

ГОСТ 3081-80*

Канат двойной свивки типа ЛК-0 конструкции 6´19(1 + 9 + 9) + 7´7(1 + 6). Сортамент.

ГОСТ 3090-73*

Канаты стальные. Канат закрытый несущий с одним слоем зетобразной проволоки и сердечником типа ТК. Сортамент.

ГОСТ 7372-79*

Проволока стальная канатная. Технические условия.

ГОСТ 7473-94

Смеси бетонные. Технические условия.

ГОСТ 7669-80*

Канат двойной свивки типа ЛК-РО конструкции 6´36(1 + 7 + 7/7 + 14) + 7´7(1 + 6). Сортамент.

ГОСТ 7675-73*

Канаты стальные. Канат закрытый несущий с одним слоем клиновидной и одним слоем зетобразной проволоки и сердечником типа ТК. Сортамент.

ГОСТ 7676-73*

Канаты стальные. Канат закрытый несущий с двумя слоями клиновидной и одним слоем зетобразной проволоки и сердечником типа ТК. Сортамент.

ГОСТ 7890-93

Краны мостовые однобалочные подвесные. Технические условия.

ГОСТ 10922-90

Арматурные и закладные изделия сварные, соединения сварные арматуры и закладных изделий железобетонных конструкции. Общие технические условия.

ГОСТ 14954-80*

Канат двойной свивки типа ЛК-Р конструкции 6´19(1 + 6 + 6/6) + 7´7(1 + 6). Сортамент.

ГОСТ 18901-73*

Канаты стальные. Канат закрытый несущий с двумя слоями зетобразной проволоки и сердечником типа ТК. Сортамент.

ГОСТ 19281-89*

Прокат из стали повышенной прочности. Общие технические условия.

ГОСТ 21437-95

Сплавы цинковые антифрикционные. Марки, технические требования и методы испытаний.

ГОСТ 25820-2000

Бетоны легкие. Технические условия.

ГОСТ 26633-91*

Бетоны тяжелые и мелкозернистые. Технические условия.

СТО 36554501-006-2006

Правила по обеспечению огнестойкости и огнесохранности железобетонных конструкций.

СТО 36554501-015-2008

Нагрузки и воздействия

МДС 20-2.2008

Рекомендации по обеспечению безопасности большепролетных сооружений от лавинообразного (прогрессирующего) обрушения при аварийных воздействиях.

Рекомендации по защите монолитных жилых зданий от прогрессирующего обрушения. Разработаны ГУП МНИИТЭП. - М., 2005.

Руководство по проектированию железобетонных пространственных конструкций покрытий и перекрытий. - М.: Стройиздат, 1979.

ПРИЛОЖЕНИЕ В

Термины и определения

Пространственные системы - сооружения (расчетные схемы сооружений), образованные из соединенных между собой различных элементов, способных воспринимать приложенную к ним пространственную систему внешних сил, от действия которой в них возникает пространственное распределение внутренних усилий.

Пространственные железобетонные конструкции - выполненные из железобетона конструкции, которые под влиянием внешних силовых и иных (например, температурных) воздействий работают как пространственные системы. Они применяются в качестве покрытий, перекрытий, стен зданий и сооружений, а также могут представлять собой сооружение в целом.

Тонкостенные пространственные системы - конструкции, у которых два измерения одного порядка существенно превышают третье (толщину).

Оболочка - пространственная конструкция, ограниченная двумя криволинейными плоскостями, расстояние между которыми (толщина) мало по сравнению с другими ее размерами.

Складка - оболочка, составленная из отдельных пластинок, соединенных между собой и образующих поверхность многогранника. Складка из прямоугольных пластинок называется призматической. Балочные складки состоят из плоских элементов-граней, соединенных между собой под углом так, что в месте их сопряжения образуется прямолинейное ребро.

Срединная поверхность - геометрическое место точек в плите оболочки или складки, равноудаленных от ее нижней и верхней поверхностей.

Гауссова кривизна - произведение главных кривизн - 1/R1 × 1/R2 = К, где R1 и R2 - максимальный и минимальный радиусы кривизны (главные радиусы кривизны) поверхности в главных нормальных сечениях. Поверхности, в каждой точке которых К положительна, отрицательна или имеет нулевое значение, называются соответственно поверхностями положительной, отрицательной и нулевой гауссовой кривизны.

Устойчивость - способность системы незначительно отклоняться от исходного состояния равновесия или движения при достаточно малых возмущениях. В качестве возмущающих факторов могут выступать различные дополнительные нагрузки и воздействия, дефекты и отклонения от проектных размеров конструкции и т.п. Нагрузки, при которых происходит потеря устойчивости, называются критическими, а соответствующие состояния критическими состояниями.

Нелинейность - различают три вида нелинейности: физическую, обусловленную нелинейной связью между тензорами напряжений и деформаций; геометрическую, определяемую нелинейной связью между деформациями и перемещениями; и конструктивную, связанную с возможными изменениями расчетной схемы в процессе нагружения.

Предельная нагрузка - нагрузка, отвечающая моменту исчерпания несущей способности конструкции. Она соответствует тому предельному моменту, когда конструкция еще находится в состоянии равновесия. Напряженное состояние всех элементов конструкции в такой стадии называется состоянием предельного равновесия.

Конструкция исчерпала свою несущую способность, если малое приращение внешней нагрузки способно вызвать непрекращающийся рост деформаций и последующее разрушение.

Ключевые слова: железобетонные пространственные конструкции, покрытия, перекрытия, расчет, конструирование, оболочки, складки, своды

Институтами Открытого акционерного общества

«Научно-исследовательский центр «Строительство»

(ОАО «НИЦ «Строительство») - НИИЖБ им. А.А. Гвоздева,

ЦНИИСК им. В.А. Кучеренко, НИИОСП им. Н.М. Герсеванова

разработаны и изданы следующие нормативно-технические документы:

СТО 36554501-002-2006

«Деревянные клееные и цельнодеревянные конструкции. Методы проектирования и расчета»

СТО 36554501-003-2006

«Деревянные клееные конструкции несущие. Общие технические требования»

СТО 36554501-004-2006

«Деревянные клееные конструкции. Методы испытаний клеевых соединений при изготовлении»

СТО 36554501-005-2006*

«Применение арматуры класса А500СП в железобетонных конструкциях»

СТО 36554501-006-2006

«Правила по обеспечению огнестойкости и огнесохранности железобетонных конструкций»

СТО 36554501-007-2006

«Проектирование и устройство вертикального или наклонного геотехнического барьера методом компенсационного нагнетания»

СТО 36554501-008-2007

«Обеспечение сохранности подземных водонесущих коммуникаций при строительстве (реконструкции) подземных и заглубленных объектов»

СТО 36554501-009-2007

«Бетоны. Ультразвуковой метод определения прочности»

СТО 36554501-011-2008

«Контроль качества высокопрочных тяжелых и мелкозернистых бетонов в монолитных конструкциях»

СТО 36554501-012-2008

«Применение теплоизоляции из плит полистирольных вспененных ПЕНОПЛЭКС® при проектировании и устройстве малозаглубленных фундаментов на пучинистых грунтах»

СТО 36554501-013-2008

«Методы расчета лицевого слоя из кирпичной кладки наружных облегченных стен с учетом температурно-влажностных воздействий»

СТО 36554501-014-2008

«Надежность строительных конструкций и оснований. Основные положения»

СТО 36554501-015-2008

«Нагрузки и воздействия»

СТО 36554501-016-2009

«Строительство в сейсмических районах. Нормы проектирования зданий»

СТО 36554501-017-2009

«Проектирование и устройство монолитной конструкции, возводимой способом «стена в грунте»

СТО 36554501-018-2009

«Проектирование и устройство свайных фундаментов и упрочненных оснований из набивных свай в пробитых скважинах»

СТО 36554501-019-2009

«Выявление самонапряженного состояния горной породы»

СТО 36554501-020-2010

«Деформационные и прочностные характеристики юрских глинистых грунтов Москвы»

СТО 36554501-021-2010

«Многослойный клееный из шпона материал Ultralam (Ультралам)»

МДС 12-23.2006

«Временные рекомендации по технологии и организации строительства многофункциональных высотных зданий и зданий-комплексов в Москве»

МДС 20-1.2006

«Временные рекомендации по назначению нагрузок и воздействий, действующих на многофункциональные высотные здания и комплексы в Москве»

МДС 20-2.2008

«Временные рекомендации по обеспечению безопасности большепролетных сооружений от лавинообразного (прогрессирующего) обрушения при аварийных воздействиях»

МДС 23-1.2007

«Методические рекомендации по комплексному теплотехническому обследованию наружных ограждающих конструкций с применением тепловизионной техники»

МДС 50-1.2007

«Проектирование и устройство оснований, фундаментов и подземных частей многофункциональных высотных зданий и зданий-комплексов»

СП 52-103-2007

«Железобетонные монолитные конструкции зданий»

СП 52-104-2006

«Сталефибробетонные конструкции»

СП 52-105-2009

«Железобетонные конструкции в холодном климате и на вечномерзлых грунтах»

СП 52-110-2009

«Бетонные и железобетонные конструкции, подвергающиеся технологическим повышенным и высоким температурам»

СП 52-117-2008*

«Железобетонные пространственные конструкции покрытий и перекрытий. Методы расчета и конструирование»

«Пособие по проектированию железобетонных пространственных конструкций покрытий и перекрытий (к СП 52-117-2008*)»

 



© 2013 Ёшкин Кот :-)