| |||||||||||||||||||||||||||||||||||||||||||||||||||||||||||||||||||||||||||||||||||||||||||||||||||||||||||||||||||||||||||||||||||||||||||||||||||||||||||||||||||||||||||||||||||||||||||||||||||||||||||||||||||||||||||||||||||||||||||||||||||||||||||||||||||||||||||||||||||||||||||||||||||||||||||||||||||||||||||||||||||||||||||||||||||||||||||||||||||||||||||||||||||||||||||||||||||||||||||||||||||||||||||||||||||||||||||||||||||||||||||||||||||||||||||||||||||||||||||||||||||||||||||||||||||||||||||||||||||||||||||||||||||||||||||||||||||||||||||||||||||||||||||||||||||||||||||||||||||||||||||||||||||||||||||||||||||||||||||||||||||||||||||||||||||||||||||||||||||||||||||||||||||||||||||||||||||||||||||||||||||
Совместимость
технических средств ТРЕБОВАНИЯ К АППАРАТУРЕ ДЛЯ ИЗМЕРЕНИЯ Часть 1-1 АППАРАТУРА ДЛЯ ИЗМЕРЕНИЯ ПАРАМЕТРОВ CISPR 16-1-1: 2006
Предисловие Цели и принципы стандартизации в Российской Федерации установлены Федеральным законом от 27 декабря 2002 г. № 184-ФЗ «О техническом регулировании», а правила применения национальных стандартов Российской Федерации - ГОСТ Р 1.0-2004 «Стандартизация в Российской Федерации. Основные положения» Сведения о стандарте 1 РАЗРАБОТАН ФГУП «Ленинградский отраслевой научно-исследовательский институт радио» (ЛОНИИР) и Техническим комитетом по стандартизации ТК 30 «Электромагнитная совместимость технических средств» на основе собственного аутентичного перевода стандарта, указанного в пункте 4 2 ВНЕСЕН Техническим комитетом по стандартизации ТК 30 «Электромагнитная совместимость технических средств» 3 УТВЕРЖДЕН И ВВЕДЕН В ДЕЙСТВИЕ Приказом Федерального агентства по техническому регулированию и метрологии от 27 декабря 2007 г. № 542-ст 4 Настоящий стандарт является модифицированным по отношению к международному стандарту СИСПР 16-1-1:2006 «Технические требования к аппаратуре для измерения радиопомех и помехоустойчивости и методы измерений. Часть 1-1. Аппаратура для измерения радиопомех и помехоустойчивости. Измерительная аппаратура» (CISPR 16-1-1:2006 «Specification for radio disturbance and immunity measuring apparatus and methods - Part 1-1: Radio disturbance and immunity measuring apparatus - Measuring apparatus»). При этом дополнительные положения и требования, включенные в текст стандарта для учета потребностей национальной экономики Российской Федерации и особенностей российской национальной стандартизации, выделены в тексте стандарта курсивом. Наименование настоящего стандарта изменено относительно наименования указанного международного стандарта для приведения в соответствие с ГОСТ Р 1.5-2004 (подраздел 3.5). При применении настоящего стандарта рекомендуется использовать вместо ссылочных международных стандартов соответствующие им национальные стандарты Российской Федерации, сведения о которых приведены в дополнительном приложении И. 5 ВВЕДЕН ВПЕРВЫЕ Информация об изменениях к настоящему стандарту публикуется в ежегодно издаваемом информационном указателе «Национальные стандарты», а текст изменений и поправок - в ежемесячно издаваемых информационных указателях «Национальные стандарты». В случае пересмотра (замены) или отмены настоящего стандарта соответствующее уведомление будет опубликовано в ежемесячно издаваемом информационном указателе «Национальные стандарты». Соответствующая информация, уведомления и тексты размещаются также в информационной системе общего пользования - на официальном сайте Федерального агентства по техническому регулированию и метрологии в сети Интернет СОДЕРЖАНИЕ Предисловие к СИСПР 16-1-1:2006 Международный стандарт СИСПР 16-1-1:2006 подготовлен Международным специальным комитетом по радиопомехам (СИСПР) Международной электротехнической комиссии (МЭК), подкомитетом А «Измерения радиопомех и статистические методы». Настоящее объединенное издание международного стандарта СИСПР 16-1-1 включает в себя второе издание, опубликованное в 2006 г., и Изменение 1 (2006 г.). ГОСТ
Р 51318.16.1.1-2007 НАЦИОНАЛЬНЫЙ СТАНДАРТ РОССИЙСКОЙ ФЕДЕРАЦИИ
Дата введения - 2008-07-01 1 Область примененияНастоящий стандарт является основополагающим стандартом, устанавливающим характеристики и качество функционирования аппаратуры для измерения напряжения, тока и напряженности поля индустриальных радиопомех (ИРП) в полосе частот от 9 кГц до 18 ГГц. В настоящем стандарте установлены также требования к специализированным приборам для измерений прерывистых ИРП. Установленные в стандарте требования обеспечивают измерение широкополосных и узкополосных ИРП. Настоящий стандарт распространяется на следующие виды измерителей ИРП: а) измерительный приемник с квазипиковым детектором; б) измерительный приемник с детектором пиковых значений; в) измерительный приемник с детектором средних значений; г) измерительный приемник с детектором среднеквадратических значений. Требования настоящего стандарта должны выполняться на всех частотах и для всех уровней напряжения и тока ИРП в пределах диапазонов измерений СИСПР, установленных для измерительного оборудования. Методы измерений установлены в [1]1), общая информация, относящаяся к радиопомехам приведена в [2]. Сведения о неопределенности измерений, статистике и моделировании норм ИРП приведены в ГОСТ Р 51318.16.4.2 и [3]. ____________ 1) Национальные стандарты на основе применения [1] находятся на разработке. До введения указанных национальных стандартов в действие при установлении методов измерений допускается применять ГОСТ Р 51320. 2 Нормативные ссылкиВ настоящем стандарте использованы нормативные ссылки на следующие стандарты: ГОСТ Р 51318.11-2006 (СИСПР 11:2004) Совместимость технических средств электромагнитная. Промышленные, научные, медицинские и бытовые (ПНМБ) высокочастотные устройства. Радиопомехи индустриальные. Нормы и методы измерений ГОСТ Р 51318.14.1-2006 (СИСПР 14-1:2005) Совместимость технических средств электромагнитная. Бытовые приборы, электрические инструменты и аналогичные устройства. Радиопомехи индустриальные. Нормы и методы измерений ГОСТ Р 51318.16.4.2-2006 (СИСПР 16-4-2:2003) Совместимость технических средств электромагнитная. Неопределенность измерений в области электромагнитной совместимости ГОСТ Р 51320-99 Совместимость технических средств электромагнитная. Радиопомехи индустриальные. Методы испытаний технических средств - источников индустриальных радиопомех ГОСТ 14777-76 Радиопомехи индустриальные. Термины и определения ГОСТ 30372-95/ГОСТ Р 50397-92 Совместимость технических средств электромагнитная. Термины и определения Примечание - При пользовании настоящим стандартом целесообразно проверить действие ссылочных стандартов в информационной системе общего пользования - на официальном сайте Федерального агентства по техническому регулированию и метрологии в сети Интернет или по ежегодно издаваемому информационному указателю «Национальные стандарты», который опубликован по состоянию на 1 января текущего года, и по соответствующим ежемесячно издаваемым информационным указателям, опубликованным в текущем году. Если ссылочный стандарт заменен (изменен), то при пользовании настоящим стандартом следует руководствоваться заменяющим (измененным) стандартом. Если ссылочный стандарт отменен без замены, то положение, в котором дана ссылка на него, применяется в части, не затрагивающей эту ссылку. 3 Термины и определенияВ настоящем стандарте применены термины по ГОСТ 14777, ГОСТ 30372/ГОСТ 50397, [4], а также следующие термины с соответствующими определениями: 3.1 ширина полосы пропускания Вn: Ширина полосы частот измерительного приемника (ИП), на границах которой значение характеристики его частотной избирательности равно заданному значению, дБ. Индекс «n» - заданное значение характеристики частотной избирательности. 3.2 ширина импульсной полосы пропускания Вimp: Величина, определяемая в соответствии с соотношением Bimp = A(t)max/(2G0 · IS), где A(t)max - пиковое значение огибающей на выходе канала промежуточной частоты ИП при подаче на его вход импульса площадью IS; G0 - коэффициент усиления каскадов, предшествующих детектору, на центральной частоте полосы пропускания. В случае двух критически связанных резонансных трансформаторов Bimp = 1,05 В6 = 1,31 В3, где В6 и В3 - значения ширины полосы пропускания в точках 6 и 3 дБ соответственно (см. также приложение А, пункт А.2). 3.3 площадь импульса IS (иногда называемая мощностью импульса): Площадь под кривой V(t), отображающей зависимость импульсного напряжения от времени, мкВс или дБ (мкВс), определяемая в соответствии с соотношением
Примечание - Площадь импульса IS и спектральная плотность импульса D, мкВ/МГц или дБ (мкВ/МГц), связаны между собой. Для прямоугольных импульсов длительностью Т на частотах f << 1/T применяют соотношение D (мкВ/MГц) =2 · 106/S (мкВс). 3.4 постоянная времени заряда детектора Тс: Время, необходимое для того, чтобы после подачи синусоидального напряжения постоянной амплитуды на вход каскада, предшествующего детектору, напряжение на выходе детектора достигло 63 % установившегося значения. Примечание - Постоянную времени детектора определяют следующим образом: синусоидальный сигнал постоянной амплитуды, имеющий частоту, равную центральной частоте полосы усилителя промежуточной частоты (ПЧ), подают на вход каскада, непосредственно предшествующего детектору. К усилителю постоянного тока подключают безинерционный прибор (например осциллограф) и отмечают показание D, соответствующее установившемуся значению. Для предотвращения перегрузки используемых каскадов устанавливают такой уровень входного сигнала, при котором выходной сигнал тракта остается в пределах линейного рабочего динамического диапазона. Затем синусоидальный сигнал такого же уровня с прямоугольной огибающей подают только на ограниченное время, устанавливаемое так, чтобы зарегистрированное показание измерительного прибора было 0,63D. Длительность такого сигнала равна постоянной времени заряда детектора. 3.5 постоянная времени разряда детектора TD: Время, необходимое для того, чтобы после прекращения подачи синусоидального напряжения постоянной амплитуды на вход устройства, непосредственно предшествующего детектору, напряжение на выходе детектора уменьшилось до 37 % его первоначального значения. Примечание - Метод измерения аналогичен методу для измерения постоянной времени заряда детектора, но вместо сигнала, подаваемого в течение ограниченного времени, этот сигнал прерывается на ограниченное время. Время, необходимое для того, чтобы показание прибора уменьшилось до 0,37D, является постоянной времени разряда детектора. 3.6 механическая постоянная времени индикаторного прибора с критическим демпфированием ТM: Величина, определяемая в соответствии с соотношением TM = TL/2p, где TL - период свободных колебаний (при отсутствии демпфирования) подвижной системы индикаторного прибора. Примечания 1 Для приборов с критическим демпфированием уравнение движения системы индикации может быть записано в виде
где а - отклонение стрелки индикаторного прибора; i - ток через прибор; k - константа. Из этого соотношения можно заключить, что постоянная ТM также равна длительности прямоугольного импульса тока постоянной амплитуды, который вызывает отклонение, равное 35 % отклонения, создаваемого постоянным током (с такой же, как и у прямоугольного импульса, амплитудой). 2 Методы измерения и настройки устанавливают с учетом: а) периода свободных колебаний, который должен быть установлен равным 2pТМ; демпфирование вводят так, чтобы выполнялось соотношение α Т = 0,35амах. б) если период колебаний не может быть измерен, демпфирование устанавливают несколько ниже критического так, чтобы выброс не превышал 5 % и момент инерции движения был равен α Т = 0,35αмах. 3.7 коэффициент перегрузки: Отношение максимального уровня, при котором амплитудная характеристика каскада (или группы каскадов) в установившемся режиме отличается на 1 дБ от линейной характеристики, к уровню, соответствующему отклонению стрелки индикаторного прибора на всю шкалу. 3.8 симметричное напряжение в двухпроводной схеме, например в однофазной сети питания: Напряжение высокочастотной (ВЧ) помехи между двумя проводами. Если Va - векторное напряжение между одним из сетевых зажимов и землей, a Vb - векторное напряжение между другим сетевым зажимом и землей, то симметричное напряжение представляет собой разность векторов Va - Vb. Примечание - Иногда симметричное напряжение называют напряжением дифференциального режима. 4 Измерительные приемники с квазипиковым детектором для полосы частот от 9 кГц до 1000 МГцТехнические требования к измерительному приемнику (ИП) зависят от полосы частот, в которой он должен работать. Установлены следующие полосы рабочих частот ИП: - от 9 до 150 кГц (полоса частот А); - от 0,15 до 30 МГц (полоса частот В); - от 30 до 300 МГц (полоса частот С); - от 300 до 1000 МГц (полоса частот D); - от 1 до 18 ГГц (полоса частот Е). ИП должен иметь несимметричный вход с номинальным значением входного сопротивления 50 Ом с КСВ по напряжению не более 2 - при ослаблении входного аттенюатора 0 дБ и не более 1,2 - при ослаблении входного аттенюатора 10 дБ и более. В полосе частот от 9 кГц до 30 МГц ИП должен иметь дополнительно симметричный вход (с использованием симметрирующего входного трансформатора). В полосе частот от 9 до 150 кГц значение входного сопротивления должно быть равно 600 Ом. Симметрирующее входное устройство может быть включено в конструкцию соответствующего симметричного эквивалента сети, подключаемого к ИП, либо может быть встроено в ИП. Основные параметры ИП с квазипиковым детектором приведены в таблице 1. Таблица 1 - Основные параметры ИП с квазипиковым детектором
4.3 Точность измерения синусоидального напряжения Основная погрешность измерения синусоидального напряжения должна находиться в пределах ± 2 дБ при подаче напряжения от генератора синусоидального напряжения с выходным сопротивлением 50 Ом. 4.4 Точность измерения импульсного напряжения Методы определения выходных характеристик импульсных генераторов, применяемых при испытаниях на соответствие требованиям настоящего пункта, приведены в приложениях Б и В. 4.4.1 Амплитудное соотношение (абсолютная калибровка) Показания ИП при подаче на его вход испытательных импульсов с площадью, вычисляемой через значение электродвижущей силы (ЭДС) и имеющей значение а, мкВ/с (см. таблицу 2), при сопротивлении источника 50 Ом и однородном спектре до частоты b, МГц, с частотой повторения с, Гц, должны быть на всех частотах настройки такими же, как и при подаче на его вход немодулированного синусоидального сигнала на частоте настройки со среднеквадратическим значением ЭДС 2 мВ [66 дБ (мкВ)]. Выходное сопротивление генераторов импульсов и синусоидальных сигналов должно быть одинаковым [см. также схемы, приведенные на рисунках 1б) и в)]. Допускаемое отклонение уровня напряжения синусоидального сигнала - не более ± 1,5 дБ. Таблица 2 - Характеристики испытательных импульсов для ИП с квазипиковым детектором
4.4.2 Импульсная характеристика (относительная калибровка) Значения импульсной характеристики измерительного приемника должны находиться в пределах, обозначенных на рисунках 1а) - в), допустимые отклонения указаны в таблице 3. Таблица 3 - Импульсная характеристика измерительного приемника с квазипиковым детектором
4.5 Частотная избирательность 4.5.1 Характеристика частотной избирательности Значения характеристики частотной избирательности ИП должны находиться в пределах, указанных для каждой полосы частот на рисунках 2а) - г) соответственно. Избирательность характеризуется зависимостью от частоты амплитуды входного синусоидального сигнала, при которой поддерживается постоянное показание ИП, полученное на частоте настройки приемника. Примечание - Для измерения ИРП от оборудования, которое требует более высокой избирательности в полосе частот от 130 до 150 кГц (например, для оборудования для передачи сигналов по электрической сети, указанного в [5]), перед ИП следует включить фильтр верхних частот, при этом должно быть обеспечено следующее значение относительного затухания:
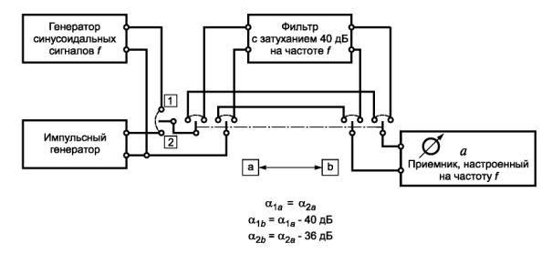
Характеристики частотной избирательности ИП в комбинации с фильтром верхних частот должны соответствовать требованиям настоящего стандарта. 4.5.2 Коэффициент ослабления на промежуточной частоте Отношение входных напряжений синусоидального сигнала на ПЧ и частоте настройки, при которых наблюдаются одинаковые показания ИП, должно быть не менее 40 дБ. Если в приемнике используется более чем одна ПЧ, данное требование должно выполняться на каждой промежуточной частоте. 4.5.3 Коэффициент ослабления на частоте зеркального канала Отношение входных напряжений синусоидального сигнала на частоте зеркального канала и на частоте настройки, при которых наблюдаются одинаковые показания ИП, должно быть не менее 40 дБ. Если в приемнике используется более чем одна промежуточная частота, то это требование должно выполняться на частотах зеркального канала, соответствующих каждой промежуточной частоте. 4.5.4 Ослабление других паразитных каналов Отношение входного напряжения синусоидального сигнала на частотах, отличных от указанных в 4.5.2 и 4.5.3, к напряжению на частоте настройки, при котором получается то же показание ИП, должно быть не менее 40 дБ. Частоты возможных паразитных каналов определяют с использованием соотношений (1/m) (nfL ± fi) и (1/k) (f0), где m, n, k - целые числа; fL - частота местного гетеродина; fi - промежуточная частота; f0 - частота настройки. Примечание - Если в ИП используется более чем одна ПЧ, частоты fL и fi могут относиться к каждой используемой промежуточной частоте и частоте местного гетеродина. Кроме того, паразитные отклики могут возникать, если входной сигнал не подается на ИП, например, когда гармоники местных гетеродинов отличаются по частоте на одну из промежуточных частот. В этом случае требования данного подраздела не применяют. Воздействие таких паразитных откликов рассматривается в 4.7.2. 4.6 Ослабление продуктов интермодуляции Испытание ИП на подверженность интермодуляционным воздействиям проводят следующим образом. Собирают схему измерений в соответствии с рисунком 3. Импульсный генератор должен создавать импульс с равномерной спектральной плотностью до частоты f3 (см. таблицу 4), выше которой амплитуда импульсов должна снижаться так, чтобы это ослабление на частоте f4 было не менее 10 дБ. Режекторный фильтр должен иметь затухание на частоте испытания не менее 40 дБ. Полоса пропускания фильтра В6, взятая по уровню 6 дБ относительно максимального затухания, должна находиться между частотами f1 и f2, приведенными в таблице 4. Таблица 4 - Значения частот при испытании ИП с квазипиковым детектором на эффекты интермодуляции
Ко входу измерительного приемника подключают генератор синусоидальных сигналов и подают от него сигнал такого уровня, чтобы показание индикаторного прибора ИП было легко определить. Затем генератор синусоидальных сигналов заменяют генератором импульсов, в котором устанавливают частоту повторения импульсов 100 Гц - для полосы частот А и 1000 Гц - для других полос частот, и добиваются того же самого показания. При включении фильтра в цепь между импульсным генератором и измерительным приемником показания измерительного приемника должны уменьшиться не менее чем на 36 дБ. 4.7 Ограничение за счет собственных шумов ИП и ослабление собственных паразитных сигналов Дополнительная погрешность измерений, вносимая собственными шумами ИП, должна быть не более 1 дБ. Примечание - Уровень входного сигнала, при котором погрешность, вносимая собственными шумами, составляет 1 дБ, определяют следующим образом. Ко входу ИП подключают генератор синусоидальных сигналов и подают от него сигнал напряжением S, вызывающий показание индикаторного прибора ИП намного большее (например, на 40 дБ), чем уровень собственных шумов приемника N. Затем уровень входного сигнала снижают до значения S1 при котором показание индикаторного прибора ИП (S1 + N) отклоняется от линейной характеристики на 1 дБ. 4.7.2 Паразитные каналы приема Если в ИП используется двойное преобразование частоты, то погрешность измерения из-за наличия паразитных каналов приема, как описано в примечании к 4.5.4, не должна быть более 1 дБ для любого входного сигнала, подаваемого на ИП. Для ИП, в котором затухание формируется в тракте ПЧ, это требование должно считаться выполненным, если измерительный приемник при его испытании соответствует 4.7.1. 4.8 Эффективность экранирования Под эффективностью экранирования ИП понимается мера его способности работать в электромагнитном поле без ухудшения качества функционирования. Экранирование приемника должно быть таким, чтобы при его размещении в немодулированном электромагнитном поле напряженностью 3 В/м дополнительная погрешность на краях указанного производителем диапазона измерений СИСПР (см. 3.9) не превышала 1 дБ. Данное требование должно выполняться на любой частоте измерений в полосе частот от 9 кГц до 1000 МГц. Если требование не выполняется, производитель ИП должен указать значения соответствующих частот и значение напряженности поля, при котором погрешность снижается до 1 дБ. Испытание проводят следующим образом. Приемник помещают в экранированную камеру, в которой имеется источник испытательного поля. Генератор сигналов располагают вне камеры и подают от него сигнал на вход приемника через проходящий сквозь стену камеры двухметровый хорошо экранированный кабель (например, полужесткий). Ко всем другим коаксиальным разъемам приемника подключают нагрузки с сопротивлением, равным их волновому полному сопротивлению. Отключают все соединительные провода, не требующиеся для нормального использования измерительного приемника в его минимальной конфигурации (исключая аксессуары, например головные телефоны). Провода, которые остались подсоединенными (например входной кабель и сетевой шнур), должны иметь такую же длину и быть расположены также, как при типовом использовании. Диапазон изменения уровня входного сигнала должен быть достаточным для обеспечения граничных значений диапазона измерений СИСПР. Напряженность испытательного поля контролируют измерителем напряженности поля. Показание индикаторного прибора приемника при наличии испытательного поля не должно отличаться более чем на 1 дБ от показания при отсутствии поля. 4.8.1 Нормы ИРП, создаваемых самим измерительным приемником 4.8.1.1 Напряжение ИРП на зажимах Напряжение ИРП на любых зажимах ИП для подсоединения внешних линий (не только на сетевых зажимах) не должно превышать норм ИРП для оборудования класса Б, установленных в ГОСТ Р 51318.11, подраздел 5.1. Для экранированного оборудования не требуется проведение измерений напряжения ИРП на внутренних проводниках экранированных соединений. Мощность, наведенная местным гетеродином на входе ИП при нагрузке входа на характеристическое полное сопротивление, не должна превышать 34 дБ (пВт), что эквивалентно напряжению 50 мкВ на сопротивлении 50 Ом. 4.8.1.2 Напряженность поля ИРП Напряженность поля ИРП, создаваемых ИП, не должна превышать норм ИРП для оборудования класса Б, установленных в ГОСТ Р 51318.11, подраздел 5.2, для полосы частот от 9 кГц до 1000 МГц. ИП должен соответствовать этим нормам также в полосах частот, выделенных для ПНМБ высокочастотных устройств (см. ГОСТ Р 51318.11, приложение Д). В полосе частот от 1 до 18 ГГц должна применяться норма 45 дБ (пВт). До проведения измерений по 4.8.1.1, 4.8.1.2 необходимо убедиться, что собственные шумы испытательного оборудования не оказывают влияния на результаты измерений ИП (например, при компьютерном контроле). 4.9 Подключение анализатора кратковременных ИРП Приемник должен иметь выход промежуточной частоты и выход квазипикового детектора для возможности измерения прерывистых ИРП во всех полосах частот. Подключение нагрузки к этим выходам не должно оказывать влияния на показание индикаторного прибора ИП. 5 Измерительные приемники с детектором пиковых значений для полосы частот от 9 кГц до 18 ГГцВ настоящем разделе установлены требования к ИП с детектором пиковых значений, которые используются для измерения импульсных или импульсно-модулированных ИРП. При измерениях на соответствие нормам ИРП могут быть использованы также анализаторы спектра, соответствующие требованиям настоящего раздела. 5.1 Входное сопротивление ИП должен иметь несимметричный вход. При установках органов управления приемника в диапазоне измерений СИСПР номинальное значение входного сопротивления должно быть равно 50 Ом с КСВ по напряжению, не превышающем значений, приведенных в таблице 5. Таблица 5 - Требования по КСВ к входному сопротивлению ИП
В полосе частот от 9 кГц до 30 МГц должен быть дополнительно обеспечен симметричный вход (с помощью симметрирующего входного трансформатора). Рекомендуемое значение входного сопротивления для полосы частот от 9 до 150 кГц равно 600 Ом. Симметрирующее входное устройство может быть включено в конструкцию соответствующего симметричного эквивалента сети, подключаемого к ИП, либо встроено в ИП. 5.2 Основные параметры 5.2.1 Ширина полосы пропускания Для широкополосных ИРП всех видов должны указываться фактическое (эффективное) значение ширины полосы пропускания с указанием измеренного уровня ИРП и значения В6 или Вimp, требования к которым приведены в таблице 6. Таблица 6 - Требования к ширине полосы пропускания
5.2.2 Отношение постоянных времени заряда и разряда Чтобы при частоте повторения импульсов 1 Гц показания ИП находились в пределах 10 % истинного пикового значения, отношение постоянной времени разряда к постоянной времени заряда должно быть не менее приведенных ниже значений: а) 1,89 · 104 - в полосе частот от 0,009 до 0,15 МГц; б) 1,25 · 106 - в полосе частот от 0,15 до 30 МГц; в) 1,67 · 107 - в полосе частот от 30 до 1000 МГц; г) 1,34 · 108 - в полосе частот от 1 до 18 ГГц. Если имеется возможность удержания пикового значения, время удержания должно быть в пределах от 30 мс до 3 с. Примечание - Требование к отношению постоянных времени заряда и разряда не предъявляется к ИП с удержанием пикового значения (и принудительным разрядом после времени удержания) и к ИП, в которых применены цифровые методы обнаружения пикового значения. Для сигналов с меняющимися по времени амплитудами допускается использование функции максимального удержания. Если для измерений пиковых значений ИРП используют анализатор спектра, то значение ширины полосы видеотракта Bvideo устанавливают не менее полосы разрешения Bresol. При измерениях пиковых значений ИРП результат считывают с дисплея анализатора спектра в линейном или логарифмическом режиме. 5.2.3 Коэффициент перегрузки Для ИП с детектором пиковых значений коэффициент перегрузки не должен быть таким большим, как для других типов ИП. Для большинства детекторов прямого отсчета необходимо, чтобы коэффициент перегрузки был немного больше единицы. Коэффициент перегрузки должен соответствовать используемым постоянным времени заряда и разряда (см. 5.2.2). 5.3 Точность измерения синусоидального напряжения Погрешность измерения синусоидального напряжения должна быть менее ± 2 дБ (± 2,5 дБ на частотах свыше 1 ГГц) при подаче синусоидального сигнала от источника с активным выходным сопротивлением 50 Ом. 5.4 Точность измерения импульсного напряжения Показания ИП на частотах до 1000 МГц при подаче на его вход испытательных импульсов с площадью, вычисляемой через значение ЭДС и имеющей значение 1,4/Вimp мВс (где Вimp выражено в герцах) от генератора с выходным сопротивлением 50 Ом и однородным спектром (см. таблицу 2, пункт 4.4.1), должны быть на всех частотах настройки такими же, как и при подаче немодулированного синусоидального сигнала на частоте настройки со среднеквадратическим значением ЭДС 2 мВ [66 дБ (мкВ)]. Выходные сопротивления источников (генератора импульсов и генератора сигналов) должны быть одинаковыми [см. рисунки 1б) и в)]. По уровню напряжения синусоидального сигнала разрешается допуск α = ± 1,5 дБ. Эти требования относятся ко всем частотам повторения импульсов, при которых на выходе усилителя ПЧ не возникают перекрывающиеся импульсы. Примечания 1 Методы определения выходных характеристик импульсных генераторов, применяемых при испытаниях на соответствие требованиям настоящего пункта, приведены в приложениях Б и В. 2 Отношения показаний ИП с пиковым и квазипиковым детекторами с номинальной шириной полосы пропускания при частоте повторения 25 Гц - для полосы частот А и при частоте повторения 100 Гц - для других полос частот приведены в таблице 7. Таблица 7 - Отношение показаний ИП с пиковым и квазипиковым детекторами при одинаковой ширине полосы пропускания (полоса частот от 9 кГц до 1000 МГц)
На частотах свыше 1 ГГц в качестве испытательных сигналов используют импульсно-модулированную несущую на частоте, равной частоте настройки ИП, так как генераторов импульсов с однородным спектром в полосе частот до 18 ГГц (см. приложение Д, пункт Д.6) не существует. Так как требования по ширине полосы пропускания ИП, приведенные в 5.2.1, допускают отклонения относительно полос, приведенных на рисунках 2а) - в) применительно к ИП с пиковым детектором, эти кривые избирательности применяют только в отношении требования сохранения их формы; при этом оси частот должны быть соответственно масштабированы. Например, В6/2 должно соответствовать частоте 100 Гц на рисунке 2а). Требования к частотной избирательности ИП совпадают с требованиями, приведенными в 4.5.2 - 4.5.4. Характеристика частотной избирательности ИП с опорной шириной полосы пропускания в полосе частот Е должна находиться в пределах, указанных на рисунке 2г). 5.6 Эффекты интермодуляции, шумы приемника и экранирование Для полосы частот ниже 1 ГГц действуют требования, приведенные в 4.6 - 4.8. Требования, установленные в 4.7 и 4.8.1, действуют также для полосы Е. Требования к эффектам интермодуляции для этой полосы находятся на рассмотрении. В этой полосе при измерении паразитных сигналов низкого уровня при наличии сильного основного сигнала на входе испытуемого приемника (внутри или снаружи) ставят фильтр (фильтр преселекции для полосы Е), который обеспечивает требуемое затухание на основной частоте, защищая входные схемы приемника от перегрузки и повреждений и предотвращая генерацию гармоник и эффекты интермодуляции. Примечания 1 Обычно затухание фильтра на основной частоте испытуемого приемника выбирают равным 30 дБ. 2 Если основных частот больше чем одна, может потребоваться несколько фильтров. Требования к эффективности экранирования, т.е. к помехоустойчивости при высоких уровнях излучаемых помех в окружающей среде, находятся на рассмотрении. 6 Измерительные приемники с детектором средних значений для полосы частот от 9 кГц до 18 ГГцНастоящий раздел устанавливает требования к ИП с детектором средних значений, которые используются для измерения среднего значения огибающей сигнала, проходящего через каскады, предшествующие детектору, и дают возможность выполнять измерения узкополосных сигналов при различных видах модуляции или при наличии широкополосного шума. Для измерений импульсных ИРП измерительные приемники с детектором средних значений обычно не используются. При испытаниях на соответствие нормам ИРП могут быть использованы анализаторы спектра, соответствующие требованиям настоящего раздела. 6.1 Входное сопротивление Измерительный приемник должен иметь несимметричный вход. При установках органов управления приемником в диапазоне измерений СИСПР номинальное значение входного сопротивления должно быть равно 50 Ом с коэффициентом стоячей волны (КСВ) по напряжению, не превышающим значений, приведенных в таблице 5. В полосе частот от 9 до 150 кГц дополнительно должен быть обеспечен симметричный вход с номинальным значением сопротивления 600 Ом. Симметрирующий входной трансформатор может быть встроен в ИП либо в соответствующий симметричный эквивалент сети, подключаемый к ИП. 6.2 Основные параметры 6.2.1 Ширина полосы пропускания Ширина полосы пропускания ИП В6 должна находиться в пределах значений, указанных в таблице 8. Таблица 8 - Требования к ширине полосы пропускания ИП
6.2.2 Коэффициент перегрузки В ИП с детектором средних значений коэффициент перегрузки каскадов, предшествующих детектору, должен быть равен Вimp/n, где n - частота повторения импульсов (Вimp и n в герцах). Приемник не должен перегружаться при частоте повторения импульсов, равной или большей 25 Гц, - для полосы частот А, 500 Гц - для полосы частот В и 5000 Гц - для полос частот С и D. Примечание - В общем случае для ИП с детектором средних значений невозможно обеспечить коэффициент перегрузки, позволяющий избежать нелинейности при работе приемника на очень низких частотах повторения импульсов (отклик на единичный импульс не определяется). 6.3 Точность измерения синусоидального напряжения Погрешность измерения синусоидального напряжения должна находиться в пределах ± 2 дБ (± 2,5 дБ на частотах свыше 1 ГГц) при подаче напряжения от генератора синусоидального напряжения с выходным сопротивлением 50 Ом. 6.4 Точность измерения импульсного напряжения Методы определения выходных характеристик импульсных генераторов, применяемых при испытаниях на соответствие требованиям настоящего подраздела, приведены в приложениях Б и В. Показания ИП на частотах до 1 ГГц при подаче на его вход испытательных импульсов с частотой повторения п, Гц, и площадью, вычисляемой через значение ЭДС и имеющей значение 1,4/n мВс, от генератора с выходным сопротивлением 50 Ом и однородным спектром (см. таблицу 2, подраздел 4.4.1), должны быть на всех частотах настройки такими же, как и при подаче немодулированного синусоидального сигнала на частоте настройки со среднеквадратическим значением ЭДС, равным 2 мВ [66 дБ (мкВ)]. Выходные сопротивления источников (генератора импульсов и генератора сигналов) должны быть одинаковыми [см. рисунки 1б) и в)]. Значения п должны быть равны 25 Гц - для полосы частот А; 500 Гц - для полосы частот В и 5000 Гц - для полос частот С и D. Допускается отклонение уровня синусоидального напряжения от минус 0,5 до 2,5 дБ. Примечание - Отношение показаний ИП с детектором средних значений и детектором квазипиковых значений, имеющих одинаковую ширину полосы пропускания, при частотах повторения импульсов 25, 100, 1000 и 10000 Гц, наблюдаемых при условии, что коэффициенты перегрузки соответствуют требованиям и выходной уровень является постоянным, приведено в таблице 9. Таблица 9 - Отношение значений импульсных характеристик ИП с детектором средних значений и детектором квазипиковых значений, имеющими одинаковую ширину полосы пропускания
На частотах свыше 1 ГГц (полоса частот Е) установлены два режима функционирования детектора средних значений - линейный и логарифмический. При линейном режиме детектора средних значений на частотах до 1 ГГц показания ИП при подаче на его вход от генератора с выходным сопротивлением 50 Ом испытательных импульсов с частотой повторения п, Гц, и площадью, вычисляемой через значение ЭДС и имеющей значение 1,4/n мВс, должны быть такими же, как и при подаче немодулированного синусоидального сигнала на частоте настройки со среднеквадратическим значением ЭДС, равным 2 мВ [66 дБ (мкВ)]. В качестве последовательности испытательных импульсов должна использоваться импульсно-модулированная несущая. Значение п должно быть равно 50000. Допускаемое отклонение уровня синусоидального напряжения - ± 1,5 дБ. Для логарифмического режима показания ИП при подаче на его вход испытательных импульсов с частотой повторения 333 кГц (период следования импульсов 3 мкс) и площадью, вычисляемой через ЭДС и имеющей значение 6,7 нВс при полном сопротивлении источника 50 Ом, должны быть на всех частотах настройки такими же, как и при подаче немодулированного синусоидального сигнала на частоте настройки со среднеквадратическим значением ЭДС, равным 2 мВ [66 дБ (мкВ)]. Допускаемое отклонение уровня синусоидального напряжения ± 4 дБ (допуск 10 % для ширины полосы пропускания обусловливает возможное отклонение приблизительно ± 2,5 дБ). Дополнительная информация приведена в приложении Д, пункт Д.6. Примечания 1 Для детектирования средних значений могут использоваться анализаторы спектра с шириной полосы видеотракта Вvideo << Bresol. При измерениях с использованием уменьшенной ширины полосы видеотракта для нормальной работы фильтра видеосигнала необходимо обеспечить достаточно большое время сканирования. 2 При измерениях средних (взвешенных) значений в линейном режиме результат будет соответствовать среднему уровню измеряемого сигнала. В логарифмическом режиме результат будет соответствовать среднему из логарифмических значений измеряемого сигнала. Следовательно, при импульсном прямоугольном сигнале со скважностью, равной 2 (сигнале, имеющем форму меандра), принимающем попеременно значения 20 и 60 дБ (мкВ), получаемый уровень в логарифмическом режиме будет равен 40 дБ (мкВ), тогда как в линейном режиме реальное среднее значение сигнала равно 54,1 дБ (мкВ). 6.4.2 Импульсная характеристика Отклик ИП с детектором средних значений в линейном режиме на повторяющиеся импульсы должен быть таким, чтобы при постоянном показании ИП соотношение между амплитудой и частотой повторения импульсов на входе ИП выражалось обратно пропорциональной зависимостью. В полосе частот между наименьшей частотой повторения импульсов (выбираемой из требования к коэффициенту перегрузки) и частотой, равной В3/2, допускается отклонение импульсной характеристики в пределах от +3 до -1 дБ. Примечание - Теоретические кривые импульсных характеристик ИП с квазипиковым детектором и детектором средних значений представлены на рисунке 1г), имеющем шкалу в абсолютных единицах. Отклик ИП с детектором средних значений в логарифмическом режиме (частота свыше 1 ГГц) на повторяющиеся импульсы зависит от уровня помех между импульсами. Используя следующие величины: LlogAv - уровень, измеренный детектором средних значений в логарифмическом режиме; Tp - длительность импульса, мкс; Lp - значение амплитуды импульса, дБ (мкВ); TN - длительность помех между импульсами, мкс; LN - уровень помех, дБ (мкВ), получим приближенное соотношение
Пример: Если значение амплитуды импульсов Lp = 85 дБ (мкВ) и уровень помех LN = 8 дБ (мкВ), Тр = 1/Вimp = 1 мкс, частота повторения импульсов n = 100000, то TN » 9 мкс. Тогда LlogAv = 15,7 дБ (мкВ). В действительности значение LlogAv будет больше из-за того, что значение Тр больше, так как после окончания импульса длительностью 1 мкс импульсный сигнал на выходе ПЧ мгновенно не уменьшается до уровня помех. 6.4.3 Измерение скачкообразных, нестабильных и «дрейфующих» узкополосных ИРП Отклик на скачкообразные, нестабильные и «дрейфующие» узкополосные помехи должен быть таким, чтобы результат измерения был равен показанию пикового прибора с постоянной времени 0,16 с - для полос частот А и В и 100 мс - для полос частот С и D, как показано на рисунке 5. Постоянная времени определена в А.3.1. Такие измерения можно провести с помощью схемы, имитирующей индикаторный прибор, установленной после детектора огибающей. Например, пиковое значение можно получить непрерывным контролем выходного сигнала прибора с использованием аналого-цифрового преобразователя и микропроцессора, как показано на рисунке 4. Для полосы частот Е постоянная времени детектора средних значений в линейном режиме равна 0,1 с; требования к логарифмическому детектору средних значений находятся на рассмотрении. Из сказанного выше следует, что при высокочастотном синусоидальном входном сигнале, модулированном повторяющимися прямоугольными импульсами с длительностью и периодом, указанными в таблице 10, показание ИП с детектором средних значений должно быть максимальным в соответствии с таблицей 10, при этом разрешается допуск ± 1,0 дБ. Таблица 10 - Максимальное показание ИП с детектором средних значений при синусоидальном входном сигнале, модулированном импульсами, по сравнению с откликом на незатухающее гармоническое колебание такой же амплитуды
6.5 Частотная избирательность Характеристика частотной избирательности ИП с шириной полосы пропускания 200 Гц (измерения в полосе частот 0,009 - 0,15 МГц) должна находиться в пределах, указанных на рисунке 2а), с шириной полосы пропускания 9 кГц (измерения в полосе частот 0,15 - 30 МГц) - на рисунке 2б) и с шириной полосы пропускания 120 кГц (измерения в полосе частот 30 - 1000 МГц) - на рисунке 2в). Для приемников, имеющих другую ширину полосы пропускания, рисунки 2а) - в) описывают только форму характеристики избирательности; при этом ось частоты соответственно масштабируется (см. 5.5). Характеристика частотной избирательности ИП для полосы частот Е должна находиться в пределах, указанных на рисунке 2г). Примечание - Для измерения ИРП от оборудования, которое требует более высокой избирательности ИП на участке частот между 130 и 150 кГц (например, оборудования для передачи сигналов по электрической сети, как установлено в [5]), перед измерительным приемником устанавливают фильтр верхних частот. Значения относительного затухания (измерительного приемника СИСПР и фильтра верхних частот) приведены ниже.
Измерительный приемник вместе с фильтром верхних частот должен соответствовать требованиям настоящего стандарта. 6.6 Эффекты интермодуляции, шумы приемника и экранирование Эффекты интермодуляции, шумы приемника и экранирование должны соответствовать требованиям 5.6. 7 Измерительные приемники с детектором среднеквадратических значений для полосы частот от 9 кГц до 18 ГГцПри измерениях на соответствие нормам ИРП могут использоваться анализаторы спектра, соответствующие требованиям настоящего раздела. 7.1 Входное сопротивление ИП должен иметь несимметричный вход. При установках органов управления приемника в диапазоне измерений СИСПР номинальное значение входного сопротивления должно быть равно 50 Ом с КСВ по напряжению, не превышающим значений, приведенных в таблице 5. Для измерения симметричного напряжения ИРП в полосе частот от 0,009 до 30 МГц должен быть обеспечен дополнительный симметричный вход (с помощью симметрирующего входного трансформатора). Для полосы частот от 9 до 150 кГц рекомендуемое значение входного сопротивления должно быть равно 600 Ом. Симметрирующее входное устройство может быть встроено в ИП, либо включено в конструкцию соответствующего симметричного эквивалента сети, подключаемого к ИП. 7.2 Основные параметры 7.2.1 Ширина полосы пропускания Значения ширины полосы пропускания ИП должны находиться в пределах, указанных в таблице 11. Таблица 11 - Значения ширины полосы пропускания ИП
7.2.2 Коэффициент перегрузки Коэффициент перегрузки каскадов, предшествующих детектору, должен быть равен 1,27 (В3/n)1/2, где n - частота повторения импульсов; п и В3 измеряют в герцах. Примечания 1 В общем случае при таком типе детектора будет невозможно обеспечить достаточный коэффициент перегрузки для обеспечения линейного режима работы прибора при очень низких частотах повторения импульсов (отклик на единичный импульс не определяется). При любом применении данного детектора должна быть указана минимальная частота повторения импульса, не приводящая к перегрузке детектора. 2 Расчет коэффициента перегрузки приведен в приложении А. 7.3 Точность измерения синусоидального напряжения Погрешность измерения синусоидального напряжения должна находиться в пределах ± 2 дБ (± 2,5 дБ на частотах свыше 1 ГГц) при выходном сопротивлении источника 50 Ом. 7.4 Точность измерения импульсного напряжения Методы определения выходных характеристик импульсных генераторов, применяемых при испытаниях на соответствие требованиям настоящего подраздела, приведены в приложениях Б и В. Показания ИП на частотах, не превышающих 1000 МГц, при подаче на его вход испытательных импульсов с частотой повторения n, Гц, и площадью, вычисляемой через значение ЭДС и имеющей значения [278 (В3)-1/2] мВс - для полосы частот А и [139 (В3)-1/2] мВс - для полос частот В, С и D (при значении В3 выраженном в герцах) при сопротивлении источника 50 Ом и спектре, однородном, по крайней мере, до наивысшей частоты настройки приемника (см. таблицу 2, пункт 4.4.1), должны быть на всех частотах настройки такими же, как и при подаче немодулированного синусоидального сигнала на частоте настройки со среднеквадратическим значением ЭДС, равным 2 мВ [66 дБ (мкВ)]. Сопротивления источников (генератора импульсов и генератора сигналов) должны быть одинаковыми [см. рисунки 1б) и в)]. Значение n должно быть равно 25 - для полосы частот А и 100 - для полос частот В - D. Допустимое отклонение уровня синусоидального напряжения - ± 1,5 дБ. Примечание - Расчет импульсной характеристики детектора среднеквадратических значений приведен в приложении А. Отношение показаний ИП с детектором среднеквадратических значений и ИП с квазипиковым детектором, имеющим ту же полосу, для частот повторения импульсов 25 и 100 Гц приведено в таблице 12. На частотах свыше 1 ГГц (полоса Е) показания ИП при подаче на его вход испытательных импульсов с частотой повторения 1000 Гц и площадью, вычисляемой через значение ЭДС и имеющей значение [44 (В3)-1/2] мкВс, должны быть на всех частотах настройки такими же, как при подаче немодулированного синусоидального сигнала на частоте настройки со среднеквадратическим значением ЭДС, равным 2 мВ [66 дБ (мкВ)]. В качестве последовательности испытательных импульсов должна использоваться импульсно-модулированная несущая. Более подробную информацию см. приложение Д, раздел Д.6. Таблица 12 - Отношение показаний ИП с квазипиковым детектором и детектором среднеквадратических значений на частотах повторения импульсов 25 и 100 Гц
7.4.2 Импульсная характеристика Отклик ИП с детектором среднеквадратических значений на повторяющиеся импульсы должен быть таким, чтобы при постоянных показаниях на выходе ИП амплитуда импульсов была обратно пропорциональна квадратному корню из значения частоты. Значения импульсной характеристики должны находиться в пределах, указанных в таблице 13. Таблица 13 - Импульсная характеристика ИП с детектором среднеквадратических значений
7.5 Частотная избирательность Так как требования к ширине полосы пропускания, приведенные в 7.2.1, допускают отклонения относительно значений тех полос, которые приведены на рисунках 2а) - в) применительно к ИП с детектором среднеквадратических значений, эти кривые избирательности применяются только в отношении требования сохранения их формы; при этом оси частот соответственно масштабируются. Например, В6/2 соответствует частоте 100 Гц на рисунке 2а). Характеристика частотной избирательности ИП с шириной полосы пропускания для полосы частот Е должна находиться в пределах, указанных на рисунке 2г). Требования к частотной избирательности должны соответствовать требованиям, приведенным в 4.5.2 - 4.5.4. 7.6 Эффекты интермодуляции, шумы приемника и экранирование В соответствии с требованиями, установленными в 5.6. 8 Измерительные приемники с определением функции распределения амплитуд ИРП для полосы частот от 1 до 18 ГГцФункцию распределения амплитуд ИРП определяют как зависимость от амплитуды суммарного времени, в течение которого амплитуда ИРП превышает заданный уровень. В общем случае функцию распределения амплитуд ИРП определяют на фиксированной частоте, выражая амплитуду ИРП в значениях напряженности поля или напряжения на входе ИП. Функция распределения амплитуд может быть измерена при помощи специальных схем, включенных в ИП или анализатор спектра, или при помощи отдельного устройства. Функция распределения амплитуд ИРП может быть измерена различными способами. При одном из них используются устройства сравнения и подсчета, которые определяют время превышения амплитудой ИРП установленных уровней напряжения из заранее выбранного набора (см. рисунок Ж.1). Число устройств сравнения должно быть равно числу уровней. При другом способе используют аналого-цифровой преобразователь, логическую схему и устройство памяти (см. рисунок Ж.2). Функция распределения амплитуд ИРП может быть представлена в виде графика на экране дисплея для заранее установленного числа уровней. Число выбираемых уровней зависит от разрешающей способности используемого аналого-цифрового преобразователя (например, 256 уровней - для 8-битового преобразователя). Нахождение функции распределения амплитуд ИРП целесообразно проводить при испытании ТС, которые могут создавать помехи цифровым системам связи (относительно информации о требованиях к измерению функции распределения амплитуд ИРП см. также Изменение 1 к [2]). При нахождении функции распределения амплитуд ИРП должны выполняться следующие технические требования (обоснование этих требований приведено в приложении Ж): а) динамический диапазон амплитуды ИРП должен превышать значение 60 дБ; б) точность измерения амплитуд, включая погрешность установки порогового уровня, должна превышать ± 2,7 дБ; в) максимальное время измерения помехи должно быть не менее 2 мин. Измерение прерывистых помех допускается проводить, если время отсутствия помех составляет менее 1 % всего времени измерения; г) минимальное значение измеряемой вероятности должно быть 10-7; д) измерение функции распределения амплитуд ИРП должно проводиться при не менее чем двух уровнях амплитуды. Одновременно подсчитывают вероятности, соответствующие всем предварительно выбранным уровням. Значение разрешения предварительно выбранных уровней амплитуды должно быть не ниже 0,25 дБ; е) скорость выборки в отсчетах должна быть не менее 10 млн/с при полосе разрешения 1 МГц; ж) для аппаратуры измерения функции распределения амплитуд ИРП с аналого-цифровым преобразователем разрешение по амплитуде дисплея, отображающего функцию распределения, должно быть менее 0,25 дБ (рекомендуемое требование). Примечание - Измерение функции распределения амплитуд ИРП допускается проводить в полосе частот ниже 1 ГГц. 9 Анализаторы кратковременных ИРПАнализаторы кратковременных ИРП применяют для автоматической оценки амплитуды, частоты и длительности прерывистых (кратковременных) ИРП. Кратковременная ИРП имеет следующие признаки: а) квазипиковое значение ИРП превышает норму квазипиковых значений непрерывных ИРП; б) длительность ИРП - не более 200 мс; в) длительность интервала, разделяющего (на оси времени) две соседние ИРП, - не менее 200 мс. Последовательность коротких импульсов должна трактоваться как кратковременная ИРП, если длительность последовательности, измеренная от начала первого импульса до конца последнего, составляет не более 200 мс и выполняются условия а) и в). Временные параметры кратковременных ИРП определяются сигналом на выходе ПЧ измерительного приемника, превышающим заданный (опорный) уровень. Примечания 1 Определения и признаки кратковременных ИРП установлены в ГОСТ Р 51318.14.1. 2 Современные анализаторы кратковременных ИРП разработаны для использования с ИП, имеющими квазипиковый детектор, работающими с ограниченным внутренним уровнем сигнала. В связи с этим современные анализаторы кратковременных ИРП могут не сопрягаться с измерительными приемниками некоторых типов. а) Анализатор кратковременных ИРП должен иметь канал для измерения длительностей импульсов ИРП и разделяющих их интервалов, подключаемый к выходу ПЧ измерительного приемника. При измерениях длительностей должна рассматриваться только та часть импульса ИРП, которая превышает опорный уровень ПЧ измерительного приемника. Погрешность измерения длительности должна быть не более ± 5 %. Примечание - Под опорным уровнем ПЧ понимают такой уровень сигнала на выходе ПЧ измерительного приемника (при подаче на его вход немодулированного синусоидального сигнала), при котором показание ИП (в квазипиковых значениях) равно норме на непрерывную ИРП. б) Анализатор кратковременных ИРП должен иметь канал для оценки квазипикового значения амплитуды ИРП. в) Амплитуда в канале оценки квазипиковых значений должна измеряться по прошествии 250 мс после спада заднего фронта последнего импульса ИРП в канале ПЧ. г) Комбинация обоих каналов должна во всех отношениях соответствовать требованиям 4.1. д) Анализатор кратковременных ИРП при необходимости должен измерять и регистрировать: - число кратковременных ИРП; - длительность испытания, мин; - частоту повторения кратковременных ИРП; - случаи появления ИРП, превышающих норму для непрерывной ИРП (в квазипиковых значениях), но не являющихся кратковременными. Примечание - Пример блок-схемы анализатора кратковременных ИПР приведен на рисунке 6. е) Подтверждение работоспособности анализатора по выявлению ИРП, соответствующих определению кратковременных помех, должно производиться при его работе с двенадцатью видами испытательных сигналов, параметры которых приведены в таблице 14 и на рисунке 7. Работоспособность анализатора кратковременных ИРП по выявлению исключений, учитываемых при нормировании кратковременных ИРП в соответствии с ГОСТ Р 51318.14.1, пункт 4.2.3, должна проверяться на основе его работы с двенадцатью видами испытательных сигналов, параметры которых приведены в приложении Е, таблица Е.1 и рисунок Е.1. Таблица 14 - Испытательные сигналы, используемые для определения кратковременной помехи (КВП) при проверке характеристик анализатора кратковременных ИРП
9.2 Валидация характеристик анализатора кратковременных ИРП: метод испытаний Анализатор кратковременных ИРП подключают к ИП с квазипиковым детектором и настраивают на требуемую частоту. На вход ИП на частоте настройки подают одновременно синусоидальный и импульсный сигналы. Для испытаний № 2 и № 3 дополнительно требуется сигнал, создаваемый генератором импульсов СИСПР в соответствии с приложением Б с частотой повторения импульсов 200 Гц, попадающий в полосу пропускания ИП на частоте настройки. Источник импульсных сигналов должен обеспечить создание двух независимо изменяющихся импульсов. Время нарастания импульсов не должно быть более 40 мкс. Длительность импульса должна меняться от 110 мкс до 1,3 мс, а амплитуда должна меняться в пределах 44 дБ. Любой фоновый шум источника импульсных сигналов должен быть по крайней мере на 20 дБ ниже опорного уровня [см. 9.1, перечисление а)]. Испытания проводят следующим образом: а) подают синусоидальный сигнал на вход ИП, используемого вместе с анализатором кратковременных ИРП. Устанавливают амплитуду синусоидального сигнала, при которой показание прибора соответствует опорной точке (нулевому опорному уровню) на шкале индикаторного прибора ИП, что соответствует норме непрерывных ИРП (квазипиковое значение). С помощью ВЧ аттенюатора ИП устанавливают уровень сигнала выше шума приемника, но ниже нормы непрерывных ИРП, используемой как пороговое значение в канале ПЧ. Полученный уровень синусоидального сигнала на выходе ПЧ измерительного приемника соответствует опорному уровню ПЧ; б) подают импульсный сигнал на вход ИП. Для испытаний № 2 и № 3 подают дополнительный импульсный сигнал с частотой повторения 200 Гц от генератора импульсов СИСПР, который должен суммироваться с импульсным сигналом. Параметры сигнала установлены в таблице 14. Значения амплитуды импульсов, указанные в таблице 14 (графа 1), устанавливают отдельно по показанию, соответствующему норме непрерывных ИРП (квазипиковое значение), используемому в качестве порога в канале ПЧ. Значения амплитуды импульсов должны соответствовать уровням ВЧ и ПЧ, установленным в 9.1. 9.2.2 Дополнительные требования Метод испытания должен быть аналогичен методу, изложенному в 9.2.1, перечисление а). Параметры испытательных сигналов указаны в приложении Е, таблица Е.1. а) Импульсная характеристика ИП для полосы частот А (от 9 до 150 кГц) и допускаемые отклонения ее значений Рисунок 1 - Графики импульсных характеристик, лист 1 б) Импульсная характеристика ИП для полосы частот В (от 0,15 до 30 МГц) и допускаемые отклонения ее значений
в) Импульсная характеристика ИП для полосы частот C/D (от 30 до 1000 МГц) и допускаемые отклонения ее значений Рисунок 1, лист 2 г) Теоретические кривые импульсной характеристики
ИП с квазипиковым детектором и детектором средних Рисунок 1, лист 3 а) Пределы характеристики частотной избирательности ИП для полосы частот А (от 9 до 150 кГц) Рисунок 2 - Нормы частотной избирательности ИП, лист 1 б) Пределы характеристики частотной избирательности ИП для полосы частот В (от 0,15 до 30 МГц) в) Пределы характеристики частотной избирательности ИП для полос частот С и D (от 30 до 1000 МГц) Рисунок 2, лист 2 Примечания 1 Пределы для ширины импульсной полосы пропускания невозможно представить на диаграмме, т.к. соответствующее затухание фильтра зависит от типа фильтра. Поэтому для ориентации заданы границы для ширины полосы на уровне 6 дБ и 9 дБ. 2 Пределы полной избирательности получены от оборудования, используемого на время введения требования относительно избирательности. г) Пределы характеристики частотной избирательности ИП для полосы частот Е Рисунок 2, лист 3 Рисунок 3 - Схема измерения ослабления продуктов интермодуляции Рисунок 4 - Блок-схема детектора средних значений Примечания 1 Отклик на скачкообразные узкополосные помехи может быть рассчитан для детектора средних значений в логарифмическом режиме при выбранной ширине полосы частот видеотракта анализатора спектра, например 10 Гц, и работе анализатора в режиме запоминания максимума. 2 Приведенный отклик вызван скачкообразным узкополосным сигналом с длительностью 0,3 с и частотой повторения импульсов 1 Гц при постоянной времени детектора 100 мс. Если постоянная времени детектора будет равна 160 мс, пиковые значения сигнала на выходе измерителя, имитирующего схему, будут меньше. Рисунок 5 - Отклик схемы, имитирующей индикаторный прибор, на скачкообразный узкополосный сигнал Рисунок 6 - Пример блок-схемы анализатора кратковременных ИРП Рисунок 7 -
Графическое представление испытательных сигналов в соответствии с таблицей 14, используемых Приложение А
| |||||||||||||||||||||||||||||||||||||||||||||||||||||||||||||||||||||||||||||||||||||||||||||||||||||||||||||||||||||||||||||||||||||||||||||||||||||||||||||||||||||||||||||||||||||||||||||||||||||||||||||||||||||||||||||||||||||||||||||||||||||||||||||||||||||||||||||||||||||||||||||||||||||||||||||||||||||||||||||||||||||||||||||||||||||||||||||||||||||||||||||||||||||||||||||||||||||||||||||||||||||||||||||||||||||||||||||||||||||||||||||||||||||||||||||||||||||||||||||||||||||||||||||||||||||||||||||||||||||||||||||||||||||||||||||||||||||||||||||||||||||||||||||||||||||||||||||||||||||||||||||||||||||||||||||||||||||||||||||||||||||||||||||||||||||||||||||||||||||||||||||||||||||||||||||||||||||||||||||||||||
|
Площадь импульса, мкВс |
Частота повторения импульсов, Гц |
|
|
От 0,09 до 0,15 МГц |
13,5 |
1; 2; 5; 10; 25; 60; 100 |
|
От 0,15 до 30 МГц |
0,316 |
1; 2; 10; 20; 100; 1000 |
|
От 30 до 300 МГц |
0,044 |
1; 2; 10; 20; 100; 1000 |
|
От 300 до 1000 МГц |
(см. примечание) |
1; 2; 10; 20; 100; 1000 |
|
Примечание - Для полосы частот от 300 до 1000 МГц импульсы должны иметь соответствующую площадь и достаточно постоянный спектр до частоты не менее 1000 МГц. |
||
Б.1.1 Спектр генерируемых импульсов
Спектр генерируемых импульсов определяется спектральной плотностью, представляющей закон изменения эквивалентного напряжения на входе измерительной установки, имеющей постоянную ширину полосы пропускания. Спектр должен быть достаточно постоянным вплоть до верхней границы полосы частот испытуемого приемника, т.е. в пределах данной полосы изменение амплитуд спектральных составляющих должно быть не более 2 дБ относительно значений этих составляющих на нижних частотах этой полосы. Площадь импульса на частоте измерения должна быть задана с точностью ± 0,5 дБ.
Для проверки на соответствие требованиям 4.6 значение спектра свыше верхнего предела полосы частот должно ограничиваться (на удвоенной верхней частоте оно должен быть на 10 дБ ниже) с тем, чтобы продукты интермодуляции всех составляющих спектра не вносили заметной погрешности в результаты измерений.
Б.2 Общий метод измерения
Методы определения характеристик импульсных генераторов приведены в приложении В. Если к нахождению значения спектральной плотности не предъявляется требование высокой точности, используют следующий метод.
Генератор импульсов подключают ко входу ВЧ измерительного приемника; к выходу промежуточной частоты приемника подключают осциллограф, который отображает высокочастотный импульс на выходе ПЧ.
На каждой частоте настройки приемника измеряют:
а) ширину полосы пропускания приемника на уровне минус 6 дБ (B6, Гц);
б) среднеквадратическое значение E0 выходного напряжения генератора синусоидальных сигналов (имеющего такое же сопротивление, что и генератор импульсов), настроенного на центральную частоту полосы пропускания приемника и создающего на осциллографе отклонение, равное по амплитуде пику высокочастотных импульсов.
Относительную амплитуду спектральной составляющей на данной частоте [спектральную плотность St(f)] вычисляют по формуле
St(f) = E0/B6.
Измерение повторяют для различных частот испытания в рассматриваемой полосе.
Спектр генератора импульсных сигналов задается кривой, отображающей зависимость St(f) от частоты измерения.
Используемый ИП должен быть линейным при пиковых уровнях измеряемых сигналов.
Подавление паразитных откликов, в частности на зеркальной частоте и на ПЧ, должно быть не менее 40 дБ.
Измерения могут выполняться ИП, соответствующим данным техническим требованиям и имеющим квазипиковый детектор (при измерениях должно выполняться требование постоянства частоты повторения импульсов).
B.1 Измерение площади импульса
B.1.1 Общие положения
Методы измерения, приведенные в В.1.2 - В.1.5, являются точными, т.к. погрешность получаемых на их основе результатов измерений с практической точки зрения оказывается незначительной.
B.1.2 Метод измерения площади
Измеряемые импульсы пропускают через узкополосный фильтр с симметричной амплитудной и асимметричной фазовой характеристикой, настроенный по центру полосы пропускания на частоту f (вместе с фильтром может быть использован усилитель, работающий на линейном участке).
Для определения площади импульса IS используют ее зависимость от огибающей выходного сигнала полосового фильтра A(t, f):
(B.1)
где S(f) - спектральная плотность;
A(t, f) - амплитуда огибающей от единичного импульса (выраженная в единицах эквивалентного входного синусоидального напряжения).
Площадь импульса IS находят как полную площадь под огибающей A(t, f) (с учетом знака ее различных частей).
Для настройки спектра импульса используют усилитель промежуточной частоты низкочастотного приемника или приемника для измерения ИРП вместе с рядом преобразователей частоты. Для измерения площади импульса выходной сигнал последнего усилителя промежуточной частоты подают непосредственно на осциллограф.
При использовании данного метода для импульсов с длительностью, намного меньшей периода частоты f, площадь импульса допускается измерять непосредственно как интегрированную площадь с помощью соответствующего осциллографа (например, для наносекундных импульсов требуется стробоскопический осциллограф), при этом интегрирование учитывает знак различных частей площади.
B.1.3 Метод стандартной линии передачи
Линия передачи, длина которой соответствует времени распространения τ с напряжением V0 разряжается через сопротивление нагрузки, равное характеристическому сопротивлению линии.
Считается, что линия передачи состоит из фактической линии, а также из зарядного участка линии, заключенного в корпусе переключателя. Установлено, что спектральная плотность S(f) имеет значение 2vt в низкочастотной области спектра результирующего импульса, где амплитуда не меняется в зависимости от частоты, причем эта амплитуда не зависит от существования паразитных сопротивлений между линией и нагрузочным резистором (например индуктивным или активным сопротивлением) или от конечного времени коммутации.
B.1.4 Измерение гармоник
Данный метод можно использовать для импульсных генераторов, создающих последовательность импульсов с довольно высокой и устойчивой частотой повторения.
Когда частота повторения импульсов F превышает размеры ширины полосы измерительного приемника, последний может выделить одну линию из спектра импульса. В этом случае площадь импульса IS можно определить как
(В.2)
где
- пиковое значение к-й
гармоники.
Далее импульсный генератор можно использовать для калибровки импульсной характеристики ИП с широкой полосой пропускания, в которую на уровне 6 дБ попадает большое число гармонических составляющих (10 или более).
B.1.5 Метод измерения мощности
При использовании этого метода сравнивают мощность, создаваемую тепловым источником (резистором), с мощностью, создаваемой генератором импульсов. Однако точность, получаемая при использовании данного метода несколько ниже по сравнению с точностью приведенных выше методов. Данный метод может быть полезен на частотах около 1000 МГц.
B.2 Требования к спектру генератора импульсов
В.2.1 Для определения соответствия требованиям 4.4.1, 5.4, 6.4.1 и 7.4.1 площадь импульса должна быть задана с погрешностью не более ± 0,5 дБ.
B.2.2 Частота повторения импульсов должна быть задана с погрешностью не более 1 %.
B.2.3 Для определения соответствия требованиям 4.4.2, 5.4, 6.4.2 и 7.4.2 площадь импульсов не должна зависеть от частоты их повторения.
B.2.4 Для определения соответствия требованиям 4.4, 5.4, 6.4 и 7.4 частотный спектр генератора должен быть однородным в полосе пропускания ИП. Считается, что это требование выполняется в случаях, если:
а) изменение частотного спектра линейно относительно частоты в пределах частотной полосы пропускания ИП, а неравномерность спектра не превышает 0,5 дБ в пределах полосы пропускания приемника, измеренной на уровне минус 6 дБ;
б) частотный спектр имеет плавные спады по обеим сторонам от частоты настройки ИП, и ширина спектра в точках минус 6 дБ по крайней мере в пять раз превышает ширину полосы пропускания приемника на этом уровне.
В обоих случаях предполагается, что площадь импульса равна значению его уровня на частоте настройки.
При больших значениях частоты повторения импульсов существенное влияние на значение импульсной характеристики оказывает ширина полосы пропускания.
Для низких значений частоты повторения более важную роль играют постоянные времени. Относительно этих постоянных времени допуски в настоящем стандарте не установлены, но в качестве рекомендации можно считать приемлемым значение 20 %.
Кроме того, на очень низких частотах повторения наиболее заметным будет отсутствие перегрузки. Значения коэффициентов перегрузки должны быть такими, чтобы обеспечить точное измерение одиночного импульса при рекомендованных постоянных времени и ширине полосы пропускания.
Исследование поведения импульсной характеристики на двух крайних участках диапазона измерений индикаторного прибора гарантирует проверку возможного нелинейного поведения детектора. В этом смысле наиболее критичными частотами повторения, вероятнее всего, будут частоты вблизи 20 - 100 Гц.
Д.1 Отклик каскадов, предшествующих детектору
Площадь под огибающей выходного сигнала узкополосной схемы, которая имеет симметричную частотную характеристику и на вход которой подаются прямоугольные импульсы, не зависит от ширины полосы пропускания и задается формулой
где v и t - амплитуда и длительность прямоугольного импульса, соответственно, для которого Вimpt << 1 (G0 - коэффициент усиления схемы на центральной частоте).
Данное утверждение справедливо только в случае огибающей, имеющей постоянный уровень (неосциллирующая огибающая). Колебательная (осциллирующая) огибающая присуща схемам с двойной настройкой и, если не используется чувствительный фазовый детектор, может понадобиться произвести компенсацию ошибки путем введения значения, вносимого осциллирующей огибающей.
В случае критической связи второй пик огибающей составляет приблизительно 8,3 % первого.
Примечание - Отклик каскадов, предшествующих детектору, как указано в разделе А.2, носит колебательный характер. Следовательно, систематическую погрешность, вносимую колебательным откликом, следует компенсировать, вводя допуск от -0,5 до +2,5 дБ (как указано в 6.4.1).
Пока импульсы на выходе усилителя промежуточной частоты не перекрываются, среднее значение их площади пропорционально частоте повторения импульсов п. Как следствие, среднее значение напряжения равно 2vtG0n.
Исходя из уравнения (Д.1), определение эффективной ширины полосы для ИП с детектором средних значений не считается целесообразным.
Для расчета коэффициента перегрузки при использовании ИП с пиковым детектором полезно определить величину, известную как «эффективная ширина импульсной полосы пропускания каскадов, предшествующих детектору Вimp», по формуле
Bimp = A(t)max/2G0, (Д.2)
где A(t)max - выходной сигнал (с пиковой огибающей) каскадов усиления промежуточной частоты при подаче единичного импульса. Из уравнений, приводящих к формуле (А.17) (приложение А), имеем:
Вimp = (0,944/2)w0 = 1,05В6 или 1,31B3, (Д.3)
где B6 и B3 определены в 3.2.
Для других типов настраиваемых схем отношение Вimp к B6 можно оценивать из рисунка Д.1, если известно отношение B20 к B3, где B20 - ширина полосы на уровне 20 дБ.
Рисунок Д.1 - Коэффициент коррекции для оценки отношения Bimp/B6 для других типов настраиваемых схем
Д.3 Соотношение между показаниями измерительных приемников с детекторами средних и квазипиковых значений
Значение площади импульса, необходимое для создания такого же показания ИП средних значений, как и показания при подаче на его вход немодулированного синусоидального сигнала на частоте настройки со среднеквадратическим значением 2 мВ от генератора, имеющего то же выходное сопротивление, что и генератор импульсов, при частоте повторения импульсов п, Гц, равно vt = 1,4/n (мВс).
При частоте повторения 100 Гц это значение равно 14 мкВс.
Тогда в соответствии с приложением А, пункт А.5, отношение (vt)ave к (vt)qp для получения одного и того же показания будет равно:
(vt)ave/(vt)qp = 32,9 дБ - для полосы частот от 0,15 до 30 МГц;
(vt)ave/(vt)qp = 50,1 дБ - для полосы частот от 30 до 1000 МГц.
Вышеизложенное предполагает наличие требуемого коэффициента перегрузки при рассматриваемой частоте повторения и соответствие ширины полосы пропускания значениям, указанным в разделе 4.
При частоте повторения 1000 Гц соответствующие отношения будут 17,4 и 38,1 дБ.
Д.4 Измерительные приемники с пиковым детектором
Если в ИП используется измерительное устройство с непосредственным считыванием, требование к постоянным времени можно определить по кривой, приведенной на рисунке Д.2, на котором представлено процентное соотношение показания, отнесенного к реальному пиковому значению в зависимости от параметра, и в котором учтены коэффициент постоянных времени, ширина полосы B6 и частота повторения импульсов. При использовании этой кривой необходимо иметь в виду, что
RC/RD = (1/4)(TC/TD), (Д.4)
где TC и TD - постоянные времени заряда и разряда.
Например, при желании получить показание ИП не менее 90 % реального пикового значения при частоте повторения 1 Гц необходимо иметь следующие соотношения постоянной времени разряда и постоянной времени заряда:
1,25 · 106 - в полосе частот от 0,15 до 30 МГц;
1,67 · 107 - в полосе частот от 30 до 1000 МГц.
Д.5 Соотношение между показаниями измерительных приемников с детекторами пиковых и квазипиковых значений
Значение площади импульса IS, необходимое для получения отклика ИП с пиковым детектором, эквивалентного отклику на немодулированный синусоидальный сигнал на частоте настройки со среднеквадратическим значением 2 мВ, равно
1,4/Bimp (мВс), (Д.5)
где значение Вimp выражают в герцах.
В полосах частот, указанных в 4.2, таблица 1, на уровне 6 дБ значение Вimp равно 1,05B6 (см. раздел Д.2). Значение Вimp и соответствующее значение IS, необходимые для ИП с пиковым детектором, будут равны:
- в полосе частот А:
ISпик = 6,67 · 10-3 мВс,
Bimp = 0,21 · 103 Гц;
- в полосе частот В:
ISпик =0,148 · 10-3 мВс,
Bimp = 9,45 · 103 Гц;
- в полосах частот С, D:
ISпик = 0,011 · 10-3 мВс,
Bimp = 126 · 103 Гц.
Тогда, используя значения а, мкВ/с, по 4.4.1, таблица 2, для квазипикового значения IS получим, что отношение IS в квазипиковых значениях к IS в пиковых значениях для получения того же показания будет:
- для полосы частот А - 6,1 дБ (при частоте повторения импульсов 25 Гц); для полосы частот В - 6,6 дБ (при частоте повторения импульсов 100 Гц);
- для полос частот С и D - 12,0 дБ (при частоте повторения импульсов 1000 Гц).
Рисунок Д.2 - Коэффициент выпрямления импульсов Р (показания прибора в процентном отношении к реальному
пиковому значению)
Д.6 Параметры испытательных импульсов для полосы частоте (1 - 18 ГГц)
Генераторов прямоугольных импульсов, имеющих равномерную спектральную плотность во всей полосе частот Е (до частоты 18 ГГц), не существует. В связи с этим при измерении импульсной характеристики ИП в полосе частот Е используют импульсно-модулированную несущую с частотой, равной частоте настройки приемника. Длительность импульса должна быть не более 1/3Вimp; ее значение устанавливают с максимальной точностью для того, чтобы избежать недопустимо высокой погрешности устанавливаемого значения площади испытательных импульсов. Помимо традиционного измерения длительности импульса с помощью осциллографа, ее значение можно находить по расстоянию между минимумами спектральной плотности (см. рисунок Д.3).
Для ИП с пиковым детектором и шириной полосы Bimp, равной 1 МГц, требуемая площадь импульса 1,4/Вimp, мВс (см. 5.4), будет 1,4 нВс. Два варианта значений параметров импульса площадью 1,4/Вimp, мВс, приведены в таблице Д.1.
Таблица Д.1 - Параметры испытательного импульса площадью 1,4/нВс
|
Ширина импульса wp, нс |
Уровень несущей (ЭДС) Lcarrier, дБ (мкВ) |
|
100 |
86 |
|
200 |
80 |
Для ИП с линейным детектором средних значений требуемая площадь импульса 1,4/n, мВс, где n - частота повторения импульсов (см. 6.4.1) при п = 50000 должна быть 28 нВс, т.е. на 26 дБ больше, чем для ИП с пиковым детектором при Вimp, равной 1 МГц.
Для ИП с детектором среднеквадратических значений требуемая площадь импульса должна составлять 44 (B3-1/2) мкВс (см. 6.4.1) при частоте повторения импульсов 1 кГц (см. 7.4.1). При ширине импульсной полосы пропускания Вimp, равной 1 МГц, соответствующее значение B3 равно 700 кГц. Следовательно, необходимая площадь импульса будет равна 52,6 нВс, т.е. на 31,5 дБ больше, чем для ИП с пиковым детектором при Вimp, равной 1 МГц.
Рисунок Д.3 - Спектрограмма импульсно-модулированного сигнала при ширине импульсов 200 нс
Д.7 Измерение ширины импульсной полосы пропускания Вimp
Ширину импульсной полосы пропускания Вimp, МГц, определяют по формуле
Bimp = Up/D, (Д.6)
где U - пиковое значение, измеренное приемником, мкВ;
D - спектральная плотность испытательного импульса, мкВ/МГц.
Обе величины (U и D) принято калибровать в среднеквадратических значениях немодулированного синусоидального сигнала измерительных приемников СИСПР.
Часто точное значение спектральной плотности импульса неизвестно. В этом случае появляется неопределенность в нахождении ширины Вimp. Для уменьшения этой неопределенности могут быть использованы методы, приведенные ниже.
В методах 1 и 2 для уменьшения неопределенности проводят не одно, а два измерения. В методе 3 для расчета значения Вimp используют кривую избирательности, т.к. Вimp является «шириной полосы напряжения» ИП (не следует путать с шириной полосы мощности или эквивалентной шириной полосы шума, которые определяют среднеквадратическое значение гауссовского шума при использовании ИП с детектором среднеквадратических значений).
Ширина полосы напряжения Вimp шире В6, но коэффициента для определения соотношения между Вimp и B6 (или B3) в общем случае не существует.
Метод 1. Определение Вimp по откликам на импульсы с разной частотой повторения
Данный метод используют при небольших длительностях импульсов (см. рисунок Д.4). Определение значения Вimp в данном методе строится на сравнении откликов на импульсы с высокой (fp >> Вimp) и низкой (f << Вimp) частотами повторения.
При высокой частоте повторения приемник можно настроить на частоту несущей, как показано на рисунке Д.5, а при низкой частоте повторения спектр будет иметь широкополосный вид, как показано на рисунке Д.6, со спектральной плотностью импульсов D = U1t. Форма импульсов, т.е. амплитуда U1 и длительность t, не должна зависеть от частоты повторения импульсов. При Вimp = 1 МГц значение fp1 допускается выбирать равным 30 МГц, a fp2 - равным 30 кГц.
t - ширина импульса (на уровне 50 % U1);
fp = 1/T - частота повторения импульсов;
f0 = 1/Т0 - частота несущей сигнала
Рисунок Д.4 - Импульсно-модулированный ВЧ сигнал, подаваемый на ИП
Рисунок Д.5 - Фильтрация в случае, если значение Bimp намного меньше частоты повторения импульсов
Рисунок Д.6 - Фильтрация в случае, если значение Biтр намного больше частоты повторения импульсов
При первом измерении (в случае fp >> Вimp) можно ожидать, что амплитуда U2 в среднеквадратических значениях будет равна U2 = U1 · t · fp1. Снизить неопределенность измерения можно, увеличив отношение сигнал/шум и обеспечив отсутствие перегрузки.
Во втором измерении (в случае fp << Bimp) можно ожидать, что максимальный отклик в среднеквадратических значениях пика на переходный процесс будет Up = U1 · t · Вimp.
Если произведение U1 · t при обоих измерениях одинаковое, то Вimp по результатам двух измерений (см. также рисунок Д.7) определяется как
Bimp = fp1 · Up/U2. (Д.7)
Рисунок Д.7 - Расчет ширины импульсной полосы пропускания ИП
Метод 2. Определение Вimp путем сравнения откликов на импульсный сигнал испытуемого и вспомогательного фильтров
В случае отсутствия генератора импульсов, имеющего независимую от частоты повторения импульсов амплитуду при относительно низких значениях этой частоты, допускается применять метод 2.
Метод базируется на том же принципе, что и метод 1, однако вместо изменения частоты повторения импульсов при втором измерении в этом методе проводится замена испытуемого фильтра на вспомогательный фильтр, ширина полосы которого намного меньше частоты повторения импульсов.
Спектральную плотность импульсов D по данному методу определяют как
D = Uk/fp,
где Uk - измеренное напряжение спектральной линии (например, частоты несущей, если сигнал представляет собой импульсно-модулированную несущую, или центральной линии при частоте приемника, на которой следует измерять Bimp);
fp - частота повторения импульсов. Значение fp должно быть намного больше самой узкой полосы и намного меньше подлежащей измерению полосы Вimp, т.е. Bnarrow << fp << Вimp (примерные значения для Вimp = 1 МГц: Bnarrow = 9 кГц и fp = 100 кГц).
Суть метода состоит в сравнении откликов узкополосного фильтра и испытуемого фильтра на немодулированный синусоидальный сигнал, поступающий на оба фильтра, и получении коэффициента коррекции с для расчета значения D (c = U1/U2, где U1 - значение при «узкополосном» фильтре, a U2 - при «широкополосном»).
При известном коэффициенте коррекции спектральную плотность можно найти как D = с · Uk/fp. Когда значение D определено, измеряют значение Up при пиковом детекторе и с помощью соотношения (Д.2) рассчитывают значение Вimp.
Метод 3. Определение Вimp интегрированием нормализованной линейной функции частотной избирательности
Данный метод имеет среднюю точность и применяется при использовании фильтров (например цифровых) с абсолютно линейной функцией частотной избирательности U (f) при условии, что ширина полосы видео в 10 или более раз превышает ширину импульсной полосы пропускания Вimp (Bvideo >> Bimp).
В этом случае импульсную ширину полосы измерительного приемника определяют как площадь нормализованной линейной функции избирательности U(f) при коэффициенте нормализации 1/Umax:

где Umax - максимальное значение U(f).
Для измерения функции избирательности U(fn) измерительные приемники, имеющие цифровое отображение высокой разрешающей способности, можно настроить на N шагов Df. Для корректного определения ширины импульсной полосы пропускания Bimp измерения проводят на 100 частотах (N = 101), взятых с равномерным шагом Df в пределах уровней до 60 дБ.
ИП с настройкой можно настроить так, чтобы начальная и конечная частоты совпали с точками 60 дБ кривой фильтра, а развертка позволяла получить значение амплитуды. Уровень подаваемого на вход фильтра испытательного синусоидального сигнала должен позволять отследить форму частотной характеристики испытуемого фильтра.
Значение Вimp находят по формуле
![]()
Пример нормализованной линейной функции избирательности приведен на рисунке Д.8.
Рисунок Д.8 - Пример нормализованной линейной функции частотной избирательности
С учетом исключений, приведенных в ГОСТ Р 51318.14.1, пункт 4.2.3, анализатор кратковременных ИРП должен фиксировать следующую дополнительную информацию:
а) число кратковременных ИРП длительностью не более 10 мс;
б) число кратковременных ИРП длительностью более 10 мс, но не более 20 мс включительно;
в) число кратковременных ИРП длительностью более 20 мс, но не более 200 мс включительно;
г) длительность каждой зарегистрированной ИРП, амплитуда которой превышает норму непрерывных ИРП в квазипиковых значениях;
д) сообщение, что испытуемое техническое средство не прошло испытание на кратковременные ИРП, если результаты измерений показывают, что создаваемые ИРП не являются кратковременными (не соответствуют определению кратковременной ИРП) и не подпадают под действие какого-либо из исключений;
е) временной интервал от начала испытания до появления ИРП;
ж) суммарную длительность ИРП, превышающих норму непрерывных ИРП в квазипиковых значениях, но не относящихся к кратковременным ИРП.
з) частоту кратковременных ИРП.
Испытательные сигналы анализатора кратковременных ИРП приведены в таблице Е.1.
Таблица Е.1 - Испытательные сигналы анализатора кратковременных ИРПа)
|
Параметр испытательного сигнала |
|||||||
|
1 |
2 |
3 |
4 |
5 |
|||
|
Квазипиковое значение амплитуды импульсов, измеренное относительно квазипикового опорного показания ИП, дБ |
Длительность импульсовб), измеренных на выходе ПЧ измерительного приемника, мс |
Длительность интервала между импульсами (выход ПЧ), мс |
Оценка помехи анализатором кратковременных ИРП |
Графическое представление испытательного сигнала, наблюдаемого на выходе ПЧ, и связанного с ним квазипикового сигнала относительно опорного показания ИП |
|||
|
Импульс 1 |
Импульс 2 |
Импульс 1 |
Импульс 2 |
||||
|
1 |
1 |
- |
0,11 |
- |
- |
1 КВП £ 10 мс |
|
|
2а) |
1 |
- |
9,5 |
- |
- |
1 КВП £ 10 мс |
|
|
3а) |
1 |
- |
10,5 |
- |
- |
10 мс < 1 КВП £ 20 мс |
|
|
4 |
1 |
- |
19 |
- |
- |
10 мс < 1 КВП £ 20 мс |
|
|
5 |
1 |
- |
21 |
- |
- |
1 КВП > 20 мс |
|
|
6 |
1 |
- |
190 |
- |
- |
1 КВП > 20 мс |
|
|
7 |
5 |
5 |
210 |
210 |
150 |
1 КВП > 20 мс, если сигнал появляется только один раз за цикл программы или за минимальное время наблюдения (см. примечание 1, Е2, «правило 600 мс»). |
|
|
В ином случае - непрерывная помеха (570 мс). |
|||||||
|
8 |
5 |
5 |
220 |
220 |
190 |
Непрерывная помеха (см. примечание 1, Е2: никакое исключение не применимо, т.к. полная длительность 630 мс (> 600 мс). Вывод: «ТС не проходит испытания». |
|
|
9 |
5 |
5 |
190 |
190 |
190 |
Если частота повторения КВП менее 5, считают, что 2 КВП > 20 мс (см. примечание 1, Е4; см. также примечание 3) |
|
|
В ином случае 1 КВП > 20 мс, если сигнал появляется только один раз за цикл программы или за минимальное время наблюдения (см. примечание 1, Е2). В противном случае: непрерывная помеха (570 мс.). Вывод «ТС не проходит испытания» |
|||||||
|
10 |
5 |
5 |
50 |
50 |
185 |
Если конечная частота КВП менее 5, считают, что 2 КВП > 20 мс (см. примечание 1, Е4; см. также примечание 3). |
|
|
|
|
|
|
|
|
В ином случае, если сигнал появляется не более одного раза за цикл программы или за минимальное время наблюдения, считают, что 1 КВП < 600 мс (см. примечание 1, Е2, 2 · 285 мс > 20 мс). В противном случае: непрерывная помеха (285 мс). Вывод: «ТС не проходит испытания». |
- |
|
11 |
20 |
20 |
15 |
5 |
1 импульс 1 + 9 импульсов 2, повторяются до регистрации 40 КВП при расстоянии между каждым импульсом 13 с |
36 КВП < 10 мс; 20 мс ³ 4 КВП > 10 мс; более 90 % КВП < 10 мс. Вывод: «ТС проходит испытания». (См. примечание 1, Е3; см. также примечание 4; измерение амплитуд КВП не требуется) |
- |
|
12 |
20 |
20 |
15 |
5 |
1 импульс 1 + 8 импульсов 2, повторяются до регистрации 40 КВП при расстоянии между импульсами 13 с |
35 КВП < 10 мс; 20 мс ³ 5 КВП > 10 мс; менее 90 % КВП < 10 мс (см. примечание 1, Е3; см. также примечание 4). Исключение не применяется. После применения метода верхнего квартиля итоговым результатом будет вывод «ТС не проходит испытания», так как амплитуды КВП слишком велики. |
- |
|
а) Испытательные сигналы, используемые для проверки характеристик с учетом исключений из определения КВП в соответствии с ГОСТ Р 51318.14.1, пункт 4.2.3. б) Время нарастания импульсов должно быть не более 40 мкс. Примечания 1 В ГОСТ Р 51318.14.1, пункт 4.2.3, установлены следующие исключения: Е1 - «отдельные операции коммутации» Применить данное исключение может только оператор; оно не может быть оценено автоматически анализатором кратковременных ИРП. Данное исключение учтено в настоящем разделе, для того чтобы избежать путаницы с проставлением номеров исключений для пользователей настоящего стандарта и ГОСТ Р 51318.14.1. Е2 - «комбинация кратковременных помех (КВП) во временном интервале менее 600 мс» («правило 600 мс») В испытуемых ТС с программным управлением комбинация КВП во временном интервале менее 600 мс допускается один раз за выбранный цикл программы. Для других испытуемых ТС такая комбинация КВП допускается 1 раз за минимальное время наблюдения. Это также относится к трехфазным коммутаторам с термостатическим управлением, создающим три помехи в каждой из трех фаз соответственно и нейтральном проводе. Комбинация КВП рассматривается как 1 КВП. Е3 - «мгновенная коммутация» Технические средства, создающие помехи, отвечающие условиям: частота повторения КВП не более 5; ни одна из создаваемых КВП не имеет длительности более 20 мс; 90 % создаваемых КВП имеют длительность менее 10 мс, должны считаться прошедшими испытания (соответствующими нормам) независимо от амплитуды КВП. Если одно из трех условий не выполнено, применяют нормы непрерывных ИРП. Е4 - «разделение КВП длительностью менее 200 мс». Для технических средств, у которых частота КВП менее 5, любые две помехи, каждая из которых имеет максимальную длительность 200 мс, должны расцениваться как две КВП, даже если интервал времени между помехами менее 200 мс. В этом случае, например для помех от холодильников, такие помехи должны расцениваться как две КВП, а не как непрерывная помеха. 2 Исключение Е2 должно применяться в том случае, если неприменимо исключение Е4. 3 Проверочные сигналы 11 и 12 применяются только в случае, если можно использовать исключение Е3, т.к. следующий расчет показывает что, включая КВП при «0» секунд для проверочных сигналов 11 и 12 требуемые 40 КВП будут отсчитываться после 13 - 39 = 507 с, т.е. 8,45 мин. Частота КВП составляет 40/8,45 = 4,734 (менее 5, как и требуется, - здесь все зависит от длительности 90 % КВП: менее 10 мс или нет). 4 Ослабление нормы для КВП в соответствии с ГОСТ Р 51318.14.1 равно 20 log (30/4,734) = 16,04 дБ. Следовательно, при проверочных сигналах 11 и 12 (амплитуда на 20 дБ превышает норму) испытуемое ТС не проходит проверку по методу верхнего квартиля (допускающего, что не более 25 % КВП могут превысить норму кратковременных ИРП) в соответствии с ГОСТ Р 51318.14.1. |
|||||||
Рисунок Е.1 -
Графическое представление испытательных сигналов, используемых при проверке
работы
анализатора кратковременных ИРП, соответствующего дополнительным требованиям,
приведенным в таблице Е.1
а) Динамический диапазон амплитуд ИРП
Динамический диапазон амплитуд ИРП определяют как интервал, включающий в себя все возможные значения амплитуд ИРП, необходимый для измерения функции распределения амплитуд. Верхний предел динамического диапазона должен быть больше пикового уровня измеряемой ИРП, а нижний - меньше нормы ИРП, установленной для конкретного испытуемого ТС.
В соответствии с ГОСТ Р 51318.11 норма ИРП (пиковое значение) для ПНМБ устройств группы 2 класса Б установлена равной 110 дБмкВ/м, а «взвешенная» норма составляет 60 дБмкВ/м. Следовательно, динамический диапазон должен быть больше 60 дБ (с запасом 10 дБ).
б) Частота выборки
В идеальном случае функцию распределения амплитуд ИРП определяют с использованием эквивалентной ширины полосы защищаемой радиослужбы. Однако для частот свыше 1 ГГц полосу разрешения анализаторов помех определяют как 1 МГц. Поэтому скорость выборки должна быть более 10 млн отсчетов в секунду.
в) Максимальное время измерения
В ГОСТ Р 51318.11 определено максимальное время удержания 2 мин при измерениях ИРП от микроволновых печей для приготовления пищи с применением измерителя с пиковым детектором на частоте свыше 1 ГГц. Следовательно, время измерения при определении функции распределения должно быть не менее 2 мин. Размер счетчика или ограниченность памяти могут затруднить проведение непрерывных измерений в течение длительных периодов. Поэтому допускаются периодические измерения при условии, что общее время пауз между измерениями составляет менее 1 % полного времени измерения.
г) Минимальное время измерения
Для получения достоверно значимого результата может потребоваться около 100 циклов измерений. Поэтому минимальное значение фиксируемой вероятности рассчитывают следующим образом.
Считают, что время измерения равно 2 мин, а число отсчетов - 10 млн в секунду; следовательно, минимальная вероятность определяется как 100/(120 · 10 · 106) ~ 10-7.
д) Отображение данных распределения вероятностей амплитуд ИРП
Амплитудное разрешение при отображении результатов распределения амплитуд ИРП зависит от динамического диапазона и разрешающей способности аналого-цифрового преобразователя. Например, разрешение отображения становится менее 0,25 дБ (~ 60 дБ/256) при использовании 8-битового аналого-цифрового преобразователя при динамическом диапазоне амплитуд ИРП, равном 60 дБ.
Блок-схемы устройств измерения функции распределения амплитуд ИРП представлены на рисунках Ж.1, Ж.2. Пример функции распределения амплитуд ИРП приведен на рисунке Ж.3.
Рисунок Ж.1 -
Блок-схема устройства измерения функции распределения амплитуд ИРП
без аналого-цифрового преобразователя
ЗУ - запоминающее устройство
Рисунок Ж.2 -
Блок-схема устройства измерения функции распределения амплитуд ИРП
с аналого-цифровым преобразователем
Рисунок Ж.3 - Пример функции распределения амплитуд ИРП
Таблица И.1
|
Обозначение ссылочного национального стандарта Российской Федерации |
Обозначение и наименование ссылочного международного стандарта и условное обозначение степени его соответствия ссылочному национальному стандарту |
|
(СИСПР 11:2004) |
СИСПР 11:2004 «Промышленные научные и медицинские (ПНМ) высокочастотные устройства. Характеристики электромагнитных помех. Нормы и методы измерений» (MOD) |
|
(СИСПР 14-1:2005) |
СИСПР 14-1:2005 «Электромагнитная совместимость. Требования для бытовых приборов, электрических инструментов и аналогичных устройств. Часть 1. Эмиссия электромагнитных помех» (MOD) |
|
(СИСПР 16-4-2:2003) |
СИСПР 16.4.2:2003 «Технические требования к аппаратуре для измерения радиопомех и помехоустойчивости и методы измерений. Часть 4-2. Неопределенности, статистика и моделирование норм. Неопределенность измерений в области ЭМС» (MOD) |
|
СИСПР 16-2:1996 «Технические требования к аппаратуре для измерения радиопомех и помехоустойчивости и методы измерений. Часть 2. Методы измерений радиопомех и помехоустойчивости» (NEQ) |
|
|
МЭК 60050-161:1990 «Международный электротехнический словарь. Глава 161. Электромагнитная совместимость» (NEQ) |
|
|
МЭК 60050-161:1990 «Международный электротехнический словарь. Глава 161. Электромагнитная совместимость» (NEQ) |
|
|
Примечание - В настоящей таблице использованы следующие обозначения степени соответствия стандартов: MOD - модифицированный стандарт; NEQ - неэквивалентный стандарт |
|
|
СИСПР 16-2 |
Требования к аппаратуре для измерения радиопомех и помехоустойчивости и методы измерения. Методы измерения радиопомех и помехоустойчивости |
|
|
(части 2-1, 2-2, 2-3, 2-4) |
||
|
СИСПР 16-3 |
Требования к аппаратуре для измерения радиопомех и помехоустойчивости и методы измерений. Технические отчеты СИСПР |
|
|
СИСПР 16-4 |
Требования к аппаратуре для измерения радиопомех и помехоустойчивости и методы измерений. Неопределенности, статистика и моделирование норм |
|
|
(части 4-1, 4-2, 4-3, 4-4) |
||
|
МЭК 60050-161:1990 |
Международный электротехнический словарь. Глава 161. Электромагнитная совместимость |
|
|
ЕН 50065-1/А2:2001 |
Передача сигналов в низковольтных системах электроснабжения в полосе частот от 3 до 148, 5 кГц. Часть 1. Общие требования, полосы частот и нормы электромагнитных помех |
Ключевые слова: электромагнитная совместимость, измерительные приемники, детектор, полоса частот, импульсная характеристика, индустриальные радиопомехи, кратковременные радиопомехи