Информационная система
«Ёшкин Кот»

XXXecatmenu

ЗАО «ТОЧИНВЕСТ»

ГОСУДАРСТВЕННОЕ ПРЕДПРИЯТИЕ «РОСДОРНИИ»

 

ОГРАЖДЕНИЯ БАРЬЕРНЫЕ УДЕРЖИВАЮЩИЕ
ДЛЯ АВТОМОБИЛЕЙ, БОКОВЫЕ В ОДНОСТОРОННЕМ
И ДВУСТОРОННЕМ ИСПОЛНЕНИИ
МОСТОВОЙ И ДОРОЖНОЙ ГРУПП

ТЕХНИЧЕСКИЕ УСЛОВИЯ

 

ТУ 5216-006-44884945-2006

 

 

 

Срок действия - с 01.11.2006 г.

2006 г.

 

ЗАО «ТОЧИНВЕСТ»

Государственное предприятие «РосдорНИИ»

Согласовано

 

Утверждаю

Зам. начальника Департамента ОБДД МВД России

 

Генеральный директор ЗАО «ТОЧИНВЕСТ»

______________ П.И. Бугаев

 

_________А.В. Константинов

«__» ________ 2006 г.

 

«__» ________ 2006 г.

 

 

Генеральный директор ГП РосдорНИИ

 

 

______________ С.В. Федотов

 

 

«__» ________ 2006 г.

 

ТЕХНИЧЕСКИЕ УСЛОВИЯ

Ограждения барьерные удерживающие для автомобилей, боковые в одностороннем и двустороннем исполнении мостовой и дорожной групп

ТУ 5216-006-44884945-2006

Срок действия - с 01.11. 2006 г.

Разработаны:

Технический директор ЗАО «Точинвест»

 

_______________ А.Н. Тепловодский

________ 2006 г.

Зав. отделением ГП РосдорНИИ, д.т.н.

________________ В.И. Шестериков

________ 2006 г.

Зам. технического директора ЗАО «Точинвест»

____________ Н.А. Трутнев

________ 2006 г.

Ведущий конструктор ЗАО «Точинвест»

_____________ Якушев Г.А.

________ 2006 г.

Настоящие технические условия распространяются на ограждения барьерные удерживающие для автомобилей, боковые в одностороннем и двустороннем исполнении мостовой и дорожных групп.

Ограждения по настоящим техническим условиям применяют на разделительной полосе автомобильных дорог и мостовых сооружений при любых условиях движения на дороге (таблица 1), а также на обочине дороги и по границе ездового полотна и тротуара, на мостовых сооружениях с различной группой сложности дорожных условий по таблицам 2 и 3. Группа сложности дорожных условий принимается по ГОСТ Р 52289-2004. Конструкция двустороннего ограждения представленная схемой б) в таблице 5 может применяться при установке в городских условиях при наличии подземных коммуникаций, а также при установке в качестве двустороннего ограждения на мостах (ограждения типа 11МД).

Ограждения мостовой группы могут быть применены во всех сооружениях, где не требуется тротуаров и на большей части сооружений, где требуются тротуары и служебные проходы. Учитывая, что настоящие технические условия распространяются на дорожные ограждения высотой ≥ 0,9 м, при применении конструкции высотой менее 0,9 м, используются другие виды ограждений.

Технические условия разработаны в соответствии с требованиями Европейских стандартов ЕN 1317-1:1998 и ЕN1317-2:1998.

Таблица 1

Область применения двусторонних ограждений на разделительной полосе

Участок автомобильных дорог

Группа сложности дорожных условий

Количество полос движения на дороге

≥ 6 полос

4 полосы

Разделительная полоса

А

У6

У5

Б

У5

У4

Таблица 2

Область применения односторонних ограждений мостовой группы

Наличие тротуаров

Допустимый прогиб, м

Требуемая высота, м

Группа сложности дор. условий

Категория дороги (число полос движения)

I (≥ 6п)

I (≥ 4п)

II (2, 3п)

III (2п)

IV(2п)

V(1п)

Уровни удерживающей способности

Без тротуаров

1,0

1,1 ÷ 1,5

В

У9

У8

У6

У5

У4

Г

У7

У6

У5

У4

У3

Д

У6

У5

У4

У3

У2

Служебный проход, тротуар в = 1,0 м

0,75

0,6 ÷ 1,3

В

 

 

У5

У4

У3

Г

 

У5

У4

У3

 

Д

У5

У4

У3

 

 

Тротуары шириной > 1,0 м

1,25

0,6 ÷ 1,1

В

У8

У7

У5

У4

 

Г

У6

У5

У4

 

 

Д

У5

У4

 

 

 

Таблица 3

Область применения односторонних ограждений дорожной группы

Участки автомобильных дорог

Продольный уклон дороги, ‰

Группа сложности дорожных условий

Категория дороги с числом полос движения в обоих направлениях

I

II

III

IV

V

≥ 6 полос

4 пол.

2 - 3 пол.

2 пол.

2 пол.

1 пол.

Кривизна радиусом > 600 м. Обочины на внутренней стороне кривой с радиусом до 600 м, на спуске и после него на длине 100 м

до 40

А

У5

 

 

 

 

 

Б

 

 

 

 

 

 

> 40

А

У6

У5

 

 

 

 

Б

У5

 

 

 

 

 

Обочина с внешней стороны кривой в плане с радиусом до 600 м

до 40

А

У6

У5

 

 

 

 

Б

У5

 

 

 

 

 

> 40

А

У6

У5

У4

 

 

 

Б

У5

У4

 

 

 

 

Обочина на вогнутой кривой (разница встречных уклонов ≥ 50 %)

 

А

У6

У5

 

 

 

 

Б

У5

 

 

 

 

 

Условные обозначения марки участков ограждений составляются по схеме:

 

х

х

-

х

х

-

х

/

х

-

х

-

х

-

х

 

 

 

 

 

 

 

 

 

 

 

 

 

 

 

 

 

 

 

 

 

 

 

 

 

 

 

 

 

 

 

 

 

 

 

 

 

 

 

 

 

 

 

 

 

 

 

 

 

 

 

 

энергоёмкость, кДж

 

класс

 

 

 

 

 

 

 

 

 

 

 

 

 

 

 

 

 

 

 

 

 

 

 

 

прогиб, м

 

тип

 

 

 

 

 

 

 

 

 

 

 

 

 

 

 

 

 

 

 

 

 

 

 

 

шаг стоек, м

 

группа

 

 

 

 

 

 

 

 

 

 

 

 

 

 

 

 

 

 

 

 

 

 

 

 

 

подгруппа

 

 

 

 

 

 

 

 

 

 

 

 

 

 

 

 

 

 

 

 

 

 

 

 

 

TV

 

 

 

 

 

 

 

 

 

 

 

 

 

 

 

 

 

 

 

 

 

 

 

 

высота, м

 

Класс обозначается цифрой 1 - ограждение боковое;

Тип обозначается цифрой 1 - балка ограждения крепится к стойке;

Группа - буквой Д - ограждение дорожное (устанавливается на обочине или разделительной полосе дороги);

- буквой М - ограждение мостовое (устанавливается по краям ездового полотна или на разделительной полосе мостового сооружения);

Исполнение - буквой - О - односторонние ограждения;

Д - двусторонние ограждения.

Модификации - буквой Н - начальный участок;

К - конечный участок.

В настоящем ТУ предусмотрены конструкции:

11ДД-ТУ 5216-006-44884945-2006 / H-а-y-E

11ДО-ТУ 5216-006-44884945-2006 / H-а-y-E

11МО-ТУ 5216-006-44884945-2006 / H-а-y-E

11МД-ТУ 5216-006-44884945-2006 / H-а-y-E

где:

H - высота стойки,

а - шаг стоек,

у - прогиб динамический.

Е - энергоёмкость.

Примеры записи условных обозначений участков ограждений:

Участок рабочий группы Д, односторонний, с высотой стоек 1,1 м с шагом стоек 2,0 м, с динамическим прогибом 1,0 м и удерживающей способностью 500 кДж

11ДО - ТУ 5216-006-44884945-2006 / 1,1-2,0-1,0-500

Участок рабочий группы ДД, двусторонний, с высотой стоек 1,1 м с шагом стоек 3,0 м, с динамическим прогибом 1,25 м и удерживающей способностью 450 кДж

11ДД - ТУ 5216-006-44884945-2006 / 1,1-3,0-1,25-450

Участок рабочий мостовой группы МД, двусторонний, с высотой стоек 1,1 м с шагом стоек 3,0 м, с динамическим прогибом 1,25 м и удерживающей способностью 480 кДж

11МД - ТУ 5216-006-44884945-2006 / 1,1-3,0-1,25-480

Участок рабочий мостовой группы МО, односторонний, с высотой стоек 0,9 м, с шагом стоек 2,0 м, с динамическим прогибом 0,75 м и удерживающей способностью 300 кДж

11МО - ТУ 5216-006-44884945-2006 / 0,9-2,0-0,75-300

Участок начальный группы Д, односторонний, с высотой стоек 1,1 м с шагом стоек 2,0 м, с динамическим прогибом 1,0 м и удерживающей способностью 500 кДж

11ДО-Н - ТУ 5216-006-44884945-2006 / 1,1-2,0-1,0-500

1. Технические требования

1.1. Основные параметры и размеры

1.1.1 Ограждения барьерные удерживающие для автомобилей, боковые в одностороннем и двустороннем исполнении мостовой и дорожных групп должны соответствовать требованиям настоящих технических условий, ГОСТ Р 52289-2004 и конструкторской документации ТР-12.01.004 - ТР-14.02.07.000, ТР-104.01.001 - ТР-123.03.000, утвержденной в установленном порядке.

1.1.2 Основные части ограждения указаны на рисунке В1, Приложение В.

1.1.3 По назначению ограждения подразделяются на группы:

11ДО - дорожные односторонние с одинарной и двойной стойкой (рисунок В2, Приложение В).

Основные параметры указанных конструкций приведены в таблице 4 - конструкции под порядковыми номерами 1 - 6.

11ДД - двусторонние дорожные ограждения в двух вариантах:

а) с одинарной стойкой - стойки заглублены в грунт;

б) со сдвоенной стойкой при закреплении стоек на железобетонном фундаменте (применяются также в качестве двусторонних мостовых - 11МД).

Основные параметры указанных конструкций приведены в таблице 5 - конструкции под порядковыми номерами 7 - 13.

11МО - мостовые односторонние с одинарной и двойной стойкой (рисунки В3 - В7, Приложение В).

Основные параметры указанных конструкций приведены в таблице 6 - конструкции под порядковыми номерами 14 - 40.

1.1.4 Конструктивные элементы и основные размеры ограждений:

- СБЕ, СБЕ-А - секция балки (рисунок В.8, Приложение В);

- СБ - секция балки (рисунок В.9, Приложение В);

- CД - стойка дорожная (рисунок В.10, Приложение В);

- CДР - стойка дорожная (рисунок В.11, Приложение В);

- CДС - стойка дорожная (рисунок В.12, Приложение В);

- CДРЦ - стойка дорожная (рисунок В.13, Приложение В);

- CМО-0,9 - стойка мостовая одинарная (рисунок В.14, Приложение В);

- CМОС-0,9 - стойка мостовая сдвоенная (рисунок В.15, Приложение В);

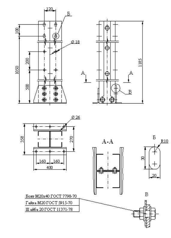
- CМО-1,1 - стойка мостовая одинарная (рисунок В.16, Приложение В);

- CМОС-1,1 - стойка мостовая сдвоенная (рисунок В.17, Приложение В);

- CМО-1,3 - стойка мостовая одинарная (рисунок В.18, Приложение В);

- CМОС-1,3 - стойка мостовая сдвоенная (рисунок В.19, Приложение В);

- CМО-1,5 - стойка мостовая одинарная (рисунок В.20, Приложение В);

- CМОС-1,5 - стойка мостовая сдвоенная (рисунок В.21, Приложение В);

- КА-1 - консоль - амортизатор (рисунок В.22, Приложение В);

- КА-2 - консоль - амортизатор (рисунок В.23, Приложение В);

- СА-1 - связь анкерная (рисунок В.24, Приложение В);

- СА-2 - связь анкерная (рисунок В.25, Приложение В);

- ВС-1 - вставка стыковая (рисунок В.26, Приложение В);

- ВС-2 - вставка стыковая (рисунки В.27, В.39, Приложение В);

- ВТ - вставка телескопическая (рисунки В.28, В.40, Приложение В);

- ВТ-2 - вставка телескопическая (рисунок В.29, Приложение В);

- ЭКЕ - элемент концевой (рисунок В.30, Приложение В);

- ЭП-1 - элемент переходной (рисунок В.31, Приложение В);

- ЭП-2 - элемент переходной (рисунок В.32, Приложение В);

- СДО-М - световозвращатель (рисунки В.33, В.42, В.43, Приложение В);

- КС-1 - кронштейн световозвращателя (рисунок В.34, Приложение В);

- КС-2 - кронштейн световозвращателя (рисунок В.35, Приложение В);

- КС-3 - кронштейн световозвращателя (рисунок В.36, Приложение В);

- ПЛ - пластина (рисунок В.37, Приложение В);

- ВР-1 (ВР-2) - втулки распорные (рисунок В3.8, Приложение В);

- ЭКЕ - установка элемента концевого (рисунок В.41, Приложение В).

1.1.5 Основные параметры и размеры ограждений должны соответствовать указанным на рисунках В.1 - В.76 (Приложение В) и в таблицах 4, 5, 6.

Ограждения дорожные односторонние

Таблица 4

Схема

№ п/п

Сечение стойки

Шаг стоек а, м

Обознач. уровня удерж. способ. энергоём. Е, кДж*)

Прогиб Уmax, м

Рабочая ширина В, м

Марка участка

Масса, кг/м

1

одинарная

1,5

У8

500

1,0

1,15

11ДО-ТУ 5216-006-44884945-2006/1,1/1,5-1,0-500

59,26

2

2,0

У7 (У6)

450 (400)

1,0

1,15

11ДО-ТУ 5216-006-44884945-2006/1,1/2,0-1,0-450

53,06

3

3,0

У6 (У5)

400 (350)

1,1

1,25

11ДО-ТУ 5216-006-44884945-2006/1,1/3,0-1,1-400

46,06

4

4,0

У5 (У4)

350 (300)

1,25

1,5

11ДО-ТУ 5216-006-44884945-2006/1,1/4,0-1,25-350

42,64

5

сдвоенная

2,0

У9 (У8)

550 (500)

1,0

1,25

11ДО-ТУ 5216-006-44884945-2006/1,1/2,0-1,0-550

72,06

6

3,0

У7 (У6)

450 (400)

1,1

1,25

11ДО-ТУ 5216-006-44884945-2006/1,1/3,0-1,1-450

59,22

7

4,0

У6 (У5)

400 (350)

1,25

1,5

11ДО-ТУ 5216-006-44884945-2006/1,1/4,0-1,25-400

52,56

Примечание. Значения энергоемкости, указанные в скобках, соответствуют конструкции дорожного ограждения с балкой верхнего яруса изготовленной из стали толщиной 3 мм.

Ограждения двусторонние дорожные

Таблица 5

Схема

№ п/п

Сечение стойки

Шаг стоек а, м

Обознач. уровня удерж. способ. энергоём. Е, кДж*)

Прогиб Уmax, м*)

Рабочая ширина В, м*)

Марка участка

Масса, кг/м

а)

8

одинарная

1,0

У10 (У9)

600 (550)

1,25

1,5

11ДД-ТУ5216-006-44884945-2006/1,1/1,0-1,25-600

96,56

9

2,0

У9 (У8)

550 (500)

1,25

1,5

11ДД-ТУ5216-006-44884945-2006/1,1/2,0-1,25-550

87,63

10

3,0

У7 (У6)

450 (400)

1,25

1,5

11ДД-ТУ5216-006-44884945-2006/1,1/3,0-1,25-450

79,84

11

4,0

У5 (У4)

350 (310)

1,25

1,5

11ДД-ТУ5216-006-44884945-2006/1,1/4,0-1,25-350

76,01

б)

12

сдвоенная

2,0

У10

600

1,25/1,0

1,5/1,2

11ДД-ТУ5216-006-44884945-2006/1,1/2,0-1,25-600

107,62

13

3,0

У7

480

1,25/1,0

1,5/1,2

11ДД-ТУ5216-006-44884945-06/1,1/3,0-1,25-480

90,48

14

4,0

У6

400

1,25/1,0

1,5/1,2

11ДД-ТУ5216-006-44884945-2006/1,1/4,0-1,25-400

83,01

Примечание: 1. *) В знаменателе - для варианта б) (справедливо и для ограждения 11МД).

2. Значения энергоемкости, указанные в скобках, соответствуют конструкции дорожного ограждения с балкой верхнего яруса изготовленной из стали толщиной 3 мм.

Ограждения мостовые односторонние

Таблица 6

Схема

№ п/п

Высота, м

Сечение стойки

Шаг стоек а, м

Обознач. уровня удерж. способ. энергоём. Е, кДж*)

Прогиб Уmax,*)

м

Рабочая ширина В, м*)

Марка участка

Масса, кг/м

1

2

3

4

5

6

7

8

9

10

15

0,9

1,0

У6

400

0,75

1,0

11МО-ТУ5216-006-44884945-2006/0,9/1,0-0,75-400

62,57

16

2,0

У5

350

0,75

1,0

11МО-ТУ5216-006-44884945-2006/0,9/2,0-0,75-350

47,30

17

3,0

У4

300

0,75

1,0

11МО-ТУ5216-006-44884945-2006/0,9/3,0-0,75-300

42,00

18

1,0

У7

450

0,75

0,9

11МО-ТУ5216-006-44884945-2006/0,9/1,0-0,75-450

86,34

19

2,0

У6

400

0,75

0,9

11МО-ТУ5216-006-44884945-2006/0,9/2,0-0,75-400

57,89

20

3,0

У5

350

0,75

0,9

11МО-ТУ5216-006-44884945-2006/0,9/3,0-0,75-350

49,15

21

4,0

У4

300

0,75

0,95

11МО-ТУ5216-006-44884945-2006/0,9/4,0-0,75-300

45,75

22

1,1

1,5

У6

400

0,75

1,0

11МО-ТУ5216-006-44884945-2006/1,1/1,5-0,75-400

65,52

23

2,0

У5

350

0,75

1,0

11МО-ТУ5216-006-44884945-2006/1,1/2,0-0,75-350

48,78

24

3,0

У4

300

0,75

1,05

11МО-ТУ5216-006-44884945-2006/1,1/3,0-0,75-300

43,00

25

4,0

У3

250

0,80

1,05

11МО-ТУ5216-006-44884945-2006/1,1/4,0-0,8-250

40,50

26

1,0

У7

450

0,85

1,2

11МО-ТУ5216-006-44884945-2006/1,1/1,0-0,85-450

92,25

27

2,0

У6

400

0,85

1,2

11МО-ТУ5216-006-44884945-2006/1,1/2,0-0,85-400

62,63

28

3,0

У5

350

0,90

1,3

11МО-ТУ5216-006-44884945-2006/1,1/3,0-0,9-350

52,38

29

4,0

У4

300

1,0

1,4

11МО-ТУ5216-006-44884945-2006/1,1/4,0-1,0-300

48,35

30

1,3

1,0

У9

560

1,0

1,25

11МО-ТУ5216-006-44884945-2006/1,3/1,0-1,0-560

68,15

31

2,0

У8

500

1,0

1,25

11МО-ТУ5216-006-44884945-2006/1,3/2,0-1,0-500

50,20

32

3,0

У6

420

1,0

1,25

11МО-ТУ5216-006-44884945-2006/1,3/1,0-1,0-420

43,97

33

2,0

У9

550

1,0

1,25

11МО-ТУ5216-006-44884945-2006/1,3/2,0-1,0-550

65,07

34

3,0

У7

450

1,0

1,25

11МО-ТУ5216-006-44884945-2006/1,3/3,0-1,0-450

54,00

35

4,0

У5

350

1,0

1,25

11МО-ТУ5216-006-44884945-2006/1,3/4,0-1,0-350

49,57

36

1,5

1,0

У10

600

1,0

1,2

11МО-ТУ5216-006-44884945-2006/1,5/1,0-1,0-600

88,13

37

2,0

У8

500

1,0

1,2

11МО-ТУ5216-006-44884945-2006/1,5/2,0-1,0-500

68,74

38

3,0

У7

480

1,0

1,2

11МО-ТУ5216-006-44884945-2006/1,5/3,0-1,0-480

59,14

39

2,0

У10

627

0,9

1,1

11МО-ТУ5216-006-44884945-2006/1,5/2,0-0,9-627

83,50

40

3,0

У8

500

0,9

1,1

11МО-ТУ5216-006-44884945-2006/1,5/3,0-0,9-500

71,83

41

4,0

У6

400

1,0

1,2

11МО-ТУ5216-006-44884945-2006/1,5/4,0-1,0-400

66,21

1.1.6 Выбор марки ограждения следует производить в зависимости от категории дороги, группы дорожных условий и требуемого уровня удерживающей способности согласно правил изложенных в ГОСТ Р 52289-2004.

1.1.7 Ограждение следует изготовлять в соответствии с требованиями настоящих технических условий по рабочим чертежам, утвержденным в установленном порядке.

1.1.8 Секции балок типа СБ следует изготовлять из стального гнутого профиля с размерами 312×83. Марка стали ВСт3пс, ВСт3кп по ГОСТ 380-94 толщиной 4 мм (3 мм). Секции балок типа СБЕ (СБЕ-А) - из гнутого С-образного профиля 168×120×4 мм (168×120×3 мм).

1.1.9 Стойки СДЕ следует изготовлять из С-образного гнутого профиля 168×120×51×4 мм. Марки стали ВСт3пс, ВСт3кп, ВСт3 по ГОСТ 380-94.

1.1.10 Консоли-амортизаторы следует изготавливать из стального горячекатаного листа по ГОСТ 19903-74 толщиной 4 мм - для конструкций с одинарной стойкой (КА-1 по ГОСТ 26804-86) и толщиной 3 мм - для конструкций со сдвоенной стойкой (КА-2).

1.1.11 Световозвращатель дорожный следует изготовлять в соответствии с требованиями ГОСТ Р 50971-96 или технических условий ТУ 5217-006-44884945-05.

1.1.12 Для соединения секций балок между собой и с консолями следует применять болты М16×45 с полукруглой головкой и квадратным подголовником по ГОСТ 7802-81.

1.1.13 Для соединения консолей, сборки стоек следует применять болты М16×35, класс прочности не ниже 58, по ГОСТ 7798-70.

1.1.14 Защитное покрытие всех основных элементов ограждений должно соответствовать ГОСТ 9.307-89. В качестве антикоррозионного покрытия следует применять горячее цинкование с толщиной покрытия 80 - 120 мкм, покрытие грунтом типа ГФ-021 ГОСТ 25129-82 или другое аналогичное покрытие.

1.1.15 Предельные допустимые отклонения размеров деталей ограждений должны соответствовать ГОСТ 25347-82; отклонения секций балок от прямолинейности не должно превышать 3 мм на длине 1000 мм.

1.2 Комплектность

1.2.1 Комплект ограждения, подготовленный к отправке потребителю, должен содержать:

- комплекты участков ограждения, составленные в соответствии с таблицами 7 - 19;

- крепежные элементы в количестве, необходимом для установки ограждения;

- паспорт ограждения со свидетельством ОТК предприятия - изготовителя о приемке комплектов участков ограждения;

- инструкцию по установке ограждения;

- копию Сертификата соответствия показателей ограждения требованиям настоящих технических условий.

1.2.2                       Комплекты рабочего участка 11ДО-1,1/2,0-1,0-450 приведены в таблице 7.

Таблица 7

Элемент участка

Количество элементов в комплекте участка, шт.

Наименование

Марка

Балка (верхняя)

СБЕ1-6

L/6

Балка (нижняя)

СБ-2

L/6

Стойка

СД

L/2 + 1

Консоль-амортизатор

КА-1

L/2 + 1

Вставка стыковая

ВС-2

L/6 + 1

Втулка распорная

ВР-1

(L/6 + 1)×4

Элемент световозвращающий

СДО-М

L/4

Кронштейн

КС-2

L/4

Примечание. L - длина рабочего участка дорожного ограждения, м

1.2.3 Комплекты рабочего участка 11ДО-1,1/2,0-1,0-550 приведены в таблице 8.

Таблица 8

Элемент участка

Количество элементов в комплекте участка, шт.

Наименование

Марка

Балка (верхняя)

СБЕ1-6

L/6

Балка (нижняя)

СБ-2

L/6

Стойка

СДС

L/2 + 1

Консоль-амортизатор

КА-2

L/2 + 1

Вставка стыковая

ВС-2

L/6 + 1

Втулка распорная

ВР-1

(L/6 + 1)×4

Элемент световозвращающий

СДО-М

L/4

Кронштейн

КС-2

L/4

1.2.4 Комплекты рабочего двустороннего участка 11ДД-1,1/2,0-1,25-550 приведены в таблице 9.

Таблица 9

Элемент участка

Количество элементов в комплекте участка, шт.

Наименование

Марка

Балка (верхняя)

СБЕ1-6

L/3

Балка (нижняя)

СБ-2

L/3

Стойка

СДР

L/2 + 1

Консоль-амортизатор

КА-1

(L/2 + 1)×2

Вставка стыковая

ВС-2

(L/6 + 1)×2

Втулка распорная

ВР-1

(L/6 + 1)×8

Элемент световозвращающий

СДО-М

L/2

Кронштейн

КС-2

L/2

1.2.5 Комплекты рабочего двустороннего участка 11ДД-1,1/2,0-1,25-600 приведены в таблице 10.

Таблица 10

Элемент участка

Количество элементов в комплекте участка, шт.

Наименование

Марка

Балка (верхняя)

СБЕ1-6

L/3

Балка (нижняя)

СБ-2

L/3

Стойка

СДРЦ

L/2 + 1

Консоль-амортизатор

КА-2

L/2 + 1

Вставка стыковая

ВС-2

L/6 + 1

Втулка распорная

ВР-1

(L/6 + 1)×8

Элемент световозвращающий

СДО-М

L/2

Кронштейн

КС-2

L/2

1.2.6 Комплекты мостового ограждения 11МО-0,9/2,0-0,75-350 приведены в таблице 11.

Таблица 11

Элемент участка

Количество элементов в комплекте участка, шт.

Наименование

Марка

Балка (верхняя)

СБЕ1-6

L/6

Балка (нижняя)

СБ-2

L/6

Стойка

СМО-0,9

L/2 + 1

Консоль-амортизатор

КА-1

L/2 + 1

Вставка стыковая

ВС-2

L/6 + 1

Втулка распорная

ВР-1

(L/6 + 1)×4

Элемент световозвращающий

СДО-М

L/4

Кронштейн

КС-2

L/4

1.2.7 Комплекты мостового ограждения 11МО-0,9/2,0-0,75-400 приведены в таблице 12.

Таблица 12

Элемент участка

Количество элементов в комплекте участка, шт.

Наименование

Марка

Балка (верхняя)

СБЕ1-6

L/6

Балка (нижняя)

СБ-2

L/6

Стойка

СМОС-0,9

L/2 + 1

Консоль-амортизатор

КА-2

L/2 + 1

Вставка стыковая

ВС-2

L/6 + 1

Втулка распорная

ВР-1

(L/6 + 1)×4

Элемент световозвращающий

СДО-М

L/4

Кронштейн

КС-3

L/4

1.2.8 Комплекты мостового ограждения 11МО-1,1/2,0-0,75-350 приведены в таблице 13.

Таблица 13

Элемент участка

Количество элементов в комплекте участка, шт.

Наименование

Марка

Балка (верхняя)

СБЕ1-6

L/6

Балка (нижняя)

СБ-2

L/6

Стойка

СМО-1,1

L/2 + 1

Консоль-амортизатор

КА-1

L/2 + 1

Вставка стыковая

ВС-2

L/6 + 1

Втулка распорная

ВР-1

(L/6 + 1)×4

Элемент световозвращающий

СДО-М

L/4

Кронштейн

КС-2

L/4

1.2.9 Комплекты мостового ограждения 11МО-1,1/2,0-0,85-400 приведены в таблице 14.

Таблица 14

Элемент участка

Количество элементов в комплекте участка, шт.

Наименование

Марка

Балка (верхняя)

СБЕ1-6

L/6

Балка (нижняя)

СБ-2

L/6

Стойка

СМОС-1,1

L/2 + 1

Консоль-амортизатор

КА-2

L/2 + 1

Вставка стыковая

ВС-2

L/6 + 1

Втулка распорная

ВР-1

(L/6 + 1)×4

Элемент световозвращающий

СДО-М

L/4

Кронштейн

КС-3

L/4

1.2.10 Комплекты мостового ограждения 11МО-1,3/2,0-1,0-500 приведены в таблице 15.

Таблица 15

Элемент участка

Количество элементов в комплекте участка, шт.

Наименование

Марка

Балка (верхняя)

СБЕ1-6

L/6

Балка (нижняя)

СБ-2

L/6

Стойка

СМО-1,3

L/2 + 1

Консоль-амортизатор

КА-1

L/2 + 1

Вставка стыковая

ВС-2

L/6 + 1

Втулка распорная

ВР-1

(L/6 + 1)×4

Элемент световозвращающий

СДО-М

L/4

Кронштейн

КС-2

L/4

1.2.11 Комплекты мостового ограждения 11МО-1,3/2,0-1,0-550 приведены в таблице 16.

Таблица 16

Элемент участка

Количество элементов в комплекте участка, шт.

Наименование

Марка

Балка (верхняя)

СБЕ1-6

L/6

Балка (нижняя)

СБ-2

L/6

Стойка

СМОС-1,3

L/2 + 1

Консоль-амортизатор

КА-2

L/2 + 1

Вставка стыковая

ВС-2

L/6 + 1

Втулка распорная

ВР-1

(L/6 + 1)×4

Элемент световозвращающий

СДО-М

L/4

Кронштейн

КС-3

L/4

1.2.12 Комплекты мостового ограждения 11МО-1,5/2,0-1,0-500 приведены в таблице 17.

Таблица 17

Элемент участка

Количество элементов в комплекте участка, шт.

Наименование

Марка

Балка (верхняя)

СБЕ1-6

L/3

Балка (нижняя)

СБ-2

L/6

Стойка

СМО-1,5

L/2 + 1

Консоль-амортизатор

КА-1

L/2 + 1

Вставка стыковая

ВС-2

(L/6 + 1)×2

Втулка распорная

ВР-1

(L/6 + 1)×8

Элемент световозвращающий

СДО-М

L/4

Кронштейн

КС-2

L/4

1.2.13 Комплекты мостового ограждения 11МО-1,5/2,0-1,0-627 приведены в таблице 18.

Таблица 18

Элемент участка

Количество элементов в комплекте участка, шт.

Наименование

Марка

Балка (верхняя)

СБЕ1-6

L/3

Балка (нижняя)

СБ-2

L/6

Стойка

СМОС-1,5

L/2 + 1

Консоль-амортизатор

КА-2

L/2 + 1

Вставка стыковая

ВС-2

(L/6 + 1)×2

Втулка распорная

ВР-1

(L/6 + 1)×8

Элемент световозвращающий

СДО-М

L/4

Кронштейн

КС-3

L/4

1.2.14 Комплекты начальных (конечных) участков 11ДО-Н(К) приведены в таблице 19.

Таблица 19

Элемент участка

Количество элементов в комплекте участка, шт.

Наименование

Марка

Балка

СБ-2

2

Стойка

СДЕ-2

6

Консоль жесткая

КЖЕ

6

Связь анкерная

СА-2

1

Вставка стыковая

ВС-2

1

Втулка распорная

ВР-1

3

Элемент световозвращающий

СДО-М

3

1.3 Маркировка

1.3.1 Маркировка, наносимая на металлический, пластмассовый или деревянный ярлык, прикрепляемый к связке (упаковке), должна содержать:

- наименование или товарный знак предприятия-изготовителя;

- марку ограждения;

- число элементов в связке (упаковке);

- массу связки (упаковки);

- номер связки (упаковки);

- клеймо (штамп) отдела Технического контроля предприятия-изготовителя.

1.3.2 Маркировку следует выполнять несмываемой краской.

1.4 Упаковка

1.4.1 Все основные элементы ограждений, кроме световозвращающих элементов, следует отправлять потребителю в пачках (связках) без упаковки.

Световозвращающие элементы, крепежные изделия, паспорт ограждения со свидетельством о приемке и копию Сертификата соответствия ограждения данной марки требованиям настоящих технических условий следует отправлять в специальной упаковке, изготовленной по чертежам предприятия-изготовителя.

2 Правила приёмки

2.1 Комплекты ограждений должны быть приняты отделом технического контроля предприятия - изготовителя. Партией следует считать комплекты ограждений одной марки, изготовленные по одной технологии.

2.2 Для контроля размеров и внешнего вида элементов ограждений и качества антикоррозийного покрытия из каждой партии отбирается не менее 5 комплектов. При получении неудовлетворительных результатов контроля хотя бы по одному из показателей, устанавливаемых настоящими техническими условиями, по этому показателю проводят повторный контроль на удвоенном числе комплектов, отобранных из той же партии.

Если при повторной проверке окажется хотя бы один комплект, не удовлетворяющий требованиям настоящих технических условий, всю партию подвергают поштучной проверке.

2.3 Потребитель имеет право проводить контрольную проверку соответствия элементов ограждений требованиям настоящих технических условий, соблюдая при этом указанный выше порядок отбора элементов и применяя методы контроля, установленные настоящими техническими условиями.

2.4 Элементы, не соответствующие требованиям настоящих технических условий, подлежат выбраковке.

2.5 Правильность комплектации каждого участка ограждения подтверждается свидетельством о приемке ОТК предприятия-изготовителя.

3 Методы контроля

3.1 Внешний вид и качество поверхности элементов ограждений определяют визуально путем сравнения с образцами-эталонами, утвержденными в установленном порядке.

3.2 Качество конструктивных и сварочных материалов должно быть удостоверено сертификатами соответствия предприятий-поставщиков или данными лаборатории предприятия - изготовителя ограждений.

3.3 Линейные размеры элементов ограждений проверяют рулеткой 2-го класса точности по ГОСТ 7502-98, линейкой измерительной металлической (2 класс точности, 300 - 500 мм) по ГОСТ 427-75, штангенциркулем (0 - 320 мм, нониус с ценой деления 0,1 мм) по ГОСТ 166-89 или другими измерительными средствами, обеспечивающими требуемую точность измерений.

3.4 Размеры поперечного сечения гнутых профилей секций балок, стоек и отклонение от прямолинейности проверяют на расстоянии 500 мм от торцев поверочными шаблонами, изготовленными предприятием-изготовителем.

3.5 Отклонение секций балок СБ, СБЕ, СБЕ-А от прямолинейности проверяют измерением металлической линейкой по ГОСТ 427-75 зазора между поверхностью контролируемой балки и струной, закрепленной на ее концах.

3.6 Соответствие геометрической формы балок следует проверять специальным поверочными шаблонами, изготовленными предприятием-изготовителем.

3.7 Контроль качества защитных антикоррозийных покрытий производится согласно ГОСТ 9.307-89.

4 Испытания

4.1 В случае внесения в конструкцию ограждений изменений должны проводиться натурные испытания ограждений.

Цель проведенных испытаний состоит в определении фактических величин показателей удерживающей способности и соответствующего ей поперечного прогиба ограждения, а также фактических показателей безопасности этого ограждения для людей, находящихся в удерживаемом автомобиле и безопасности выбега удерживаемого автомобиля для других участников движения.

Испытания должны проводиться на специальном полигоне, испытательные сооружения и оборудование которого, а также имеющаяся на нем измерительная и регистрирующая аппаратура, должны соответствовать требованиям Европейского стандарта EN 1317-2-1995.

4.2 Объект испытаний.

Объект испытаний - ограждение, изготовленное в соответствии с требованиями настоящих технических условий.

Установку ограждений на испытательной площадке полигона следует выполнять в соответствии с требованиями «Инструкции по установке ограждений» (Приложение Б). Количество деталей устанавливаемого ограждения должно быть достаточным для того, чтобы полная длина ограждения - составила не менее 70 м для ограждений группы Д и 50 м - группы М.

4.3 Испытательные сооружения и оборудование полигона.

Полигон для испытаний ограждений наездами автомобилей должен иметь испытательную площадку, в составе которой должна быть грунтовая полоса для установки на ней ограждений группы Д и железобетонная полоса для установки на ней ограждений группы М.

Разгон испытательных автомобилей должен осуществляться по специальной разгонной полосе.

Полоса для разгона испытательных автомобилей должна быть прямолинейной, иметь твердое и ровное покрытие шириной не менее 3,5 м. На поверхности покрытия по оси полосы располагают монорельс с подвижной кареткой.

4.4 Испытательные автомобили.

Типы, основные размеры и параметры испытательных автомобилей должны соответствовать требованиям Европейского стандарта EN 1317-1:1995.

Испытательные автомобили должны иметь все основные агрегаты. Техническое состояние ходовой части и кузова испытательного автомобиля должно быть исправным. Автомобили должны быть чистыми, в том числе и со стороны нижней части днища кузова и колесных ниш. На наружной поверхности кузова автомобиля должен быть нанесен номер испытания.

Легковой автомобиль должен быть оснащен двумя полноразмерными манекенами, размещенными на передних сидениях (при необходимости).

Балластировка автобуса может состоять в размещении части балласта, соответствующей массе сидящих пассажиров, на сидениях в салоне и остальной части балласта - на полу салона, равномерно по его длине. Балласт, находящийся на полу, должен быть закреплен.

Общая величина и распределение массы автомобиля по его осям после загрузки балластом должны быть удостоверены специальным протоколом. В протоколе должна быть указана высота центра масс автомобиля над поверхностью дороги.

4.5 Измерительные устройства и регистрирующая аппаратура.

Измерительные устройства должны обеспечивать получение данных о скорости наезда автомобиля на ограждение и ускорениях в центре масс автомобиля по его трем главным осям в процессе взаимодействия автомобиля с ограждением, а также о скорости и величине угла выбега автомобиля в момент прекращения его контакта с ограждением.

Для измерения скорости наезда следует использовать стационарное устройство, находящееся рядом с полосой разгона и обеспечивающее измерение скорости автомобиля в момент его нахождения на расстоянии не более 6 м от точки возникновения контакта с ограждением.

Обязательную видеосъемку процесса взаимодействия автомобиля с ограждением следует выполнять одновременно тремя видеокамерами.

Для измерения фактической величины угла наезда следует использовать данные видеосъемки, выполненной сверху.

Для измерения ускорений в центре масс автомобиля по его главным трем осям следует использовать блок датчиков, установленный в центре масс автомобиля.

Для определения фактических величин скорости и угла выбега автомобиля следует использовать данные видеосъемки, выполненной сверху и навстречу движению автомобиля.

Для определения величины поперечного прогиба ограждения, а также скорости движения автомобиля в процессе его взаимодействия ограждением, на поверхность испытательной площадки на всю длину рабочего участка ограждения перед проведением испытания должна быть нанесена координатная сетка с квадратными ячейками, имеющими размер сторон 1,0 м. Разметка должна ярко выделяться на фоне поверхности испытательной площадки. Продольные линии разметки должны быть параллельны начальному положению балки ограждения.

Регистрация сигналов датчиков ускорений, находящихся в центре масс автомобиля, следует выполнять приборами, находящимися в автомобиле сопровождения.

4.6 Режим испытаний.

Ограждение каждой марки новой конструкции должно быть испытано, как минимум, одним наездом легкового автомобиля и одним наездом автобуса или одним наездом легкового автомобиля и одним наездом грузового автомобиля.

Режим испытания автобусом или грузовым автомобилем должен соответствовать величине удерживающей способности ограждения, указанной в маркировке ограждений, заявленных для испытаний.

4.7 Погрешности и допуски измерений скорости и угла наезда.

Погрешность измерения скорости должна быть не более 1 % от величины ее допустимого отклонения. Допустимое отклонение фактической величины скорости наезда от заданной режимом испытаний должно быть не более 7 %.

Погрешность измерения угла наезда не должна быть более 0,5 %, а допустимое отклонение угла наезда от заданной величины должно быть в пределах от -1,0 до +1,5 градуса.

4.8 Определение безопасности людей, находящихся в удерживаемом автомобиле.

Для определения уровня безопасности людей, находящихся в удерживаемом автомобиле, следует использовать обобщенный показатель инерционной перегрузки в центре масс автомобиля, определяемый по формуле:

где: Nx, Ny, Nz - средние величины инерционных перегрузок в центре масс автомобиля, действующие по его главным осям.

Критерий безопасности людей - выполнение условий ASJ ≤ 1,0.

4.9 Определение безопасности ограждения для других участников дорожного движения.

Ограждения следует считать безопасным для других участников дорожного движения, если удержанный автомобиль в момент прекращения соударения с ограждением находился в пределах прямоугольной площадки, примыкающей к проекции балки недеформированного ограждения на поверхность дороги и имеющей:

- ширину, равную сумме параметра А, габаритной ширине автомобиля и 16 % его габаритной длины;

- длину, равную величине параметра В.

Величины параметров А и В указаны в таблице 8.

Таблица 8

Тип автомобиля

А, м

В, м

Легковой

2,2

10,0

Грузовой или автобус

4,4

20,0

4.10 Протокол испытаний.

Протокол испытаний должен содержать:

- подробную техническую характеристику объекта испытаний со схемами его конструкций и расположения на испытательной площадке полигона с соответствующими фотографиями объекта, сделанными перед его испытанием;

- характеристику испытательных автомобилей, включающую их основные параметры и размеры, схему размещения балласта и координаты центра масс в продольном направлении и по высоте, а также фотографии автомобиля, сделанные до и после испытаний;

- методику проведения испытания с указанием способа разгона испытательного автомобиля, измерений скорости и угла наезда;

- заключение о соответствии (или несоответствии) фактических показателей удерживающей способности и безопасности ограждения величинам этих показателей, указанных в настоящих технических условиях;

- приложения, поясняющие составляющие разделы отчет.

5 Транспортирование и хранение

5.1 Секции балки должны храниться по маркам в связках, уложенным в штабели с опиранием на деревянные прокладки и подкладки. Подкладки должны быть толщиной не менее 50 мм, шириной не менее 200 мм, и уложены по ровному основанию через 1000 мм.

Прокладки между связками должны быть толщиной не менее 20 мм и шириной не менее 200 мм.

5.2 При транспортировании связок секций балок необходимо обеспечивать их укладку с опиранием на деревянные подкладки и прокладки согласно п. 4.1.

5.3 Условий транспортирования элементов ограждений при воздействии климатических факторов - Ж1, условий хранения - Ж2 по ГОСТ 15150-69.

6 Требования безопасности

6.1 Дорожные ограждения предназначены для снижения тяжести последствий дорожно-транспортных происшествий, связанных с непреднамеренными (неуправляемыми) съездами транспортных средств с проезжей части автомобильных дорог.

6.2 Безопасность дорожных ограждений характеризуется величиной удерживающей способности и динамического прогиба.

6.3 Удерживающая способность ограждения заключается в поглощении энергии бокового удара, выдерживаемого рабочим участком ограждения при заданной величине его динамического прогиба.

Величина удерживающей способности сертифицируемого ограждения и величина динамического прогиба должны соответствовать фактическим значениям, полученным в результате проведенных испытаний.

6.4 Безопасность ограждений для людей, находящихся в удерживаемом автомобиле, контролируют показателем индекса тяжести травм, который определяют по п. 4.8. настоящих технических условий.

6.5 Безопасность ограждений для других участников дорожного движения должна соответствовать условию нахождения удержанного автомобиля в пределах площадки по п. 4.9 настоящих технических условий.

7 Указания по монтажу

7.1 Монтаж ограждений следует выполнять в соответствии с требованиями ГОСТ Р 52289-2004, СНиП 3.06.03-85 и приложения Б к настоящим техническим условиям.

7.2 Барьерные ограждения монтировать необходимо таким образом, чтобы в местах соединений секций балок, предыдущая по ходу движения балка накладывалась на последующую, а отклонения оси балки от ее проектного положения в плане не превышали 1:1000 от длины стыкуемых балок.

7.3 Световозвращатели следует размещать в углублении в средней части поперечного профиля балки по всей длине ограждения с интервалом 4 м (в т.ч. на участках отгона и понижения), или над верхней балкой при двухярусной конструкции ограждения, или над второй балкой при трехярусной конструкции ограждения.

8 Гарантии изготовителя

8.1 Изготовитель гарантирует соответствие ограждений требованиям настоящих технических условий при соблюдении условий транспортирования, хранения, указаний по монтажу, при условии выполнения требований «Инструкции по установке ограждения» (приложение Б) и отсутствия каких-либо механических повреждений, а также при условии хранения ограждений заказчиком до их установки не более 3-х месяцев с момента выпуска с предприятия - изготовителя.

8.2 Гарантийный срок эксплуатации ограждений устанавливается не менее 20 лет с момента отгрузки в адрес потребителя.

Приложение А

(справочное)

Определения терминов

Ограждения дорожные - устройства, относящиеся к техническим средствам организации дорожного движения в соответствии с ГОСТ Р 52289-2004. «Технические средства организации дорожного движения. Правила применения дорожных знаков, разметки, светофоров, дорожных ограждений и направляющих устройств».

Исполнение одностороннее (двустороннее) - исполнение ограждения, обеспечивающее ему способность воспринятия наездов автомобилей с одной стороны (обеих сторон).

Тип первый - ограждение с балкой, опирающейся на стойки.

Секция балки (балка) - элемент ограждения: главная функция балки - восприятие, распределение, передача ударной нагрузки на другие элементы ограждения.

Стойка - элемент ограждения: главная функция - передача нагрузки от ограждения земляному полотну дороги или мостовому сооружению.

Консоль - элемент ограждения; главная функция - предотвращение непосредственного контакта автомобиля со стойками ограждения.

Прогиб ограждения динамический - расстояние по горизонтали между положениями оси балки в поперечном направлении до удара и в момент завершения коррекции.

Энергоёмкость (удерживающая способность) ограждения - условный показатель, характеризующий величину поглощаемой кинетической энергии движущегося автомобиля при наезде его на ограждение. Энергоемкость определяют с использованием значений поперечной составляющей скорости движения автомобиля в момент наезда, масс автомобиля и угла наезда на ограждение.

Рабочая ширина ограждения - ширина участка, занимаемая элементами ограждения и автомобиля при ударе (расстояние от лицевой поверхности недеформированного ограждения до задней стороны ограждения при динамическом прогибе).

Скорость наезда - скорость автомобиля в момент возникновения контакта с ограждением.

Угол выбега - угол между проекциями продольной оси автомобиля и передней кромки лицевой поверхности балки недеформированного ограждения на поверхности дороги или мостового сооружения в момент начала выбега автомобиля.

Угол наезда - угол между проекциями продольной оси автомобиля и передней кромки лицевой поверхности балки ограждения на поверхность дороги или мостового сооружения в момент возникновения контакта автомобиля и ограждения.

Участки ограждений:

- начальный (конечный) - вспомогательная часть бокового ограждения:

главная функция - удержание начала (конца) балки рабочего участка;

- рабочий - основная часть бокового ограждения: главная функция - удержание автомобиля;

- сопрягающий - участок, последовательно соединяющий ограждения с неодинаковой величиной динамического поперечного прогиба и энергоёмкости.

- переходный - участок перехода двустороннего ограждения к двум односторонним;

- вспомогательный - участок рабочий, предназначенный для установки на технических съездах и проездах с ограничением скорости, стояночных площадках и т.д.

Высота ограждения - расстояние от поверхности проезжей части до верха балки.

Шаг стоек - расстояние между точками пересечения продольных осей соседних стоек с поверхностью дороги.

Приложение Б

(обязательное)

Инструкция по установке ограждений мостовых и дорожных

Б.1 Определение положения стоек

Б.1.1 Положение стоек ограждения группы ДО в поперечном сечении дороги следует определять, исходя из следующих требований:

- расстояние от кромки ближайшей к ограждению проезжей части дороги до лицевой поверхности ограждения должно быть не менее 1,0 м;

- расстояние от бровки земляного полотна до стойки ограждения должно быть не менее 0,5 м.

Б.1.2 Положение стоек ограждения группы МО в поперечном сечении мостового сооружения определяется расположением мест крепления, имеющихся в пролётном строении этого сооружения.

Б.1.3 Интенсивность отгона рабочего участка ограждения группы ДО относительно кромки проезжей части дороги может быть не более 1:50 начального и конечного участков не более 1:20.

Б.2 Установка стоек

Б.2.1. Стойки СМЕ следует устанавливать на специально предназначенных для них местах пролётных строений мостовых сооружений с заданным шагом. Крепление стойки СМЕ с опорным листом к закладным элементам пролётных строений мостовых сооружений следует осуществлять посредством болтов М24×60 по ГОСТ 7798-70. Закладные детали должны быть установлены с точностью ±1 мм.

Б.2.2 Стойки СДЕ следует устанавливать в цилиндрические шурфы диаметром не более 250 мм, предварительно выбуренные в полностью уплотнённом полотне дороги.

Примечание: При наличии специальных механизмов, стойки следует заглублять в ненарушенное земляное полотно.

Б.2.3 Глубина шурфа при установке стоек СДЕ должна быть на 100 - 150 мм меньше длины заглубляемой части стойки. Установку стойки в вертикальное положение и её верхнего торца на нужной высоте следует выполнять одновременно с обратной засыпкой и уплотнением грунта в шурфе.

Б.2.4 Допускаемая величина возвышения дорожных стоек ±10 мм.

Б.2.5 Допускаемая величина отклонения шага всех стоек ±20 мм.

Б.2.6 Допускаемая величина отклонения стоек относительно продольной оси ограждения стоек ±10 мм.

Б.3 Установка консолей, секций балок и световозвращателей

Б.3.1 Установку консолей-амортизаторов на стойки следует выполнять со стороны направления движения с последующим креплением их к стойкам при помощи болтов М16×35 по ГОСТ 7798-70 с гайками в соответствии с чертежами.

Б.3.2 Секции балок типа СБЕ, СБЕ-А, связи анкерные СА-1, СА-2 соединяются между собой при помощи вставок ВС-2, распорных втулок ВР-2, болтов М16×200 ГОСТ 7798-70, гаек М16 ГОСТ 5915-70 и шайб 16 ГОСТ 11371-78.

Б.3.3 Световозвращатели дорожные крепятся к секциям балок при помощи кронштейнов КС-1, КС-2, КС-3, болтов М16×30 ГОСТ 7798-70, гаек М16 ГОСТ 5915-70 и шайб 16 ГОСТ 11371-78.

Б.4 Моменты затяжки болтовых соединений

Б.4.1 Моменты затяжки болтовых соединений должны составлять следующие величины:

- М16 - 60 Н · м - крепление световозвращателей;

- М20 - 100 - 120 Н · м - крепление основных элементов стоек;

- М16 - 100 - 120 Н · м - крепление секций балок;

- М24 - 120 - 140 Н · м - крепление стоек к закладным элементам.

Б.5 Контроль качества сборки ограждения

Контролируемый параметр

Допуск

Инструмент для контроля

1 Шаг стоек

20 мм

Рулетка 310УЗК ГОСТ 7502-98

2 Высота стоек относительно дорожного покрытия

10 мм

Линейка 1-50 ГОСТ 427-75, шнур строительный

3 Отклонения стоек относительно продольной оси ограждения

10 мм

Линейка 1-50 ГОСТ 427-75, шнур строительный, отвес строительный ГОСТ 7948-80

4 Высотное отклонение секций балок от верха дорожного покрытия на длине 6000 мм

15 мм

Линейка 1-50 ГОСТ 427-75, шнур строительный

5 Волнистость линии ограждения в плане на длине 10000 мм

30 мм

Линейка 1-50 ГОСТ 427-75, шнур строительный

6 Отклонение величины момента затяжки болтовых соединений

10 Н · м

Ключ динамометрический

Приложение Г

(обязательное)

Нормативные ссылки

1. ГОСТ Р 52289-2004. Технические средства организации дорожного движения. Правила применения дорожных знаков, разметки, светофоров, дорожных ограждений и направляющих устройств.

2. ГОСТ 26804-86. Ограждения дорожные металлические барьерного типа.

3. ГОСТ 9.307-89 ЕСЗКС. Покрытия цинковые горячие. Общие требования и методы контроля.

4. ГОСТ Р50971-96 Технические средства организации дорожного движения. Световозвращатели дорожные.

5. ГОСТ 19903-74 Прокат листовой горячекатаный. Сортамент.

6. ГОСТ 166-89 Штангенциркули. Технические условия.

7. ГОСТ 380-94 Сталь углеродистая обыкновенного качества. Марки.

8. ГОСТ 427-75 Линейки измерительные металлические. Технические условия.

9. ГОСТ 7502-98 Рулетки измерительные металлические. Технические условия.

10. ГОСТ 7798-70 Болты с шестигранной головкой класса точности В. Конструкция и размеры.

11. ГОСТ 7802-81 Болты с увеличенной полукруглой головкой и квадратным подголовником класса точности С. Конструкция и размеры.

12. ГОСТ 7978-80 Отвесы стальные строительные. Технические условия.

13. ГОСТ 15150-69 Машины, приборы и другие технические изделия. Исполнения для разных климатических регионов. Категории, условия эксплуатации, хранения и транспортирования в части воздействия климатических факторов внешней среды.

14. ГОСТ 19903-74 Прокат листовой горячекатаный. Сортамент.

15. ГОСТ 25347-82 Основные нормы взаимозаменяемости. ЕСДП. Поля допусков и рекомендуемые посадки.

16. ТУ 5217-006-44884945-05 Световозвращатели дорожные СДО-М.

17. ТУ 5217-007-44884945-2006 Ограждения дорожные удерживающие для автомобилей, первого типа, группы 11ДО и 11ДД.

18. СНиП 3.06.03-85 Автомобильные дороги.

19. СНиП 2.03.11-85 Защита строительных конструкций от коррозии.

20. ЕN 1317-1:1995 Типы, основные размеры и параметры испытательных автомобилей.

21. ЕN 1317-1:1998Е Дорожные удерживающие системы. Терминология и общие требования к методам испытания.

22. EN 1317-2:1998Е Дорожные удерживающие системы. Классы исполнений, критерии приёмки испытаний на удар и методы испытаний защитных ограждений.


Рисунок В.1 - Основные части ограждения

Рисунок В.2 - Фрагмент участка 11ДО-1,1/2,0

Рисунок В.3 - Фрагмент участка 11МО-1,1/2,0

Рисунок В.4 - Фрагмент участка 11МО-1,5/2,0

Рисунок В.5 - Сопряжение участка 11МО-1,3/а (11МОЦ-1,3/а) с участком 11ДО-1,1-П

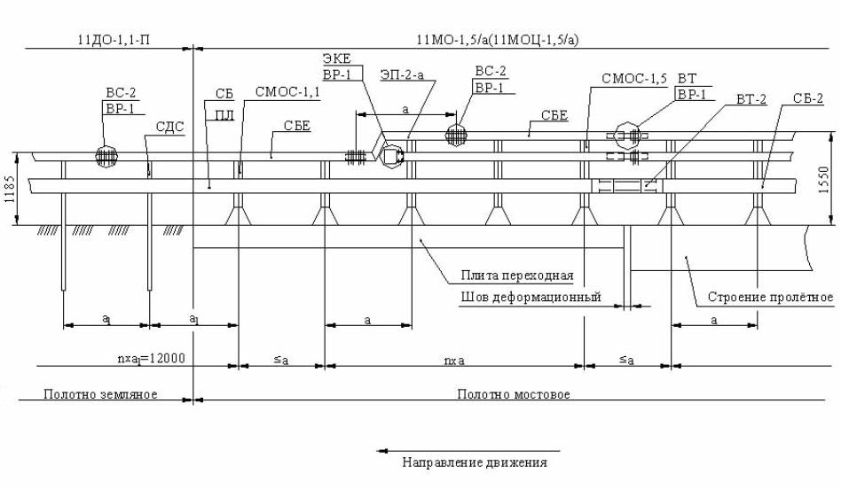
Рисунок В.6 - Сопряжение участка 11МО-1,5/а (11МОЦ-1,5/а) с участком 11ДО-1,1-П

Рисунок В.7 - Сопряжение участка 11МО-0,9/а (11МОЦ-0,9/а) с участком 11ДО1а1


Рисунок В.8 - Секция балки СБЕ

Рисунок В.9 - Секция балки СБ

Рисунок В.10.1 - Стойка дорожная СД

Рисунок В.10.2 - Стойка дорожная СД-01

Рисунок В.10 - Стойка дорожная СД (СД-01)

Рисунок В.11.2 - Стойка дорожная СДР-01

Рисунок В.11 - Стойка дорожная СДР (СДР-01)

Рисунок В.12 - Стойка дорожная СДС

Рисунок В.13 - Стойка дорожная СДРЦ-1,1

Рисунок В.14 - Стойка мостовая СМО-0,9

Рисунок В.15 - Стойка мостовая СМОС-0,9

Рисунок В.16 - Стойка мостовая СМО-1,1

Рисунок В.17 - Стойка мостовая СМОС-1,1

Рисунок В.18 - Стойка мостовая СМО-1,3

Рисунок В.19 - Стойка мостовая СМОС-1,3

Рисунок В.20 - Стойка мостовая СМО-1,5

Рисунок В.21 - Стойка мостовая СМОС-1,5

Рисунок В.22 - Консоль-амортизатор КА-1

Рисунок В.23 - Консоль-амортизатор КА-2

Рисунок В.24 - Связь анкерная СА-1

Рисунок В.25 - Связь анкерная СА-2

Рисунок В.26 - Вставка стыковая ВС-1

Рисунок В.27 - Вставка стыковая ВС-2

Рисунок В.28 - Вставка телескопическая ВТ

Рисунок В.29 - Вставка телескопическая ВТ-2

Рисунок В.30 - Элемент концевой ЭКЕ

Рисунок В.31 - Элемент переходный ЭП-1

Рисунок В.32 - Элемент переходный ЭП-2

Рисунок В.33 - Световращатель дорожный СДО-М

Рисунок В.34 - Кронштейн КС-1

Рисунок В.35 - Кронштейн световращателя КС-2

Рисунок В.36 - Кронштейн КС-3

Рисунок В.37 - Пластина ПЛ

Рисунок В.38 - Втулка распорная ВР

Рисунок В.39 - Соединение секций балок вставкой ВС-2

Рисунок В.40 - Соединение секции балки вставкой телескопической ВТ

Рисунок В.41 - Установка элемента концевого ЭКЕ

Рисунок В.42 - Установка световозвращателя на стыках секций балок СБЕ

Рисунок В.43 - Установка световозвращателя на стойках над балкой СБЕ

 

 

СОДЕРЖАНИЕ

 

 



© 2013 Ёшкин Кот :-)