Информационная система
«Ёшкин Кот»

XXXecatmenu

СТАНДАРТ ОРГАНИЗАЦИИ

 

СИСТЕМЫ НАРУЖНОЙ ТЕПЛОИЗОЛЯЦИИ
СТЕН ЗДАНИЙ С ОТДЕЛОЧНЫМ СЛОЕМ
ИЗ ТОНКОСЛОЙНОЙ ШТУКАТУРКИ «
CERESIT»

Материалы для проектирования
и рабочие чертежи узлов.
Инструкция по монтажу.
Технические описания

 

СТО 58239148-001-2006

 

 

Москва 2007

 

ОБЩЕСТВО С ОГРАНИЧЕННОЙ ОТВЕТСТВЕННОСТЬЮ «ХЕНКЕЛЬ БАУТЕХНИК»

СТАНДАРТ ОРГАНИЗАЦИИ

СТО 58239148-001-2006

СИСТЕМЫ НАРУЖНОЙ ТЕПЛОИЗОЛЯЦИИ СТЕН ЗДАНИЙ С ОТДЕЛОЧНЫМ СЛОЕМ ИЗ ТОНКОСЛОЙНОЙ ШТУКАТУРКИ «CERESIT»

Материалы для проектирования и рабочие чертежи узлов. Инструкция по монтажу. Технические описания

Москва 2007

Предисловие

Настоящий стандарт организации разработан в соответствии с целями и принципами стандартизации в Российской Федерации, установленными Федеральным законом от 27 декабря 2002 г. № 184-ФЗ «О техническом регулировании», а также правилами применения национальных стандартов Российской Федерации - ГОСТ Р 1.0-2004 «Стандартизация в Российской Федерации. Основные положения» и ГОСТ Р 1.4-2004 «Стандартизация в Российской Федерации. Стандарты организаций. Общие положения».

В настоящем стандарте реализованы положения статей 11 - 13, 17 Федерального закона «О техническом регулировании».

Объектами стандартизации настоящего стандарта организации являются:

- технологическая оснастка и инструмент;

- технологические процессы, а также общие технологические нормы и требования с учетом обеспечения безопасности для жизни и здоровья граждан, окружающей среды и имущества;

- методики проектирования;

- номенклатура материалов и комплектующих изделий, применяемых согласно стандарту;

- процессы и технологии выполнения работ и др.

Настоящий стандарт организации содержит требования к системе качества, необходимые для оценки выполненных проектов, поставляемой продукции, выполняемых строительно-монтажных работ, которые следует использовать для внешнего обеспечения качества и их оценки внешними сторонами.

Настоящий стандарт организации разработан в полном соответствии с действующими строительными нормами и правилами и регламентирует применение материалов, разработанных и поставляемых в соответствии с государственными стандартами или техническими условиями, утвержденными в установленном порядке. Положения, содержащиеся в настоящем документе, могут быть в дальнейшем дополнены, изменены или отменены.

Стандарт разработан проектирующими и строительными организациями, а также специалистами строительных инспекций.

Сведения о стандарте

1. РАЗРАБОТАН ГУ «ЭНЛАКОМ», ОАО «ЦНИИПромзданий», ЛПИСИЭС ЦНИИСК им. В.А. Кучеренко, ООО «Хенкель Баутехник» и группой специалистов

2. ПРОШЕЛ ЭКСПЕРТИЗУ в Федеральном государственном унитарном предприятии - Центр методологии нормирования и стандартизации в строительстве (ФГУП ЦНС)

3. ЗАРЕГИСТРИРОВАН Техническим комитетом по стандартизации ТК 465 «Строительство» 27 октября 2006 г. № ТК 465-001

4. ВВЕДЕН ВПЕРВЫЕ

СОДЕРЖАНИЕ

1. Область применения. 3

2. Нормативные ссылки. 3

3. Термины и определения. 6

4. Общие положения. 7

5. Требования к материалам и изделиям.. 8

6. Конструктивные решения стен. 14

7. Требования к обеспечению пожарной безопасности системы «Ceresit VWS». 19

8. Перечень использованных документов и материалов. 24

Приложение А Необходимая толщина слоя теплоизоляции при новом строительстве и реконструкции зданий для различных населенных пунктов. 26

Приложение Б Рабочие чертежи узлов. 30

Экспликация материалов и изделий. 30

Раздел 1. Стены с теплоизоляцией из пенополистирола. 32

Раздел 2. Стены с теплоизоляцией из минераловатных плит. 50

Раздел 3. Изделия комплектующие. 68

Раздел 4. Типовые узлы.. 72

Приложение В Теплотехнический расчет наружных стен (пример расчета) 79

Расчет повышения теплозащиты стены.. 79

Расчет необходимости парозащиты стены.. 81

Приложение Г Инструкция по наружному утеплению стен зданий с отделочным слоем из тонкослойной штукатурки. 84

1. Общие положения. 84

2. Подготовительные работы.. 85

3. Монтаж систем теплоизоляции «Ceresit». 86

4. Консервация системы теплоизоляции в случае незавершенного монтажа. 100

5. Требования безопасности. 100

Приложение Д Организация труда и нормы трудозатрат. 100

1. Общие положения. 100

2. Организация труда. 100

3. Нормы трудозатрат. 101

Приложение Е Методы контроля физико-технических свойств материалов. 102

СТАНДАРТ ООО «ХЕНКЕЛЬ БАУТЕХНИК»

СИСТЕМЫ НАРУЖНОЙ ТЕПЛОИЗОЛЯЦИИ СТЕН ЗДАНИЙ С ОТДЕЛОЧНЫМ СЛОЕМ ИЗ ТОНКОСЛОЙНОЙ ШТУКАТУРКИ «CERESIT»

Материалы для проектирования и рабочие чертежи узлов. Инструкция по монтажу. Технические описания

External thermal insulation composite systems with rendering «Ceresit»

Guideline for technical approval

Дата введения 2006-10-27

1. Область применения

Настоящий стандарт распространяется на фасадные системы с теплоизоляцией и отделочным слоем из тонкослойной штукатурки «Ceresit WM» и «Ceresit VWS» для наружного утепления стен зданий различного назначения и устанавливает требования к проектированию и выполнению работ по монтажу таких систем.

Стандарт организации разработан для применения во всех регионах России в соответствии с условиями, изложенными в п. 4.2.

2. Нормативные ссылки

В настоящем стандарте использованы нормативные ссылки на следующие стандарты и классификаторы:

СНиП 2.03.11-85

Защита строительных конструкций от коррозии

СНиП 2.08.02-89*

Общественные здания и сооружения

СНиП 2.09.04-87*

Административные и бытовые здания (изд. 2001 г. с изменениями)

СНиП 3.04.01-87

Изоляционные и отделочные покрытия

СНиП 21-01-97*

Пожарная безопасность зданий и сооружений

СНиП 23-01-99*

Строительная климатология

Справочное пособие к СНиП 23-01-99* «Строительная климатология»

СНиП 23-02-2003

Тепловая защита зданий

СНиП 31-01-2003

Здания жилые многоквартирные

СНиП 31-02-2001

Дома жилые одноквартирные

СНиП 31-03-2001

Производственные здания

СНиП 31-04-2001

Складские здания

СНиП 31-05-2003

Общественные здания административного назначения

СНиП II-22-81*

Каменные и армокаменные конструкции

СНиП II-26-76

Кровли

СП 23-101-2004

Проектирование тепловой защиты зданий

ГОСТ 1.1-2002

Межгосударственная система стандартизации. Термины и определения

ГОСТ 9.401-91*

ЕСЗКС. Покрытия лакокрасочные. Общие требования и методы ускоренных испытаний на стойкость к воздействию климатических факторов

ГОСТ 9.403-80*

ЕСЗКС. Покрытия лакокрасочные. Методы испытаний на стойкость к статическому воздействию жидкостей

ГОСТ 166-89*

Штангенциркули. Технические условия

ГОСТ 310.3-76

Цементы. Методы определения нормальной густоты, сроков схватывания и равномерности изменения объема

ГОСТ 310.4-81

Цементы. Методы определения предела прочности при изгибе и сжатии

ГОСТ 2642.3-97

Огнеупоры и огнеупорное сырье. Методы определения оксида кремния (IV)

ГОСТ 2642.4-97

Огнеупоры и огнеупорное сырье. Методы определения оксида алюминия

ГОСТ 2642.7-97

Огнеупоры и огнеупорное сырье. Методы определения оксида кальция

ГОСТ 2642.8-97

Огнеупоры и огнеупорное сырье. Методы определения оксида магния

ГОСТ 4640-93

Вата минеральная. Технические условия

ГОСТ 5233-89

Материалы лакокрасочные. Метод определения поверхности по маятниковому прибору

ГОСТ 5802-86

Растворы строительные. Методы испытаний

ГОСТ 6589-74*

Материалы лакокрасочные. Метод определения степени перетира прибором «Клин» (гриндометр)

ГОСТ 6806-73*

Материалы лакокрасочные. Метод определения эластичности пленки при изгибе

ГОСТ 6943.10-79*

Материалы текстильные стеклянные. Метод определения устойчивости к многократному изгибу

ГОСТ 6943.16-94

Стекловолокна. Ткани. Нетканые материалы. Методы определения массы на единицу площади

ГОСТ 7076-99

Материалы и изделия строительные. Метод определения теплопроводности и термического сопротивления при стационарном тепловом режиме

ГОСТ 8735-88

Песок для строительных работ. Методы испытаний

ГОСТ 8784-75*

Материалы лакокрасочные. Метод определения укрывистости

ГОСТ 9980.2-86*

Материалы лакокрасочные. Отбор проб для испытаний

ГОСТ 12.1.044-89

ССБТ. Пожаровзрывоопасность веществ и материалов. Номенклатура показателей и методы их определения

ГОСТ 1144-80*

Шурупы с полукруглой головкой. Конструкция и размеры

ГОСТ 14918-80*

Сталь тонколистовая оцинкованная с непрерывных линий. Технические условия

ГОСТ 15588-86

Плиты пенополистирольные. Технические условия

ГОСТ 19903-90

Прокат листовой горячекатаный. Сортамент

ГОСТ 19904-90

Прокат листовой холоднокатанный. Сортамент

ГОСТ 15140-78

Материалы лакокрасочные. Методы определения адгезии

ГОСТ 17177-94

Материалы и изделия стропильные теплоизоляционные. Методы испытаний

ГОСТ 17537-72*

Материалы лакокрасочные. Методы определения массовой доли летучих и нелетучих, твердых и пленкообразующих веществ

ГОСТ 19007-73*

Материалы лакокрасочные. Метод определения времени и степени высыхания

ГОСТ 21520-89

Блоки из ячеистых бетонов стеновые мелкие. Технические условия

ГОСТ 21903-76*

Материалы лакокрасочные. Методы определения условной светостойкости

ГОСТ 23732-79

Вода для бетонов и растворов. Технические условия

ГОСТ 24064-80

Мастики клеящие каучуковые. Технические условия

ГОСТ 24544-81*

Бетоны. Методы определения деформаций усадки и ползучести

ГОСТ 27772-88*

Прокат для строительных стальных конструкций. Общие технические условия

ГОСТ 28089-89

Конструкции строительные стеновые. Метод определения прочности сцепления облицовочных плиток с основанием ГОСТ

28513-90

Материалы лакокрасочные. Метод определения плотности

ГОСТ 28513-90

Материалы лакокрасочные. Метод определения плотности

ГОСТ 28574-90

Защита от коррозии в строительстве. Конструкции бетонные и железобетонные. Методы испытаний адгезии защитных покрытий

ГОСТ 28575-90

Защита от коррозии в строительстве. Конструкции бетонные и железобетонные. Испытание паропроницаемости защитных покрытий

ГОСТ 30244-94

Материалы строительные. Методы испытаний на горючесть

ГОСТ 30629-99

Материалы и изделия облицовочные из горных пород. Методы испытаний

ГОСТ 52020-

 

ГОСТ 31251-2003

Конструкции строительные. Методы определения пожарной опасности. Стены наружные с внешней стороны

ГОСТ Р 1.10-2004

Стандартизация в Российской Федерации. Правила стандартизации и рекомендации по стандартизации. Порядок разработки, утверждения, изменения, пересмотра и отмены

ГОСТ Р 1.2-2004

Стандартизация в Российской Федерации. Стандарты национальные Российской Федерации. Правила разработки, утверждения, обновления и отмены

ГОСТ Р 1.4-2004

Стандартизация в Российской Федерации. Стандарты организаций. Общие положения

ГОСТ Р 1.5-2004

Стандартизация в Российской Федерации. Стандарты национальные Российской Федерации. Правила построения, изложения, оформления и обозначения

ГОСТ Р 1.12-2004

Стандартизация в Российской Федерации. Термины и определения

МДС 55-1.2005

Стены с теплоизоляцией из пенополистирола и минераловатных плит с отделочным слоем из тонкослойной штукатурки. Материалы для проектирования и рабочие чертежи узлов

ТС-07-0412-01

Многослойные теплоизоляционные системы «Ceresit WM» и «Ceresit VWS»

ТС-07-0595-02

Многослойные системы «Ceresit WM» и «Ceresit VWS»

ТС-07-0831-03

Фасадные системы с тонким наружным штукатурным слоем «Ceresit WM» и «Ceresit VWS»

ТУ 2316-012-58239148-2006

Краска водно-дисперсионная марки «Ceresit»

ТУ 5745-007-58239148-03

Строительные растворы штукатурные и выравнивающие торговой марки «Ceresit»

ТУ 5745-008-58239148-03

Клеи для крепления отделочных материалов, шпаклевочные и грунтовочные составы торговой марки «Ceresit»

ТУ 5745-010-58239148-2003

Полимерные штукатурные декоративные составы торговой марки «Ceresit»

ТУ 5775-009-58239148-03

Составы строительные для устройства гидроизоляции торговой марки «Ceresit».

3. Термины и определения

3.1. В настоящем стандарте используют термины и определения, установленные в национальных стандартах Российской Федерации на термины и определения (ГОСТ 1.1, ГОСТ Р 1.12) или в действующем в этом качестве межгосударственном стандарте на термины и определения, а также термины с соответствующими определениями, относящиеся к области применения данного СТО, приведенные ниже.

3.2. Специальная терминология

Фасадная теплоизоляционная система - здесь краткое наименование систем с теплоизоляцией из пенополистирола, минераловатных плит и других теплоизоляционных материалов с отделочным слоем из тонкослойной штукатурки для наружного утепления стен зданий. Свободный перевод терминологии ETICS (External Thermal Insulation Composite Systems) системы Европейской организации технического нормирования ЕОТА (European organization for technical approvals).

Пенополистирольная плита - теплоизоляционный материал (в виде плит) из вспененного полистирола, изготовленный методом прессования или экструзии с модифицирующими добавками. Используется для устройства теплоизоляционного слоя.

Минераловатная плита - теплоизоляционный материал (в виде плит) из базальтового волокна на синтетическом связующем с гидрофобными добавками. Используется для устройства теплоизоляционного слоя и противопожарных рассечек в теплоизоляционном слое из пенополистирольных плит.

Фасадный дюбель - комбинированный анкер/дюбель с ронделью и сердечником. Изготовлен из полимерных материалов, сердечник изготовлен из металла с антикоррозионным покрытием или стеклонаполненного полиамида. Используется для механического крепления теплоизоляционного материала к стене.

Опорный/цокольный профиль - профиль из алюминиевого сплава, нержавеющей стали и/или ПВХ. Используется как опора и защита торцов граничного ряда теплоизоляционного материала, а также для устройства различных примыканий систем утепления.

Сетка стеклянная строительная пропитанная - плетеная сетка из стекловолокна с полимерным щелочестойким покрытием (армирующая сетка). Используется для армирования защитного базового слоя. В фасадной теплоизоляционной системе применяются также профилированные изделия из сетки - угловые примыкающие, деформационные.

Клеевая полимерцементная смесь - смесь для крепления теплоизоляционных плит из пенополистирола «Ceresit CT83», для крепления теплоизоляционных плит из пенополистирола и создания на их поверхности защитного базового слоя «Ceresit CT85», для крепления минераловатных теплоизоляционных плит и создания на их поверхности защитного базового слоя «Ceresit СТ190», для крепления керамической и каменной плитки «Ceresit CM14», для крепления мраморной плитки и плитки из крупнокристаллических горных пород «Ceresit CM15/115», для крепления керамических плиток и плиток из натурального и искусственного камня «Ceresit СМ16», для крепления любых видов плитки «Ceresit CM17/117».

Смесь для заполнения швов - смесь цветная затирка для заполнения швов керамических, каменных и стеклянных плиточных облицовок «Ceresit CE33», «Ceresit CE35».

Грунтовка - состав для укрепления и импрегнирования оснований «Ceresit CT17», для повышения адгезии последующих покрытий к основанию «Ceresit CT15», «Ceresit CT16» под тонкослойные минеральные и полимерные акриловые штукатурки, клеевые составы и фасадные краски.

Выравнивающая шпаклевка - смесь для ремонта, оштукатуривания и тонкослойного выравнивания «Ceresit CT29», для подготовки минеральных оснований под окраску «Ceresit CT225».

Декоративная тонкослойная штукатурка - полимерная смесь «Ceresit CT60», «Ceresit CT63», «Ceresit СТ64», «Ceresit CT72», «Ceresit CT73», «Ceresit CT74», «Ceresit CT75», «Ceresit CT77/177», минеральная смесь «Ceresit CT35», «Ceresit CT36», «Ceresit CT137».

4. Общие положения

4.1. Настоящий стандарт организации содержит техническую документацию, материалы для проектирования и рабочие чертежи узлов многослойных стен отапливаемых зданий различного назначения с теплоизоляцией из пенополистирольных плит (система «Ceresit VWS») и минераловатных плит на синтетическом связующем (система «Ceresit WM»).

4.2. Стандарт организации разработан для следующих условий:

- здания одно- и многоэтажные, I - V степеней огнестойкости с сухим и нормальным температурно-влажностными режимами;

- стены несущие или самонесущие из штучных материалов (кирпич, камни, ячеистобетонные и бетонные блоки), монолитного железобетона, композитных панелей, в том числе трехслойных;

- температура холодной пятидневки обеспеченностью 0,92 - до минус 55 °C.

4.3. Стены с теплоизоляцией из пенополистирола и защитным штукатурным слоем (система «Ceresit VWS») относятся с внешней стороны к классу пожарной опасности K0 и могут применяться в зданиях и сооружениях высотой до 75 м (25 этажей) всех степеней огнестойкости (по СНиП 21-01), всех классов конструктивной и функциональной опасности (по СНиП 21-01), за исключением класса функциональной пожарной опасности Ф1.1, школ и внешкольных учебных заведений класса Ф4.1 при соблюдении требований, указанных в разделе 7.

Наибольшая высота применения систем «Ceresit VWS», ограниченная высотой зданий различного функционального назначения, приведена в таблице 4.1.

Таблица 4.1

Тип здания

Наибольшая высота применения систем «Ceresit», ограниченная высотой здания, выраженная в метрах или числе этажей

Многоквартирные дома по СНиП 31-01

75 м*

Общежития по СНиП 31-01

50 м*

Общественные здания и сооружения по СНиП 2.08.02

16 этажей

Бытовые и административные здания по СНиП 2.09.04

50 м*

Дома жилые одноквартирные по СНиП 31-02

Без ограничений

Производственные здания по СНиП 31-03

54 м**

Складские здания по СНиП 31-04

36 м**

* Высота здания определяется высотой расположения верхнего этажа (включая мансардный), не считая верхнего технического этажа, а высота расположения этажа определяется разностью отметок поверхности проезда для пожарных машин и нижней границы открывающегося проема (окна) в наружной стене.

** Высота здания измеряется от пола 1-го этажа до потолка верхнего этажа, включая технический; при переменной высоте потолка принимается средняя высота этажа.

4.4. Стены с теплоизоляцией из минераловатных плит на синтетическом связующем и защитно-декоративным штукатурным слоем (система «Ceresit WM») относятся с внешней стороны к классу пожарной опасности КО и могут применяться в зданиях высотой до 100 м всех степеней огнестойкости (по СНиП 21-01), классу пожарной опасности СО (по СНиП 21-01, таблицы 4 и 5).

4.5. Теплотехнические расчеты по обоснованию утепления наружных стен следует осуществлять с учетом исходных данных приложения А и примера в приложении В.

Проектирование следует вести с учетом действующих нормативных документов, положений разделов 6 и 7 и приложения Б настоящего стандарта.

Инструкция по наружному утеплению стен зданий с отделочным слоем из тонкослойной штукатурки приведена в приложении Г.

5. Требования к материалам и изделиям

5.1. Теплоизоляционные материалы

В качестве теплоизоляции применяют изделия из плит пенополистирола или минеральной ваты на синтетическом связующем.

Плиты имеют следующие номинальные размеры:

- пенополистирольные, мм, 1200´1000; 1200´500; 1000´500 и 945´650;

- минераловатные, мм, 1200´600; 1000´500; 1200´650; 1000´600; 100´1200; 150´1200; 200´1200 и 200´1000.

Плиты имеют следующие характеристики пожарной опасности:

пенополистирольные:

- группа горючести - Г1, Г2 по ГОСТ 30244;

- группа воспламеняемости - В2 по ГОСТ 30244;

- группа дымообразующей способности - Д3 по ГОСТ 12.1.044;

минераловатные:

- группа горючести - НГ по ГОСТ 30244.

Физико-механические свойства плит из пенополистирола должны соответствовать требованиям, указанным в таблице 5.1.

Физико-механические свойства минераловатных плит должны соответствовать требованиям, указанным в таблице 5.2.

Таблица 5.1

№ п.п.

Наименование показателя, ед. изм.

Требуемое значение

1

Номинальные отклонения размеров плит, мм:

 

длина

± 5

ширина

± 5

толщина

+4, -2

разнотолщинность

£ 3

разность диагоналей

£ 3

2

Плотность, кг/м3

От 15,1 до 18,0

3

Прочность на сжатие при 10 %-ной линейной деформации, МПа, не менее

0,1

4

Предел прочности при изгибе, МПа, не менее

0,18

5

Водопоглощение за 24 ч, % по объему, не более

2,0

6

Расчетная теплопроводность для всех марок плит, Вт/(м · °C), не более:

 

λА

0,041

λБ

0,042

7

Паропроницаемость, мг/(м · ч · Па), не менее

0,03

8

Группа горючести

Г1, Г2

9

Время самостоятельного горения материала, с, не более

2

10

Влажность плит, отгружаемых потребителю, %, не более

12

11

Выдержка до раскроя плит, сут., не менее

14

Таблица 5.2

№ п.п.

Наименование показателя, ед. изм.

Требуемое значение

1

Номинальные отклонения размеров плит, мм:

 

длина

± 3

ширина

± 5

толщина

+4, -1

разнотолщинность

£ 3

разность диагоналей

£ 3

2

Модуль кислотности минеральной ваты, не менее

1,9

3

Водостойкость (pH водной вытяжки)

3,0

4

Плотность однородного/многослойного утеплителя, кг/м3, не менее

130/105 - 128*

5

Содержание неволокнистых включений, % по массе, не более

4,0

6

Прочность на сжатие при 10 %-ной линейной деформации, кПа, не менее

40

7

Прочность на сжатие при 10 %-ной линейной деформации после сорбционного увлажнения, кПа, не менее

35

8

Прочность на отрыв слоев, кПа, не менее

15

9

Теплопроводность при условиях эксплуатации А и Б по СНиП 23-02, Вт/(м · °C), не более:

 

λА

0,0475

λБ

0,05

10

Паропроницаемость, мг/(м · ч · Па), не менее

0,3

* В зависимости от толщины.

5.2. Дюбели для крепления теплоизоляционных плит

Общие требования к дюбелям для крепления теплоизоляционных плит приведены в таблице 5.3.

Таблица 5.3

№ п.п.

Наименование показателя, ед. изм.

Требуемое значение для дюбеля вида

Забивной с обычной распорной зоной

Винтовой

с обычной распорной зоной

с удлиненной распорной зоной

для пустотелых материалов

1

Функциональное назначение по материалу основания

Бетон, кирпич и камни керамические полнотелые, кирпич и камни силикатные полнотелые, трехслойные панели при толщине наружного бетонного слоя не менее 40 мм

Пустотелый кирпич и легкий бетон

Пенобетон, газобетон плотностью от 400 кг/м3

2

Глубина заделки, мм

35 - 50

50

90

110

3

Длина дюбеля, мм

75 - 295

100 - 340

20 - 340

150 - 340

4

Диаметр дюбеля, мм

8;10

5

Диаметр рондели, мм

60, 90, 120

6

Вырывающее усилие, кН, не менее

0,25

0,5

0,2

0,2

Для ламельных плит утеплителя (с перпендикулярным расположением волокон) диаметр рондели должен составлять не менее 90 мм.

Рекомендуемые технические параметры сырья для изготовления дюбелей приведены в таблице 5.4.

Таблица 5.4

№ п.п.

Наименование показателя, ед. изм.

Требуемое значение

Дюбель, гвоздь, заглушка из термопласта (полиамид стеклонаполненный), марка РЕ 6-нейлон

1

Плотность, г/см3

1,3 - 1,38

2

Содержание вторичного сырья, %, не более

5

3

Температура плавления (по Мартенсу), °C

170 - 200

4

Удельная теплоемкость при 25 °C, кал/(г · °C)

0,45 - 0,5

5

Термический коэффициент линейного расширения в интервале от 0 до 100 °C, 1/°C

1 · 10-5

6

Температура хрупкости, °C

-40

7

Относительное удлинение при разрыве, %

6 - 8

8

Разрушающее напряжение, кгс/см2:

 

при растяжении

1000 - 1500

при изгибе

1600 - 2300

9

Предел текучести при растяжении, кгс/см2

240

10

Модуль упругости при сжатии, кгс/см2

61000 - 70000

11

Ударная вязкость с надрезом, кгс · см/см2

25 - 35

12

Твердость по Бринеллю, кгс/мм2

10

Дюбель, рондель из ПЭНД (полиэтилен низкого давления)

1

Плотность, г/см3

0,949 - 0,955

2

Температура плавления, °C

120 - 125

3

Удельная теплоемкость при 25 °C, кал/(г · °C)

0,45 - 0,5

4

Термический коэффициент линейного расширения в интервале от 0 до 100 °C, 1/°C

2,1 · 10-4 - 5,5 · 10-4

5

Температура хрупкости, °C, не менее

-100

6

Относительное удлинение при разрыве, %

300 - 700

7

Разрушающее напряжение, кгс/см2:

 

при растяжении

220 - 300

при изгибе

200 - 350

8

Предел текучести при растяжении, кгс/см2

240

9

Модуль упругости при изгибе, кгс/см2

6500 - 7500

10

Ударная вязкость с надрезом, кгс · см/см2

8 - 12

11

Твердость по Бринеллю, кгс/мм2

4,5 - 5,8

Гвоздь/шуруп, сталь оцинкованная, класс 5,8 с защитным покрытием - электрооцинковка или нержавейка класса А4

1

Толщина защитного слоя, мкм

4 - 15

2

Разрушающее напряжение, кгс/см2:

 

при растяжении

12000

при изгибе

6000

5.3. Клеевые смеси

Физико-механические свойства клеевых смесей для крепления плит теплоизоляции и устройства армированного штукатурного слоя должны соответствовать требованиям, указанным в таблице 5.5.

Таблица 5.5

№ п.п.

Наименование показателя, ед. изм.

Требуемое значение для

СТ83

СТ85

СТ190

1

Насыпная плотность, кг/м3

1300 ± 100

1300 ± 100

1300 ± 100

2

Средняя плотность растворной смеси, кг/м3, не менее

1350 ± 100

1350 ± 100

1350 ± 100

3

Время использования растворной смеси, мин, не менее

90

120

90

4

Подвижность растворной смеси, см

8,5 ± 1,0

8,5 ± 1,0

8,0 ± 1,0

5

Паропроницаемость, мг/(м · ч · Па), не менее

0,03

6

Адгезия к бетону, МПа, не менее

0,6

0,6

0,6

7

Расслаиваемость, %, не более

10

10

10

8

Прочность на сжатие, МПа, не менее

10

10

10

9

Морозостойкость, циклов, не менее

75

Физико-механические свойства клеевых смесей для крепления плиточных облицовок должны соответствовать требованиям, указанным в таблице 5.6.

Таблица 5.6

№ п.п.

Наименование показателя, ед. изм.

Требуемое значение для

СМ14

СМ15/115

СМ16

СМ17/117

1

Насыпная плотность, кг/м3

1200 ± 100

1200 ± 100

1200 ± 100

1200/1300 ± 100

2

Средняя плотность растворной смеси, кг/м3, не менее

1550 ± 100

1450 ± 100

1550 ± 100

1450/1500 ± 100

3

Время использования растворной смеси, мин, не менее

15

30

30

90/40

4

Время коррекции, мин, не менее

10

10

25

20/15

5

Площадь контакта плитки с клеем, %, не менее

65

65

65

65

6

Сползание, мм, не более

0,5

0,5

0,5

0,5

7

Подвижность растворной смеси, см

8,0 ± 0,5

8,5 ± 0,5

8,0 ± 0,5

8,0/6,0 ± 0,5

8

Паропроницаемость, мг/(м · ч · Па), не менее

0,01

9

Адгезия к бетону, МПа, не менее

0,5

0,7 (0,5)

0,5

0,8/0,7

10

Расслаиваемость, %, не более

10

10

10

10

11

Прочность на сжатие, МПа, не менее

10

10

10

Не норм.

12

Морозостойкость, циклов, не менее

75

5.4. Штукатурки

Физико-механические свойства штукатурки «Ceresit CT29» должны соответствовать требованиям, указанным в таблице 5.7.

Таблица 5.7

№ п.п.

Наименование показателя, ед. изм.

Требуемое значение

1

Насыпная плотность, кг/м3

1250 ± 100

2

Плотность растворной смеси, кг/м3

1650 ± 100

3

Время использования растворной смеси, мин, не менее

60

4

Толщина слоя, мм, не более

20

5

Подвижность, см, не более

9

6

Паропроницаемость, мг/(м · ч · Па), не менее

0,01

7

Прочность на растяжение при изгибе через 28 сут., МПа, не менее

3,5

8

Прочность на сжатие через 28 сут., МПа, не менее

10,0

9

Морозостойкость, циклы, не менее

50

10

Адгезия к бетонному основанию, МПа, не менее

0,5

11

Усадка, %, не более

0,2

5.5. Армирующие сетки

Физико-химические свойства армирующих сеток должны соответствовать требованиям, указанным в таблице 5.8.

Таблица 5.8

№ п.п.

Наименование показателя, ед. изм.

Требуемое значение сеток

стандартных

усиленных

1

Масса на единицу площади аппретированной сетки (номинальная), г/м2, не менее

155

250

2

Толщина номинальная, мм

0,47

0,9

3

Размер ячеек, мм

3,5 - 5´3,5 - 5

6 - 8,5´6 - 8,5

4

Разрывная нагрузка в исходном состоянии, Н/5 см, не менее:

 

 

по основе

1900

3800

по утку

1900

3500

5

Разрывная нагрузка после «быстрого» теста*, Н/5 см, не менее:

 

 

по основе

1250

2300

по утку

1250

2300

6

Разрывная нагрузка после 28 дней выдержки в 5 %-ном растворе NaOH при температуре 18 - 30 °C, Н/5 см, не менее:

 

 

по основе

1000

1900

по утку

900

1750

* После выдержки в течение 6 ч при pH = 12,5 (NaOH - 0,88 г; KOH - 3,45 г; Ca(ОН)2 - 0,48 г) и 80 °C; сушка при 20 °C и относительная влажность 50 %.

5.6. Декоративные штукатурки и шпаклевки

Физико-механические свойства тонкослойных минеральных декоративных штукатурок должны соответствовать требованиям, указанным в таблице 5.9.

Таблица 5.9

№ п.п.

Наименование показателя, ед. изм.

Требуемое значение для декоративных штукатурок

СТ35

СТ36

СТ137

1

Плотность растворной смеси, кг/м3

1600 ± 100

1700 ± 100

1650 ± 100

2

Максимальный размер зерна, мм

1,5

2,5

Не нормируется

2,0

3,0

3

Время использования растворной смеси, мин, не менее

60

60

60

4

Толщина слоя, мм, не более

5

5

5

5

Подвижность, см

8,0 ± 1,0

7,5 ± 1,0

8,0 ± 1,0

6

Паропроницаемость, мг/(м · ч · Па), не менее

0,05

7

Усадка, %, не более

0,2

0,2

0,2

8

Адгезия к бетонному основанию, МПа, не менее

0,3

0,2

0,5

9

Коэффициент водопоглощения, кг/(м2 · ч0,5), не более

0,1

0,1

0,1

10

Прочность на сжатие, МПа

10,0

8,0

7,0

11

Прочность на растяжение при изгибе, МПа

3,0

2,5

2,0

12

Морозостойкость, циклы, не менее

50

50

50

13

Стойкость к атмосферным осадкам

Устойчива через 24 ч

Физико-механические свойства тонкослойных полимерных декоративных штукатурок должны соответствовать требованиям, указанным в таблице 5.10.

Таблица 5.10

№ п.п.

Наименование показателя, ед. изм.

Требуемое значение для декоративных штукатурок

СТ60

СТ63

СТ64

СТ77/177*

1

Плотность растворной смеси, кг/м3

1550 ± 5 %

1600 ± 5 %

1600 ± 5 %

1600 ± 5 %

2

Подвижность, см

10,0 ± 1,0

11,0 ± 1,0

10,5 ± 1,0

9,0 ± 1,0

3

Паропроницаемость, мг/(м · ч · Па), не менее

0,02

4

Наибольшая крупность заполнителя, мм

1,5

3,0

2,0

1,2/2,0

5

Толщина слоя, мм, не более

5 ± 0,5

5 ± 0,5

5 ± 0,5

5 ± 0,5

6

Время высыхания при температуре 20 ± 10 °C до степени 3, мин, не более

15

15

15

30

7

Адгезия к бетонному основанию, МПа, не менее

0,5

0,5

0,5

0,5

8

Коэффициент водопоглощения, кг/(м2 · ч0,5), не более

0,1

9

Морозостойкость, циклы, не менее

50

50

50

50

10

Стойкость пленки к статическому воздействию воды при температуре 20 ± 2 °C

Стоек после 24 ч твердения

Стоек после 12 ч твердения

Стоек после 24 ч твердения

Стоек после 48 ч/72 ч твердения

* Через дробь указаны свойства для материала «Ceresit CT77/177» с размером зерна заполнителя 0,8 - 1,2 мм и 1,4 - 2 мм соответственно.

Физико-механические характеристики затирок (шпаклевок) для швов должны соответствовать требованиям, указанным в таблице 5.11.

Таблица 5.11

№ п.п.

Наименование показателя, ед. изм.

Требуемое значение для затирок

СЕ33

СЕ35

1

Насыпная плотность, кг/м3

900 ± 100

2

Подвижность растворной смеси, см

8,0 ± 1

3

Паропроницаемость, мг/(м · ч · Па), не менее

0,05

4

Начало схватывания, ч, не менее

1

1

5

Конец схватывания, ч, не более

6

б

6

Средняя плотность растворной смеси, кг/м3, не менее

1800

7

Ширина шва без образования трещин, мм, не менее

2 - 5

4 - 15

8

Морозостойкость, циклов, не менее

50

50

9

Прочность на растяжение при изгибе в возрасте 1/28 сут., МПа, не менее

1,0/3,0

1,0/3,0

10

Прочность на сжатие в возрасте 1/28 сут., МПа, не менее

5,0/2,0

6,0/12,0

11

Усадка в возрасте 28 сут., %, не более

0,3

0,25

5.7. Грунтовки и краски

Физико-химические свойства грунтовок должны соответствовать требованиям, указанным в таблице 5.12.

Таблица 5.12

№ п.п.

Наименование показателя, ед. изм.

Значения для грунтовок «Ceresit»

СТ16

СТ17

1

Плотность, кг/м3

1370 - 1550

1001 - 1003

2

Массовая доля нелетучих веществ, %

Не нормируется

5 - 8

3

Время высыхания до степени 3, ч, не более

3

2

4

Укрывистость высушенной пленки, г/м2, не более

200

Не нормируется

5

Значение pH

8,5 - 9,7

7,0 - 9,0

6

Глубина проникновения, мм, не менее:

Не нормируется

 

бетон М 300

0,5

кирпич М 75

1,0

цементно-известковая штукатурка М 50

1,5

7

Паропроницаемость, мг/(м · ч · Па), не менее

0,08

0,007

8

Стойкость пленки к статическому действию воды при температуре (20 ± 2) °C, ч, не менее

24

Не нормируется

9

Твердость пленки, у. е., не менее

Не нормируется

0,1

10

Эластичность пленки, мм, не менее

3

1

Физико-химические свойства красок должны соответствовать требованиям, указанным в таблице 5.13.

Таблица 5.13

№ п.п.

Наименование показателя, ед. изм.

Значения для марок

СТ42

СТ44

СТ48

СТ54

1

Цвет пленки краски

Должен находиться в пределах допускаемых отклонений от образцов цвета «Картотеки» (макс. DЕ = 1,0, макс. DL = 1,0)

2

Внешний вид пленки

После высыхания краска должна образовывать пленку с ровной однородной поверхностью, без посторонних включений и трещин

3

Массовая доля нелетучих веществ, %, не менее

50

4

pH

7,5 - 9,5

7,5 - 9,5

7,5 - 9,5

9,5 - 11,5

5

Степень перетира, мкм, не более

60

6

Динамическая вязкость, МПа · с

1900 - 2500

1200 - 2000

4800 - 5300

1070 - 1200

7

Время высыхания до степени 3 при температуре (20 ± 2) °C, ч, не более

1

8

Укрывистость высушенной пленки, г/м2, не более

120

9

Твердость покрытия по маятниковому прибору типа М-3, отн. ед., не менее

0,35

10

Смываемость пленки краски, г/м2, не более

2,0

2,0

2,0

2,0

11

Условная светостойкость покрытия, ч, не менее

24

12

Паропроницаемость, мг/(м · ч · Па), не менее

0,001

0,001

0,005

0,005

13

Стойкость пленки статическому воздействию при температуре (20 ± 2) °C, ч, не менее:

 

воды

24

10 %-го моющего средства

24

14

Стойкость покрытия к воздействию климатических факторов, циклы, не менее

100

6. Конструктивные решения стен

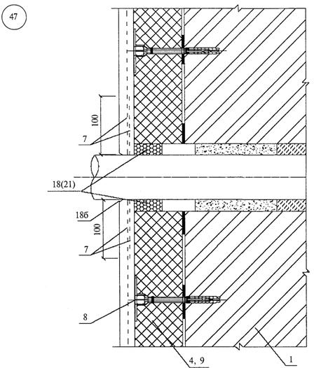
6.1. Стена при новом строительстве может быть несущая или самонесущая и представляет собой трехслойную конструкцию с несущим слоем из полнотелого глиняного кирпича толщиной 380 мм или 510 мм, а также из бетонных и ячеистобетонных блоков или монолитного железобетона со слоем теплоизоляции из плитного пенополистирола типа ПСБ-С или минераловатной плиты на синтетическом связующем с защитным слоем толщиной 4,5 - 9,0 мм из штукатурки «Ceresit CT190» (ТУ 5745-008-58239148) - для минплиты (система «Ceresit WM»), «Ceresit СТ85» (ТУ 5745-008-58239148) - для пенополистирола (система «Ceresit VWS»).

6.2. При защитно-декоративном слое из штукатурки в соответствии с рекомендациями, изложенными в разделе 7, необходимо, чтобы:

- защитная штукатурка имела нулевой предел распространения огня и была армирована щелочестойкой стеклосеткой;

- толщина ее составляла 4,5 мм (кроме цоколя) и не менее 7 мм в цокольной части;

- при теплоизоляции из пенополистирола предусматривались рассечки из негорючих материалов (в нашем случае - из минераловатных плит) на всю толщину слоя теплоизоляции и высотой не менее толщины перекрытия, но не менее 150 мм.

6.3. Системы наружной теплоизоляции с отделочным слоем из тонкослойной штукатурки «Ceresit» состоят из следующих основных элементов:

- клеевая полимерцементная смесь для крепления теплоизоляционных плит к стене;

- теплоизоляционные плиты для создания теплоизоляционного слоя;

- тарельчатые дюбели и анкеры;

- клеевая полимерцементная смесь для устройства базового армированного слоя;

- сетка стеклянная строительная, пропитанная щелочестойким составом для армирования базового слоя;

- декоративные тонкослойные штукатурки для устройства защитно-декоративного покрытия.

6.4. Для устройства систем «Ceresit» также предусмотрено использование следующих материалов и изделий:

- грунтовки для укрепления и импрегнирования оснований;

- опорные/цокольные профили, выравнивающие прокладочные шайбы и соединительные элементы для защиты торцов граничного ряда теплоизоляционного материала, а также для устройства различных примыканий систем утепления;

- угловые и примыкающие профили;

- герметики, пеногерметики и уплотнительные материалы;

- фасадные краски.

6.5. Общая характеристика слоев и используемых компонентов приведена в таблице 6.1.

Таблица 6.1

№ п.п.

Наименование и характеристика слоев и компонентов

Марка применяемых материалов и изделий

Система «Ceresit WM»

Система «Ceresit VWS»

1

Дискретный/сплошной клеевой слой толщиной 3 - 30 мм. Сухие смеси на основе цемента, минеральных наполнителей, полимерных добавок и армирующих микроволокон

«Ceresit CT190»

«Ceresit CT83» или «Ceresit CT85»

2

Теплоизоляционный слой типовой толщиной от 20 до 200 мм (согласно теплотехническому расчету). Жесткий водостойкий материал из базальтового волокна на синтетическом связующем с гидрофобными добавками или из вспененного полистирола с модифицирующими добавками

Плиты из минеральной ваты на синтетическом связующем марок FAS4, FAS5 (PAROC), Facade Batts, Facade Slab (Rockwool), Fasoterm PF, Fasoterm NF (Saint-Gobain Isover), NOBASIL TF, NOBASIL TFL (IZOMAT) и др., отвечающие требованиям, приведенным в таблице 5.2, и пригодность которых подтверждена действующей разрешительной документацией

Плиты пенополистирольные марок ПСБ-С-25, ПСБС-25Ф-ПУТ-25 и другие, отвечающие требованиям, приведенным в таблице 5.1, и пригодность которых подтверждена действующей разрешительной документацией. В качестве противопожарных рассечек применяются плиты из минеральной ваты на синтетическом связующем марок FAS4, FAS5 (PAROC), Facade Batts, Facade Slab (Rockwool), Fasoterm PF (Saint-Gobain Isover),

NOBASIL TF (IZOMAT) и другие, отвечающие требованиям, приведенным в таблице 5.2, и пригодность которых подтверждена действующей разрешительной документацией

3

Дюбели/анкеры для механического крепления теплоизоляционных материалов в количестве от 4 до 11 шт./м2 в соответствии с классом дюбеля по допустимой нагрузке и высотой здания

Дюбели тарельчатые, отвечающие требованиям, приведенным в таблице 5.3, и пригодность которых подтверждена действующей разрешительной документацией

4

Защитный базовый слой толщиной 4,5 - 9 мм. Сухие смеси на основе цемента, минеральных наполнителей, полимерных добавок и армирующих микроволокон

«Ceresit CT190»

«Ceresit CT85»

5

Армирующая сетка из стеклянных нитей с щелочестойкой полимерной пропиткой

Сетки стеклянные щелочестойкие, отвечающие требованиям, приведенным в таблице 5.8, и пригодность которых подтверждена действующей разрешительной документацией

6

Грунтовочный слой - водная дисперсия акриловых сополимеров с минеральным наполнителем и пигментом

«Ceresit CT15», «Ceresit CT16»

7

Защитно-декоративное покрытие толщиной в зависимости от размера зерна заполнителя 1,5 - 3 мм

«Ceresit CT35», «Ceresit CT36», «Ceresit CT137», «Ceresit CT72», «Ceresit CT73»

«Ceresit CT35», «Ceresit СТ36», «Ceresit CT137», «Ceresit CT60», «Ceresit CT63», «Ceresit CT64», «Ceresit CT72», «Ceresit CT73», «Ceresit CT74», «Ceresit CT75», «Ceresit CT77»

8

Окрасочное покрытие фасадной краской (при необходимости дополнительной окраски фасада)

«Ceresit CT48», «Ceresit CT54»

«Ceresit CT42», «Ceresit CT44», «Ceresit CT48», «Ceresit CT54»

6.6. Теплоизоляционные плиты крепят к несущему слою стены на клею и дополнительно распорными дюбелями.

При подготовке поверхности стены (основания) до закрепления к ней теплоизоляции рекомендуется использовать при необходимости: антигрибковый препарат «Ceresit CT99»; смывки для удаления высолов; грунтовки «Ceresit CT16» и «Ceresit CT17» (ТУ 5745-008-58239148), выравнивающую штукатурку и ремонтную шпатлевку «Ceresit CT29» (ТУ 5745-007-58239148).

В сплошном теплоизоляционном слое предусматриваются температурные деформационные швы по осевым отметкам существующих деформационных швов здания и с интервалом 24 м (в слое минераловатного утеплителя) или 36 м (в слое пенополистирольного утеплителя).

6.7. Для наклейки минераловатных плит рекомендуется использовать клей «Ceresit CT190», а пенополистирольных плит - «Ceresit CT83» или «Ceresit CT85» (ТУ 5745-008-58239148), которые характеризуются прочностью сцепления с основанием не менее 0,6 МПа, морозостойкостью не менее 75 циклов и величиной линейной усадки не более 0,5 %.

6.8. Клей следует наносить на теплоизоляционную плиту с помощью штукатурного шпателя валиком (шириной 4 - 6 см) по всему периметру с отступлением от краев на 2 - 3 см и дополнительно «куличами» на остальную поверхность плиты, при этом площадь приклеенной поверхности плит - не менее 40 %.

6.9. Установку плит в проектное положение осуществляют с прижатием к поверхности несущей части стены и выравниванием по высоте относительно друг друга трамбовками. Образование излишков выступающего клея недопустимо.

6.10. Выравнивание по горизонтали теплоизоляционных плит может осуществляться с помощью временно закрепленной к несущей части стены деревянной рейки или с применением цокольного профиля (изготовленного из алюминия или оцинкованной стали) толщиной 1 - 1,5 мм, который закрепляют к несущей части стены дюбелями, расположенными с шагом не более 300 мм.

6.11. При установке цокольных профилей необходимо оставлять зазор в стыке между ними 2 - 3 мм. Для выравнивания вдоль несущей части стены необходимо использовать соответствующие подкладочные шайбы из ПВХ, а для соединения профилей между собой - пластмассовые соединительные элементы.

6.12. После установки первого ряда теплоизоляционных плит на цокольный профиль зазор между поверхностью несущей части стены и профилем необходимо заполнить полиуретановой пеной.

6.13. Теплоизоляционные плиты устанавливают вплотную друг к другу. В случае если между ними образуются зазоры более 2 мм, их необходимо заполнить материалом используемого утеплителя или полиуретановой пеной.

6.14. Установку и наклеивание теплоизоляционных плит следует выполнять с перевязкой швов и устройством зубчатого защемления на внешних и внутренних углах стен.

6.15. Плиты теплоизоляционного материала, устанавливаемые в углах оконных и дверных проемов, должны быть цельными с вырезанными по месту фрагментами. Не допускается стыковать плиты на линиях углов оконных и дверных проемов.

6.16. Сверление отверстий и выборочную установку (над проемами, в угловых зонах) пластиковых дюбелей без распорного сердечника допускается производить в ходе монтажа плит утеплителя. Установка в рабочее положение дюбелей для крепления плит утеплителя должна выполняться после полного высыхания клеевого состава. Срок высыхания при температуре наружного воздуха 20 °C и относительной влажности 60 % составляет не менее 72 ч. Перед установкой дюбелей выполняется шлифовка плит теплоизоляции при наличии неровностей в местах стыка. Допускается наклеивание пенополистирольных плит без установки дюбелей на предварительно выровненных стенах зданий категории V высотой до 2 этажей, при этом клей следует наносить на теплоизоляционную плиту сплошным слоем (площадь приклеенной поверхности плит - не менее 85 %).

6.17. Количество дюбелей на 1 м2 теплоизоляционного слоя определяется расчетом требуемой несущей способности по нагрузке и должно быть не менее указанного в таблице 6.2.

Таблица 6.2

Выравнивающее усилие, кН, не менее

Внутренняя зона плоскости стены

Краевая зона 1,2 - 2 м от угла по плоскости стены при высоте, м

До 8

От 8 до 20

Более 20

0,2

4

5

8

11

0,25

4

4

6,4

8,8

0,5

4

4

4

5,5

6.18. Внешние углы здания с укрепленной теплоизоляцией, а также углы дверных и оконных проемов должны быть усилены пластмассовыми уголками с вклеенной сеткой, которые устанавливают встык по отношению друг к другу с нахлесткой сетки в месте стыка на 10 см.

6.19. После устройства усиливающего уголка на плоскости откосов дверных и оконных проемов следует наклеить усилительную диагональную армирующую сетку размером 20´30 см. При этом усилительная сетка в углах оконных и дверных проемов вклеивается без напуска на пластмассовую часть уголка.

6.20. При устройстве защитного слоя на поверхность закрепленного утеплителя наносится полутерком клеевой состав «Ceresit CT85» по пенополистирольному утеплителю с противопожарными рассечками из минплиты в системе «Ceresit VWS» или «Ceresit CT90» - по минераловатному утеплителю в системе «Ceresit WM», на котором фиксируется и втапливается полотно стеклосетки. Второе и последующие полотна стеклосетки устанавливают с напуском не менее 10 см на предыдущее.

6.21. После технологического перерыва не менее 72 ч, необходимого для высыхания клеевого состава, на поверхность защитного слоя наносят грунтовку «Ceresit CT16» или производят окраску с подготовкой.

6.22. До нанесения защитно-декоративного слоя необходимо выдержать технологический перерыв не менее 6 ч.

6.23. Основание под декоративную штукатурку или окраску должно соответствовать требованиям СНиП 3.04.01.

6.24. На заармированную щелочестойкой армирующей сеткой поверхность защитной штукатурки декоративная штукатурная смесь наносится теркой слоем, соответствующим размеру зерна минерального наполнителя.

6.25. Работы по нанесению декоративной штукатурной смеси следует выполнять при температуре воздуха от +5 до +30 °C (для цветных штукатурок - от +9 °C) и относительной влажности не более 80 %.

6.26. При выполнении работ следует избегать нанесения штукатурки на участки фасада, находящиеся под воздействием прямых солнечных лучей, ветра и дождя, для чего строительные леса следует закрывать ветрозащитной сеткой или пленкой.

6.27. Свеженанесенный декоративный штукатурный слой в течение суток для штукатурок белой и «под окраску» и трех суток для цветной штукатурки следует защищать от прямого воздействия дождя и пересыхания под воздействием прямых солнечных лучей.

6.28. Окрашивание штукатурки следует выполнять силикатными фасадными красками (например, «Ceresit CT54») через 3 дня, а акриловыми (например, «Ceresit CT42» или «Ceresit CT44») - через 7 сут. после устройства штукатурки.

6.29. Между штукатурным слоем и элементами заполнения проемов (окон, дверей) применяется профиль из ПВХ с уплотнительной лентой. Как вариант, предусматривается паз на всю толщину штукатурки, заполняемый уплотнительной лентой, герметиком, вулканизирующимися мастиками и т.п.

6.30. На высоту не менее 2,5 м от планировочной отметки и на участках фасада с предусмотренной плиточной облицовкой защитный слой должен выполняться толщиной не менее 7 мм с устройством дополнительного слоя стеклосетки, причем для первого слоя рекомендуется использование усиленной, так называемой панцирной, стеклосетки плотностью не менее 250 г/м3, дополнительно закрепленной фасадными дюбелями в количестве не менее 2 шт./м2.

Облицовка утепляемого фасада плиткой на высоту более 5 м допускается при согласовании с местными органами пожарной охраны, исходя из региональных требований по пожарной безопасности зданий. Для зданий V степени огнестойкости, классов С2 и С3 конструктивной пожарной опасности согласование не является обязательным.

При облицовке фасада плиткой на высоту более 6 м необходимо выполнять установку горизонтального опорного алюминиевого профиля с последующим интервалом 6 м.

Максимально допустимая площадь элемента плиточной облицовки для системы с минераловатным утеплителем составляет 0,1 м2 (например, 30´30 см или 20´40 см). Ширина межплиточного шва устанавливается в зависимости от формата плитки и условий эксплуатации, но не менее 6 мм.

Максимально допустимая площадь элемента плиточной облицовки для системы с пенополистирольным утеплителем составляет 0,24 м2 (например, 40´60 см). Ширина межплиточного шва устанавливается в зависимости от формата плитки и условий эксплуатации, но не менее 6 мм.

Приклейку плитки производят с помощью полимерцементных эластичных клеев для плитки в соответствии с техническими описаниями. Сильно впитывающие сухие основания нужно предварительно увлажнить или обработать импрегнирующей грунтовкой с последующим ее высушиванием в течение 4 - 6 ч. Клей наносят на основание и распределяют по поверхности зубчатыми шпателем или теркой. Зубцы должны иметь квадратную форму, а их размер выбирают в зависимости от формата плиток. Для повышения надежности крепления плиток необходимо применять комбинированный метод приклеивания. При этом методе клей при помощи гладкого шпателя дополнительно наносят на монтажную поверхность плиток ровным слоем толщиной 1 мм. Расход клея при этом увеличивается на 0,5 кг/м2.

6.31. Отделку утепленного цоколя рекомендуется выполнять из материалов повышенной прочности и стойкости к истиранию, допускающих их очистку и мойку, например плит из натурального или искусственного камня, керамической и стеклянной плитки (допустимая нагрузка от облицовки не более 40 кгс/м2), мозаичной штукатурки СТ77, СТ177 (ТУ 5745-010-58239148) и др.

Не рекомендуется применять облицовочные материалы темного цвета с низкой отражающей способностью.

6.32. Аналогичная отделка цоколя на высоту не менее 0,6 м от планировочной отметки должна предусматриваться и при реконструкции стены.

6.33. Парапеты, пояса, подоконники и т.п. должны иметь надежные сливы из пластика, меди, оцинкованной стали т.д., которые обеспечивают отвод атмосферной влаги и исключают возможность ее сбегания непосредственно по стене.

6.34. Все открытые поверхности стальных элементов, выходящих на фасад, и анкеры, устанавливаемые в кладке, должны быть защищены от коррозии металлизацией слоем толщиной 120 мкм или лакокрасочными покрытиями (пп. 2.40 - 2.45 СНиП 2.03.11).

6.35. Необходимость устройства слоя пароизоляции с внутренней стороны наружных стен определяется теплотехническим расчетом по СНиП 23-02. Пример расчета приведен в приложении В. При устройстве внутренней пароизоляции наружных стен проектом предусматриваются вентиляционные системы приточно-вытяжного типа в соответствии с расчетом по воздухообмену.

7. Требования к обеспечению пожарной безопасности системы «Ceresit VWS»

7.1. В соответствии с требованиями таблицы 2 ГОСТ 31251-2003 «Конструкции строительные. Методы определения пожарной опасности. Стены наружные с внешней стороны» и результатами испытаний системы наружной теплоизоляции фасадов зданий «Ceresit VWS» (Протокол огневых испытаний № 11Ф-04) подтверждается следующее.

Наружные стены, выполненные с внешней стороны на толщину не менее 60 мм из кирпича, бетона, железобетона и других подобных негорючих материалов плотностью не менее 600 кг/м3, с плотной (без «пустошовки») заделкой негорючими материалами стыков (швов) между конструкциями и/или элементами конструкций наружных стен, со смонтированной на стенах системой наружной теплоизоляции фасадов зданий «Ceresit VWS» относятся с внешней стороны к классу пожарной опасности K0, если они имеют:

- принципиальное конструктивное решение, представленное в материалах для проектирования и рабочих чертежах узлов. Шифр: М24.37/03 «Стены с теплоизоляцией из пенополистирола и минераловатных плит с отделочным слоем из тонкослойной штукатурки» (М.: ОАО «ЦНИИПромзданий», 2004);

- декоративно-защитную штукатурку, выполняемую из системных продуктов «Ceresit» (клеевой/шпатлевочный состав «Ceresit CT85» по ТУ 5745-008-58239148 для организации базового (армированного) слоя штукатурки в системе; состав «Ceresit CT16» по ТУ 5745-008-58239148 для грунтовки наружной поверхности базового слоя штукатурки; состав «Ceresit CT35» по ТУ 5745-007-58239148 для организации отделочного (фактурного) слоя штукатурки системы производства ООО «Хенкель Баутехник» (Россия); при этом толщина базового (армированного) слоя штукатурки должна составлять не менее 4,5 мм по «глади» стены и не менее 7 мм на откосах проемов, толщина отделочного (фактурного) слоя штукатурки - 1,5 - 3,5 мм (в зависимости от крупности фракции наполнителя);

- утеплитель из плит пенополистирольных марки ПСБС-25Ф по ГОСТ 15588, средней плотности 15 - 18 кг/м3, группы горючести Г3/Г4 по ГОСТ 30244, производства ООО «ФТТ-Пластик» (Россия, г. Ижевск) из сырья марки KF 262M фирмы «BASF» (Германия); при этом значения термоаналитических характеристик этого пенополистирола должны быть не более представленных в протоколе идентификационного контроля № 80 от 23.09.2004 г., приведенного в приложении № 5 вышеуказанного Протокола огневых испытаний;

- общую толщину пенополистирольного утеплителя в системе не более 200 мм;

- противопожарные рассечки и окантовки оконных (дверных) проемов из негорючих (по ГОСТ 30244) минераловатных плит «PAROC FAS-4» со средней плотностью 140 - 150 кг/м3 производства фирмы «PAROC OY АВ» (Финляндия); горизонтальные рассечки следует устанавливать в уровне верхних откосов проемов по всей длине фасада здания, на каждом этаже, но не реже чем через 4 м по высоте; по всем другим сторонам проемов, вдоль всей их длины следует устанавливать окантовки из минераловатных плит; высота поперечного сечения рассечек и окантовок должна составлять не менее 150 мм, толщина их поперечного сечения должна соответствовать толщине пенополистирольного утеплителя в системе, равно как и сама указанная система, смонтированная на вышеуказанных стенах.

7.2. Вышеуказанные наружные стены со смонтированной на них системой наружной теплоизоляции фасадов зданий «Ceresit VWS», равно как и сама система, смонтированная на вышеуказанных стенах, относятся с внешней стороны к классу пожарной опасности K0 при использовании в системе наружной теплоизоляции фасадов зданий «Ceresit VWS»:

- других негорючих (по ГОСТ 30244) минераловатных плит с волокнами из каменных пород и температурой плавления волокон не менее 1000 °C, имеющих разрешительную документацию на применение в фасадных системах, для выполнения рассечек и окантовок;

- утеплителя из плит пенополистирольных марки ПСБС-25 и/или ПСБС-25Ф по ГОСТ 15588, средней плотности 15 - 18 кг/м3, группы горючести Г2/Г3 по ГОСТ 30244, производства ООО «ФТТ-Пластик» (Россия, г. Ижевск) из сырья марки SE-2000 фирмы «SHIN-HO» (Ю. Корея) или марки KF 262M фирмы «BASF» (Германия);

- утеплителя из плит пенополистирольных марки ПСБС-25 по ГОСТ 15588, средней плотности 15 - 18 кг/м3, группы горючести Г3/Г4 по ГОСТ 30244, производства ОАО «ТИГИ-КНАУФ» (Россия, Московская обл., г. Красногорск-5) из сырья марки NF 414 фирмы «Styrochem OY» (Финляндия) или одноименные плиты средней плотности 15 - 19 кг/м3, группы горючести Г3/Г4 по ГОСТ 30244, производства ОАО «Мосстройпластмасс» (Россия, Московская обл., г. Мытищи) из сырья марки NF 714 фирмы «Styrochem OY» (Финляндия) или марки F215 фирмы «BASF» (Германия);

- утеплителя из плит пенополистирольных марки KNAUF Therm Facade по ТУ 2244-003-50934765 средней плотности 15,1 - 17 кг/м3, производства ООО «КНАУФ ГИПС» (Россия, Московская обл., г. Красногорск) из сырья марки SE 2000 фирмы «SHIN-HO» (Ю. Корея);

- утеплителя из плит пенополистирольных теплоизоляционных для наружного утепления («фасадных») марки ПСБС-Ф-25 по ТУ 2244-051-040011232, одновременно отвечающих требованиям ГОСТ 15588, средней плотности 15 - 19 кг/м3, группы горючести Г3/Г4 по ГОСТ 30244, производства ОАО «Мосстройпластмасс» из сырья марки NF 714 фирмы «Styrochem OY» (Финляндия) или марки F215 фирмы «BASF» (Германия);

- утеплителя из пенополистирольных плит других производителей, в том числе из другого сырья, при наличии согласования ЛПИСИЭС ЦНИИСК им. В.А. Кучеренко и имеющих разрешительную документацию на применение в фасадных системах;

- взаимозамене составов «Ceresit CT85» и «Ceresit CT83» производства ООО «Хенкель Баутехник» по ТУ 5745-008-58239148 при наклейке плит пенополистирольного утеплителя, рассечек и окантовок из минераловатных плит к строительному основанию;

- взаимозамене составов «Ceresit CT35», «Ceresit CT36» и «Ceresit CT137» производства ООО «Хенкель Баутехник» по ТУ 5745-007-58239148 при выполнении отделочного слоя штукатурки системы;

- фасадных красок для окрашивания наружной поверхности отделочного слоя штукатурки системы;

- сохранении неизменным оговоренного в пп. 7.1 и 7.2 перечня используемых в системе основных материалов, изделий, а также конструктивных решений, представленных в материалах для проектирования и рабочих чертежах узлов. Шифр: М24.37/03 «Стены с теплоизоляцией из пенополистирола и минераловатных плит с отделочным слоем из тонкослойной штукатурки» - далее «Материалы для проектирования».

7.3. Областью применения рассматриваемых конструкций в соответствии с таблицей 5* СНиП 21-01-97* «Пожарная безопасность зданий и сооружений» являются здания и сооружения всех степеней огнестойкости (по СНиП 21-01), всех классов конструктивной и функциональной опасности (по СНиП 21-01), за исключением класса функциональной пожарной опасности Ф1.1, школ и внешкольных учебных заведений класса Ф4.1, при соблюдении следующих дополнительных требований:

- при наличии пустот (воздушных зазоров) толщиной 3 - 5 мм и более между строительным основанием и пенополистирольным утеплителем площадь каждой из них не должна превышать 1,5 м2; сквозные зазоры между рассечками (окантовками) из негорючих минераловатных плит и строительным основанием, а также в стыках смежных плит рассечек (окантовок) друг с другом не допускаются;

- участки наружных стен по периметру всех эвакуационных выходов из здания должны выполняться на расстоянии не менее 1 м от каждого откоса такого выхода с применением в качестве утеплителя вышеуказанных в пп. 7.1 и 7.2 негорючих минераловатных плит;

- участки стен в пределах воздушных переходов, ведущих в незадымляемые лестничные клетки типа H1, в пределах остекленных лоджий и балконов, оборудованных наружной лестницей, поэтажно соединяющей балконы или лоджии, должны выполняться с применением в качестве утеплителя вышеуказанных в пп. 7.1 и 7.2 негорючих минераловатных плит либо плит пенополистирола при условии защиты пенополистирола цементно-песчаной штукатуркой толщиной не менее 20 мм по стальной сетке с креплением сетки стальными закладными деталями непосредственно к строительному основанию;

- участки стен, образующие внутренние вертикальные углы здания (включая углы, образуемые стенами и внешней стороной ограждения лоджий/балконов), при наличии проемов (оконных, дверных проемов балконов, мусоросборников, трансформаторных), расположенных на расстоянии 1,5 м и менее от этого угла, должны выполняться на всю высоту здания с применением в качестве утеплителя вышеуказанных в пп. 7.1 и 7.2 негорючих минераловатных плит следующим образом (см. схему 7.1):

от внутреннего угла в направлении указанного проема - на расстояние не менее 1,5 м;

от внутреннего угла по плоскости стены, не имеющей указанных проемов, - на расстояние не менее 1,0 м;

 - теплоизоляция из пенополистирольных плит;

 - теплоизоляция из минераловатных плит.

Схема 7.1 - Размещение теплоизоляционных плит в зоне внутреннего угла при наличии проемов

- при расстоянии от внутреннего угла здания до ближайшего вертикального откоса оконного проема более 1,5 м утепление наружных стен следует выполнять в соответствии со стандартным техническим решением:

- при расстоянии между смежными проемами этажа, а также между углом здания и ближайшим проемом более 1,5 м промежуточные поэтажные рассечки из вышеуказанных негорючих минераловатных плит допускается выполнять в пределах этих участков, за исключением 1-го этажа зданий, дискретными, продлевая за пределы проема на расстояние не менее 0,75 м в сторону соответствующего бокового простенка (см. схему 7.2);

- по всему контуру сопряжения рассматриваемой системы теплоизоляции с другой фасадной системой теплоизоляции (отделки, облицовки) должны устанавливаться рассечки из вышеуказанных негорючих минераловатных плит с высотой поперечного сечения не менее 0,15 м, на всю толщину сечения рассматриваемой системы (см. схему 7.2);

 - теплоизоляция из пенополистирольных плит;

 - теплоизоляция из минераловатных плит;

 - примыкающая система теплоизоляции, отделка, облицовка фасада.

Схема 7.2 - Размещение противопожарных рассечек вокруг проемов и в зоне примыкания

- система теплоизоляции должна начинаться на нижней и заканчиваться на верхней отметках ее применения сплошной рассечкой из вышеуказанных негорючих минераловатных плит по всему периметру здания; высота поперечного сечения рассечек - не менее 150 мм (см. схему 7.3); в разновысоких зданиях вышеуказанные «концевые» рассечки должны устанавливаться в уровнях нижней и верхней отметок применения системы теплоизоляции на фасаде конкретной секции здания, по всей длине фасада секции, а также в уровне нижнего торца системы теплоизоляции вышележащей секции над примыкающей кровлей по всей длине примыкания;

- при применении системы теплоизоляции от уровня отмостки здания допускается устанавливать (поднимать над нижним торцом системы) нижнюю «концевую» рассечку из негорючих минераловатных плит на высоту не более 0,75 м, считая от уровня отмостки здания;

- на «глухих» (без проемов) стенах здания промежуточные поэтажные рассечки из негорючих минераловатных плит, за исключением располагаемой на высоте 2,5 - 3 м от нижней отметки применения системы на этих участках, допускается не устанавливать (см. схему 7.3) при условии, что расстояние до ближайшего здания составляет не менее 10 м;

 - теплоизоляция из пенополистирольных плит;

 - теплоизоляция из минераловатных плит;

 - облицовка цоколя здания.

Схема 7.3 - Размещение теплоизоляционных плит на «глухих» стенах здания

- при наличии в здании участков с разновысокой кровлей последняя должна выполняться по всему контуру сопряжения с примыкающей к ней сверху системой теплоизоляции, в том числе и «глухих» (без проемов) участков фасада в соответствии с п. 2.11 СНиП II-26-76 «Кровли» (как «эксплуатируемая»), на расстояние не менее 2 м от границы их сопряжения, в случае примыкания системы теплоизоляции к неэксплуатируемой кровле (участку кровли) в качестве утеплителя в системе на высоту не менее 3,5 м от границы их сопряжения должны использоваться вышеуказанные негорючие минераловатные плиты;

- теплоизоляцию парапетов зданий со стороны кровли следует выполнять с применением вышеуказанных негорючих минераловатных плит; допускается выполнять теплоизоляцию парапетов со стороны кровли с применением вышеуказанных пенополистирольных плит в случаях, если примыкающая к парапету кровля выполнена в соответствии с п. 2.11 СНиП II-26-76 «Кровли» (как «эксплуатируемая»), на расстояние не менее 2 м от границы их сопряжения;

- теплоизоляцию перекрытий здания следует, как правило, выполнять с применением вышеуказанных негорючих минераловатных плит; допускается применение вышеуказанных пенополистирольных плит в случаях, если расстояние от уровня отмостки здания до утепляемого перекрытия составляет не менее 6 м и при наличии нижерасположенного проема расстояние от верхнего откоса до утепляемого перекрытия составляет не менее 3,5 м;

- участки стен в пределах всей высоты проекции пожарной лестницы, наружной маршевой лестницы и не менее 0,5 м в каждую боковую сторону, считая от соответствующего края лестницы, должны выполняться с применением в качестве утеплителя вышеуказанных негорючих минераловатных плит.

7.4. Вышеуказанные класс пожарной опасности и область применения рассматриваемых конструкций действительны для зданий:

- соответствующих требованиям пп. 4.2, 4.4 и 5.3 ГОСТ 31251-2003 «Конструкции строительные. Методы определения пожарной опасности. Стены наружные с внешней стороны»;

- соответствующих требованиям действующих СНиПов в части обеспечения безопасности людей при пожаре;

- высотность (этажность) которых не превышает установленную действующими СНиПами.

7.5. Наибольшая высота применения вышеуказанной системы для зданий различного функционального назначения в зависимости от ее класса пожарной опасности (К0) приведена в таблице 4.1.

Решение о возможности применения с позиций обеспечения пожарной безопасности рассматриваемой фасадной системы теплоизоляции на зданиях, не отвечающих требованиям п. 7.4 настоящего раздела, и для зданий сложной архитектурной формы (наличие выступающих/западающих участков фасада, смежных с проемами внутренних углов здания, архитектурных элементов отделки фасадов и др.) принимается в установленном порядке, в соответствии с п. 1.6 СНиП 21-01 при представлении прошедшего экспертизу в ЛПИСИЭС ЦНИИСК им. В.А. Кучеренко проекта привязки системы к конкретному объекту.

7.6. Отступления от представленных в Материалах для проектирования технических решений фасадной системы «Ceresit VWS», возможность замены предусмотренных системных материалов и изделий на другие (за исключением уже оговоренной в пп. 7.1 и 7.2) согласовываются в установленном порядке.

7.7. Площадь пенополистирола, не защищенного штукатурным слоем, в процессе производства работ по теплоизоляции фасадов зданий в системе «Ceresit VWS» не должна превышать 250 м2, причем высота этой площади не должна превышать 12 м. Допускается выполнять монтаж системы теплоизоляции одновременно на нескольких участках фасада здания при условии, что на каждом участке площадь незащищенного пенополистирола не превысит указанных размеров, а между участками будут обеспечены разрывы не менее 2,6 м по горизонтали и не менее 4 м по вертикали.

7.8. Работы по утеплению стен зданий по технологии системы «Ceresit VWS» должны выполняться в соответствии с Материалами для проектирования и Инструкцией по монтажу систем теплоизоляции «Ceresit WM» и «Ceresit VWS» строительными организациями, имеющими лицензию на данный вид строительной деятельности, специалисты которых прошли соответствующее обучение в ООО «Хенкель Баутехник» (Россия) или в уполномоченных организациях.

7.9. Для зданий V степени огнестойкости, классов С2 и С3 конструктивной пожарной опасности соблюдение требований пп. 7.1, 7.2, 7.3, 7.6 и 7.7 с позиций пожарной безопасности не является обязательным.

8. Перечень использованных документов и материалов

При разработке настоящего стандарта организации кроме нормативной документации, перечисленной в главе 2 «Нормативные ссылки», использовались следующие документы и материалы:

1. Сборник технических описаний материалов торговой марки «Ceresit» Издание 2006 г. Выпуск 1.

2. Инструкция по монтажу систем наружной теплоизоляции фасадов зданий «Ceresit WM» и «Ceresit VWS». Издание 2006 г. Выпуск 1.

3. Протокол огневых испытаний по ГОСТ 31251-2003 системы «Ceresit VWS» наружной теплоизоляции фасадов зданий № 11Ф-04. М.: ЛПИСИЭС ЦНИИСК, 2004.

4. Письмо Центра противопожарных исследований ЦНИИСК им В.А. Кучеренко О результатах огневых испытаний по ГОСТ 31251-2003 системы «Ceresit VWS» № 346 от 20.12.2004.

5. Письмо Государственного комитета Российской Федерации по строительству и жилищно-коммунальному комплексу № ЛБ2334/9 от 15.04.2004 г. О системах утепления наружных стен зданий.

6. ETAG 004 External Thermal Insulation Composite Systems with Rendering.

7. EN 1603 Thermal insulating products for building applications - Determination of dimension and shape stability under constant normal laboratory conditions.

8. EN 1604 Thermal insulating products for building applications - Determination of dimensional stability under specified temperature and humidity conditions.

9. Техническое свидетельство Госстроя России № ТС-07-0579-02 от 16.08.02 на грунтовки «Ceresit» марок СТ16 и СТ17. «Henkel Bautechnik Polska Sp.z.o.o» (Польша), «Henkel Bautechnik (Ukraine) LLC» (Украина).

10. Техническое свидетельство Госстроя России № ТС-07-0580-02 от 16.08.02 на сухие смеси полимерные штукатурные «Ceresit» марки СТ68. «Henkel Bautechnik Polska Sp.z.o.o» (Польша), «Henkel Bautechnik (Ukraine) LLC» (Украина).

11. Техническое свидетельство Госстроя России № ТС-07-0581-02 от 16.08.02 на сухие смеси цементосодержащие штукатурные «Ceresit» марок СТ35, СТ36 и СТ137. «Henkel Bautechnik Polska Sp.z.o.o» (Польша), «Henkel Bautechnik (Ukraine) LLC» (Украина).

12. Гигиеническое заключение № 77.01.03.570.П.35416.09.9 от 24.09.99 на материал «Ceresit СТ68». Центр Госсанэпиднадзора в Москве.

13. Гигиеническое заключение № 77.01.03.570.П.35417.09.9 от 24.09.99 на материалы «Ceresit СТ35», «Ceresit CT36», «Ceresit CT85», «Ceresit CT137», «Ceresit CT190», выпускаемые «Henkel Bautechnik Polska Sp.z.o.o», Польша. Центр Госсанэпиднадзора в Москве.

14. Гигиеническое заключение № 77.01.03.250.П.40453.11.9 от 10.11.99 на материалы «Ceresit СТ35», «Ceresit CT36», «Ceresit CT85», «Ceresit CT137», «Ceresit CT190», выпускаемые «Henkel Bautechnik (Ukraine) LLC», Украина. Центр Госсанэпиднадзора в Москве.

15. Санитарно-эпидемиологическое заключение № 77.01.03.231.П.18278.06.1 от 13.06.01 на материалы «Ceresit CT16», «Ceresit CT17». Центр Госсанэпиднадзора в Москве.

16. Отчет № 135/с-2001 от 18.07.2001 об определении группы горючести штукатурки «Ceresit СТ35». НИЛ ПВБ ГНЦ РФ ГНИИХТЭОС, Москва.

17. Отчет № 136/с-2001 от 18.07.2001 об определении группы горючести штукатурки «Ceresit СТ36». НИЛ ПВБ ГНЦ РФ ГНИИХТЭОС, Москва.

18. Отчет № 137/с-2001 от 18.07.2001 об определении группы горючести штукатурки «Ceresit СТ68». НИЛ ПВБ ГНЦ РФ ГНИИХТЭОС, Москва.

19. Отчет № 138/с-2001 от 18.07.2001 об определении группы горючести штукатурки «Ceresit СТ95». НИЛ ПВБ ГНЦ РФ ГНИИХТЭОС, Москва.

20. Отчеты № 139/с-2001 и № 144/с-2001 от 18.07.2001 об определении группы горючести штукатурки «Ceresit CT137». НИЛ ПВБ ГНЦ РФ ГНИИХТЭОС, Москва.

21. Отчет № 140/с-2001 от 18.07.2001 об определении группы горючести клеевого состава «Ceresit CT190». НИЛ ПВБ ГНЦ РФ ГНИИХТЭОС, Москва.

22. Протоколы сертификационных испытаний № 009-С1 и № 009-С6 от 06.08.01 штукатурки «Ceresit CT35». ИЦ «МособлстройЦНИЛ», Москва.

23. Протоколы сертификационных испытаний № 009-С2 и № 009-С7 от 06.08.01 штукатурки «Ceresit CT36». ИЦ «МособлстройЦНИЛ», Москва.

24. Протокол сертификационных испытаний № 009-С3 от 06.08.01 штукатурки «Ceresit СТ137». ИЦ «МособлстройЦНИЛ», Москва.

25. Протоколы сертификационных испытаний № 009-С4 и № 009-С8 от 06.08.01 клеевого состава «Ceresit CT85». ИЦ «МособлстройЦНИЛ», Москва.

26. Протоколы сертификационных испытаний № 009-С5 и № 009-С9 от 06.08.01 клеевого состава «Ceresit CT190». ИЦ «МособлстройЦНИЛ», Москва.

27. Протоколы сертификационных испытаний № 010-С1 и № 010-С2 от 10.07.01 грунтовок «Ceresit CT16». ИЦ «МособлстройЦНИЛ», Москва.

28. Протокол сертификационных испытаний № 011-С от 13.08.01 декоративной цветной штукатурки «Ceresit CT35». ИЦ «МособлстройЦНИЛ», Москва.

Приложение А

Необходимая толщина слоя теплоизоляции при новом строительстве и реконструкции зданий для различных населенных пунктов

1. Нормы теплозащиты и данные по толщине теплоизоляции.

1.1. Минимальное допустимое сопротивление теплопередаче стен зданий различного назначения и различных климатических условий принимается согласно СНиП 23-02-2003 «Тепловая защита зданий».

1.2. По назначению рассматриваемые в работе здания образуют три группы:

1. Жилые, лечебно-профилактические и детские учреждения, школы, интернаты.

2. Общественные, кроме указанных выше, административные и бытовые, за исключением помещений с влажным режимом.

3. Производственные с сухим и нормальным режимами.

1.3. При новом строительстве необходимая толщина слоя теплоизоляции определялась по следующим конструктивным решениям.

Несущая часть стены выполнена из полнотелого керамического кирпича или камней толщиной 380 мм, а наружный защитный слой - из штукатурки толщиной 4,5 мм с щелочестойкой армирующей сеткой, толщина же декоративного слоя определяется фракцией заполнителя. В зданиях 1-й и 2-й групп стена с внутренней стороны имеет отделочный штукатурный слой толщиной 20 мм. В зданиях 3-й группы отделочный слой с внутренней стороны отсутствует. Коэффициент теплотехнической однородности стен - 0,95.

Для других типов стен выполняется расчет необходимой толщины теплоизоляции по СНиП 23-02-2003 «Тепловая защита зданий».

1.4. При реконструкции толщина слоя дополнительной теплоизоляции определялась с учетом следующих условий.

Стены выполнены из полнотелого глиняного кирпича толщиной в зависимости от назначения здания и района строительства - 380, 510, 640 или 770 мм со штукатуркой 20 мм для зданий 1-й и 2-й групп и без штукатурки - для зданий 3-й группы.

Защитный слой по дополнительной теплоизоляции выполнен из штукатурки толщиной 4,5 мм с щелочестойкой армирующей сеткой, а толщина декоративного слоя определяется фракцией заполнителя.

1.5. Необходимая толщина слоя теплоизоляции при новом строительстве и реконструкции зданий для различных населенных пунктов приведена в таблице 1 приложения.

Таблица 1

№ п.п.

Город РФ

Условия эксплуатации

Градусо-сутки

Тип помещения

Новое строительство

Реконструкция

Rотр, м2 · °C/Вт

Толщина теплоизоляции, мм

Rосущ, м2 · °C/Вт

Толщина дополнительной теплоизоляции, мм

1

Архангельск

Б

6170

1

3,56

150

0,97

130

5670

2

2,90

110

0,78

110

3

2,13

70

0,69

70

2

Астрахань

А

3540

1

2,64

80

0,82

70

3200

2

2,08

60

0,66

60

3

1,64

40

0,57

40

3

Анадырь

Б

9500

1

4,72

200

1,13

180

8900

2

3,87

160

0,93

150

3

2,76

110

0,81

100

4

Барнаул

А

6120

1

3,54

120

1,12

100

5680

2

2,90

90

0,91

80

3

2,13

60

0,8

50

5

Белгород

А

4180

1

2,86

90

0,82

80

3800

2

2,32

70

0,66

70

3

1,76

50

0,57

50

6

Благовещенск

Б

6670

1

3,74

160

1,02

140

6240

2

3,07

120

0,83

110

3

2,25

80

0,73

80

7

Брянск

Б

4570

1

3,00

120

0,87

110

4160

2

2,45

90

0,7

80

3

1,83

60

0,62

60

8

Волгоград

А

3950

1

2,78

90

0,85

80

3600

2

2,24

60

0,69

60

3

1,72

40

0,6

50

9

Вологда

Б

5570

1

3,35

140

0,97

120

5100

2

2,73

100

0,78

100

3

2,02

70

0,69

70

10

Воронеж

А

4530

1

3,0

100

0,87

90

4140

2

2,44

70

0,7

70

3

1,83

50

0,62

50

11

Владимир

Б

5000

1

3,3

130

0,91

120

4580

2

2,57

100

0,74

90

3

1,91

60

0,64

60

12

Владивосток

Б

4680

1

3,04

120

0,83

110

4300

2

2,49

90

0,67

90

3

1,86

60

0,59

60

13

Владикавказ

А

3410

1

2,59

80

0,72

80

3060

2

2,02

50

0,58

60

3

1,61

40

0,50

50

14

Грозный

А

3060

1

2,47

70

0,72

70

2740

2

1,9

50

0,58

50

3

1,55

40

0,5

40

15

Екатеринбург

А

5980

1

3,49

120

1,04

100

5520

2

2,85

90

0,85

80

3

2,10

60

0,74

60

16

Иваново

Б

5230

1

3,23

130

0,93

120

4800

2

2,64

100

0,75

90

3

1,96

60

0,66

70

17

Игарка

Б

9660

1

4,78

210

1,28

180

9090

2

3,93

160

1,06

140

3

2,82

110

0,92

100

18

Иркутск

А

6480

1

3,79

130

1,06

110

6360

2

3,12

100

0,86

90

3

2,27

70

0,76

60

19

Ижевск

Б

5680

1

3,39

140

1,08

120

5240

2

2,77

110

0,88

90

3

2,05

70

0,8

60

20

Йошкар-Ола

Б

5520

1

3,33

130

1,02

120

5080

2

2,72

100

0,83

90

3

2,02

70

0,73

60

21

Казань

Б

5420

1

3,30

130

0,98

120

4990

2

2,70

100

0,8

100

3

2,0

70

0,7

70

22

Калининград

Б

3650

1

2,68

100

0,72

100

3260

2

2,10

70

0,58

80

3

1,65

50

0,5

60

23

Калуга

Б

4810

1

3,08

120

0,89

110

4400

2

2,52

100

0,72

90

3

1,88

60

0,63

60

24

Кемерово

А

6540

1

3,69

120

1,12

110

6080

2

3,02

90

0,91

90

3

2,21

60

0,8

60

25

Вятка

Б

5870

1

3,45

140

1,0

120

5400

2

2,82

110

0,82

100

3

2,08

70

0,71

70

26

Кострома

Б

5300

1

3,25

130

0,97

110

4860

2

2,66

100

0,78

90

3

1,97

60

0,69

60

27

Краснодар

А

2680

1

2,34

70

0,74

70

2380

2

1,75

40

0,59

50

3

1,48

30

0,52

40

28

Красноярск

А

6340

1

3,62

120

1,13

100

5870

2

2,96

90

0,93

80

3

2,17

60

0,81

60

29

Курган

А

5980

1

3,49

110

1,08

100

5550

2

2,86

90

0,88

80

3

2,11

60

0,77

50

30

Курск

Б

4400

1

2,95

120

0,87

100

4040

2

2,41

90

0,7

90

3

1,80

60

0,62

60

31

Кызыл

А

7880

1

4,16

140

1,26

120

7430

2

3,43

110

1,06

100

3

2,49

70

0,64

80

32

Липецк

А

4730

1

3,06

100

0,89

90

4320

2

2,50

70

0,72

70

3

1,86

50

0,63

50

33

Магадан

Б

7800

1

4,13

170

0,93

160

7230

2

3,37

140

0,91

120

3

2,45

90

0,8

80

34

Махачкала

А

2560

1

2,30

60

0,64

70

2260

2

1,7

40

0,51

50

3

1,45

30

0,45

40

35

Москва

Б

4950

1

3,13

120

0,87

110

4516

2

2,55

100

0,73

90

3

1,9

60

0,61

60

36

Мурманск

Б

6380

1

3,63

150

0,89

140

5830

2

2,95

120

0,72

110

3

2,17

80

0,63

80

37

Нальчик

А

3260

1

2,54

70

0,72

70

2920

2

1,97

50

0,58

60

3

1,58

40

0,5

40

38

Нижний Новгород

Б

5180

1

3,21

130

0,97

110

4750

2

2,63

100

0,78

90

3

1,95

60

0,67

60

39

Новгород

Б

4930

1

3,13

120

0,89

110

4490

2

2,55

100

0,72

90

3

1,9

60

0,63

60

40

Новосибирск

А

6600

1

3,71

120

1,12

110

6140

2

3,04

90

0,91

90

3

2,23

60

0,8

60

41

Омск

А

6280

1

3,60

120

1,08

100

5840

2

2,85

90

0,88

80

3

2,17

60

0,77

60

42

Оренбург

А

5310

1

3,26

100

0,97

90

4900

2

2,67

80

0,78

80

3

1,98

50

0,69

50

43

Орел

Б

4650

1

3,03

120

0,87

110

4250

2

2,48

90

0,7

90

3

1,85

60

0,62

60

44

Пенза

А

5070

1

3,17

100

0,94

90

4660

2

2,60

80

0,75

80

3

1,93

50

0,66

50

45

Пермь

Б

5930

1

3,48

140

1,05

120

5470

2

2,84

110

0,84

100

3

2,09

70

0,75

70

46

Петрозаводск

Б

5540

1

3,34

130

0,94

120

5060

2

2,85

110

0,75

110

3

2,10

70

0,66

70

47

Петропавловск-Камчатский

Б

4760

1

3,07

120

0,76

120

4250

2

2,48

90

0,61

90

3

1,85

60

0,53

70

48

Псков

Б

4580

1

3,0

120

0,87

110

4160

2

2,45

90

0,7

90

3

1,83

60

0,62

60

49

Ростов-на-Дону

А

3520

1

2,63

80

0,83

70

3180

2

2,07

50

0,64

60

3

1,64

40

0,55

40

50

Рязань

Б

4890

1

3,11

130

0,89

110

4470

2

2,54

100

0,72

90

3

1,90

60

0,64

60

51

Самара

Б

5110

1

3,19

130

0,95

110

4710

2

2,61

100

0,77

90

3

1,94

60

0,68

60

52

Санкт-Петербург

Б

4800

1

3,08

120

0,87

110

4360

2

2,51

90

0,7

90

3

1,87

60

0,62

60

53

Саранск

А

5120

1

3,19

100

0,95

90

4700

2

2,61

80

0,77

80

3

1,94

50

0,68

50

54

Саратов

А

4760

1

3,07

100

0,89

90

4370

2

2,51

70

0,72

70

3

1,87

50

0,64

50

55

Салехард

Б

9170

1

4,61

200

1,17

170

8590

2

3,78

160

0,96

140

3

2,72

100

0,85

90

56

Смоленск

Б

4820

1

3,09

120

0,87

110

4400

2

2,52

100

0,7

90

3

1,88

60

0,62

60

57

Ставрополь

А

3210

1

2,52

70

0,74

70

2880

2

1,95

50

0,59

60

3

1,58

40

0,52

40

58

Сыктывкар

Б

6320

1

3,61

150

1,06

130

5830

2

2,95

120

0,86

100

3

2,17

70

0,76

70

59

Тамбов

А

4760

1

3,07

100

0,91

90

4360

2

2,51

70

0,73

70

3

1,87

50

0,66

50

60

Тверь

Б

5010

1

3,15

130

0,93

110

4580

2

2,57

100

0,75

90

3

1,92

60

0,66

60

61

Томск

Б

6700

1

3,75

160

1,13

130

6230

2

3,07

120

0,93

110

3

2,25

80

0,82

70

62

Тула

Б

4760

1

3,07

120

0,89

110

4350

2

2,50

100

0,72

90

3

1,87

60

0,64

60

63

Тюмень

А

6120

1

3,54

120

1,08

100

5670

2

2,90

90

0,88

80

3

2,13

60

0,78

60

64

Ульяновск

А

5380

1

3,29

100

0,97

100

4960

2

2,69

80

0,78

80

3

1,99

50

0,69

50

65

Улан-Удэ

А

7200

1

3,92

130

1,08

120

6730

2

3,22

100

0,88

100

3

2,35

70

0,78

60

66

Уфа

А

5520

1

3,33

110

1,04

70

5090

2

2,73

80

0,84

80

3

2,02

50

0,75

50

67

Хабаровск

Б

6180

1

3,56

150

0,97

130

5760

2

2,93

110

0,78

110

3

2,15

70

0,68

70

68

Чебоксары

Б

5400

1

3,29

130

0,98

120

4970

2

2,70

100

0,8

100

3

2,00

70

0,71

60

69

Челябинск

А

5780

1

3,43

130

1,02

100

5340

2

2,80

90

0,83

80

3

2,07

60

0,73

70

70

Чита

А

7600

1

4,06

140

1,1

120

7120

2

3,34

110

0,89

100

3

2,42

70

0,79

70

71

Элиста

А

3670

1

2,68

80

0,82

80

3320

2

2,13

60

0,66

60

3

1,66

40

0,58

40

72

Южно-Сахалинск

Б

5590

1

3,36

140

0,83

130

5130

2

2,74

100

0,67

100

3

2,03

70

0,59

70

73

Якутск

А

10400

1

5,04

180

1,42

150

9900

2

4,17

140

1,17

120

3

2,98

90

1,03

80

74

Ярославль

Б

5300

1

3,26

130

0,97

110

4860

2

2,66

100

0,78

90

3

1,97

60

0,69

60

Приложение Б

Рабочие чертежи узлов

Экспликация материалов и изделий

№ поз.

Наименование

1

Стена (несущая часть)

2

Защитно-декоративная кладка

3

Рихтовочный зазор (засыпка из песка)

4

Плита теплоизоляционная из пенополистирола

5

Клеевой состав для приклейки плит теплоизоляции и устройства защитного слоя

«Ceresit CT190» (ТУ 5745-008-58239148)

«Ceresit CT85» (ТУ 5745-008-58239148) или «Ceresit CT83» - только для крепления утеплителя (ТУ 5745-008-58239148)

6

Декоративная штукатурка, сухая смесь «Ceresit CT68» (ТС-07-0823-03), «Ceresit CT35», «Ceresit CT36», «Ceresit CT137» (ТУ 5745-007-58239148), «Ceresit CT60», «Ceresit CT63», «Ceresit CT64», «Ceresit СТ77(177)» (ТУ 5745-010-58239148)

Грунтовка «Ceresit CT16» (ТУ 5745-008-58239148)

Грунтовка «Ceresit CT17» (ТУ 5745-008-58239148)

7

Армирующая сетка

8

Дюбель из полиамида или полиэтилена

9

Теплоизоляция из минераловатных плит

10

Доска антипиреновая, 6´40 мм с болтом Ø 10 и шагом 600 мм, но не менее 2 шт. на проем

11

Стык сеток внахлест 100 мм

12

Дополнительная сетка, 200´300 мм на углах

13

Рейка 40´50 мм, закрепление к пробкам 50´60 мм шурупами. Пробки закреплены к стене дюбелями без шайбы (см. дюбельный комплект)

14

Слив С1

15

Слив С2

16

Слив С3

17

Костыль К1

18

Заполнение деформационных швов

18а

Мастика

18б

Герметик

19

Прокладка уплотняющая из пенорезины сечением 8´8 мм по ТУ 38-406316-87

20

Прокладка пенополиэтиленовая уплотняющая марки Вилатерм-СМ Ø 30; 40 (трубчатая), ТУ 6-05-221-872-86

21

Пена строительная

22

Компенсатор

23

Плитка облицовочная

24

Клей для плитки облицовочной «Ceresit CM17», «Ceresit CM117» (ТУ 5745-008-58239148)

25

Затирка для швов «Ceresit CE33», «Ceresit CE35» (ТУ 5745-008-58239148)

26

Уплотнительная лента

27

Опорный профиль

28

Цокольная плита (цементно-волокнистая)

29

Гидроизоляция - цементно-песчаный раствор

30

Обмазочная гидроизоляция, 2 слоя «Ceresit CR65» или «Ceresit CR66» (ТУ 5775-009-58239148)

31

Стены подвала

32

Пол подвала или 1-го этажа:

- линолеум;

- армированная стяжка из «Ceresit CN87» - 30 мм;

- плита теплоизоляции;

- гидроизоляция «Ceresit CR65»;

- бетонная подготовка марки В7,5 - 80 мм

33

Плита перекрытия

34

Защитная стенка из кирпича

35

Щебень

36

Труба дренажная

37

Бортовой камень

38

Крупный песок

39

Термовставка из ячеистобетонных блоков по ГОСТ 21520

40

Фартук из оцинкованной стали

41

Гвоздь Ø 6 мм через деревянную прокладку с шагом 600 мм, не менее 2 шт. на проем

42

Дюбель HPS-I, «Хилти» диаметром 6 или 8 мм

43

Пластина 6´40 мм, заранее скрепленная с окном шурупами

44

Железобетонная перемычка

45

Окно деревянное

46

Шуруп

46а

Шуруп нерж. по ГОСТ 1144

46б

Шуруп полиамидный с конической спиралью

47

Дюбель из полиамида (ТУ 36-941-79)

48

Подоконник по проекту

49

Прокладка уплотнительная

50

Рама и полотно распашных складчатых ворот серии 1.435-28

51

Костыль МС-1 с шагом 700 мм, см. в серии ворот

52

Стальной профиль для крепления выносных элементов (рам ворот, кондиционеров и др.)

53

Наличник деревянный

54

Обрамляющий уголок 50´4 мм

55

Полоса 4´40 мм, крепить к стене дюбелями

56

Антисептированная доска

57

Костыль К2

58

Усиливающий уголок со стеклосеткой

59

Усиливающий уголок с капельником и стеклосеткой

60

Профиль из ПВХ примыкающий оконный с уплотнительной лентой

61

Заглушка из ПВХ для подоконного отлива

62

Выравнивающий состав «Ceresit CT29» (ТУ 5745-007-58239148)

63

Плита теплоизоляционная из экструдированного пенополистирола

Раздел 1. Стены с теплоизоляцией из пенополистирола

1. Схема привязки узлов.

Расположение плит утеплителя, рассечек, сетки и штукатурки

2. Схема привязки узлов.

Расположение анкеров в углах, температурных швах и у проемов

3. Схема привязки узлов.

Устройство конструктивных примыканий

4. Схема расположения слоев системы теплоизоляции.

Схемы привязки дюбелей к раскладке плит утеплителя

Примечания

1. В пределах 3,5 м от верхнего откоса декоративные элементы фасада выполнять из негорючих материалов.

2. Декоративные элементы с выпуском более 50 мм дополнительно закреплять анкерами в стеновую ограждающую конструкцию.

Схема привязки дюбелей

для плит размерами 1200´100; 1200´500; 1000´500; 945´650 мм

Примечания

1. Количество дюбелей, устанавливаемых на 1 м2 системы, зависит от размеров плиты утеплителя и допустимой нагрузки на дюбель + высоты (h).

2. Границы краевой зоны расположены на расстоянии 1 м £ a / 8 £ 2 м, где а - ширина торца здания.

5. Схема расположения слоев системы теплоизоляции.

Расположение дюбелей

6. Схема расположения слоев системы теплоизоляции.

Оформление внешних и внутренних вертикальных углов

7. Устройство деформационного шва здания

8. Примыкание фасада к отмостке с поверхностным сбросом дождевой воды

9. Примыкание фасада к отмостке с дренажем

10. Сопряжение фасада с цоколем

11. Устройство парапета плоской кровли

12. Примыкание фасада к скатной кровле

Вариант примыкания с опорным профилем

13. Примыкание фасада к проему с оконным блоком.

Боковой откос

14. Примыкание фасада к проему с оконным блоком.

Боковой откос с «четвертью»

15. Примыкание фасада к проему с оконным блоком.

Вертикальный разрез

16. Примыкание фасада к проему гаражных ворот.

Боковой откос

17. Примыкание фасада к проему гаражных ворот.

Верхний откос

18. Сопряжение системы теплоизоляции и облицовки фасада с вентилируемым зазором и оштукатуренной стеной

В сплошном штукатурном слое шириной более 6 м по осевой отметке сопряжения системы теплоизоляции предусматриваются температурные деформационные швы.

Раздел 2. Стены с теплоизоляцией из минераловатных плит

1. Схема привязки узлов.

Расположение плит утеплителя, сетки и штукатурки

2. Схема привязки узлов.

Расположение анкеров в углах, температурных швах и у проемов

3. Схема привязки узлов.

Устройство конструктивных примыканий

4. Схема расположения слоев системы теплоизоляции.

Схемы привязки дюбелей к раскладке плит утеплителя

Примечания

1. В пределах 3,5 м от верхнего откоса декоративные элементы фасада выполнять из негорючих материалов.

2. Декоративные элементы с выпуском более 50 мм дополнительно закреплять анкерами в стеновую ограждающую конструкцию.

Примечания

1. Количество дюбелей, устанавливаемых на 1 м2 системы, зависит от размеров плиты утеплителя и допустимой нагрузки на дюбель + высоты (h).

2. Границы краевой зоны расположены на расстоянии 1 м < а / 8 < 2 м, где а - ширина торца здания

5. Схема расположения слоев системы теплоизоляции.

Расположение дюбелей

6. Схема расположения слоев системы теплоизоляции.

Оформление внешних и внутренних вертикальных углов

7. Устройство деформационного шва здания

8. Примыкание фасада к отмостке с поверхностным сбросом дождевой воды

9. Примыкание фасада к отмостке с дренажем

10. Сопряжение фасада с цоколем

11. Устройство парапета плоской кровли

12. Примыкание фасада к скатной кровле

Вариант примыкания с опорным профилем

13. Примыкание фасада к проему с оконным блоком.

Боковой откос

14. Примыкание фасада к проему с оконным блоком.

Боковой откос с «четвертью»

15. Примыкание фасада к проему с оконным блоком.

Вертикальный разрез

16. Примыкание фасада к проему гаражных ворот.

Боковой откос

Крепление ворот к стене стальным профилем - узел 43.

17. Примыкание фасада к проему гаражных ворот.

Верхний откос

18. Сопряжение системы теплоизоляции и облицовки фасада с вентилируемым зазором и оштукатуренной стеной

В сплошном штукатурном слое шириной более 6 м по осевой отметке сопряжения системы теплоизоляции предусматриваются температурные деформационные швы.

Раздел 3. Изделия комплектующие

1. Конструкции сливов

Слив С1                                                       Слив С2*

* Толщина слива С2 - 1 мм.

Слив С3

                                      Материал:

2. Конструкции закладных элементов

Костыль К2                                                                             1 - 1

Костыль К1

Угловой комбинированный профиль

Цокольный профиль

Материал:

* Уточняется в проекте.

Костыли окрасить за 2 раза или оцинковать.

** Значение в скобках указано для профилей с шириной полки профиля В ³ 123 мм.

3. Принципиальные схемы дюбелей

Дюбель тарельчатый винтовой

Заглушка с винтовым распорным элементом

Дюбель тарельчатый забивной

Заглушка с забивным распорным элементом

Дюбель тарельчатый комбинированный

(для крепления выносных и декоративных элементов утепленного фасада)

Рондель D 60 мм

Рондель D 90, 120, 140 мм

Материал:

Раздел 4. Типовые узлы

1. Устройство навесных элементов

* Уточняется в проекте.

Металл окрасить за 2 раза или оцинковать.

Примечание - В зоне примыкания к закладной детали в системе с теплоизоляцией из фасадного пенополистирола выполнить противопожарную рассечку шириной не менее 150 мм из негорючих материалов.

2. Устройство примыкания к закладным деталям фасада

Примечание - В зоне примыкания к закладной детали в системе с теплоизоляцией из фасадного пенополистирола выполнить противопожарную рассечку шириной не менее 150 мм из негорючих материалов.

3. Конструктивное решение крепления двухслойного утеплителя при выравнивании основания

Примечания

1. Система теплоизоляции должна начинаться на нижней и заканчиваться на верхней отметках ее применения сплошной рассечкой из негорючих минераловатных плит по всему периметру здания; высота поперечного сечения рассечек - не менее 150 мм.

2. При применении системы теплоизоляции от уровня отмостки здания допускается устанавливать (поднимать над нижним торцом системы) нижнюю «концевую» рассечку из негорючих минераловатных плит на высоту не более 0,75 м, считая от уровня отмостки здания.

4. Конструктивное решение крепления двухслойного утеплителя общей толщиной более 200 мм

5. Устройство плиточной облицовки (вертикальный разрез)

Примечание - В пределах 0,2 м от верхней границы плиточной облицовки в системе с теплоизоляцией из фасадного пенополистирола выполнить противопожарную рассечку шириной не менее 100 мм из негорючих материалов.

Устройство плиточной облицовки (горизонтальный разрез)

Примечание - В пределах 0,2 м от верхней границы плиточной облицовки в системе с теплоизоляцией из фасадного пенополистирола выполнить противопожарную рассечку шириной не менее 100 мм из негорючих материалов.

6. Утепление перекрытия и стены балкона (лоджии, арки)

7. Утепление стены балкона (лоджии, арки) с металлической сеткой

* Дюбель для крепления сетки с ронделью стальной оцинкованной.

** Штукатурный состав из ц/п раствора с добавкой СС 81.

В качестве армирующей сетки применить сетку стальную оцинкованную 20´20 мм.

Приложение В

Теплотехнический расчет наружных стен (пример расчета)

Расчет повышения теплозащиты стены

Исходные данные - административное здание в Москве.

Усиление теплозащиты выполнено с применением полистирольных плит марки 25. Принятая конструкция стены дана на расчетной схеме.

Расчетная схема стены

1 - цементно-известковая штукатурка

λ1 = 0,87 Вт/(м · °C); δ1 = 0,02 м;

2 - кирпичная кладка

λ2 = 0,64 Вт/(м · °C); δ2 = 0,51 м;

3 - плита пенополистирола марки ПСБ-С-25Ф

λ3 = 0,042 Вт/(м · °C); δ3 = ?;

4 - защитно-декоративный слой

λ4 = 0,87 Вт/(м · °C); δ4 = 0,006 м.

Требуемое сопротивление теплопередаче стены является функцией числа градусо-суток отопительного периода (ГСОП):

ГСОП = (tв - tот. пер) · Zот. пер,                                            (1)

где tв - расчетная температура внутреннего воздуха, °C;

tот. пер, Zот. пер - средняя температура, °C, и продолжительность, сут., периода со средней суточной температурой воздуха ниже или равной 8 °C по СНиП 23-01-99* «Строительная климатология».

ГСОП = (18 + 3,1) · 214 = 4516.

Требуемое сопротивление теплопередаче стены определяем по одной из следующих формул в соответствии с функциональным назначением здания:

жилые, лечебно-профилактические и детские учреждения -

Rтр = 0,00035 · ГСОП + 1,4;                                            (2)

общественные, кроме указанных выше, административные и бытовые, за исключением помещений с влажным или мокрым режимом,

Rтр = 0,0003 · ГСОП + 1,2;                                              (3)

производственные с сухим и нормальным режимами -

Rтр = 0,0002 · ГСОП + 1,0.                                              (4)

Тогда для административного здания выполняем расчет по формуле (3):

Rтр = 0,0003 · 4516 + 1,2 = 2,55 м2 · °C/Вт.

Сводные результаты ГСОП и значения требуемого сопротивления теплопередаче для различных населенных пунктов приведены в приложении А.

Сопротивление теплопередаче стены без наружной теплоизоляции составляет:

               (5)

Значение требуемого усиления теплозащитных свойств составит:

DR = R0тр - R0сущ = 2,55 - 0,96 = 1,59 м2 · °C/Вт.                               (6)

При необходимости вычитаем сопротивление теплопередаче защитно-декоративного слоя R04, равного:

                                         (7)

DR = 1,59 - 0,007 = 1,583 м2 · °C/Вт.

Толщина слоя дополнительной теплоизоляции при λ3 = 0,042 Вт/(м · °C) и коэффициенте теплотехническом r = 0,92 составит:

                                           (8)

Принимаем слой изоляции равным 80 мм, кратно номенклатуре типовых толщин, тогда фактическое сопротивление теплопередаче составит:

     (9)

Данный вариант стеновой ограждающей конструкции для здания 2-го типа соответствует требованиям по теплозащите здания для региона Москвы при толщине наружной теплоизоляции 80 мм. Фактическое сопротивление теплопередаче составит 2,72 м2 · °C/Вт.

Расчет необходимости парозащиты стены

1. Цель расчета - определение необходимости устройства специальной парозащиты в многослойной стене.

2. Исходные данные - административное здание в Москве.

tвн = 18 °C; jвн = 50 %; Rфак = 2,72 м2 · °C/Вт (см. расчет теплозащиты стены).

3. Конструкция стены

1 - цементно-известковая штукатурка

λ = 0,87 Вт/(м · °C); µ = 0,098 мг/(м · ч · Па);

2 - кирпичная кладка

λ = 0,64 Вт/(м · °C); µ = 0,14 мг/(м · ч · Па);

3 - плита пенополистирола ПСБ-С-25Ф

λ = 0,042 Вт/(м · °C); µ = 0,03 мг/(м · ч · Па);

4 - защитный слой из тонкостенной штукатурки

λ = 0,87 Вт/(м · °C); µ = 0,13 мг/(м · ч · Па)

а - а - плоскость возможной конденсации

Сопротивление теплопередаче внутренних слоев с учетом коэффициента теплоотдачи внутренней поверхности ограждающих конструкций 1/aв = 0,115, принимаемого по СНиП 23-02, составит:

4. Требуемое сопротивление паропроницанию слоев стены до плоскости возможной конденсации должно быть не менее наибольшего из следующих требуемых сопротивлений паропроницанию:

а) из условия недопустимости накопления влаги в ограждающей конструкции за годовой период эксплуатации

                                                    (10)

б) из условия ограничения влаги в ограждающей конструкции за период с отрицательными среднемесячными температурами наружного воздуха

                                                   (11)

5. Проверка возможности влагонакопления за годовой период.

Значения среднемесячных температур наружного воздуха для Москвы по СНиП 23-01-99* «Строительная климатология» и средней упругости водяных паров наружного воздуха по таблице 5 Изменения № 1 к СНиП 23-01-99* «Строительная климатология» приведены в таблице 1.

Таблица 1

Месяц

1

2

3

4

5

6

7

8

9

10

11

12

Тн °C

-10,2

-9,2

-4,3

4,4

11,9

16,0

18,1

16,3

10,7

4,3

-1,9

-7,3

ен, гПа

2,8

2,9

3,9

6,2

9,1

12,4

14,7

14,0

10,4

7,0

5,0

3,6

Значение Z0 продолжительности, сут., периода влагонакопления, принимаемое равным периоду с отрицательными среднемесячными температурами наружного воздуха по СНиП 23-01-99* «Строительная климатология» (таблица 1), составит 145 сут.

Температура в плоскости возможной конденсации, соответствующая среднесезонным температурам, определяется по формуле

                                                     (12)

Сезонные и среднемесячные температуры по таблице 1:

зимний период (средние температуры наружного воздуха ниже минус 5 °C)

Z1 = 3 мес.; tн1 = -8,9 °C;

весенне-осенний период (средние температуры наружного воздуха от минус 5 до плюс 5 °C)

Z2 = 4 мес.; tн2 = +0,63 °C;

летний период (средние температуры наружного воздуха выше плюс 5 °C)

Z3 = 5 мес.; tн3 = +14,6 °C;

Упругость водяного пара, Па, принимаемую по температуре в плоскости возможной конденсации, определяем при средней температуре наружного воздуха зимнего, весенне-осеннего и летнего периодов по формуле

                                                      (13)

соответственно Е1 = 320 Па; Е2 - 648 Па; Е3 = 1662 Па.

Упругость водяного пара, Па, в плоскости возможной конденсации за годовой период эксплуатации определяем по формуле

                                                (14)

Е = (320 · 3 + 648 · 4 + 1662 · 5) / 12 = 989 Па.

Упругость водяного пара внутреннего воздуха, Па, при расчетной температуре и влажности этого воздуха определяем по формуле

eв = (jвн / 100)Eв,                                                      (15)

где Ев = 206,4 Па при tвн = 18 °C по формуле (13).

eв = (50 / 100) · 206,4 = 1032 Па.

Средняя упругость водяного пара за годовой период (см. таблицу 1):

ен.ср = Σен / 12 = 767 Па.                                                  (16)

Rп.нар.слоя = 0,006 / 0,13 = 0,046 м2 · ч · Па/мг;

Rп.внут.слоя = 0,08 / 0,03 + 0,51 / 0,14 + 0,02 / 0,098 = 6,51 м2 · ч · Па/мг.

По формуле (10)

т.е. по этому условию устройство парозащиты не требуется.

6. Проверка возможности влагонакопления за период с отрицательными среднемесячными температурами.

Средняя упругость водяного пара наружного воздуха периода месяцев с отрицательными среднемесячными температурами Z0 (см. таблицу 1):

eн0 = 364 Па.

Средняя температура наружного воздуха за тот же период (см. таблицу 1):

Tн0 = -6,58 °C.

По формуле (12)

Этой температуре по формуле (13) соответствует Е0 = 382 Па.

По формуле

При g = 25 кг/м3; δ = 0,08 м; Dwcp = 25 % находим по формуле (11)

т.е. по этому условию устройство дополнительной пароизоляции также не требуется.

Расчет выполнен по СНиП 23-02-2003 «Тепловая защита зданий». При необходимости выполнения развернутых расчетов рекомендуется применять Свод правил по проектированию тепловой защиты СП 23-101-2004 «Проектирование тепловой защиты зданий».

Приложение Г

Инструкция по наружному утеплению стен зданий с отделочным слоем из тонкослойной штукатурки

1. Общие положения

Инструкция по монтажу систем наружной теплоизоляции фасадов зданий (далее - системы теплоизоляции) «Ceresit WM» и «Ceresit VWS» разработана для проведения и проверки правильности монтажа систем теплоизоляции «Ceresit WM» и «Ceresit VWS».

Перед началом работ по монтажу системы теплоизоляции ознакомьтесь с настоящей Инструкцией, Материалами для проектирования и рабочими чертежами узлов, Техническими описаниями на применяемые материалы.

Системы теплоизоляции «Ceresit WM» и «Ceresit VWS» (производитель - компания «Хенкель Баутехник») представляют собой системы наружной теплоизоляции фасадов зданий и сооружений «скрепленного типа», в качестве теплоизоляционного слоя в которых применяются:

- минеральные плиты из базальтового волокна (далее - минераловатные плиты) - система «Ceresit WM»;

- плиты из пенополистирола - система «Ceresit VWS». При этом противопожарные рассечки выполняются из минераловатных плит.

Системы теплоизоляции «Ceresit WM» и «Ceresit VWS» предназначены для утепления как вновь возводимых сооружений, так и реконструируемых зданий.

Системы теплоизоляции «Ceresit WM» и «Ceresit VWS» являются эквивалентом строительного изделия, поставляемым в виде комплекта заранее изготовленных, однозначно идентифицируемых и сертифицированных материалов. Применение несистемных материалов или материалов других производителей не допускается.

Примечание - В связи с разработкой новых материалов и совершенствованием систем теплоизоляции производитель оставляет за собой право вносить изменения и дополнения в настоящую Инструкцию, Материалы для проектирования и рабочие чертежи узлов, Технические описания на применяемые материалы и другие технические публикации.

Монтаж систем теплоизоляции рекомендуется начинать после:

- завершения всех внутренних «мокрых» процессов (кладка, бетонные и штукатурные работы, устройство цементной стяжки) и обеспечения достаточного просушивания всего объекта;

- устройства кровельного покрытия;

- монтажа оконных и дверных блоков.

На время монтажа необходимо принять меры для предотвращения попадания воды на поверхность и внутрь систем.

Монтаж систем теплоизоляции следует проводить при температуре воздуха и основания от +5 °C до +30 °C, если нет других конкретных указаний.

При производстве работ рекомендуется применять следующие инструменты:

- линейку и угольник стальные;

- нож и пилу с жесткими лезвиями;

- резиновый молоток;

- штукатурный шпатель из нержавеющей стали;

- зубчатую кельму из нержавеющей стали с размером зуба 8 мм;

- зубчатую кельму из нержавеющей стали с размером зуба 4 мм;

- кельмы для внешних и внутренних углов из нержавеющей стали;

- широкий фасадный шпатель из нержавеющей стали;

- пластиковую терку толщиной не менее 3 мм;

- терки полиуретановые приблизительно 30´40 см (для уплотнения стыков плит).

2. Подготовительные работы

2.1. Установка строительных лесов

Леса следует устанавливать на расстоянии от наружной стены, равном толщине утеплителя плюс 45 см. Для анкеровки лесов необходимо эффективно использовать оконные и дверные проемы, балконные плиты и другие конструкции, позволяющие уменьшить количество мест крепления, проходящих сквозь устраиваемую систему теплоизоляции. В местах, где нужно обеспечить прямое крепление строительных лесов к наружной стене, крепежные анкеры следует устанавливать с небольшим наклоном вниз. Это предотвратит попадание дождевой воды внутрь теплоизоляционного слоя.

Для удобства монтажа систем теплоизоляции строительные леса должны быть установлены с запуском за углы здания на расстояние не менее 2 м.

Не рекомендуется проводить монтаж систем теплоизоляции с навесных строительных люлек.

2.2. Подготовка строительного основания

Подготовка строительного основания должна включать в себя следующие операции:

- механическую очистку основания от остатков строительного раствора, загрязнений (пыли, мела и т.д.);

- механическое удаление и/или удаление специальными растворами высолов, цементных и известковых налетов;

- механическое удаление грибков, лишайников, мхов, плесени и последующую обработку пораженных участков противогрибковым средством «Ceresit CT99».

Примечание - Средство содержит органические биоцидные компоненты и поэтому при работе с ним запрещается принимать пищу, пить и курить, а также не допускается его нанесение методом распыления;

- проверку несущей способности основания (рисунок 1);

- удаление осыпающихся и непрочных участков основания (рисунок 2);

- заполнение изъянов поверхности основания глубиной более 10 мм ремонтной шпаклевкой «Ceresit CT29»;

- обработку основания универсальной грунтовкой «Ceresit CT17» (рисунок 3) (выполняется при необходимости);

- очистку от ржавчины и обработку антикоррозийной грунтовкой металлических деталей, закрываемых системой теплоизоляции.

Рис. 1

Рис. 2

Рис. 3

Следует проверить строительное основание на отклонение от плоскости. Неровности основания не должны превышать 1 см во всех направлениях при проверке 2-метровым правилом. Если основание не отвечает этим требованиям, его необходимо выровнять строительным раствором (например, «Ceresit CT29»).

3. Монтаж систем теплоизоляции «Ceresit»

При монтаже систем должна соблюдаться следующая последовательность операций:

- установка цокольного профиля;

- приклеивание теплоизоляционных плит к основанию;

- механическое крепление теплоизоляционных плит дюбелями;

- установка усиливающих элементов и профилей;

- создание защитного армированного слоя;

- грунтование защитного армированного слоя;

- устройство внешнего декоративного слоя;

- грунтование и окраска декоративно-защитного слоя (выполняется при необходимости);

- заделка мест крепления строительных лесов.

3.1. Монтаж цокольного профиля

Монтаж цокольного профиля (рисунок 4) следует выполнять в соответствии с проектом, горизонтально, в одной плоскости, прикрепляя его к основанию дюбелями. Расстояние между дюбелями не должно превышать 30 см. Между соседними профилями необходимо оставлять зазор 2 - 3 мм для стыковки с помощью пластмассовых соединительных элементов.

Рис. 4

Рис. 5

Рис. 6

Не допускается соединение цокольного профиля внахлест.

В местах крепления цокольного профиля необходимо обеспечить его плотное примыкание к основанию, используя соответствующие по толщине специальные подкладочные шайбы (рисунок 5).

На углах здания цокольный профиль формируется с помощью двух косых надрезов и последующего сгиба (рисунок 6). Соединение цокольного профиля осуществляется при помощи пластмассовых соединительных элементов.

3.2. Приклеивание теплоизоляционных плит к основанию

Приклеивание теплоизоляционных плит необходимо выполнять с использованием специальных клеевых составов:

- «Ceresit СT190» - для приклейки минераловатных плит;

- «Ceresit CT83» или «Ceresit CT85» - для приклейки плит из пенополистирола.

3.2.1. Приготовление растворной смеси

Клеевые составы поставляются в виде сухой смеси в герметичных мешках.

Для приготовления растворной смеси берут точно отмеренное количество чистой воды (от +15 °C до +20 °C). Сухую смесь постепенно добавляют в воду при постоянном перемешивании, добиваясь получения однородной массы без комков. Перемешивание производят с помощью миксера или дрели с насадкой для вязких веществ (рисунок 7). Скорость вращения мешалки должна составлять 400 - 800 об/мин.

Перемешивание растворной смеси миксером со скоростью вращения мешалки, превышающей 800 об/мин, может привести к расслоению растворной смеси.

Затем выдерживают технологическую паузу 5 минут для созревания смеси, после чего ее перемешивают еще раз.

Рис. 7

В процессе работы консистенцию растворной смеси поддерживают за счет ее повторного перемешивания. Добавление воды в растворную смесь не допускается.

3.2.2. Нанесение клеевого состава на теплоизоляционные плиты

Клей с помощью штукатурного шпателя наносится на теплоизоляционные плиты валиком шириной 50 - 80 мм и толщиной 10 - 20 мм по всему периметру с отступом от краев 3 - 4 см и дополнительно 5 - 8 «куличами» по плоскости плиты (рисунок 8).

Полоса клея, наносимого по контуру плиты, должна иметь разрывы, чтобы исключить образование воздушных пробок. После установки плиты утеплителя в проектное положение площадь адгезионного контакта должна составлять не менее 40 % скрепляемой поверхности.

Перед нанесением клеевого раствора поверхность минераловатной плиты следует загрунтовать тонким слоем того же самого клеевого раствора (рисунок 9).

При монтаже двухслойных минераловатных плит с повышенной плотностью наружного слоя (например, ROCKWOOL Facade Slab, PAROC FAS 4) клеевой состав для приклеивания должен наносится на мягкую сторону плиты.

Если неровности основания не превышают 3 мм, нанесение клеевого состава производится по всей поверхности плиты с помощью зубчатого шпателя с размером зуба 10 - 12 мм.

На минераловатные плиты с поперечной ориентацией волокон (ламели) клеевой раствор наносится по всей поверхности плиты зубчатым шпателем с размером зуба 10 - 12 мм (рисунок 10).

Рис. 8

Рис. 9

Рис. 10

Сразу же после нанесения клеевого состава плита устанавливается в проектное положение, излишки выступившего клея удаляют (рисунок 11).

Не оставляйте клеевой состав на торцах теплоизоляционных плит.

Теплоизоляционные плиты приклеиваются на основание снизу вверх, начиная от цокольного профиля горизонтальными рядами, с перевязкой вертикальных швов в каждом ряду, причем на внешних и внутренних углах следует выполнять зубчатое зацепление плит (рисунок 12).

При теплоизоляции цокольной части здания плиты утеплителя приклеиваются в направлении сверху вниз от цокольного профиля.

После установки первого ряда теплоизоляционных плит на цокольный профиль зазор между строительным основанием и профилем необходимо заполнить полиуретановой пеной (например, монтажной пеной Macroflex).

Устанавливать теплоизоляционные плиты следует вплотную друг к другу. В случае если после установки плит остаются зазоры шириной более 2 мм, их необходимо заполнить клиновидными полосками, вырезанными из теплоизоляционного материала (рисунок 13).

Не допускается заполнение швов между теплоизоляционными плитами клеевым составом.

На углах оконных и дверных проемов следует устанавливать теплоизоляционные плиты с угловым вырезом таким образом, чтобы стыки швов с примыкающими плитами находились на расстоянии не менее 100 мм от угла проема.

Швы между теплоизоляционными плитами должны располагаться на расстоянии не менее 100 мм от края выступа на плоскости основания или от границы разных материалов основания (например, бетонные участки в кладке).

Рис. 11

Рис. 12

Рис. 13

Если оконные и дверные блоки смонтированы в плоскости фасада, то теплоизоляционные плиты следует устанавливать с напуском на коробку блока не менее 2 см. Предварительно по периметру коробки должны быть наклеены уплотнительная полиуретановая лента или специальный примыкающий профиль.

В случае если оконные и дверные блоки утоплены по отношению к плоскости фасада и необходимо утеплить откос, то сначала устанавливаются теплоизоляционные плиты основной плоскости фасада с необходимым напуском вовнутрь проема, а затем подготовленные по размеру плиты утеплителя приклеиваются на откосы. Предварительно по периметру коробки должны быть наклеены уплотнительная полиуретановая лента или специальный примыкающий профиль.

Уплотнительная лента в проектном положении должна быть сжата не менее чем на 1/3 своей толщины в свободном состоянии.

На всех углах уплотнительную ленту необходимо разрезать. Не допускается огибание угла сплошной лентой без соединения «встык».

В системе теплоизоляции «Ceresit VWS» поэтажные горизонтальные противопожарные рассечки, окантовки оконных и дверных проемов выполняются из минераловатных плит. Высота поперечного сечения рассечек и окантовок должна быть не менее 150 мм.

Все элементы (например, электропроводка и т.д.), которые не снимаются с фасада и при монтаже теплоизоляционного слоя оказываются под ним, маркируются во избежание их повреждения при последующем дюбелировании.

Раскрой теплоизоляционных плит производится при помощи стальной линейки, угольника, ножа с широким лезвием и пилы с мелкими зубьями.

Правильность установки каждой плиты утеплителя в проектное положение контролируется 2-метровым уровнем.

Минераловатные плиты иногда имеют крупные включения связующего материала, используемого при их изготовлении, которые в дальнейшем могут стать причиной появления темных пятен на поверхности внешнего декоративного слоя. Поэтому после крепления минераловатных плит необходимо тщательно обследовать их поверхность и механически удалить имеющиеся включения, а образовавшиеся раковины заполнить теплоизоляционным материалом.

Перед установкой дюбелей поверхность теплоизоляционных плит при наличии неровных стыков следует обработать наждачной бумагой или абразивной теркой. Образовавшуюся после шлифования пенополистирольную крошку необходимо удалить с поверхности.

3.3. Механическое крепление теплоизоляционных плит дюбелями

Механическое крепление теплоизоляционных плит соответствующими дюбелями выполняется только после полного высыхания клеевого состава, но не менее чем через 72 ч после приклеивания (при температуре воздуха +20 °C и относительной влажности 60 %).

Дюбелирование выполняется следующим образом:

- сверлится отверстие под дюбель глубиной на 10 - 15 мм больше длины анкеровки;

- в отверстие с усилием «от руки» вставляется пластиковый дюбель так, чтобы тарельчатый диск дюбеля был вровень с поверхностью плиты;

- забивается или завинчивается (в зависимости от типа дюбеля) металлический распорный сердечник;

Рис. 14

- тарельчатый диск дюбеля зашпаклевывается клеевым раствором для приклеивания плит.

Тарельчатый диск дюбеля после его установки не должен выступать над поверхностью теплоизоляционного слоя.

При забивании металлического распорного сердечника следует исключить возможность повреждения его пластмассовой головки. Поэтому рекомендуется при работе использовать молоток с резиновым бойком или забивать сердечник через деревянную прокладку. Сердечник с поврежденной головкой должен быть заменен.

Количество и тип дюбелей определяются на основе расчетов в проектной документации.

На обычной плоскости фасада крепление дюбелей, как правило, осуществляется на углах плит и в их центре. На внешних углах здания, в зоне повышенных ветровых нагрузок, которая составляет 1,0 - 2,0 м от грани угла в каждую сторону, производится усиленное дюбелирование (рисунок 14).

3.4. Установка усиливающих элементов и профилей

Все внешние углы здания, а также углы оконных и дверных проемов усиливаются пластиковыми уголками с сеткой. Уголки устанавливаются встык по отношению друг к другу с нахлестом сетки в местах стыка минимум на 10 см (рисунок 15).

При этом:

- на обе плоскости угла на ширину выпусков сетки монтируемого уголка зубчатой теркой (размер зуба 4 мм) наносится клеевой состав;

- в клеевой раствор вдавливается уголок так, чтобы через его технологические отверстия проступил клеевой состав;

- выпуски сетки уголка прижимаются к поверхности стены;

- проступивший через ячейки сетки клеевой состав снимается гладкой теркой.

Не забудьте после установки усиливающего уголка нанести клеевой состав на плоскости откосов оконных и дверных проемов и заармировать их сеткой.

На горизонтальные углы для предотвращения попадания воды на горизонтальные плоскости устанавливаются пластиковые уголки с капельником.

Вершины углов оконных и дверных проемов необходимо дополнительно усилить прямоугольными полосками из армирующей сетки размером не менее 20´30 см (рисунок 16).

Для этого:

- на плиту теплоизоляции в вершинах углов проемов зубчатой теркой (размер зуба 4 мм) наносят клеевой состав по размеру полоски;

- легким надавливанием гладкой стороной терки полоску утапливают в клеевой состав и снимают проступившие сквозь сетку излишки клеевого состава.

Усилительная полоска армирующей сетки монтируется без напуска на пластиковый уголок. При наличии в конструкции здания термодинамического шва в монтируемую систему теплоизоляции следует установить деформационный профиль (рисунок 17).

Рис. 15

Рис. 16

Рис. 17

3.5. Создание защитного армированного слоя

Перед созданием защитного армированного слоя необходимо подготовить (нарезать) полотна армирующей сетки требуемой длины и в количестве, достаточном для укрытия всей плоскости утепляемой поверхности (с учетом нахлеста соседних полотен не менее 10 см), разместить полотна сетки в рулонах на верхнем ярусе строительных лесов.

Полотна армирующей сетки укладывают вертикально сверху вниз до капельника цокольного профиля.

При создании защитного армированного слоя необходимо соблюдать следующую последовательность технологических операций:

- с помощью гладкой стальной терки нанести на плиты утеплителя соответствующий виду утеплителя клеевой состав ровным слоем толщиной 2 - 3 мм. Эта операция выполняется одновременно на всех ярусах лесов начиная с правого угла стены на ширину 1,6 - 1,8 м.

Перед нанесением клеевого состава поверхность минераловатной плиты следует загрунтовать тонким слоем того же самого клеевого состава;

- размотать приготовленный рулон сетки между стеной и строительными лесами на всю длину подготовленной поверхности;

- натянуть полотно сетки и прислонить к нанесенному клеевому составу;

- зафиксировать сетку в клеевом составе и сразу установить второе полотно сетки (как это указано выше) с нахлестом не менее 10 см на предыдущее (рисунок 18);

- утопить сетку предыдущего полотна в клеевой состав;

- сразу же нанести второй слой клеевого состава толщиной до 3 мм, ровно разглаживая поверхность так, чтобы сетка не была видна;

- в местах примыкания защитного армированного слоя к оконным и дверным блокам кельмой снять фаску под 45° до уплотнительной ленты.

Армирующую сетку запрещается укладывать непосредственно на теплоизоляционный слой. Сетка должна располагаться внутри клеевого слоя и не просматриваться на его поверхности.

Неровности на поверхности защитного армированного слоя удаляются на следующий день после его создания.

Рис. 18

3.5.1. Меры по антивандальной защите

Для предотвращения механического повреждения системы теплоизоляции на высоту 2,5 м от цокольного профиля защитный армированный слой выполняется в антивандальном исполнении. Антивандальная защита представляет собой усиление армирующего слоя дополнительным слоем панцирной или обычной сетки, утопленным в клеевой состав:

- с помощью гладкой стальной терки нанести на плиты утеплителя соответствующий виду утеплителя клеевой состав ровным слоем толщиной 2 - 3 мм;

- заранее подготовленные полотна сетки утопить в клеевой состав;

- проступивший через ячейки сетки клеевой состав снять гладкой стороной терки. Устройство антивандальной защиты с использованием панцирной сетки производится до создания защитного армирующего слоя.

Соседние полотна панцирной сетки монтируются встык, без перехлеста.

По технологии, описанной в п. 3.5, нанесите второй слой армирующей сетки с нахлестом соседних полотен не менее 10 см.

3.6. Устройство внешнего декоративного слоя

К нанесению внешнего декоративного слоя можно приступать только после полного высыхания защитного армированного слоя, по не ранее чем через 72 ч (при температуре окружающей среды 20 °C и относительной влажности воздуха 60 %).

Рис. 19

3.6.1. Грунтовка под декоративную отделку

Перед нанесением внешнего декоративного слоя поверхность основания необходимо загрунтовать грунтовкой «Ceresit СТ16» (если для создания декоративного слоя используют силикатные штукатурки «Ceresit CT72», «Ceresit CT73», то грунтование осуществляют грунтовкой «Ceresit CT15»).

Перед нанесением грунтовку необходимо тщательно перемешать.

Грунтовка наносится на поверхность кистью равномерным слоем за один проход (рисунок 19).

Не допускается использовать для нанесения грунтовки малярный валик и разбавлять грунтовку водой.

Грунтовки «Ceresit CT15» и «Ceresit CT16» рекомендуется применять в цвете, близком к цвету используемой впоследствии декоративной штукатурки.

3.6.2. Нанесение внешнего декоративного слоя

К созданию декоративного слоя можно приступать не менее чем через 6 ч после нанесения грунтовочного слоя (при температуре окружающей среды +20 °C и относительной влажности воздуха 60 %).

Для устройства внешнего декоративного слоя используют тонкослойные штукатурки:

- минеральные - «Ceresit CT35» (короед), «Ceresit CT36» (структурная), «Ceresit CT137» (камешковая);

- акриловые - «Ceresit CT60» (камешковая), «Ceresit CT63», «Ceresit CT64» (короед), «Ceresit СТ77» (мозаичная);

- силикатные - «Ceresit CT72» (камешковая), «Ceresit CT73» (короед);

- силиконовые - «Ceresit CT74» (камешковая), «Ceresit CT75» (короед).

3.6.2.1. Приготовление растворной смеси

Акриловые, силикатные и силиконовые штукатурки поставляются готовыми к применению в пластиковых ведрах. Перед использованием содержимое емкости следует тщательно перемешать. При необходимости довести штукатурку до нужной консистенции можно, добавив в нее небольшое количество воды (не более 125 мл на 20 кг штукатурки) и перемешав повторно.

Избыток воды может сделать применение штукатурки невозможным.

Минеральные штукатурки поставляются в виде сухой смеси в герметичных мешках. Для приготовления растворной смеси берут точно отмеренное количество чистой воды (от +15 °C до +20 °C). Сухую смесь постепенно добавляют в воду при постоянном перемешивании, добиваясь получения однородной массы без комков. Перемешивание производят с помощью миксера или дрели с насадкой для вязких веществ. Скорость вращения мешалки должна составлять 400 - 800 об/мин.

Перемешивание растворной смеси миксером со скоростью вращения мешалки, превышающей 800 об/мин, может привести к расслоению растворной смеси.

Затем выдерживают технологическую паузу 5 мин для созревания смеси, после чего ее перемешивают еще раз.

В процессе работы консистенцию растворной смеси поддерживают за счет ее повторного перемешивания. Добавление воды в растворную смесь не допускается.

3.6.2.2. Нанесение на основание

Растворную смесь декоративной штукатурки наносят на основание при помощи терки из нержавеющей стали, при этом терку держат под углом 60° к поверхности (рисунок 20). Толщина наносимого слоя должна соответствовать размеру зерна минерального заполнителя, за исключением штукатурки «Ceresit CT36».

Рис. 20

Спустя некоторое время, когда растворная смесь перестанет прилипать к инструменту, формируют фактуру штукатурки при помощи пластиковой терки:

- для декоративной штукатурки «камешковую» фактуру в виде густо уложенных, одинаковых по размеру камешков формируют мелкими круговыми движениями, направленными в одну сторону;

- для декоративной штукатурки «короед» в зависимости от амплитуды и траектории движения терки можно получить горизонтальные, вертикальные, круговые или перекрестные борозды.

Пластиковую терку при выполнении работ следует держать строго параллельно обрабатываемой поверхности, а фактуру формировать легкими скользящими движениями, избегая сильного нажима на штукатурный слой (рисунок 21).

Рис. 21

Периодически удаляйте излишки растворной смеси, скапливающиеся на рабочей поверхности пластиковой терки. Не рекомендуется очищать рабочую пластиковую поверхность терки водой, используйте для этого ветошь.

Не возвращайте излишки связующего декоративной штукатурки с поверхности пластиковой терки обратно в емкость с растворной смесью.

«Структурную» штукатурку «Ceresit CT36» наносят на основание при помощи терки из нержавеющей стали. При этом терку нужно держать под углом 60° к поверхности. Толщина наносимого слоя должна составлять 3 - 5 мм (но не более 8 мм). Фактуру поверхности формируют сразу же после нанесения штукатурки при помощи мехового или поролонового валика, терки, резинового или металлического шпателя, кисти или других инструментов (рисунки 22 - 24).

Рис. 22

Рис. 23

Рис. 24

«Мозаичная» декоративная штукатурка «Ceresit CT77» наносится на основание при помощи терки из нержавеющей стали, причем терку нужно держать под углом 60° к поверхности. Толщина наносимого слоя должна соответствовать полутора размерам зерна минерального заполнителя. Штукатурный слой заглаживают той же теркой до того, как поверхность начнет подсыхать. При этом терку не следует сильно прижимать к основанию.

При нанесении «мозаичной» декоративной штукатурки «Ceresit CT77» работы следует выполнять при температуре воздуха и основания от +10 °C до +30 °C и относительной влажности воздуха не более 80 %.

Работы на одной поверхности следует выполнять непрерывно, с верхнего угла, опускаясь по схеме «лестницы» вниз и придерживаясь правила «мокрое по мокрому».

При необходимости прервать работу вдоль линии, где нужно закончить штукатурный слой, приклеивают самоклеящуюся малярную ленту. Затем следует нанести штукатурку, сформировать структуру и удалить малярную ленту вместе с остатками штукатурки, пока она не схватилась. При возобновлении работ край уже оштукатуренного участка, на котором работы были прерваны, закрывается малярной лентой. Ленту следует удалить сразу после формирования структуры на новом участке штукатурки, до того как декоративная штукатурка начнет схватываться.

При выполнении работ следует избегать нанесения штукатурки на участках фасада, находящихся под воздействием прямых солнечных лучей, ветра и дождя.

При нанесении «цветных» минеральных декоративных штукатурок свеженанесенный штукатурный слой в течение 3 сут. (для белой и «под окраску» штукатурок - в течение 1 сут.) следует защищать от прямого попадания воды и пересыхания. Работы следует выполнять при температуре воздуха и основания от +9 °C до +30 °C.

Для исключения разнотона декоративного покрытия на больших однородных площадях следует использовать «цветную» декоративную штукатурку одной партии, воду из одного источника, во всех замесах использовать одинаковое количество воды затворения на 1 кг сухой смеси и в течение 3 сут. выдерживать температурный режим применения.

3.6.3. Окраска декоративного защитного слоя

В случае использования минеральных декоративных штукатурок «под окраску» их окраску осуществляют фасадными красками:

- акриловыми - «Ceresit CT42», «Ceresit CT44»;

- силикатной - «Ceresit CT54»;

- силиконовой - «Ceresit CT48».

Окрашивание минеральных декоративных штукатурок «Ceresit CT35», «Ceresit CT137» «под окраску» возможно:

- силикатной фасадной краской «Ceresit CT54» через три дня;

- силиконовой краской «Ceresit CT48» через семь дней;

- акриловыми красками «Ceresit CT42», «Ceresit CT44» через семь дней

после нанесения декоративных штукатурок.

Перед нанесением фасадных красок поверхность декоративной штукатурки при необходимости грунтуется грунтовкой «Ceresit CT17». После тщательного перемешивания грунтовка «Ceresit СТ17» наносится на основание с помощью кисти. Дальнейшую окраску можно проводить только после полного высыхания грунтовки (через 4 - 6 ч, в зависимости от условий высыхания).

Фасадные краски «Ceresit» производятся уже готовыми к применению. Перед использованием содержимое емкости следует тщательно перемешать.

Окрасочное покрытие следует наносить не менее чем за два прохода. Первый слой краски наносят кистью (рисунок 25). При нанесении первого слоя краску можно довести до нужной консистенции, добавив:

- в акриловые краски «Ceresit СТ42», «Ceresit CT44» - не более 7 %;

- в силикатную - 10 - 15 %;

- в силиконовую краску «Ceresit CT48» - до 5 % чистой воды и повторно перемешав.

Второй, а при необходимости третий слои краски наносят не разбавляя. Последующие слои можно наносить валиком или краскопультом. При этом нужно следить за равномерностью нанесения краски.

В зависимости от условий высыхания краски второй слой можно наносить через:

- 4 - 5 ч для акриловых красок «Ceresit CT42», «Ceresit CT44»;

- 12 ч для силикатной краски «Ceresit CT54»;

- 12 - 24 ч для силиконовой краски «Ceresit CT48».

Краска «Ceresit CT54» имеет сильную щелочную реакцию и может вызвать необратимое обесцвечивание на стеклянных, керамических, полимерных, деревянных, металлических и каменных поверхностях. Поэтому не предназначенные под покраску поверхности (например, окна, двери) необходимо закрывать пленкой или бумагой.

Штукатурные составы на основе акрилового, силикатного или силиконового связующего колеруются в объеме. В этом случае окраска фасадными красками не требуется.

Рис. 25

3.7. Заделка мест анкеровки строительных лесов

В процессе демонтажа строительных лесов произведите заделку мест их анкеровки в следующем порядке:

- заполните места анкеровки лесов в стене тем же теплоизоляционным материалом;

- нанесите слой клеевого раствора и заармируйте его сеткой;

- нанесите защитный декоративный слой;

- загрунтуйте защитный декоративный слой;

- произведите его покраску (если требуется).

4. Консервация системы теплоизоляции в случае незавершенного монтажа

Консервация системы теплоизоляции допускается только после создания защитного армированного слоя на поверхности теплоизоляционного материала и последующего грунтования грунтовкой под декоративную отделку «Ceresit CT16» («Ceresit CT15»).

Продолжительность консервации не должна превышать 6 мес.

5. Требования безопасности

Работы по монтажу систем теплоизоляции «Ceresit» должны выполняться с учетом требований:

СНиП 12-03-2001. Безопасность труда в строительстве. Часть 1. Общие требования

СНиП 12-04-2002. Безопасность труда в строительстве. Часть 2. Строительное производство

ГОСТ 12.1.003-83 ССБТ. Шум. Общие требования безопасности

ГОСТ 12.1.004-91 ССБТ. Пожарная безопасность. Общие требования

ГОСТ 12.1.005-88 ССБТ. Общие санитарно-гигиенические требования к воздуху рабочей зоны

ГОСТ 12.1.019-79 ССБТ. Электробезопасность. Общие требования

ГОСТ 12.1.030-81 ССБТ. Электробезопасность. Защитное заземление, зануление

ГОСТ 12.2.013.0-91 ССБТ. Машины ручные электрические. Общие требования безопасности и методы испытаний

ГОСТ 12.3.009-76 ССБТ. Работы погрузочно-разгрузочные. Общие требования безопасности

ГОСТ 12.3.035-84 ССБТ. Строительство. Работы окрасочные. Требования безопасности

ГОСТ 12.4.011-89 ССБТ. Средства защиты работающих. Общие требования и классификация

ГОСТ 12.4.059-89 ССБТ. Строительство. Ограждения защитные инвентарные. Общие технические условия

Приложение Д

Организация труда и нормы трудозатрат

1. Общие положения

Монтаж систем с теплоизоляцией из пенополистирола и минераловатных плит с отделочным слоем из тонкослойной штукатурки выполняется в технологической последовательности в соответствии с календарным планом (графиком) с учетом обоснованного совмещения отдельных видов работ.

Выполнение работ необходимо предусматривать в наиболее благоприятное время года в соответствии с допустимой температурой применения материалов. Допускается выполнение работ в зимнее время года при условии соблюдения дополнительных мер по обеспечению требуемых температурного и влажностного режимов путем устройства теплового контура на строительных лесах.

2. Организация труда

Организационно-техническая подготовка должна включать:

- обеспечение стройки проектно-сметной документацией;

- оформление финансирования строительства;

- заключение договоров подряда и субподряда на строительство;

- оформление разрешений и допусков на производство работ;

- обеспечение строительства подъездными путями, электро-, водо- и теплоснабжением, системой связи и помещениями бытового обслуживания;

- организацию поставки на строительство оборудования, конструкций, материалов и готовых изделий.

Бригады в зависимости от характера работы следует формировать комплексными или специализированными. Комплексные бригады, как правило, необходимо создавать укрупненными - для производства законченной конструкции, укрупненного этапа работ. Специализированные бригады выполняют отдельные технологические переделы (монтаж теплоизоляции, штукатурные и малярные работы).

Контроль качества строительно-монтажных работ должен осуществляться специалистами или специальными службами, входящими в состав строительных организаций или привлекаемыми со стороны и оснащенными техническими средствами, обеспечивающими необходимую достоверность и полноту контроля.

В процессе производства строительно-монтажных работ должны соблюдаться требования ГОСТов и СНиПов по технике безопасности в строительстве.

3. Нормы трудозатрат

Настоящие нормы трудозатрат разработаны с учетом правил техники безопасности и производственной санитарии. Нормы трудозатрат приведены на одного рабочего из расчета смены продолжительностью 8 ч и регламентируют порядок учета производительности труда при монтаже систем с теплоизоляцией из пенополистирола и минераловатных плит с отделочным слоем из тонкослойной штукатурки для наружного утепления стен зданий. Основная единица измерения - человеко-час (чел.-ч).

Нормами трудозатрат учтены:

- мелкие вспомогательные и подготовительные операции, являющиеся неотъемлемой частью технологического процесса (в составе работ не оговорены);

- подготовительные работы;

- технологические переделы;

- перерывы на отдых (в составе работ не оговорены);

- завершающие работы.

Дополнительные коэффициенты (например, на стесненные условия производства работ) не учтены. Установка водостоков, подоконных отливов, выравнивание отклонений стен от плоскости, превышающих допуски, настоящими нормами не учтены и оцениваются дополнительно.

Пооперационная производительность труда на единицу измерения и на условный объем работ приведена в таблице 1 данного приложения.

Исходные данные для расчета: 1000 м2 утепляемого фасада с коэффициентом светопроемов 0,18; планируемые сроки работ - 45 календарных дней.

Таблица 1

№ п.п.

Наименование работ

Единица измерения

Количество ед. изм. на усл. объем работ

Состав звена

Затраты труда, чел.-ч

Профессия

Количество

На ед. изм.

На усл. объем работ

1

Подготовительные работы

 

 

 

 

 

1052,7

1.1

Установка и разборка наружных инвентарных лесов

м2

1200

Монтажник

3

0,4350

522,0

1.2

Очистка стен от загрязнений

м2

1000

Штукатур

1

0,0200

20,0

1.3

Огрунтовка стен

м2

1000

Маляр

1

0,0907

90,7

1.4

Провешивание стен и установка маяков

м2

1000

Штукатур

1

0,1200

120,0

1.5

Сплошное выравнивание поверхности

м2

1000

Штукатур

2

0,3000

300,0

2

Монтаж теплоизоляции

 

 

 

 

 

850,2

2.1

Установка опорного профиля

м

150

Штукатур

1

0,2840

42,6

2.2

Приклеивание плит утеплителя толщиной 100 мм из минераловатных плит/пенополистирола с последующей зачеканкой швов и шлифовкой стыков плит

м2

1000

Штукатур

2

0,4700

470,0

2.3

Сверление отверстий глубиной до 200 мм, диаметром 8 мм электроперфоратором с последующей установкой дюбелей

шт.

6150

Штукатур

2

0,0549

337,6

3

Устройство армирующего слоя

 

 

 

 

 

449,6

3.1

Установка усиливающих элементов и профилей из стеклосетки

м

400

Штукатур

1

0,2980

119,2

3.2

Устройство штукатурного слоя, армированного стеклосеткой

м2

1050

Штукатур

2

0,3147

330,4

4

Устройство защитно-декоративного слоя

 

 

 

 

 

371,2

4.1

Огрунтовка оштукатуренных поверхностей

м2

1050

Маляр

1

0,0907

95,2

4.2

Отделка фасада декоративным раствором

м2

1050

Штукатур

1

0,1200

126,0

4.3

Окраска фасада

м2

1050

Маляр

1

0,1428

149,9

5

Разные работы

 

 

 

 

 

219,8

5.1

Переноска материалов со склада на рабочее место на расстояние до 30 м

т

32

Подсобник

1

1,9800

63,4

5.2

Подготовка смеси к применению при помощи миксера

т

17

Подсобник

1

6,7000

113,9

5.3

Подача материалов электролебедкой на высоту до 10 м

т

32

Подсобник

1

1,3300

42,6

Очистка стен от загрязнений, огрунтовка, сплошное выравнивание поверхности (пп. 1.2, 1.3, 1.5) и окраска фасада (п. 4.3) выполняются при необходимости.

Средняя проектная производительность труда штукатура составит 70 (от 55 до 85) м2/мес.

Средняя производительность комплексной бригады из 14 чел. (включая 10 штукатуров-маляров, 3 монтажников и 1 подсобника) при односменной работе составит 60 (от 50 до 70) м2/мес. на человека, или 840 (от 700 до 980) м2/мес. на бригаду.

Приложение Е

Методы контроля физико-технических свойств материалов

Испытания свойств образцов материалов выполняют при комнатной температуре и относительной влажности воздуха 50 + 5 % после достижения ими температуры 20 ± 2 °C или при выдерживании образцов при комнатной температуре не менее 3 ч, причем пробу сухой смеси берут с точностью ± 1 г. Для затворения проб сухих смесей используется вода по ГОСТ 23732 с температурой 20 ± 2 °C, взятая с точностью ± 1 г.

Пробы грунтовок и красок отбирают по ГОСТ 9980.2 при температуре 20+5 °C. Упаковочные единицы с грунтовками, хранившиеся при температурах ниже указанной, должны быть выдержаны при температуре 20+5 °C на протяжении 24 ч.

Перед отбором проб грунтовки тщательно перемешивают.

Все испытания проводят с применением поверенных приборов и оборудования. При проведении испытаний разрешается использование других средств измерений и приспособлений, обеспечивающих необходимую точность измерения.

Значение величины каждого показателя материала при физико-технических испытаниях определяют как среднеарифметическое значение результатов испытаний не менее трех образцов.

Технология приготовления материалов должна осуществляться согласно инструкциям на материал.

Контроль показателей свойств материалов выполняется по приведенным ниже методикам.

Таблица 1

№ п.п.

Наименование показателя, ед. изм.

Обозначение нормативного документа на метод контроля

1

2

3

Физико-механические свойства плит из пенополистирола

 

1

Номинальные отклонения размеров плит, мм

ГОСТ 15588

2

Плотность, кг/м3

ГОСТ 15588

3

Предельные отклонения линейных размеров, мм

ГОСТ 15588

4

Прочность на сжатие при 10 %-ной линейной деформации, МПа

ГОСТ 15588

5

Предел прочности при изгибе, МПа

ГОСТ 15588

6

Водопоглощение за 24 ч, % по объему

ГОСТ 15588

7

Расчетная теплопроводность для всех марок плит, Вт/(м · °C)

ГОСТ 7076

8

Паропроницаемость, мг/(м · ч · Па)

ГОСТ 28575

9

Время самостоятельного горения материала, с

ГОСТ 30244

Физико-химические свойства минераловатных плит

 

1

Номинальные отклонения размеров плит, мм

ГОСТ 17177

2

Модуль кислотности минеральной ваты

ГОСТ 2642.3, ГОСТ 2642.4, ГОСТ 2642.7, ГОСТ 2642.8

3

Водостойкость (pH водной вытяжки)

ГОСТ 4640-1

4

Плотность однородного/многослойного утеплителя, кг/м3

ГОСТ 17177

5

Предельные отклонения линейных размеров, мм

ГОСТ 17177

6

Содержание неволокнистых включений, % по массе

ГОСТ 4640

7

Средний диаметр волокна, мкм

ГОСТ 17177

8

Прочность на сжатие при 10 %-ной линейной деформации, кПа

ГОСТ 17177

9

Прочность на сжатие при 10 %-ной линейной деформации после сорбционного увлажнения, кПа

ГОСТ 17177

10

Прочность на отрыв слоев, кПа

ГОСТ 17177

11

Теплопроводность при условиях эксплуатации А и Б по СНиП 23-02, Вт/(м · °C)

ГОСТ 7076

12

Паропроницаемость, мг/(м · ч · Па)

ГОСТ 28575

Общие требования к дюбелям для крепления плит утеплителя

 

1

Вырывающее усилие, Н

Стандарт организации «Анкерные крепления, применяемые в фасадных системах зданий», Методика испытаний Ассоциации «АНФАС»

2

Максимальная изгибающая нагрузка при прогибе, Н

3

Прочность при растяжении, Н

4

Морозостойкость, циклов

5

Щелочестойкость

6

Ударопрочность

Физико-механические свойства клеевых смесей для крепления плит теплоизоляции и устройства армированного штукатурного слоя

 

1

Насыпная плотность, кг/м3

ГОСТ 8735

2

Зерновой состав (остаток на сите 0,63), %, максимальный размер зерен, мм

ГОСТ 8735

3

Средняя плотность растворной смеси, кг/м3

ГОСТ 5802

4

Время использования растворной смеси, мин

ГОСТ 5802

5

Подвижность растворной смеси, см

ГОСТ 5802

6

Водоудерживающая способность, %

ГОСТ 5802

7

Плотность затвердевшего раствора, г/см3

ГОСТ 5802

8

Предел прочности при сжатии, МПа

ГОСТ 5802, ГОСТ 310.4

9

Предел прочности при изгибе, МПа

ГОСТ 5802, ГОСТ 310.4

10

Ударостойкость базового слоя, Дж

ГОСТ 30629

11

Расслаиваемость, %

ГОСТ 5802

12

Морозостойкость, циклов

ГОСТ 5802

Физико-механические свойства клеевых смесей для крепления плиточных облицовок

 

1

Насыпная плотность, кг/м3

ГОСТ 8735

2

Средняя плотность растворной смеси, кг/м3

ГОСТ 5802

3

Время использования растворной смеси, мин

ГОСТ 5802

4

Время коррекции, мин

По ТУ изготовителя

5

Площадь контакта плитки с клеем, %

По ТУ изготовителя

6

Сползание, мм

По ТУ изготовителя

7

Подвижность растворной смеси, см

ГОСТ 5802

8

Адгезия к бетону, МПа

ГОСТ 24064, ГОСТ 28574

9

Расслаиваемость, %

ГОСТ 5802

10

Прочность на сжатие, МПа

ГОСТ 5802, ГОСТ 310.4

11

Морозостойкость, циклов

ГОСТ 5802

Физико-механические свойства штукатурки

 

1

Насыпная плотность, кг/м3

ГОСТ 8735

2

Средняя плотность растворной смеси, кг/м3

ГОСТ 8735

3

Время использования растворной смеси, мин

ГОСТ 5802

4

Подвижность, см

ГОСТ 5802

5

Прочность на растяжение при изгибе через 28 сут., МПа

ГОСТ 5802, ГОСТ 310.4

6

Прочность на сжатие через 28 сут., МПа

ГОСТ 5802, ГОСТ 310.4

7

Морозостойкость, циклов

ГОСТ 5802

8

Адгезия к бетонному основанию, МПа

ГОСТ 24064, ГОСТ 28574

9

Усадка, %

ГОСТ 24544

Физико-химические свойства армирующих сеток

 

1

Масса на ед. площади аппретированной сетки (номинальная), г/м2

ГОСТ 6943.16 (раздел 4)

2

Толщина номинальная, мм

По ТУ изготовителя

3

Размер ячеек, мм

По ТУ изготовителя

4

Разрывная нагрузка в исходном состоянии, Н/5 см

 

5

Разрывная нагрузка после «быстрого» теста, Н/5 см

ГОСТ 6943.10

6

Разрывная нагрузка после 28 дней выдержки в 5 %-ном растворе NaOH, Н/5 см

 

Физико-механические свойства тонкослойных минеральных декоративных штукатурок

 

1

Средняя плотность растворной смеси, кг/м3

ГОСТ 8735

2

Максимальный размер зерна, мкм

ГОСТ 8735

3

Время использования растворной смеси, мин

ГОСТ 5802

4

Подвижность, см

ГОСТ 5802

5

Паропроницаемость, мг/(м · ч · Па)

ГОСТ 28575

6

Усадка, %

ГОСТ 24544

7

Адгезия к бетонному основанию, МПа

ГОСТ 24064, ГОСТ 28574

8

Коэффициент водопоглощения, кг/(м2 · ч0,5)

По ТУ изготовителя

9

Прочность на сжатие, МПа

ГОСТ 5802

10

Прочность на растяжение при изгибе, МПа

ГОСТ 310.4

11

Морозостойкость по величине снижения адгезионной прочности, циклы

По ТУ изготовителя

12

Стойкость к атмосферным осадкам. Долговечность, циклы

ГОСТ 9.401

Физико-механические свойства тонкослойных полимерных декоративных штукатурок

 

1

Плотность растворной смеси, кг/м3

ГОСТ 8735

2

Подвижность, см

ГОСТ 5802

3

Паропроницаемость, мг/(м · ч · Па)

ГОСТ 28575

4

Наибольшая крупность заполнителя, мм

ГОСТ 8735

5

Толщина слоя, мм

ГОСТ 166

6

Время высыхания при температуре 20 ± 10 °C до степени 3, мин

ГОСТ 19007

7

Адгезия к бетонному основанию, МПа

ГОСТ 28089, ГОСТ 28574

8

Коэффициент водопоглощения, кг/(м2 · ч0,5)

По ТУ изготовителя

9

Стойкость пленки к статическому воздействию воды при температуре 20 ± 2 °C, ч

ГОСТ 9.403

Физико-механические характеристики затирок (шпатлевок) для швов

 

1

Насыпная плотность, кг/м3

ГОСТ 8735

2

Подвижность растворной смеси, см

ГОСТ 5802

3

Начало схватывания, ч

ГОСТ 310.3

4

Конец схватывания, ч

ГОСТ 310.3

5

Средняя плотность растворной смеси, кг/м3

ГОСТ 8735

6

Ширина шва без образования трещин, мм

По ТУ изготовителя

7

Морозостойкость, циклов

По ТУ изготовителя

8

Прочность на растяжение при изгибе в возрасте 1/28 сут., МПа

ГОСТ 310.3

9

Прочность на сжатие в возрасте 1/28 сут., МПа

ГОСТ 310.3

10

Усадка в возрасте 28 сут., %

ГОСТ 24544

Физико-химические свойства грунтовок

 

1

Плотность, кг/м3

ГОСТ 28513

2

Массовая доля нелетучих веществ, %

ГОСТ 17537

3

Время высыхания до степени 3, ч

ГОСТ 19007

4

Укрывистость высушенной пленки, г/м2

ГОСТ 8784

5

Значение pH

ГОСТ 52020

6

Глубина проникновения, мм

По ТУ изготовителя

7

Стойкость пленки к статическому воздействию воды при температуре 20 ± 2 °C, ч

ГОСТ 9.403

8

Твердость пленки, у. е.

ГОСТ 5233

9

Эластичность пленки, мм

ГОСТ 6806-80

Физико-химические свойства красок

 

1

Цвет пленки краски

По ТУ изготовителя

2

Внешний вид пленки

По ТУ изготовителя

3

Массовая доля нелетучих веществ, %

ГОСТ 17537

4

Степень перетира, мкм

ГОСТ 6589

5

Адгезия покрытия, баллы

ГОСТ 15140

6

Время высыхания до степени 3 при температуре 20 ± 2 °C, ч

ГОСТ 19007

7

Укрывистость высушенной пленки, г/м2

ГОСТ 8784

8

Твердость покрытия по маятниковому прибору типа М-3, отн. ед.

ГОСТ 5233

9

Смываемость пленки краски, г/м2, не более

ГОСТ 52020

10

Условная светостойкость покрытия, ч

ГОСТ 21903

11

Стойкость пленки статическому воздействию воды при температуре 20 ± 2 °C, ч

ГОСТ 9.403

12

Стойкость покрытия к воздействию климатических факторов, циклы

По ТУ изготовителя

Примечание - При пользовании настоящим приложением целесообразно проверить действие ссылочных стандартов и классификаторов в информационной системе общего пользования - на официальном сайте национального органа Российской Федерации по стандартизации в сети Интернет или по ежегодно издаваемому информационному указателю «Национальные стандарты», который опубликован по состоянию на 1 января текущего года, и по соответствующим ежемесячно издаваемым информационным указателям, опубликованным в текущем году. Если ссылочный документ заменен (изменен), то следует руководствоваться замененным (измененным) документом. Если ссылочный документ отменен без замены, то следует руководствоваться методикой испытаний по техническим условиям изготовителя.

 

Ключевые слова: стандарт организации, ограждающие конструкции, системы утепления и отделки фасадов, материалы для проектирования, рабочие чертежи, теплотехнические расчеты, инструкция по монтажу, технические описания, теплозащита, снижение энергопотребления, снижение материалоемкости

 

 



© 2013 Ёшкин Кот :-)