Информационная система
«Ёшкин Кот»

XXXecatmenu

РД 45.298-2002

ОБОРУДОВАНИЕ АНАЛОГОВЫХ ТРАНКИНГОВЫХ
СИСТЕМ ПОДВИЖНОЙ РАДИОСВЯЗИ

Общие технические требования

 

Предисловие

1 РАЗРАБОТАН Федеральным государственным унитарным предприятием Самарский отраслевой научно-исследовательский институт Радио (ФГУП СОНИИР)

ВНЕСЕН Департаментом электросвязи Министерства Российской Федерации по связи и информатизации

2 УТВЕРЖДЁН Министерством Российской Федерации по связи и информатизации

3 ВВЕДЕН В ДЕЙСТВИЕ информационным письмом от 16 января 2003 г. № БА-ПЗ-130

4 ВВЕДЁН ВЗАМЕН «Технических требований к оборудованию радиотелефонной связи с многостанционным доступом» (в части транкинговых систем), утвержденных Минсвязи России 29.06.1995 г.

 

СОДЕРЖАНИЕ

1 Область применения. 3

2 Нормативные ссылки. 3

3 Термины и определения. 5

4 Сокращения и обозначения. 11

4.1 Сокращения. 11

4.2 Обозначения. 12

5 Общие положения. 14

5.1 Назначение. 14

5.2 Классификация ТСПР. 14

5.2.1 Классификация ТСПР по количеству зон обслуживания. 14

5.2.2 Классификация ТСПР по методу объединения БС в многозоновых системах. 14

5.2.3 Тип многостанционного доступа. 15

5.2.4 Классификация ТСПР по способу поиска и назначения канала. 15

5.2.5 Классификация ТСПР по типу канала управления и по способу удержания рабочего канала. 15

5.3 Общие функциональные требования к ТСПР. 15

6 Структура и состав оборудования ТСПР. 18

7 Технические требования к базовой станции. 28

7.1 Технические требования к базовой радиостанции. 28

7.1.1 Требования к базовой радиостанции, предназначенной для передачи речевых сообщений. 29

7.1.1.1 Требования к передатчику. 29

7.1.1.2 Требования к приемнику. 33

7.1.2 Требования к базовой радиостанции, предназначенной для передачи данных. 35

7.1.2.1 Требования к передатчику. 35

7.1.2.2 Требования к приемнику. 40

7.1.3. Требования к базовой радиостанции, предназначенной для передачи речевых сообщений и данных. 41

7.1.4. Требования к базовой радиостанции, предназначенной для передачи речевых сообщений и данных одновременно. 42

7.1.5 Требования к электромагнитной совместимости* 42

7.1.6 Требования по устойчивости к климатическим и механическим воздействиям.. 43

7.1.7 Требования к электропитанию.. 44

7.1.8 Требования безопасности. 45

7.2 Технические требования к АФУ.. 45

7.3 Технические требования к оборудованию объединения радиосигналов. 46

8 Технические требования к абонентской радиостанции. 47

8.1 Требования к абонентской радиостанции, предназначенной для передачи речевых сообщений. 48

8.1.1 Требования к передатчику. 48

8.1.2 Требования к приемнику. 51

8.2 Требования к абонентской радиостанции, предназначенной для передачи данных. 55

8.2.1 Требования к передатчику. 55

8.2.2 Требования к приемнику. 57

8.3 Требования к абонентской радиостанции, предназначенной для передачи речевых сообщений и данных. 61

8.3.1 Требования к абонентской радиостанции с внешним антенным разъемом, предназначенной для передачи речевых сообщений и данных. 61

8.3.2 Требования к абонентской радиостанции, не имеющей антенного разъема, предназначенной для передачи речевых сообщений и данных. 61

8.4 Требования к абонентской радиостанции, предназначенной для передачи речевых сообщений и данных одновременно. 62

8.4.1 Требования к абонентской радиостанции с внешним антенным разъемом, предназначенной для передачи речевых сообщений и данных одновременно. 62

8.4.2 Требования к абонентской радиостанции, не имеющей антенного разъема, предназначенной для передачи речевых сообщений и данных одновременно. 62

8.5 Требования к электромагнитной совместимости* 62

8.6 Требования по устойчивости к климатическим и механическим воздействиям.. 63

8.7 Требования к электропитанию.. 65

8.8 Требования безопасности. 66

8.9 Требования к разборчивости речи. 66

8.10* Набор, индикация и передача 15-значного номера. 66

9 Технические требования к оборудованию коммутации и управления SwMI 66

9.1 Подключение ТСПР к ТфОП. Система нумерации. 66

9.2* Емкость системы, обслуживаемая нагрузка, качественные показатели. 67

9.3 Система сигнализации при взаимодействии с ТфОП. Типы и параметры соединительных линий. 67

9.3.1 Подключение оборудования SwMI к ТфОП по цифровым соединительным линиям.. 68

9.3.2 Подключение оборудования SwMI к ТфОП по трехпроводным соединительным линиям.. 69

9.3.3 Подключение оборудования SwMI к ТфОП по цифровым линиям ЦСИО.. 69

9.3.4 Подключение оборудования SwMI к ТфОП по двухпроводным налоговым абонентским линиям.. 69

9.3.5 Информационные акустические сигналы.. 69

9.4 Принципы отбоя. 70

9.5 Автоматическое определение категории и номера телефона вызывающего абонента. 70

9.6 Требования к интерфейсу взаимодействия с сетями передачи данных. 71

9.7 Система синхронизации. 71

9.8 Система учета стоимости соединений. 71

9.9 Техническое обслуживание и эксплуатация. 72

9.10 Услуги дополнительных видов обслуживания. 73

9.11 Требования к электропитанию.. 74

9.12 Требования по устойчивости к климатическим и механическим воздействиям.. 74

9.13 Требования к электромагнитной совместимости. 74

9.14 Требования безопасности. 75

9.15 Требования к системе оперативно-розыскных мероприятий. 76

10 Требования к маркировке. 76

11 Требования к упаковке. 76

12 Требования к транспортированию и хранению.. 76

13 Требования к документации. 77

14 Гарантии изготовителя. 77

Приложение А. Варианты построения АФУ.. 77

Приложение Б. Варианты построения OOP. 79

Библиография. 80

РД 45.289-2001

РУКОВОДЯЩИЙ ДОКУМЕНТ ОТРАСЛИ

ОБОРУДОВАНИЕ АНАЛОГОВЫХ ТРАНКИНГОВЫХ СИСТЕМ ПОДВИЖНОЙ РАДИОСВЯЗИ

Общие технические требования

Дата введения 09-12-2002

1 Область применения

1.1 Настоящий руководящий документ отрасли (далее - РД) распространяется на оборудование аналоговых транкинговых систем подвижной радиосвязи (ТСПР): оборудование коммутации и управления, базовые и абонентские радиостанции с угловой модуляцией (фазовой или частотной) с разносом частот между соседними каналами 12,5 и 25 кГц.

1.2 Настоящий РД устанавливает требования к указанному оборудованию в части параметров радиоинтерфейса, интерфейса с телефонной сетью общего пользования (ТфОП), а также устойчивости к внешним воздействиям и безопасности.

1.3 Технические требования к радиооборудованию ТСПР, изложенные в настоящем РД, соответствуют требованиям государственных стандартов, нормативных документов (НД) Минсвязи России, европейских стандартов ETSI и решениям Государственной комиссии по радиочастотам (ГКРЧ).

2 Нормативные ссылки

В настоящем РД использованы ссылки на следующие стандарты:

ГОСТ 12.1.003-83 Система стандартов безопасности труда. Шум. Общие требования безопасности

ГОСТ 12.1.006-84 Система стандартов безопасности труда. Электромагнитные поля радиочастот. Допустимые уровни на рабочих местах и требования к проведению контроля

ГОСТ 12.1.030-81 Система стандартов безопасности труда. Электробезопасность. Защитное заземление, зануление

ГОСТ 12.2.007.0-75 Система стандартов безопасности труда. Изделия электротехнические. Общие требования безопасности

ГОСТ 2.601-95 Единая система конструкторской документации. Эксплуатационные документы

ГОСТ 14192-96 Маркировка грузов

ГОСТ 15150-69 Машины, приборы и другие технические изделия. Исполнения для различных климатических районов. Категория, условия эксплуатации, хранения и транспортирования в части воздействия климатических факторов внешней среды

ГОСТ 16019-2001 Аппаратура сухопутной подвижной радиосвязи. Требования по стойкости к воздействию механических и климатических факторов и методы испытаний

ГОСТ 16600-72 Передача речи по трактам радиотелефонной связи. Требования к разборчивости речи и методы артикуляционных измерений

ГОСТ 19472-88 Система автоматизированной телефонной связи общегосударственная. Термины и определения

ГОСТ 23088-80 Изделия электронной техники. Требования к упаковке, транспортированию и методы испытаний

ГОСТ 23611-79 Совместимость радиоэлектронных средств электромагнитная. Термины и определения

ГОСТ 24375-80 Радиосвязь. Термины и определения

ГОСТ 26828-86 Изделия машиностроения и приборостроения. Маркировка

ГОСТ 26886-86 Стыки цифровых каналов передачи и групповых трактов первичной сети ЕАСС. Основные параметры

ГОСТ 28384-89 Станции телефонные. Параметры информационных акустических сигналов тональной частоты

ГОСТ 30429-96 Совместимость технических средств электромагнитная. Радиопомехи индустриальные от оборудования и аппаратуры, устанавливаемых совместно со служебными радиоприемными устройствами гражданского назначения. Нормы и методы испытаний

ГОСТ Р 50736-95 Антенно-фидерные устройства систем сухопутной подвижной радиосвязи. Типы, основные параметры, технические требования и методы измерений

ГОСТ Р 50829-95 Безопасность радиостанций, радиоэлектронной аппаратуры с использованием приемопередающей аппаратуры и их составных частей. Общие требования и методы испытаний

ГОСТ Р 51317.4.2-99 Совместимость технических средств электромагнитная. Устойчивость к электростатическим разрядам. Требования и методы испытаний

ГОСТ Р 51317.4.3-99 Совместимость технических средств электромагнитная. Устойчивость к радиочастотному электромагнитному полю. Требования и методы испытаний

ГОСТ Р 51317.4.4-99 Совместимость технических средств электромагнитная. Устойчивость к наносекундным импульсным помехам. Требования и методы испытаний

ГОСТ Р 51317.4.5-99 Совместимость технических средств электромагнитная. Устойчивость к микросекундным импульсным помехам большой энергии. Требования и методы испытаний

ГОСТ Р 51317.4.6-99 Совместимость технических средств электромагнитная. Устойчивость к кондуктивным помехам, наведённым радиочастотными электромагнитными полями. Требования и методы испытаний

ГОСТ Р 51317.4.11-99 Совместимость технических средств электромагнитная. Устойчивость к динамическим изменениям напряжения электропитания. Требования и методы испытаний

ГОСТ Р 51318.22-99 Совместимость технических средств электромагнитная. Радиопомехи индустриальные от оборудования информационных технологий. Нормы и методы испытаний

ГОСТ Р 51798-2001 Решётки антенные многовходовые для оборудования систем подвижной радиосвязи. Типы, основные параметры, технические требования и методы измерений

ГОСТ 5237-83 Аппаратура электросвязи. Напряжения питания и методы измерений

ОСТ 45.02-97 Отраслевая система сертификации. Знак соответствия. Порядок маркирования технических средств электросвязи

3 Термины и определения

В настоящем РД используют термины с соответствующими определениями по ГОСТ 24375, ГОСТ 23611, ГОСТ 24375, ГОСТ 19472, а также приведенные ниже:

3.1 абонент (сети связи): Физическое или юридическое лицо, имеющее договорные отношения с оператором связи на получение услуг определенного вида связи.

3.2 абонентский номер местной телефонной сети: Номер оконечного абонентского телефонного устройства местной телефонной сети.

3.3 антенна: Устройство, предназначенное для излучения или приема радиоволн.

3.4 антенно-фидерное устройство (АФУ): Совокупность антенны, фидера и вспомогательных устройств, с помощью которых энергия радиочастотного сигнала подводится от радиопередатчика (оборудования объединения радиосигналов) к антенне и излучается или принимается и подводится от антенны к радиоприемнику (оборудованию объединения радиосигналов).

3.5 амплитудная характеристика приёмника: Соотношение между уровнем модулированного радиочастотного сигнала на входе приемника и уровнем НЧ-сигнала на выходе приемника.

3.6 базовая радиостанция: Стационарная радиостанция сухопутной подвижной службы радиосвязи.

3.7 блокирование: Изменение отклика на полезный радиосигнал при наличии на входе радиоприемника хотя бы одной радиопомехи.

3.8 выходная мощность радиопередатчика: Активная мощность, передаваемая радиопередатчиком в АФУ или эквивалент нагрузки.

3.9 взаимоувязанная сеть связи Российской Федерации (ВСС РФ): Комплекс технологически сопряженных сетей электросвязи общего пользования и ведомственных сетей электросвязи на территории Российской Федерации, обеспеченный общим централизованным управлением.

3.10 данные: Информация, представленная в виде, пригодном для обработки автоматическими средствами (например, электронной вычислительной машиной (ЭВМ)) при возможном участии человека.

3.11 длительность переходных процессов при включении передатчика: Время между инициированием функции «передатчик включен» и:

а) моментом, когда выходная мощность передатчика достигла уровня на 1 дБ ниже или на 1,5 дБ выше уровня установившейся мощности несущей передатчика (Рс) и с этого времени поддерживается уровень в пределах от плюс 1,5 дБ до минус 1 дБ от Рс; или

б) моментом, после которого частота несущей всегда остается в пределах 1 кГц от установившейся частоты.

3.12 длительность переходных процессов при выключении передатчика: Время между инициированием функции «передатчик выключен» и моментом, когда выходная мощность передатчика уменьшилась на 50 дБ ниже уровня Рс и с этого времени остается ниже этого уровня.

3.13 городская телефонная сеть: Местная телефонная сеть, предназначенная для обеспечения телефонной связью абонентов города.

3.14 допустимое отклонение частоты: Максимально допустимое отклонение средней частоты полосы частот, занимаемой излучением радиопередатчика, от присвоенной частоты.

3.15 девиация частоты: Наибольшее отклонение частоты модулированного радиосигнала при частотной модуляции от значения его несущей частоты.

3.16 документ нормативный (НД): Стандарты, технические условия, своды правил и регламенты, проектные решения и программы (после их утверждения).

3.17 знак соответствия: Защищенный в установленном порядке знак, применяемый или выданный в соответствии с правилами системы сертификации, указывающий, что данная продукция, процесс или услуга соответствуют конкретному стандарту или другому нормативному документу.

3.18 заказно-соединительная линия телефонной связи (ЗСЛ): Линия телефонной сети для связи телефонной станции с междугородной телефонной станцией непосредственно или через телефонный узел заказно-соединительных линий, предназначенная для заказа и ведения междугородных разговоров.

3.19 зона обслуживания (базовой станцией): Территория, в пределах которой возможна работа абонентской радиостанции с достаточным качеством обслуживания.

3.20 интервал канальный: Временной интервал, занимающий определенную позицию в цикле и предназначенный для одного канала, полученного способом временного разделения каналов.

3.21 интерфейс: Граница между двумя взаимодействующими системами (устройствами), определяемая общими функциональными и конструктивными характеристиками, требованиями к протоколам обмена и т.д.

3.22 информация: Сведения о лицах, предметах, фактах, событиях, явлениях и процессах независимо от формы их представления.

3.23 интермодуляционное радиоизлучение*: Побочное радиоизлучение, возникающее в результате воздействия на нелинейные элементы радиопередатчика генерируемых радиоколебаний и внешнего электромагнитного поля или радиоколебания.

* Для тракта радиопередатчика в термине и определении следует заменить слова: «радиоизлучение» на «радиоколебание»

3.24 интермодуляционная избирательность приёмника: Способность приемника принимать полезный модулированный радиочастотный сигнал на номинальной частоте без существенного ухудшения качества при наличии на его входе двух или более мешающих сигналов на частотах, определенным образом связанных с частотой полезного сигнала.

3.25 интермодуляция в радиоприемнике: Возникновение отклика на выходе радиоприемника в результате взаимодействия на его нелинейных элементах двух или более радиопомех.

3.26 излучения передатчика в соседнем канале: Часть выходной мощности передатчика при нормальных параметрах по модуляции, которая приходится на определенную полосу частот с центральной частотой, равной номинальной частоте соседнего канала.

3.27 избирательность приёмника по соседнему каналу: Способность приемника принимать полезный модулированный радиочастотный сигнал на номинальной частоте без существенного ухудшения качества при наличии на его входе модулированного радиочастотного сигнала помехи на частоте соседнего канала.

3.28 избирательность приёмника по побочным каналам приёма: Способность приемника различать полезный модулированный радиочастотный сигнал на номинальной частоте от помехи на любой другой частоте, создающей выходной НЧ-сигнал.

3.29 канал передачи: Комплекс технических средств и среды распространения, обеспечивающий передачу сигнала электросвязи в определенной полосе частот или с определенной скоростью передачи между сетевыми станциями, сетевыми узлами или между сетевой станцией и сетевым узлом, а также между сетевой станцией или сетевым узлом и оконечным устройством первичной сети.

3.30 канал передачи тональной частоты: Типовой аналоговый канал передачи с полосой частот 300 - 3400 Гц.

3.31 качество обслуживания: Комплексная характеристика степени удовлетворения пользователя предоставляемыми услугами.

3.32 качество обслуживания телефонных вызовов: Свойство системы распределения информации, определяемое совокупностью вероятностных оценок телефонных потерь и ожидания обслуживания телефонных вызовов.

3.33 коэффициент битовых ошибок и количество потерянных или искаженных сообщений при высоких уровнях на входе приёмника: Определяется коэффициентом битовых ошибок (BER) или числом потерянных или искаженных сообщений в случае, когда уровень полезного модулированного радиочастотного сигнала на входе приемника многократно превышает максимально используемую чувствительность.

3.34 линия передачи: Совокупность линейных трактов систем передачи и (или) типовых физических цепей, имеющих общие линейные сооружения, устройства их обслуживания и одну и ту же среду распространения в пределах действия устройств обслуживания.

3.35 максимальная допустимая девиация частоты: Наибольшее значение девиации частоты радиочастотного сигнала, которое допускается использовать в данной службе подвижной радиосвязи.

3.36 максимальная используемая чувствительность приёмника (для аналоговых сообщений): Минимальный уровень сигнала (э.д.с.) на входе приемника на номинальной частоте приемника при нормальных параметрах по модуляции, который обеспечивает на выходе приемника отношение сигнал/шум (СИНАД), равное 20 дБ.

3.37 максимальная используемая чувствительность приёмника (для данных): Минимальный уровень сигнала (э.д.с.) на входе приемника на номинальной частоте приемника при нормальных параметрах по модуляции, который обеспечивает после демодуляции сигнал данных с заданным BER (10-2) или коэффициентом успешно принятых сообщений (80 %).

3.38 максимальная используемая чувствительность приёмника (напряжённость поля): Минимальная напряженность поля в месте расположения приемника при номинальной частоте приемника и нормальных параметрах по модуляции, которая отвечает заданным требованиям по качеству.

3.39 максимальная эффективная излучаемая мощность передатчика (максимальная ЭИМ) - ЭИМ в направлении максимальной напряженности поля в отсутствие модуляции.

3.40 мощность несущей радиопередатчика: Выходная мощность радиопередатчика при непрерывном излучении без модуляции несущей.

3.41 междугородная соединительная линия телефонной сети (СЛМ): Линия телефонной сети для связи междугородной телефонной станции с телефонной станцией непосредственно или через телефонный узел входящего междугородного сообщения.

3.42 несущая: Электромагнитное колебание, предназначенное для образования радиочастотного сигнала путем изменения одного или нескольких параметров этого колебания.

3.43 нежелательные излучения радиоприемника: Составляющие любой частоты, излученные оборудованием радиоприемника и антенной.

3.44 номинальное значение параметра: Значение параметра, установленное в ТУ на аппаратуру конкретного типа.

3.45 номинальная частота радиостанции: Присвоенная частота, установленная в ТУ на радиостанцию конкретного типа, совпадающая с номинальной частотой несущей передатчика.

3.46 нормальные климатические условия (НУ): Условия, определенные как: температура окружающего воздуха от 15 °С до 35 °С; относительная влажность от 45 % до 75 %; атмосферное давление от 650 до 800 мм рт. ст.

3.47 оборудование объединения радиосигналов (OOP): Совокупность устройств линейного тракта радиостанции, обеспечивающих независимую одновременную работу нескольких радиопередатчиков и нескольких радиоприемников на общее АФУ.

3.48 оператор связи: Физическое или юридическое лицо, имеющее право на предоставление услуг электросвязи или почтовой связи.

3.49 отклонение частоты радиопередатчика*: Разность между частотой основного радиоизлучения и номинальным значением частоты радиопередатчика, определенная в заданных условиях.

* Для траста радиопередатчика в термине и определении следует заменить слова: «радиоизлучение» на «радиоколебание»

3.50 ослабление продуктов интермодуляции: Способность передатчика подавлять сигналы, возникающие в результате взаимодействия на нелинейных элементах несущей и помехи, попадающей в передатчик через антенну.

3.51 основной канал приема: Полоса частот, находящаяся в полосе пропускания радиоприемника и необходимая для приема полезного радиосигнала.

3.52 оконечное оборудование данных (ООД): Терминальное (оконечное) оборудование, являющееся источником данных или получателем данных, или тем и другим.

3.53 передача данных: Перенос данных в виде двоичных сигналов из одного пункта в другой средствами электросвязи, для последующей обработки.

3.54 пользователь (службы или сети электросвязи): Человек (или машина), использующий услуги службы (или сети) электросвязи.

3.55 побочный канал приема (ПКП): Полоса частот, находящаяся за пределами основного канала приема, в которой радиопомеха вызывает появление отклика, обусловленного прохождением ее на вход устройства демодуляции или детектирования.

3.56 побочное радиоизлучение*: Нежелательное радиоизлучение через антенну радиопередатчика, возникающее в результате любых нелинейных процессов в радиопередатчике, кроме процесса модуляции.

* Для тракта радиопередатчика в термине и определении следует заменить слова: «радиоизлучение» на «радиоколебание» и «через антенну» на «на зажимах антенны»

3.57 подавление соканальной помехи: Способность приемника принимать полезный модулированный радиочастотный сигнал на номинальной частоте без существенного ухудшения качества при наличии на его входе модулированного радиочастотного сигнала помехи на той же частоте.

3.58 подвижная радиосвязь: Радиосвязь в подвижной службе.

3.59 подвижная радиостанция: Радиостанция, предназначенная для работы во время движения и во время остановок.

3.60 протокол: Формализованный набор правил, полностью определяющий порядок взаимодействия устройств (систем) друг с другом. Обычно протокол определяется перечнем передаваемых сигналов, процедурой обмена этими сигналами, форматами сигналов и правилами кодирования каждого поля формата.

3.61 радиоприемник (приемник): По ГОСТ 24375.

3.62 радиопередатчик (передатчик): По ГОСТ 24375.

3.63 радиоканал: Канал передачи, в котором сигналы электросвязи передаются посредством радиоволн.

3.64 радиостанция: Один или несколько радиопередатчиков, или комбинация радиопередатчиков и радиоприемников, включая вспомогательное оборудование, необходимые в определенном месте для организации службы радиосвязи.

3.65 радиостанция возимая: Подвижная радиостанция, предназначенная для установки на сухопутных подвижных объектах для осуществления связи во время движения или во время остановки.

3.66 радиостанция носимая: Подвижная радиостанция, имеющая собственный источник питания и предназначенная для работы во время ее переноски или во время остановки.

3.67 радиальная система связи: Система, обеспечивающая радиосвязь абонентов в пределах радиуса действия радиостанции.

3.68 радиально-зоновая система связи: Система, обеспечивающая радиосвязь абонентов в пределах зоны, обслуживаемой различными радиостанциями.

3.69 режим одночастотный симплексный: Режим работы радиостанции, при котором передача и прием возможны поочередно в каждом из двух направлений на одной частоте при ручном переключении режимов прием-передача.

3.70 режим двухчастотный симплексный: Режим работы радиостанции, при котором передача и прием возможны поочередно в каждом из двух направлений на двух различных частотах при ручном переключении режимов прием-передача.

3.71 режим дуплексный: Режим работы радиостанции, при котором передача и прием возможны одновременно в обоих направлениях на двух различных частотах.

3.72 стационарная радиостанция: Радиостанция, предназначенная для работы в определенном пункте.

3.73 сухопутная подвижная служба: Служба радиосвязи между стационарными (центральными) радиостанциями и сухопутными подвижными радиостанциями или между сухопутными подвижными радиостанциями.

3.74 сети связи ведомственные: Сети электросвязи министерств и иных федеральных органов исполнительной власти, промышленных объединений и предприятий, создаваемые для удовлетворения производственных и специальных нужд, имеющие выход на сеть связи общего пользования.

3.75 сети связи внутрипроизводственные и технологические: Сети электросвязи федеральных органов исполнительной власти, а также предприятий, учреждений и организаций, создаваемые для управления внутрипроизводственной деятельностью и технологическими процессами, не имеющие выхода на сеть связи общего пользования.

3.76 сеть связи выделенная: Сеть электросвязи физического или юридического лица, не имеющая выхода на сеть связи общего пользования.

3.77 сеть подвижной связи: Совокупность технических средств, обеспечивающая подвижным абонентам возможность установления связи между собой и со стационарными абонентами сети.

3.78 сеть телефонная междугородняя. Часть телефонной сети, представляющая собой совокупность междугородных телефонных станций, телефонных узлов автоматической коммутации, линий и каналов телефонной сети, соединяющих их между собой. Сеть предназначена для обеспечения телефонной связью абонентов различных зон нумерации.

3.79 сеть телефонная местная: Часть телефонной сети, представляющая собой совокупность коммутационных узлов, телефонных станций, линий и каналов телефонной сети. Сеть предназначена для обеспечения телефонной связью абонентов города и сельского района.

3.80 сеть телефонная общего пользования (ТфОП); Телефонная сеть, представляющая собой совокупность автоматических телефонных станций, коммутационных узлов, линий, каналов телефонной сети, оконечных абонентских устройств и обеспечивающая потребность населения, учреждений, организаций и предприятий в услугах телефонной сети.

3.81 система оперативно-розыскных мероприятий (СОРМ): Система, предназначенная для оперативного контроля соединений заранее выбранных абонентских номеров или соединений, проходящих по линиям и каналам, из удаленного пункта управления правоохранительных органов, при взаимодействии этого пункта с оборудованием станции сети связи.

3.82 соединительная линия телефонной сети (СЛ): Линия телефонной сети, соединяющая телефонные станции и узлы между собой и подстанцию с опорной станцией местной телефонной сети.

3.83 структура сети: Взаимосвязь, взаиморасположение элементов сети (узлов, станций, линий передачи).

3.84 средняя используемая чувствительность радиоприёмника (напряженность поля, для данных): Средняя напряженность поля, созданная несущей на номинальной частоте радиоприемника, промодулированной нормальным тестовым сигналом, которая обеспечивает после демодуляции сигнал данных с заданным BER (10-2) или коэффициентом успешно принятых сообщений (80 %).

3.85 средняя эффективная излучаемая мощность радиопередатчика (средняя ЭИМ): Средняя величина ЭИМ, измеренной в 8 направлениях.

3.86 снижение чувствительности приёмника в дуплексном режиме работы радиостанции: Способность приемника принимать полезный модулированный радиочастотный сигнал на номинальной частоте без существенного ухудшения качества при наличии на его входе модулированного сигнала помехи (ослабленной мощности несущей передатчика).

3.87 тарифы в связи: Система ставок, по которым взимается плата за пользование услугами связи.

3.88 технические условия (ТУ): Нормативный документ, который характеризует качественные показатели конкретной продукции (услуги) и утверждается предприятием-разработчиком, как правило, по согласованию с предприятием-заказчиком (потребителем).

3.89 устойчивость приёмника к блокирующим сигналам: Способность приемника принимать полезный модулированный радиочастотный сигнал на номинальной частоте без существенного ухудшения качества при наличии на его входе мешающего немодулированного сигнала на частотах в пределах рабочего диапазона, отличных от частот побочных каналов приема.

3.90 установившаяся мощность радиопередатчика: Мощность радиопередатчика, установившаяся после переходного процесса включения радиопередатчика.

3.91 установившаяся частота несущей радиопередатчика: Частота несущей радиопередатчика, установившаяся после переходного процесса включения радиопередатчика.

3.92 фидер: Электрическая цепь и вспомогательные устройства, с помощью которых энергия радиочастотного сигнала подводится от радиопередатчика к антенне или от антенны к радиоприемнику.

3.93 чувствительность радиоприемника: Мера способности радиоприемника обеспечивать прием слабых радиосигналов.

3.94 центр коммутации сети подвижной связи: Коммутационная станция, осуществляющая коммутацию подвижных абонентов внутри сети подвижной связи и их взаимодействие со стационарными сетями.

3.95 характеристика отклонения частоты передатчика от номинального значения в переходном режиме: Временная зависимость отклонения частоты передатчика от номинального значения при включении и выключении выходной мощности передатчика.

3.96 экстремальные условия (ЭУ): Условия одновременного воздействия повышенной (пониженной) температуры и повышенного (пониженного) напряжения электропитания.

3.97 эффективная излучаемая мощность передатчика: Произведение мощности радиочастотного сигнала, подводимой к антенне, на коэффициент усиления этой антенны в данном направлении, когда эталонной антенной является полуволновой симметричный вибратор без потерь, расположенный в пространстве таким образом, что указанное направление лежит в плоскости, в которой его коэффициент усиления постоянный.

4 Сокращения и обозначения

4.1 Сокращения

В настоящем РД использованы нижеприведенные русские и английские сокращения:

АМТС - автоматическая междугородняя телефонная станция

АОН - автоматическое определение номера

АТС - автоматическая телефонная станция

АЛ - абонентская линия

АС - абонентская радиостанция

АСР - автоматизированная система расчетов

АЧХ - амплитудно-частотная характеристика

АВ - аварийный вызов

АФУ - антенно-фидерное устройство

БД - база данных

БС - базовая станция

БРС - базовая радиостанция

ВСС РФ - Взаимоувязанная сеть связи Российской Федерации

ВВ - вещательный вызов

ВЧ - высокая частота

ВСК - выделенный сигнальный канал

ДВО - дополнительные виды обслуживания

ДО - диспетчерское оборудование

ДН - диаграмма направленности

ГКРЧ - Государственная комиссия по радиочастотам

ГОСТ - государственный стандарт

ГВ - групповой вызов

ГН - групповой номер

ГЗЦК - главный ЗЦК

ЗСЛ - заказно-соединительная линия

ЗК - зональный контроллер

ЗЦК - зональный центр коммутации

ИВ - индивидуальный вызов

ИКМ - импульсно-кодовая модуляция

ИН - индивидуальный номер

КБС - контроллер базовой станции

КУ - канал управления

КСВн - коэффициент стоячей волны по напряжению

КР - контроллер радиоканала

МДЧР - многостанционный доступ с частотным разделением каналов

М - модем

МЦК - международный центр коммутации

НЧ - низкочастотный

НД - нормативный документ

НУ - нормальные климатические условия

ООД - оконечное оборудование данных

OOP - оборудование объединения радиосигналов

ОКС - общий канал сигнализации

ПА - подвижный абонент

ПКП - побочный канал приема

ПФ - полосовой фильтр

РАТС - районная АТС

РД - руководящий документ отрасли

РЦК - региональный центр коммутации

РК - региональный контроллер

СЛ - соединительная линия

СЛМ - соединительная линия междугородняя

СОРМ - система оперативно-розыскных мероприятий

СПС - сеть подвижной связи

СПС-ОП - сеть подвижной связи общего пользования

ТфОП - телефонная сеть общего пользования

ТУ - технические условия

ТСПР - транкинговая система подвижной радиосвязи

УС - устройство согласования

УАТС - учрежденческая АТС

УПАТС - учрежденческо-производственная автоматическая телефонная станция

ЦБС - центральная базовая станция

ЦЗЦК - центральный зональный центр коммутации

ЦУС - центр управления системой

ЦСИО - цифровая сеть с интеграцией обслуживания

ЧНН - час наибольшей нагрузки

ЭВМ - электронно-вычислительная машина

ЭМИ РЧ - электромагнитное излучение радиочастотного диапазона

ЭМС - электромагнитная совместимость

ЭИМ - эффективная излучаемая мощность

ЭУ - экстремальные условия

BER - Bit Error Ratio (коэффициент битовых ошибок)

ETSI - The European Telecommunications Standards Institute (Европейский институт стандартизации по телекоммуникациям)

SM - Status Messages (статусные сообщения)

SwMI - Switching and Management Infrastructure (оборудование коммутации и управления)

SDM - Short Data Messages (короткие блоки данных)

NPD - Non-Prescribed Data (данные произвольной длины)

4.2 Обозначения

В настоящем РД использованы нижеприведенные обозначения:

А - девиация частоты передатчика, измеренная на частоте модулирующего сигнала f2

Тхоn - момент времени, когда на передатчик подано питающее напряжение

Тxoff - момент времени, когда с передатчика снято питающее напряжение

Еп - наименьший уровень напряженности поля сигнала помехи

Р0 - номинальная мощность несущей передатчика

Рс - установившаяся мощность несущей передатчика

F0 - номинальная частота несущей передатчика

Fc - установившаяся частота несущей передатчика

f0 - номинальная частота приемника

f1 - нижняя частота модулирующего сигнала

f2 - верхняя частота модулирующего сигнала

f3 - частота модулирующего сигнала, равная разносу частот между соседними каналами

Dmax - максимальная допустимая девиация частоты

дБм - единица измерения абсолютного уровня мощности (относительно мощности 1 мВт)

дБмкВ/м - единица измерения уровня напряженности электрического поля (относительно 1 мкВ/м)

дБн - единица измерения относительного уровня мощности (относительно мощности несущей)

э.д.с. - электродвижущая сила

К - корректирующий коэффициент

СИНАД - отношение (сигнал + шум + нелинейные искажения/шум + нелинейные искажения) выходного сигнала приемника

Δf - сдвиг частоты относительно номинального значения частоты несущей передатчика, равный разносу частот между соседними каналами

ta - длительность переходного процесса включения передатчика

tal - предельное значение ta

tam - измеренное значение ta

tp - отрезок времени переходного процесса включения передатчика, начинающийся с ton1 и заканчивающийся моментом, когда мощность несущей Рс достигает значения Рc минус 6 дБ

ton - момент включения передатчика (определяется условием, при котором мощность несущей, измеренная на эквиваленте антенны, превышает значение 0,1 % от номинальной мощности передатчика)

ton1 - момент времени переходного процесса включения передатчика, когда мощность несущей Рc, измеренная на эквиваленте антенны, превышает значение Рc минус 30 дБ

toff1 - момент времени переходного процесса выключения передатчика, когда мощность несущей Рc, падает ниже значения Рс минус 30 дБ

tr - длительность переходного процесса выключения передатчика

trl - предельное значение tr

trm - измеренное значение tr

td - отрезок времени переходного процесса выключения передатчика, начинающийся с момента, когда мощность несущей Рc падает до значения Рс минус 6 дБ, и заканчивающийся моментом toff1

t1 - длительность переходного процесса включения передатчика, начинающегося с ton, и заканчивающегося в соответствии с таблицей 7.8 (длительность переходного процесса, в течение которого отклонение частоты передатчика от номинального значения не превосходит величины разноса частот между соседними каналами)

t2 - длительность переходного процесса включения передатчика, начинающегося с t1 и заканчивающегося в соответствии с таблицей 7.9 (длительность переходного процесса, в течение которого отклонение частоты передатчика от номинального значения не превосходит величины половины разноса частот между соседними каналами)

toff - момент выключения передатчика (определяется условием, при котором мощность несущей, измеренная на эквиваленте антенны, падает ниже значения 0,1 % от номинальной мощности передатчика)

t3 - длительность переходного процесса выключения передатчика, заканчивающегося на toff и начинающегося в соответствии с таблицей 7.8 (длительность переходного процесса, в течение которого отклонение частоты передатчика от номинального значения не превосходит величины разноса частот между соседними каналами)

dfо - предельное значение отклонения частоты в течение переходного процесса включения передатчика, равное половине разноса частот между соседними каналами (если отключение модуляции невозможно, то добавляется другая половина разноса частот между соседними каналами)

dfe - предельное значение отклонения частоты передатчика от номинального значения

dfо - предельное значение отклонения частоты передатчика от Fc, равное 1 кГц (если отключение модуляции невозможно, то добавляется одна половина разноса частот между соседними каналами)

dm - погрешность измерения

de, de1, de2 - допустимое отклонение параметра

df - отклонение максимальной (средней) ЭИМ при НУ

l - длина внешней части антенны (для АС, не имеющих внешнего антенного разъема)

+df1/-df2 - отклонение максимальной (средней) ЭИМ при ЭУ

5 Общие положения

5.1 Назначение

Аналоговые ТСПР предназначены для предоставления услуг связи, в основном абонентам ведомственных сетей связи, на основе реализации многостанционного доступа к небольшому числу радиоканалов с ограниченным выходом или без выхода на сеть ТфОП.

ТСПР предназначены для работы в районах с невысокой плотностью абонентов и используются в интересах отдельных групп пользователей (службы охраны порядка, «скорая помощь», такси, пожарные, нефтяники, газовики, энергетики и т.д.). ТСПР позволяют заменить существующие сети радиосвязи с фиксированным распределением частот, а также осуществлять интеграцию в рамках одной диспетчерской сети радиосвязи различных пользователей, с целью повышения эффективности использования радиочастотного спектра.

На базе ТСПР возможна организация сетей подвижной связи общего пользования (СПС-ОП), ведомственных, внутрипроизводственных, технологических и выделенных сетей связи.

5.2 Классификация ТСПР

5.2.1 Классификация ТСПР по количеству зон обслуживания

По количеству зон обслуживания ТСПР делятся на два класса:

- однозоновые (радиальные системы связи);

- многозоновые (радиально-зоновые системы связи).

Однозоновые ТСПР предполагают использование одной базовой станции (БС). БС размещается в наиболее высокой точке зоны обслуживания. Мощность передатчика базовой радиостанции (БРС) выбирается максимально возможной.

Многозоновые ТСПР предполагают использование двух и более БС, объединенных между собой с помощью зонального контроллера (ЗК) и/или регионального контроллера (РК) либо непосредственно соединенных между собой.

5.2.2 Классификация ТСПР по методу объединения БС в многозоновых системах

По методу объединения БС в многозоновых системах ТСПР делятся на два класса:

- системы с централизованной коммутацией (иерархический принцип построения системы);

- системы с распределенной коммутацией (децентрализованный принцип построения системы).

В системах с централизованной коммутацией БС объединяются с помощью ЗК и/или РК.

В системах с распределенной коммутацией БС объединяются непосредственно между собой либо через ЗК.

5.2.3 Тип многостанционного доступа

В аналоговых ТСПР используется многостанционный доступ с частотным разделением каналов (МДЧР).

5.2.4 Классификация ТСПР по способу поиска и назначения канала

По способу поиска и назначения канала ТСПР делятся на два класса:

- с децентрализованным управлением;

- с централизованным управлением;

В ТСПР с децентрализованным управлением процедуру поиска свободного канала выполняют абонентские радиостанции (АС).

В ТСПР с централизованным управлением поиск и назначение свободного канала осуществляется на БС. Для этого организуются каналы двух типов: рабочие каналы (Traffic Channels) и канал управления (Control Channel) (КУ).

Все запросы на предоставление связи направляются по КУ. БС по КУ извещает АС о назначении рабочего канала, отклонении запроса или о постановке запроса в очередь.

5.2.5 Классификация ТСПР по типу канала управления и по способу удержания рабочего канала

5.2.5.1 По типу канала управления ТСПР делятся на два класса:

- с выделенным каналом управления;

- с распределенным каналом управления.

КУ указанных классов в ТСПР являются цифровыми.

В ТСПР с выделенным КУ для обмена служебной информацией между АС и БС выделяется отдельный частотный канал.

В ТСПР с распределенным КУ информация о состоянии системы и поступающих вызовах распределена между низкоскоростными субканалами передачи данных, совмещенными со всеми рабочими каналами. В таких системах в каждом частотном канале передается речь в полосе частот 300 - 1000 Гц либо 300 - 2550 Гц и данные КУ в субтональном диапазоне в полосе частот 0 - 300 Гц.

5.2.5.2 По способу удержания рабочего канала ТСПР делятся на два класса:

- транкинг сообщений (Message Trunking);

- транкинг передач (Transmission Trunking).

Транкинг сообщений обеспечивает удержание рабочего канала на протяжении всего времени соединения.

Транкинг передач обеспечивает удержание рабочего канала на время передачи АС.

5.3 Общие функциональные требования к ТСПР

5.3.1 ТСПР должны работать в диапазонах частот 160 МГц, 330 МГц, 450 МГц и 800 МГц. Конкретные полосы частот, дуплексный разнос и разнос частот между соседними каналами для каждого диапазона частот приведены в разделе 7 (для БРС) и разделе 8 (для АС).

5.3.2 ТСПР могут обеспечивать возможность передачи и приема следующих типов сообщений:

- речевые (Speech);

- данные произвольной длины (Non-Prescribed Data (NPD));

- аварийные (Emergency);

- статусные (Status Messages (SM));

- короткие блоки данных (Short Data Messages (SDM)).

Перечень возможных типов сообщений должен быть установлен в ТУ на ТСПР конкретного типа.

5.3.2.1 Речевые аналоговые сообщения должны передаваться по рабочему каналу.

5.3.2.2 Данные произвольной длины (цифровые сообщения) должны передаваться по рабочему каналу, который в этом случае будет называться каналом передачи данных, с использованием АС, оконечного оборудования данных (ООД) и модема (М).

Скорость передачи данных может быть от 1200 до 19200 бит/с. Структурная схема организации связи для передачи данных в сети ТСПР приведена на рисунке 5.1.

Характеристики внутренних интерфейсов и протоколов обмена между АС, М и ООД должны быть установлены в ТУ на ТСПР конкретного типа.

Рисунок 5.1 - Структурная схема организации связи для передачи данных в сети ТСПР

5.3.2.3 Аварийные сообщения могут быть как речевыми, так и цифровыми сообщениями (SM либо SDM) и могут передаваться как по рабочему каналу, так и по КУ. Действия, которые должны быть предприняты при получении аварийного сообщения, должны быть определены Оператором сети ТСПР.

5.3.2.4 Статусные сообщения (цифровые сообщения определенной длины) должны передаваться по КУ. В ТСПР может быть ограниченное количество статусных сообщений. Значение каждого статусного сообщения должно быть определено Оператором сети ТСПР.

5.3.2.5 Короткие блоки данных (цифровые сообщения определенной длины) должны передаваться по КУ. Короткие блоки данных могут использоваться для обмена между абонентами сети ТСПР алфавитно-цифровой информацией небольшого объема.

5.3.3 ТСПР могут обеспечивать следующие типы соединений:

- исходящие и входящие соединения между абонентами сети ТСПР (внутрисистемные соединения типа «АС-АС» без выхода в ТфОП);

- соединения между абонентом и группой абонентов сети ТСПР (внутрисистемные соединения типа «АС-радиогруппа» без выхода в ТфОП);

- исходящие и входящие соединения абонентов сети ТСПР с абонентами ТфОП (соединения типа «АС-абонент ТфОП», «Абонент ТфОП-АС»);

- исходящие соединения абонентов сети ТСПР к экстренным, справочно-информационным и заказным службам местных сетей ТфОП (соединения типа «АС-абонент ТфОП»);

- исходящие и входящие соединения абонентов сети ТСПР с абонентами других сетей подвижной связи (СПС) (соединения типа «АС-абонент СПС», «Абонент СПС-АС»);

- исходящие и входящие соединения абонентов сети ТСПР с абонентами ведомственных, внутрипроизводственных, технологических сетей связи;

- исходящие и входящие автоматические междугородные, международные соединения (соединения типа «АС-абонент ТфОП», «Абонент ТфОП-АС»);

- исходящие и входящие соединения абонентов сети ТСПР с диспетчером сети ТСПР (соединения типа «АС-Диспетчер», «Диспетчер-АС»);

- исходящие соединения диспетчера сети ТСПР с группой абонентов сети ТСПР (соединения типа «Диспетчер - радиогруппа»).

Перечень возможных типов соединений должен быть установлен в ТУ на ТСПР конкретного типа.

5.3.4 В ТСПР может быть программно реализовано ограничение длительности переговоров для соединений типа «АС-АС», «АС-радиогруппа», «АС-Диспетчер», «Диспетчер-АС», «Диспетчер-радиогруппа». Диапазон изменения ограничения длительности переговоров для каждого типа соединения должен быть определен в ТУ на ТСПР конкретного типа.

В ТСПР не должно быть ограничения длительности переговоров для соединений типа «АС-абонент ТфОП», «Абонент ТфОП-АС», «АС-абонент СПС», «Абонент СПС-АС».

5.3.5 ТСПР должны обеспечивать следующие типы вызовов:

- индивидуальный;

- телефонный.

ТСПР могут обеспечивать следующие типы вызовов:

- групповой;

- вещательный;

- диспетчерский;

- аварийный.

Перечень возможных типов вызовов должен быть установлен в ТУ на ТСПР конкретного типа.

5.3.5.1 Индивидуальный вызов (ИВ) должен использоваться для установления внутрисистемных соединений типа «АС-АС». Индивидуальный вызов может осуществляться в двухчастотном симплексном либо дуплексном режиме работы АС. Предпочтительным режимом работы АС для данного типа соединения является двухчастотный симплексный режим. ИВ должен осуществляться с использованием индивидуального номера (ИН) АС. АС в сети ТСПР может быть присвоен один ИН. Индивидуальным вызовом может обеспечиваться передача всех типов сообщений, перечисленных в 5.3.2.

5.3.5.2 Групповой вызов (ГВ) должен использоваться для установления внутрисистемных соединений типа «АС-радиогруппа». ГВ должен осуществляться в двухчастотном симплексном режиме работы АС с использованием группового номера (ГН) радиогруппы. Групповой вызов может быть автоматическим для вызова «своей» радиогруппы. В сети ТСПР радиогруппе может быть присвоен один ГН. АС в сети ТСПР может быть одновременно приписана к нескольким радиогруппам и иметь несколько ГН. Групповым вызовом могут быть переданы речевые сообщения.

5.3.5.3 Вещательный вызов (ВВ) должен использоваться для установления внутрисистемных соединений типа «АС-радиогруппа» в случае, если необходимо, чтобы говорить мог только инициатор вызова, все остальные АС в радиогруппе должны работать только на прием. Вещательный вызов должен осуществляться в двухчастотном симплексном режиме работы АС. Вещательным вызовом могут быть переданы речевые сообщения.

5.3.5.4 Диспетчерский вызов должен использоваться для установления соединений типа «АС-диспетчер», «Диспетчер-АС», «Диспетчер-радиогруппа». Диспетчерский вызов может осуществляться в двухчастотном симплексном либо дуплексном режиме работы АС. Кроме того, диспетчер сети ТСПР должен иметь возможность осуществлять вручную коммутацию соединений между абонентами сети ТСПР и абонентами ТфОП либо других сетей связи. В сети ТСПР диспетчеру может быть присвоен номер, аналогичный ИН АС. Диспетчерским вызовом должна обеспечиваться передача всех типов сообщений, перечисленных в 5.3.2.

5.3.5.5 Телефонный вызов должен использоваться для установления соединений типа «АС-абонент ТфОП», «Абонент ТфОП-АС», «АС-абонент СПС», «Абонент СПС-АС». Данные соединения должны устанавливаться в дуплексном режиме работы АС. Установление соединения типа «Абонент ТфОП-АС» должно использовать традиционную процедуру набора номера без использования дополнительных устройств. Для осуществления входящих телефонных вызовов АС должен быть присвоен номер местной телефонной сети, в которую включена ТСПР. АС в сети ТСПР может быть присвоен один номер местной телефонной сети.

С помощью телефонного вызова абоненты сети ТСПР могут устанавливать соединения с абонентами местной телефонной сети, а также междугородные (международные) соединения.

Оборудование ТСПР должно обеспечивать прием, накопление и обработку 15-значного международного номера.

5.3.5.6 Аварийный вызов (АВ) должен использоваться для установления соединений в аварийных либо чрезвычайных ситуациях. При поступлении АВ ТСПР должна немедленно обслужить его, вплоть до разрыва ранее установленного соединения. Право на использование АВ должны иметь все АС сети ТСПР. АВ может осуществляться в двухчастотном симплексном либо дуплексном режиме работы АС. АВ могут быть переданы речевые или цифровые сообщения (SM либо SDM).

5.3.5.7 В ТСПР индивидуальным, групповым, вещательным, диспетчерским и телефонным вызовам могут быть установлены различные уровни приоритета в обслуживании. Аварийный вызов - вызов с наивысшим приоритетом. Вызовы с одинаковым приоритетом должны обслуживаться ТСПР в порядке очереди по принципу «первым пришел - первым обслужился».

Вызовы обслуживаются немедленно, когда в системе нет очереди на обслуживание вызовов. При возникновении очереди вызовы с более высоким приоритетом должны обслуживаться раньше вызовов с более низким приоритетом.

Уровень приоритета обслуживания вызовов для каждого конкретного абонента сети ТСПР устанавливается Оператором сети ТСПР индивидуально.

Уровни приоритета обслуживания вызовов в ТСПР должны быть установлены в ТУ на ТСПР конкретного типа.

5.3.6 Оборудование ТСПР должно обеспечивать круглосуточное предоставление услуг связи, идентификацию АС с целью защиты абонентов системы от «двойников», а также дистанционную блокировку АС.

5.3.7 Оборудование ТСПР, оказывающее услуги связи на коммерческой основе с выходом на сети ТфОП, должно обеспечивать непрерывность установленного соединения при перемещении абонентов в границах зон обслуживания БС.

5.3.8 Оборудование ТСПР должно обеспечивать учет соединений с получением подробной информации по каждому соединению.

Требования к системе учета стоимости соединений в ТСПР приведены в 9.8.

6 Структура и состав оборудования ТСПР

6.1 По структуре построения выделяют шесть основных структурных схем ТСПР*.

* В обоснованных случаях в структурных схемах конкретных ТСПР допускаются отклонения oт основных структурных схем построения

- «простейшая» однозоновая ТСПР;

- однозоновая ТСПР;

- многозоновая ТСПР с централизованной коммутацией с одним уровнем иерархии;

- многозоновая ТСПР с централизованной коммутацией с двумя уровнями иерархии;

- «простейшая» многозоновая ТСПР с распределенной коммутацией;

- многозоновая ТСПР с распределенной коммутацией.

Структурная схема ТСПР должна быть приведена в ТУ на ТСПР конкретного типа.

6.2 В состав «простейшей» однозоновой ТСПР входит следующее оборудование:

- оборудование базовой станции;

- абонентские радиостанции.

Структурная схема «простейшей» однозоновой ТСПР представлена на рисунке 6.1.

Рисунок 6.1 - Структурная схема «простейшей» однозоновой ТСПР

6.2.1 БС ТСПР обеспечивает поддержку одного или более радиоканалов, используемых АС в пределах зоны обслуживания БС. Радиус зоны обслуживания может достигать 20 - 35 км и зависит от используемого диапазона частот, местоположения БС, рельефа местности и выходной мощности несущей передатчика (передатчиков).

6.2.2 В состав БС «простейшей» однозоновой ТСПР может входить следующее оборудование:

- контроллеры радиоканалов (КР);

- базовые радиостанции;

- антенно-фидерное устройство (АФУ);

- оборудование объединения радиосигналов (OOP);

- устройство согласования (УС);

- центр управления системой (ЦУС).

6.2.2.1 БРС предназначена для обслуживания одной дуплексной пары несущих частот (одного радиоканала) либо двух и более. По количеству обслуживаемых радиоканалов БРС в ТСПР могут быть одноканальными либо многоканальными.

БРС должны иметь разъем для подключения внешней приемопередающей антенны либо два разъема для подключения приемной и передающей антенн.

БРС должны работать с несимметричным АФУ с номинальным волновым сопротивлением 50 Ом.

БРС в ТСПР должны работать в дуплексном режиме.

Технические требования к БРС приведены в разделе 7.

6.2.2.2 КР является основным элементом «простейшей» однозоновой ТСПР. КР должен обеспечивать управление одним радиоканалом, коммутацию внутрисистемного трафика, взаимодействие с ТфОП либо с другими сетями связи на правах малой учрежденческой АТС (УАТС) по аналоговым абонентским линиям (АЛ) и вести учет стоимости соединений.

КР могут соединяться между собой для обмена служебной информацией. Один из КР может быть подключен к ЦУС, в этом случае, данный КР становится «ведущим» (master), а остальные - «ведомыми» (slave).

Соединения КР между собой и «ведущего» КР с ЦУС производится по внутреннему интерфейсу, реализованному в соответствии с протоколом фирмы-изготовителя.

Способ соединения КР, характеристики интерфейса и протокол обмена должны быть установлены в ТУ на оборудование конкретного типа.

6.2.2.3 ЦУС ТСПР предназначен для контроля за состоянием системы, проведения диагностики неисправностей, внесения изменений в абонентскую базу данных (БД), блокирования, деблокирования АС и хранения данных учета стоимости соединений.

ЦУС может предоставлять функцию удаленного управления АС и радиогруппами (дистанционное перепрограммирование АС и конфигурирование радиогрупп).

Подключение ЦУС к оборудованию ТСПР («ведущему» КР (рисунок 6.1) либо контроллеру базовой станции (КБС) (рисунок 6.2), либо зональному контроллеру (ЗК) (рисунок 6.3), либо региональному контроллеру (РК) (рисунок 6.4)) производится по внутреннему интерфейсу, реализованному в соответствии с протоколом фирмы-изготовителя.

Абонентская БД должна содержать следующую информацию:

- данные об абоненте (фамилия, имя, отчество, системный идентификатор, индивидуальный номер, групповой номер, номер местной телефонной сети (если имеется) и т.д.);

- категория приоритета в обслуживании поступающих от абонента вызовов;

- перечень активизированных абонентом услуг;

- перечень активизированных абонентом услуг дополнительных видов обслуживания (ДВО) (по 9.10);

- категория абонента.

Перечень информации, поддерживаемой абонентской БД, должен быть установлен в ТУ на ТСПР конкретного типа.

6.2.2.4 УС предназначено для подключения ТСПР к ТфОП либо другим сетям на правах районной АТС (РАТС) либо учрежденческо-производственной АТС (УПАТС) по соединительным линиям. УС должно обеспечивать конвертацию различных протоколов и сигнализаций, поддерживаемых различными контроллерами ТСПР (КР, КБС, ЗК, РК) с протоколами и сигнализацией, принятыми на Взаимоувязанной сети связи Российской Федерации (ВСС РФ).

УС в ТСПР является необязательным элементом при условии реализации в КР, КБС, ЗК, РК стандартизованных интерфейсов к ТфОП.

6.2.2.5 В «простейшей» однозоновой ТСПР УС должно подключаться к КР БС. Подключение производится по внутреннему интерфейсу, реализованному в соответствии с протоколом фирмы-изготовителя.

6.2.2.6 КР, ЦУС и УС в «простейшей» однозоновой ТСПР составляют оборудование управления и коммутации (оборудование SwMI).

Выход в ТфОП либо другие сети в «простейшей» однозоновой ТСПР может быть организован с помощью КР и/или УС.

Технические требования к оборудованию SwMI, в том числе и в части стыка с ТфОП, приведены в разделе 9.

6.2.2.7 АФУ БС включает в свой состав антенну (антенны), фидер (фидера) и вспомогательные устройства.

Антенны должны размещаться на высоких мачтах или сооружениях для создания максимальной зоны обслуживания БС. Антенны, как правило, должны иметь круговую диаграмму направленности (ДН). Возможно также использование направленных антенн. БС может располагать как одной приемопередающей антенной, так и раздельными антеннами для приема и передачи.

Технические требования к АФУ приведены в 7.2.

6.2.2.8 OOP БС может включать в свой состав: комбайнеры, распределительные панели приемников, дуплексеры, полосовые фильтры и т.д.

Комбайнер предназначен для объединения передатчиков БРС для работы на одну общую передающую антенну либо на одну общую приемопередающую антенну при одновременной работе с дуплексером.

Дуплексер предназначен для обеспечения возможности работы приемников и передатчиков БРС на одну общую приемопередающую антенну.

Распределительные панели приемников предназначены для подключения приемников БРС к одной общей приемной антенне либо к одной общей приемопередающей антенне при одновременной работе с дуплексером.

Технические требования к OOP приведены в 7.3.

6.2.3 Абонентские радиостанции ТСПР предназначены для установления абонентом сеанса радиосвязи через БС с абонентами сети ТСПР или сети ТфОП, другой СПС либо ведомственной, внутрипроизводственной, типологической или выделенной сети связи. АС, используемые в сети ТСПР, могут быть возимыми (размещаются на подвижных объектах) или носимыми. Возимые АС могут устанавливаться стационарно.

Технические требования к АС приведены в разделе 8.

6.3 В состав однозоновой ТСПР входит следующее оборудование:

- оборудование базовой станции;

- абонентские радиостанции.

Структурная схема однозоновой ТСПР представлена на рисунке 6.2.

Рисунок 6.2 - Структурная схема однозоновой ТСПР

6.3.1 В состав БС однозоновой ТСПР может входить следующее оборудование:

- базовые радиостанции;

- антенно-фидерное устройство;

- оборудование объединения радиосигналов;

- контроллер базовой станции;

- устройство согласования;

- диспетчерское оборудование (ДО);

- центр управления системой.

6.3.1.1 КБС является основным элементом однозоновой ТСПР, КБС должен обеспечивать управление всеми радиоканалами БС, коммутацию внутрисистемного трафика, взаимодействие с ТфОП либо другими сетями связи на правах УПАТС по абонентским либо соединительным линиям, сбор и передачу в ЦУС статистических данных по работе системы и вести учет стоимости соединений.

КБС должен иметь абонентскую БД.

6.3.1.2 ДО предназначено для организации в сети ТСПР работы диспетчера. ДО должно обеспечивать управление абонентами и радиогруппами сети ТСПР с использованием индивидуальных и групповых вызовов.

ДО может включаться в ТСПР по радиоканалам с использованием АС либо по выделенным линиям непосредственно в оборудование ТСПР (КБС, ЗК, РК).

Способ подключения ДО к оборудованию ТСПР, характеристики интерфейса и протокол обмена должны быть установлены в ТУ на оборудование конкретного типа.

6.3.1.3 УС в однозоновой ТСПР должно подключаться к КБС. Подключение производится по внутреннему интерфейсу, реализованному в соответствии с протоколом фирмы-изготовителя.

6.3.1.4 КБС, ЦУС, ДО и УС в однозоновой ТСПР составляют оборудование SwMI.

Выход в ТфОП либо другие сети в однозоновой ТСПР может быть организован с помощью КБС и/или УС.

Технические требования к SwMI, в том числе и в части стыка с ТфОП, приведены в разделе 9.

6.4 В состав многозоновой ТСПР с централизованной коммутацией с одним уровнем иерархии может входить следующее оборудование:

- базовые станции;

- зональный контроллер;

- центр управления системой;

- диспетчерское оборудование;

- устройство согласования;

- абонентские радиостанции.

Структурная схема многозоновой ТСПР с централизованной коммутацией с одним уровнем иерархии представлена на рисунке 6.3.

Рисунок 6.3 - Структурная схема многозоновой ТСПР с централизованной коммутацией с одним уровнем иерархии

6.4.1 Состав БС многозоновой ТСПР с централизованной коммутацией должен быть аналогичен составу БС однозоновых ТСПР, за исключением УС, ЦУС и ДО. КБС, кроме функций, выполняемых в однозоновой ТСПР, в многозоновых ТСПР с централизованной коммутацией должен выполнять функцию интерфейса между оборудованием БС и ЗК. КБС в многозоновых ТСПР с централизованной коммутацией не должен выполнять функцию взаимодействия с ТфОП.

Количество БС в многозоновой ТСПР может быть две и более.

6.4.2 БС соединяются между собой через ЗК по каналам передачи. Каналы передачи могут быть проводными, оптоволоконными или радиорелейными. Минимальное число каналов передачи - один. Максимальное число каналов передачи равно числу радиоканалов на БС.

Способ подключения БС к ЗК, характеристики интерфейса и протокол обмена должны быть установлены в ТУ на оборудование конкретного типа.

6.4.3 ЗК является основным элементом многозоновой ТСПР с централизованной коммутацией с одним уровнем иерархии. ЗК должен обеспечивать управление КБС, коммутацию межбазовых соединений, сбор и передачу в ЦУС статистических данных по работе системы, взаимодействие с ТфОП либо другими сетями связи на правах РАТС, либо УПАТС по соединительным линиям и вести учет стоимости всех соединений.

ЗК должен осуществлять передачу речевых сообщений и данных.

ЗК должен иметь абонентскую БД.

6.4.4 Функции, выполняемые ЦУС, ДО, УС и АС в многозоновых ТСПР, аналогичны функциям, выполняемым этим оборудованием в однозоновых ТСПР.

6.4.5 ЗК, ЦУС, ДО и УС в многозоновой ТСПР с одним уровнем иерархии составляют оборудование зонального центра коммутации (ЗЦК).

6.4.6 УС в многозоновой ТСПР с централизованной коммутацией с одним уровнем иерархии должно подключаться к ЗК. Подключение производится по внутреннему интерфейсу, реализованному в соответствии с протоколом фирмы-изготовителя.

6.4.7 КБС и оборудование ЗЦК в многозоновой ТСПР с одним уровнем иерархии составляют оборудование SwMI.

Выход в ТфОП либо другие сети в многозоновой ТСПР с централизованной коммутацией с одним уровнем иерархии может быть организован с помощью ЗК и/или УС.

Технические требования к оборудованию SwMI, в том числе в части стыка с ТфОП, приведены в разделе 9.

6.5 В состав многозоновой ТСПР с централизованной коммутацией с двумя уровнями иерархии может входить следующее оборудование:

- базовые станции;

- зональные контроллеры;

- региональный контроллер;

- центр управления системой;

- диспетчерское оборудование;

- устройство согласования;

- абонентские радиостанции.

Структурная схема многозоновой ТСПР с централизованной коммутацией с двумя уровнями иерархии представлена на рисунке 6.4.

6.5.1 БС, ЗК, ЦУС, ДО, УС и АС выполняют те же функции, что и в многозоновой ТСПР с централизованной коммутацией с одним уровнем иерархии.

ЦУС организуется один на всю систему и подключается к РК. Способ подключения ЦУС к РК, характеристики интерфейса и протокол обмена должны быть установлены в ТУ на оборудование конкретного типа.

6.5.2 РК является основным элементом многозоновой ТСПР с централизованной коммутацией с двумя уровнями иерархии. РК должен обеспечивать централизованный контроль за прохождением вызовов внутри системы, коммутацию соединений сигналов между ЗК ЗЦК, сбор и передачу в ЦУС статистических данных по работе системы, поиск вызываемых абонентов, взаимодействие с ТфОП либо другими сетями связи на правах РАТС либо УПATC по СП и вести учет стоимости всех соединений.

РК должен осуществлять передачу речевых сообщений и данных.

РК должен иметь абонентскую БД.

Все данные, вводимые с ЦУС и необходимые для работы системы, РК должен рассылать на ЗК. С другой стороны, информация, получаемая ЗК в ходе работы (по соединениям, сбоям в работе и т.д.) должна передаваться в РК.

Рисунок 6.4 - Структурная схема многозоновой ТСПР с централизованной коммутацией с двумя уровнями иерархии

РК должен соединяться с ЗК по схеме «звезда» каналами передачи, которые могут быть проводными, оптоволоконными или радиорелейными.

Способ подключения РК к ЗК, характеристики интерфейса и протокол обмена должны быть установлены в ТУ на оборудование конкретного типа.

6.5.3 ЗК с ДО в многозоновой ТСПР с централизованной коммутацией с двумя уровнями иерархии составляют оборудование ЗЦК. Количество ЗЦК может быть два и более.

6.5.4 РК, ЦУС, УС и ДО в многозоновой ТСПР с централизованной коммутацией с двумя уровнями иерархии составляют оборудование регионального центра коммутации (РЦК).

6.5.5 УС в многозоновой ТСПР с централизованной коммутацией с двумя уровнями иерархии должно подключаться к РК. Подключение проводится по внутреннему интерфейсу, реализованному в соответствии с протоколом фирмы-изготовителя.

6.5.6 КБС и оборудование ЗЦК и РЦК в многозоновых ТСПР с централизованной коммутацией с двумя уровнями иерархии составляют оборудование SwMI.

Выход в ТфОП либо другие сети в многозоновой ТСПР с централизованной коммутацией с двумя уровнями иерархии может быть организован с помощью РК и/или УС.

Технические требования к оборудованию SwMI, в том числе в части стыка с ТфОП, приведены в разделе 9.

6.6 В состав «простейшей» многозоновой ТСПР с распределенной коммутацией может входить следующее оборудование:

- базовые радиостанции с АФУ и OOP;

- контроллеры базовых станций;

- центр управления системой;

- диспетчерское оборудование;

- устройства согласования;

- абонентские радиостанции.

Структурная схема «простейшей» многозоновой ТСПР с распределенной коммутацией представлена на рисунке 6.5.

Рисунок 6.5 - Структурная схема «простейшей» многозоновой ТСПР с распределенной коммутацией

6.6.1 БРС, КБС, ЦУС, ДО, УС и АС в «простейшей» многозоновой ТСПР с распределенной коммутацией выполняют те же функции, что и в однозоновых ТСПР.

Дополнительно к функциям КБС, выполняемым в однозоновых ТСПР, добавляется функция взаимодействия КБС между собой.

6.6.2 БС должны соединяться между собой через КБС по каналам передачи, которые могут быть проводными, оптоволоконными или радиорелейными. Минимальное число каналов передачи - один. Максимальное число каналов передачи равно числу радиоканалов на БС. КБС могут соединяться между собой по любой из перечисленных схем: «каждый с каждым», «по кольцу», «звездой» или смешанным способом.

Способ соединения КБС, характеристики интерфейса и протокол обмена должны быть установлены в ТУ на оборудование конкретного типа.

6.6.3 ЦУС организуется один на всю систему и может быть подключен к любому из КБС. БС, к КБС которой подключен ЦУС, становится центральной базовой станцией (ЦБС).

Информация, вводимая в систему через ЦУС, должна передаваться на все КБС системы с помощью КБС ЦБС. Информация по работе системы и всем соединениям должна передаться с КБС в ЦУС.

6.6.4 УС в «простейшей» многозоновой ТСПР с распределенной коммутацией может подключаться к любому КБС. Подключение проводится по внутреннему интерфейсу, реализованному в соответствии с протоколом фирмы-изготовителя.

6.6.5 КБС, ЦУС, ДО и УС в «простейшей» многозоновой ТСПР с распределенной коммутацией составляют оборудование SwMI.

Выход в ТфОП либо другие сети в «простейшей» многозоновой ТСПР с распределенной коммутацией может быть организован на всех БС с помощью КБС и/или УС.

Технические требования к оборудованию SwMI, в том числе в части стыка с ТфОП, приведены в разделе 9.

6.7 В состав многозоновой ТСПР с распределенной коммутацией может входить следующее оборудование:

- базовые станции;

- зональные контроллеры;

- центр управления системой;

- диспетчерское оборудование;

- устройства согласования;

- абонентские радиостанции.

Структурная схема многозоновой ТСПР с распределенной коммутацией представлена на рисунке 6.6.

6.7.1 БС, ЦУС, ДО и АС в составе многозоновой ТСПР с распределенной коммутацией выполняют те же функции, что и в «простейшей» многозоновой ТСПР с распределенной коммутацией.

Дополнительно к функциям КБС, выполняемым в «простейшей» многозоновой ТСПР с распределенной коммутацией, добавляется функция взаимодействия КБС с ЗК.

Рисунок 6.6 Структурная схема многозоновой ТСПР с распределенной коммутацией

6.7.2 БС могут соединяться между собой через КБС либо через ЗК ЗЦК по проводным, оптоволоконным или радиорелейным каналам передачи. Минимальное число каналов передачи - один. Максимальное число каналов передачи равно числу радиоканалов на БС. КБС и ЗК могут соединяться между собой по любой из перечисленных схем: «каждый с каждым», «по кольцу», «звездой» или смешанным способом.

Способ соединения КБС и ЗК, характеристики интерфейса и протокол обмена должны быть установлены в ТУ на оборудование конкретного типа.

6.7.3 ЦУС организуется один на всю систему и может быть подключен к любому из ЗК. ЗЦК, к которому подключен ЦУС, становится главным зональным центром коммутации (ГЗЦК).

Информация, вводимая в систему через ЦУС, должна передаваться на все КБС системы с помощью ЗК. Информация по работе системы и всем соединениям должна передаться со всех ЗК в ЦУС.

6.7.4 УС в многозоновой ТСПР с распределенной коммутацией может подключаться к любому КБС и ЗК. Подключение проводится по внутреннему интерфейсу, реализованному в соответствии с протоколом фирмы-изготовителя.

6.7.5 КБС и оборудование ЗЦК и ГЗЦК в многозоновой ТСПР с распределенной коммутацией составляют оборудование SwMI.

Выход в ТфОП либо другие сети в многозоновой ТСПР с распределенной коммутацией может быть организован на всех БС с помощью КБС и/или УС и на всех ЗЦК с помощью ЗК и/или УС.

Технические требования к оборудованию SwMI, в том числе в части стыка с ТфОП, приведены в разделе 9.

7 Технические требования к базовой станции

7.1 Технические требования к базовой радиостанции

Перечень нормируемых параметров радиоинтерфейса оборудования БРС и требования к этим параметрам установлены 5.1 - 5.3 EN 300 086-1 [1] и 5.1 - 5.2 EN 300 113-1 [2].

БРС должна обеспечивать работу при разносе частот между соседними каналами 12,5 или 25 кГц.

Требования к БРС, предназначенной для передачи речевых сообщений и поддерживающей классы излучения F3E и G3E, приведены в 7.1.1.

Требования к БРС, предназначенной для передачи данных и поддерживающей классы излучения F1D и G1D, приведены в 7.1.2.

Требования к БРС, предназначенной для передачи речевых сообщений данных и поддерживающей классы излучения F3E, G3E, F1D и G1D, приведены в 7.1.3.

Требования к БРС, предназначенной для передачи речевых сообщений данных одновременно и поддерживающей классы излучения F3E, G3E, F1D и G1D, приведены в 7.1.4.

Сведения о разрешенных для использования на территории России диапазонах частот и дуплексных разносах частот базовых радиостанций ТСП приведены в таблице 7.1.

Конкретные значения используемых БРС полос частот должны декларироваться фирмой-изготовителем и соответствовать решениям ГКРЧ.

Таблица 7.1

Обозначение диапазона частот

полоса частот, МГц

Дуплексный разнос частот, МГц

Решение ГКРЧ

Передача

Прием

160 МГц (VHF)

146 - 174

146 - 174

*

[3]

330 МГц

336 - 344

300 - 308

36

[4]

450 МГц (UHF)

401 - 470, 470 - 486**

401 - 470, 470 - 486**

*

На каждый тип оборудования должно быть получено частное решение ГКРЧ

800 МГц

860 - 865, 860 - 869***

815 - 820, 815 - 824***

45

[5]

* Значение дуплексного разноса частот устанавливают в ТУ на БРС конкретного типа

** Для Москвы и Московской области

*** Для отечественной аппаратуры радиальных и радиально-зоновых систем сухопутной подвижной радиосвязи

7.1.1 Требования к базовой радиостанции, предназначенной для передачи речевых сообщений

7.1.1.1 Требования к передатчику

7.1.1.1.1 Отклонение частоты передатчика от номинального значения (5.1.1 [1])

Отклонение частоты передатчика от номинального значения при нормальных климатических условиях (НУ)* не должно превышать предельно допустимых значений, приведенных в таблице 7.2.

* НУ приведены в пункте 3.46 настоящего РД

Таблица 7.2

Разнос частот между соседними каналами, кГц

Предельно допустимое отклонение частоты передатчика от номинального значения, кГц, не более, для диапазона частот

160 МГц

330 МГц

450 МГц

800 МГц

12,5

±1,0

±1,0

±1,0

*

25

±2,0

±2,0

±2,0

±2,5

* Устанавливают в ТУ на БРС конкретного типа

Отклонение частоты передатчика от номинального значения при экстремальных условиях (ЭУ)** не должно превышать предельно допустимых значений, приведенных в таблице 7.3.

** ЭУ приведены в пункте 3.96 настоящего РД

Таблица 7.3

Разнос частот между соседними каналами, кГц

Предельно допустимое отклонение частоты передатчика от номинального значения, кГц, не более, для диапазона частот

160 МГц

330 МГц

450 МГц

800 МГц

12,5

±1,0

±1,0

±1,0

*

25

±2,0

±2,0

±2,0

±3,0

* Устанавливают в ТУ на БРС конкретного типа

7.1.1.1.2 Мощность несущей передатчика (на эквиваленте антенны) (5.1.2 [1])

Номинальное значение мощности несущей передатчика БРС должно быть декларировано фирмой-изготовителем и установлено в ТУ на БРС конкретного типа

Если в передатчике БРС предусмотрена возможность установки различных значений мощности несущей, то фирма-изготовитель должна декларировать все возможные номинальные значения мощности несущей передатчика. В этом случае требования настоящего РД должны быть удовлетворены для всех возможных номинальных значений мощности несущей передатчика.

Отклонение мощности несущей передатчика от номинального значения при НУ должно находиться в пределах ±1,5 дБ.

Отклонение мощности несущей передатчика от номинального значения при ЭУ должно находиться в пределах от минус 3,0 до плюс 2,0 дБ.

Максимальные значения мощности несущей передатчика, разрешённые на территории России, приведены в таблице 7.4.

Таблица 7.4

Обозначение диапазона частот

Максимальное значение мощности несущей передатчика, разрешенное на территории России, Вт, для разноса частот между соседними каналами

12,6 кГц

25 кГц

160 МГц

*

40 [3]

330 МГц

60 [4]

60 [4]

450 МГц

*

*

800 МГц

*

*

* Определяется решением органов Государственной радиочастотной службы

7.1.1.1.3 Девиация частоты передатчика (5.1.4 [1])

7.1.1.1.3.1 Максимальная допустимая девиация частоты передатчика (5.1.4.1 [1])

Максимальная допустимая девиация частоты передатчика (Dmax) при частотах модулирующего сигнала в полосе от нижней частоты f1 до верхней частоты f2 при НУ не должна превышать значений, приведенных в таблице 7.5.

Таблица 7.5

Разнос частот между соседними каналами, кГц

Максимальная допустимая девиация частоты, кГц

12,5

±2,5

25

±5,0

Нижняя частота модулирующего сигнала f1 должна быть декларирована фирмой-изготовителем и установлена в ТУ на БРС конкретного типа.

Верхняя частота модулирующего сигнала f2 должна быть 2550 Гц (для разноса частот между соседними каналами 12,5 кГц) и 3000 Гц (для разноса частот между соседними каналами 25 кГц).

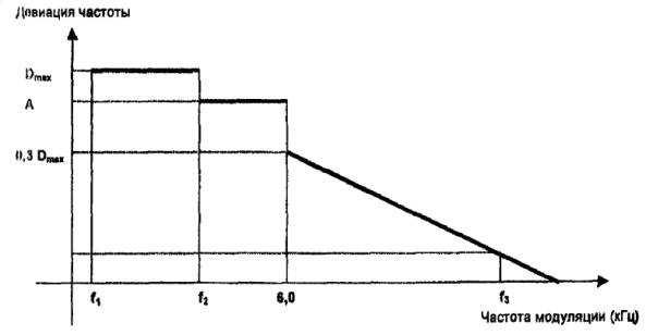
7.1.1.1.3.2 Девиация частоты передатчика при частотах модулирующего сигнала выше частоты f2 (5.1.4.2 [1])

Девиация частоты передатчика при частотах модулирующего сигнала выше частоты f2 при НУ должна удовлетворять следующим требованиям:

а) при частотах модулирующего сигнала в полосе от частоты f2 до 6,0 кГц девиация частоты передатчика не должна превышать значения (А), измеренного на частоте f2;

б) при частоте модулирующего сигнала 6,0 кГц девиация частоты передатчика не должна превышать значения, равного 0,3 Dmax;

в) при частотах модулирующего сигнала в полосе частот от 6,0 кГц до частоты f3, равной разносу частот между соседними каналами, девиация частоты передатчика не должна превышать значений, задаваемых линейной характеристикой девиации частоты в зависимости от частоты модуляции, имеющей предельное значение на частоте 6,0 кГц и дальнейший спад минус 14 дБ на октаву.

График зависимости девиации частоты передатчика от частоты модуляции приведен на рисунке 7.1.

Рисунок 7.1 - График зависимости девиации частоты передатчика от частоты модуляции

7.1.1.1.4 Уровень излучения передатчика в соседнем канале (5.1.5 [1])

Уровень излучения передатчика в соседнем канале для разноса частот между соседними каналами 12,5 кГц при НУ не должен превышать минус 60 квт, без необходимости быть ниже 0,2 мкВт.

Уровень излучения передатчика в соседнем канале для разноса частот между соседними каналами 25 кГц при НУ не должен превышать минус 70 дБн без необходимости быть ниже 0,2 мкВт.

7.1.1.1.5 Уровень побочных излучений передатчика (5.1.6 [1])

7.1.1.1.5.1 Уровень побочных излучений передатчика на антенном разъеме (5.1.6 [1], table 3: conducted emissions)

Уровень побочных излучений передатчика, измеренный на антенном разъеме, в полосе частот от 9 кГц до 4 ГГц (для БРС, работающих на частотах до 470 МГц) либо в полосе частот от 9 кГц до 12,75 ГГц (для БРС, работающих на частотах выше 470 МГц) при НУ не должен превышать значений приведенных в таблице 7.6.

Таблица 7.6

Режим работы передатчика

Уровень побочных излучений передатчика на антенном разъеме, мкВт (дБм), не более, в полосе частот

от 9 кГц до 1 ГГц включительно

свыше 1 до 4 ГГц (свыше 1 до 12,75 ГГц)

Рабочий режим (режим передачи)

0,25 (-36,0)

1,00 (-30,0)

Дежурный режим (режим пассивной паузы)

0,002 (-57,0)

0,02 (-47,0)

7.1.1.1.5.2 Уровень побочных излучений от корпуса и элемента конструкции передатчика (5.1.6 [1], table 4: radiated emissions)

Уровень побочных излучений от корпуса и элементов конструкций передатчика при НУ не должен превышать значений, приведенных в таблице 7.7.

Таблица 7.7

Режим работы передатчика

Уровень побочных излучений от корпуса и элементов конструкции передатчика, мкВт (дБм), не более, в полосе частот

от 30 МГц до 1 ГГц включительно

свыше 1 до 4 ГГц

Рабочий режим (режим передачи)

0,25 (-36,0)

1,00 (-30,0)

Дежурный режим (режим пассивной паузы)

0,002 (-57,0)

0,02 (-47,0)

7.1.1.1.6 Ослабление продуктов интермодуляции (5.1.7 [1])

Ослабление любых продуктов интермодуляции в передатчике одноканальной БРС, не предназначенной для размещения совместно с другим радиопередающим оборудованием, при НУ должно быть не менее 40 дБ.

Ослабление любых продуктов интермодуляции в передатчике многоканальной БРС при НУ должно быть не менее 70 дБ.

7.1.1.1.7 Отклонение частоты передатчика от номинального значения в переходном режиме (5.1.8 [1])

Длительности переходных процессов включения (t1) и выключения (t3) передатчика, в течение которых отклонение частоты передатчика от номинального значения не превосходит величины разноса частот между соседними каналами (±Δf) в зависимости от диапазона частот, при НУ не должны превышать значений, приведенных в таблице 7.8.

Таблица 7.8

Обозначение диапазона частот

t1, мс, не более

t3, мс, не более

160 МГц

5,0

5,0

330 МГЦ

10,0

10,0

450 МГц

10,0

10,0

800 МГц

20,0

10,0

Длительность переходного процесса включения передатчика (t2), в течение которого отклонение частоты передатчика от номинального значения не превосходит половины разноса частот между соседними каналами (±Δf/2) в зависимости от диапазона частот, при НУ не должна превышать значений, приведенных в таблице 7.9.

Таблица 7.9

Обозначение диапазона частот

t2, мс, не более

160 МГц

20,0

330 МГц

25,0

450 МГц

25,0

800 МГц

50,0

Временная маска переходного процесса при включении передатчика, работающего в диапазоне частот 330 МГц либо 450 МГц, приведена на рисунке 7.2.

Временная маска переходного процесса при выключении передатчика, работающего в диапазоне частот 330 МГц либо 450 МГц, либо 800 МГц, приведена на рисунке 7.3.

Рисунок 7.2 - Временная маска переходного процесса при включении передатчика, работающего в диапазоне частот 330 МГц либо 450 МГц

Рисунок 7.3 - Временная маска переходного процесса при выключении передатчика, работающего в диапазоне частот 330 МГц либо 450 МГц, либо 800 МГц

7.1.1.2 Требования к приемнику

7.1.1.2.1 Максимальная используемая чувствительность приёмника (5.2.1 [1])

Максимальная используемая чувствительность приёмника при НУ не должна превышать значения э.д.с. 6 дБмкВ.

Максимальная используемая чувствительность приёмника при ЭУ не должна превышать значения э.д.с. 12 дБмкВ.

7.1.1.2.2 Амплитудная характеристика приёмника (5.2.3 [1])

При изменении уровня модулированного радиочастотного сигнала на входе приёмника от значения 6 дБмкВ до значения 100 дБмкВ изменение уровня НЧ-сигнала на выходе приёмника при НУ не должно превышать 3 дБ.

7.1.1.2.3 Подавление соканальной помехи (5.2.4 [1])

Отношение уровней соканальной помехи и полезного сигнала на входе приёмника при отношении сигнал + шум + нелинейные искажения/шум + нелинейные искажения (СИНАД)* на его выходе, равном 14 дБ, при НУ должно находиться в пределах:

* СИНАД измеряют с использованием псофометрического фильтра в соответствии с [6]

- от минус 12 до 0 дБ при разносе частот между соседними каналами 12,5 кГц;

- от минус 8 до 0 дБ при разносе частот между соседними каналами 25 кГц.

7.1.1.2.4 Избирательность приёмника по соседнему каналу (5.2.5 [1])

Избирательность приёмника по соседнему каналу при НУ должна быть не менее:

60 дБ при разносе частот между соседними каналами 12,5 кГц;

70 дБ при разносе частот между соседними каналами 25 кГц.

Избирательность приёмника по соседнему каналу при ЭУ должна быть не менее:

50 дБ при разносе частот между соседними каналами 12,5 кГц;

60 дБ при разносе частот между соседними каналами 25 кГц.

7.1.1.2.5 Избирательность приёмника по побочным каналам приёма (5.2.6 [1])

Избирательность приёмника по побочным каналам приёма при НУ должна быть не менее 70 дБ для любой частоты, отстоящей от номинальной частоты приёмника более чем на величину разноса частот между соседними каналами.

7.1.1.2.6 Интермодуляционная избирательность приёмника (5.2.7 [1])

Интермодуляционная избирательность приёмника при НУ должна быть не менее 70 дБ.

7.1.1.2.7 Устойчивость приёмника к блокирующим сигналам (5.2.8 [1])

Отношение уровней полезного и блокирующего сигналов на входе приемника, при котором на его выходе достигается:

- снижение уровня НЧ-сигнала на 3 дБ или;

- уменьшение СИНАД* до 14 дБ,

при НУ должно быть не менее 84 дБ для любой из частот блокирующего сигнала f0 ± 1 МГц, f0 ± 2 МГц, f0 ± 5 МГц, f0 ± 10 МГц.

* СИНАД измеряют с использованием псофометрического фильтра в соответствии с [6]

7.1.1.2.8 Уровень нежелательных излучений приемника (5.2.9 [1])

7.1.1.2.8.1 Уровень нежелательных излучений приемника на антенном разъеме (5.2.9 [1], table 7: conducted components)

Уровень нежелательных излучений приемника, измеренный на антенном разъеме, в полосе частот от 9 кГц до 4 ГГц (для БРС, работающих на частотах до 470 МГц) либо в полосе частот от 9 кГц до 12,75 ГГц (для БРС, работающих на частотах выше 470 МГц) при НУ не должен превышать значений приведённых в таблице 7.10.

Таблица 7.10

Уровень нежелательных излучений приемника на антенном разъеме, мкВт (дБм), не более, в полосе частот

от 9 кГц до 1 ГГц включительно

свыше 1 до 4 ГГц (свыше 1 до 12,75 ГГц)

0,002 (-57,0)

0,020 (-47,0)

7.1.1.2.8.2 Уровень нежелательных излучений от корпуса и элементов конструкции приемника (5.2.9 [1], table 8: radiated components)

Уровень нежелательных излучений от корпуса и элементов конструкции приемника при НУ не должен превышать значений, приведённых в таблице 7.11.

Таблица 7.11

7.1.1.2.9 Максимальная используемая чувствительность приёмника в дуплексном режиме работы БРС (5.3.1 [1])

Максимальная используемая чувствительность приёмника в дуплексном режиме работы БРС при НУ должна удовлетворять требованиям 7.1.1.2.1.

7.1.1.2.10 Снижение чувствительности приёмника в дуплексном режиме работы БРС (5.3.1 [1])

Снижение чувствительности приёмника в дуплексном режиме работы БРС при НУ не должно превышать 3 дБ.

7.1.1.2.11 Избирательность приёмника по побочным каналам приёма в дуплексном режиме работы БРС (5.3.2 [1])

Избирательность приёмника по побочным каналам приёма в дуплексном режиме работы БРС при НУ должна быть не менее 67 дБ для любой частоты, отстоящей от номинальной частоты приёмника более чем на удвоенную величину разноса частот между соседними каналами.

7.1.2 Требования к базовой радиостанции, предназначенной для передачи данных

7.1.2.1 Требования к передатчику

7.1.2.1.1 Отклонение частоты передатчика от номинального значения (5.1.1 [2])

Отклонение частоты передатчика от номинального значения при НУ не должно превышать предельно допустимых значений, приведённых в таблице 7.2.

Отклонение частоты передатчика от номинального значения при ЭУ не должно превышать предельно допустимых значений, приведённых в таблице 7.12.

Таблица 7.12

Разнос частот между соседними каналами, кГц

Предельно допустимое отклонение частоты передатчика от номинального значения, кГц, не более, для диапазона частот

160 МГц

330 МГц

450 МГц

800 МГц

12,5

±1,0

±1,0

±1,0

*

25

±2,0

±2,5

±2,5

±3,0

* Устанавливают в ТУ на БРС конкретного типа

7.1.2.1.2 Мощность несущей передатчика (на эквиваленте антенны) (5.1.2 [2])

Номинальное значение мощности несущей передатчика БРС должно быть декларировано фирмой-изготовителем и установлено в ТУ на БРС конкретного типа.

Если в передатчике БРС предусмотрена возможность установки различных значений мощности несущей, то фирма-изготовитель должна декларировать все возможные номинальные значения мощности несущей передатчика. В этом случае требования настоящего РД должны быть удовлетворены для всех возможных номинальных значений мощности несущей передатчика.

Отклонение мощности несущей передатчика от номинального значения при НУ должно находиться в пределах ±1,5 дБ.

Отклонение мощности несущей передатчика от номинального значения при ЭУ должно находиться в пределах от минус 3,0 до плюс 2,0 дБ.

Максимальные значения мощности несущей передатчика, разрешённые на территории России, приведены в таблице 7.4.

7.1.2.1.3 Уровень излучения передатчика в соседнем канале (5.1.4 [2])

Уровень излучения передатчика в соседнем канале для разноса частот между соседними каналами 12,5 кГц при НУ не должен превышать минус 60 дБн, без необходимости быть ниже 0,2 мкВт (-37 дБм).

Уровень излучения передатчика в соседнем канале для разноса частот между соседними каналами 25 кГц при НУ не должен превышать минус 70 дБн, без необходимости быть ниже 0,2 мкВт (-37 дБм).

7.1.2.1.4 Уровень побочных излучений передатчика (5.1.5 [2])

7.1.2.1.4.1 Уровень побочных излучений передатчика на антенном разъеме (5.1.5 [2], table 2: conducted emissions)

Уровень побочных излучений передатчика, измеренный на антенном разъеме, в полосе частот от 9 кГц до 4 ГГц (для БРС, работающих на частотах до 470 МГц) либо в полосе частот от 9 кГц до 12,75 ГГц (для БРС, работающих на частотах выше 470 МГц) при НУ не должен превышать значений, приведённых в таблице 7.6.

7.1.2.1.4.2 Уровень побочных излучений от корпуса и элементов конструкции передатчика (5.1.5 [2], table 3а: radiated emissions)

Уровень побочных излучений от корпуса и элементов конструкции передатчика при НУ не должен превышать значений, приведённых в таблице ?

7.1.2.1.5 Ослабление продуктов интермодуляции (5.1.6 [2])

Ослабление любых продуктов интермодуляции в передатчике одноканальной БРС, не предназначенной для размещения совместно с другим радиопередающим оборудованием, при НУ должно быть не менее 40 дБ.

Ослабление любых продуктов интермодуляции в передатчике многоканальной БРС при НУ должно быть не менее 70 дБ.

7.1.2.1.6 Длительность переходных процессов при включении передатчика (5.1.7 [2])

Длительность переходных процессов при включении передатчика (ta) при HУ не должна превышать предельного значения (tal), равного 25 мс.

Графики переходных процессов изменения мощности и частоты несущей при включении передатчика приведены на рисунках 7.4 и 7.5.

7.1.2.1.7 Длительность переходных процессов при выключении передатчика (5.1.8 [2])

Длительность переходных процессов при выключении передатчика (tr) при этом не должна превышать предельного значения (trl), равного 20 мс.

Графики переходных процессов изменения мощности и частоты несущей при выключении передатчика приведены на рисунке 7.6.

7.1.2.1.8 Изменение мощности и частоты несущей при включении и выключении передатчика (5.1.9.1 [2])

Графики переходных процессов изменения мощности и частоты несущей при включении и выключении передатчика приведены на рисунках 7.4 - 7.6.

Рисунок 7.4 - Графики переходных процессов изменения мощности и частоты несущей при включении передатчика, для случая, когда длительность переходного процесса дана из графика изменения мощности несущей

Рисунок 7.5 - Графики переходных процессов изменения мощности и частоты несущей при включении передатчика, для случая, когда длительность переходного процесса дана из графика изменения частоты несущей

Рисунок 7.6 - Графики переходных процессов изменения мощности и частоты несущей при выключении передатчика

В любой момент времени при НУ, когда мощность несущей передатчика больше установившейся мощности несущей передатчика (Рс) минус 30 дБ (Рс - 30 дБ), частота несущей должна оставаться в пределах половины разноса частот между соседними каналами (±dfc) от установившейся частоты несущей передатчика (Рс).

Знак наклона участка графиков «Мощность, как функция времени», приведённых на рисунках 7.4 - 7.6, между точками (Рс - 30 дБ) и (Рс - 6 дБ) не должен меняться.

Отрезки времени переходных процессов выключения передатчика td и включения передатчика tp при НУ должны быть не менее:

- 0,10 мс для разноса частот между соседними каналами 12,5 кГц;

- 0,05 мс для разноса частот между соседними каналами 25 кГц.

7.1.2.1.9 Уровень излучения в соседнем канале во время переходных процессов в передатчике (5.1.9.2.1 [2])

Уровень излучения в соседнем канале во время переходных процессов в передатчике для разноса частот между соседними каналами 12,5 кГц при НУ не должен превышать минус 50 дБн, без необходимости быть ниже 0,2 мкВт (27,0 дБм).

Уровень излучения в соседнем канале во время переходных процессов в передатчике для разноса частот между соседними каналами 25 кГц при НУ не должен превышать минус 60 дБн, без необходимости быть ниже 0,2 мкВт (27,0 дБм).

7.1.2.2 Требования к приемнику

7.1.2.2.1 Максимальная используемая чувствительность приёмника (5.2.1 [2])

Максимальная используемая чувствительность приёмника при коэффициенте битовых ошибок (BER) 10-2 и коэффициенте успешно принятых сообщений 80 % при НУ не должна превышать значения э.д.с. 3 дБмкВ.

Максимальная используемая чувствительность приёмника при BER 10-2 и коэффициенте успешно принятых сообщений 80 % при ЭУ не должна превышать значения э.д.с. 9 дБмкВ.

7.1.2.2.2 Коэффициент битовых ошибок и количество потерянных или искаженных сообщений при высоких уровнях радиочастотного сигнала на входе приёмника (5.2.3 [2])

BER для непрерывного битового потока при уровнях модулированного радиочастотного сигнала на входе приёмника, равных 36 дБмкВ и 106 дБмкВ, при НУ не должен превышать 10-4.

Количество потерянных или искаженных сообщений при уровнях модулированного радиочастотного сигнала на входе приёмника, равных 36 дБмкВ и 106 дБмкВ, при НУ не должно превышать 1.

7.1.2.2.3 Подавление соканальной помехи (5.2.4 [2])

Отношение уровней соканальной помехи и полезного сигнала на входе приемника при BER не более 10-2 и коэффициенте успешно принятых сообщений не менее 80 %, при НУ должно находиться в пределах:

- от минус 12 до 0 дБ при разносе частот между соседними каналами 12,5 кГц;

- от минус 8 до 0 дБ при разносе частот между соседними каналами 25 кГц.

Любое положительное значение указанного отношения уровней помехи и сигнала также приемлемо.

7.1.2.2.4 Избирательность приёмника по соседнему каналу (5.2.5 [2])

Избирательность приемника по соседнему каналу при BER не более 10-2 и коэффициенте успешно принятых сообщений не менее 80 % при НУ должна быть не менее:

60 дБ при разносе частот между соседними каналами 12,5 кГц;

70 дБ при разносе частот между соседними каналами 25 кГц.

Избирательность приёмника по соседнему каналу при BER не более 10-2 и коэффициенте успешно принятых сообщений не менее 80 % при ЭУ должна быть не менее:

50 дБ при разносе частот между соседними каналами 12,5 кГц;

60 дБ при разносе частот между соседними каналами 25 кГц.

7.1.2.2.5 Избирательность приёмника по побочным каналам приема (5.2.6 [2])

Избирательность приёмника по побочным каналам приёма при BER не более 10 и коэффициенте успешно принятых сообщений не менее 80 % при НУ должна быть не менее 70 дБ для любой частоты, отстоящей от номинальной частоты приёмника более чем на величину двух разносов частот между соседними каналами.

7.1.2.2.6 Интермодуляционная избирательность приёмника (5.2.7 [2])

Интермодуляционная избирательность приёмника при BER не более 10-2 и коэффициенте успешно принятых сообщений не менее 80 % для сигналов помехи на частотах f0 + 50 Гц и f0 + 100 Гц либо f0 - 50 Гц и f0 - 100 Гц при НУ должна быть не менее 70 дБ.

7.1.2.2.7 Устойчивость приёмника к блокирующим сигналам (5.2.8 [2])

Отношение уровней полезного и блокирующего сигналов при BER не более 10-2 и коэффициенте успешно принятых сообщений не менее 80 % при НУ должно быть не менее 84 дБ для любой из частот блокирующего сигнала f0 ± 1 МГц, f0 ± 2 МГц, f0 ± 5 МГц, f0 ± 10 МГц.

7.1.2.2.8 Уровень нежелательных излучений приемника (5.2.9 [2])

7.1.2.2.8.1 Уровень нежелательных излучений приемника на антенном разъеме (5.2.9 [2], table 5: conducted components)

Уровень нежелательных излучений приемника, измеренный на антенном разъеме, в полосе частот от 9 кГц до 4 ГГц (для БРС, работающих на частотах до 470 МГц) либо в полосе частот от 9 кГц до 12,75 ГГц (для БРС, работающих на частотах выше 470 МГц) при НУ не должен превышать значений, приведенных в таблице 7.10.

7.1.2.2.8.2 Уровень нежелательных излучений от корпуса и элементов конструкции приемника (5.2.9 [2], table 6: radiated components)

Уровень нежелательных излучений от корпуса и элементов конструкции приемника при НУ не должен превышать значений, приведённых в таблице 7.11.

7.1.2.2.9 Максимальная используемая чувствительность приёмника в дуплексном режиме работы БРС (5.3.1 [2])

Максимальная используемая чувствительность приёмника в дуплексном режиме работы БРС при НУ должна удовлетворять требованиям 7.1.2.2.1.

7.1.2.2.10 Снижение чувствительности приёмника в дуплексном режиме работы БРС (5.3.1 [2])

Снижение чувствительности приёмника в дуплексном режиме работы БРС при НУ не должно превышать 3 дБ.

7.1.2.2.11 Избирательность приёмника по побочным каналам приёма в дуплексном режиме работы БРС (5.3.2 [2])

Избирательность приёмника по побочным каналам приёма в дуплексном режиме работы БРС при НУ должна быть больше 67 дБ для любой частоты, отстоящей от номинальной частоты приёмника более чем на удвоенную величину разноса частот между соседними каналами.

7.1.3. Требования к базовой радиостанции, предназначенной для передачи речевых сообщений и данных

7.1.3.1 БРС, предназначенная для передачи речевых сообщений и данных, должна выполнять все требования, предъявляемые к БРС, предназначенной для передачи речевых сообщений согласно 7.1.1 (EN 300 086-1 [1]).

7.1.3.2 БРС, предназначенная для передачи речевых сообщений и данных, должна выполнять следующие требования, предъявляемые к БРС, предназначенной для передачи данных согласно 7.1.2 (EN 300 113-1 [2]):

- уровень излучения передатчика в соседнем канале по 7.1.2.1.3 (5.1.4 [2]);

- уровень побочных излучений передатчика по 7.1.2.1.4 (5.1.5 [2]);

- длительность переходных процессов при включении передатчика по 7.1.2.1.6 (5.1.7 [2]);

- длительность переходных процессов при выключении передатчика по 7.1.2.1.7 (5.1.8 [2]);

- изменение мощности и частоты при включении и выключении передатчика по 7.1.2.1.8 (5.1.9.1 [2]);

- уровень излучения в соседнем канале во время переходных процессов в передатчике по 7.1.2.1.9 (5.1.9.2 [2]);

- максимальная используемая чувствительность приёмника по 7.1.2.2.1 (5.2.1 [2]);

- коэффициент битовых ошибок и количество потерянных или искаженных сообщений при высоких уровнях радиочастотного сигнала на входе приемника по 7.1.2.2.2 (5.2.3 [2]);

- подавление соканальной помехи по 7.1.2.2.3 (5.2.4 [2]);

- избирательность приёмника по соседнему каналу по 7.1.2.2.4 (5.2.5 [2]).

7.1.4. Требования к базовой радиостанции, предназначенной для передачи речевых сообщений и данных одновременно

7.1.4.1 БРС, предназначенная для передачи речевых сообщений и данных одновременно, должна выполнять все требования, предъявляемые к БРС, предназначенной для передачи речевых сообщений согласно 7.1.1 (EN 300 086-1 [1]).

7.1.4.2 БРС, предназначенная для передачи речевых сообщений и данных одновременно, должна выполнять следующие требования, предъявляемые к БРС, предназначенной для передачи данных по 7.1.2 (EN 300 113-1 [2]):

- уровень излучения передатчика в соседнем канапе согласно 7.1.2.1.3 (5.1.4 [2]);

- уровень побочных излучений передатчика по 7.1.2.1.4 (5.1.5 [2]).

7.1.5 Требования к электромагнитной совместимости*

* Параметры ЭМС, приведенные в данном пункте, для БРС при НУ

7.1.5.1 Квазипиковые значения несимметричного напряжения радиопомех на сетевых зажимах БРС в полосе частот от 0,15 до 100 МГц не должны превышать значений, приведенных в 5.1 ГОСТ 30429 (рисунок 1, кривая 1).

7.1.5.2 Средние значения несимметричного напряжения радиопомех на готовых зажимах БРС в полосе частот от 30 до 100 МГц не должны превышать 26 дБмкВ (5.2 ГОСТ 30429).

7.1.5.3 Квазипиковые значения напряжённости поля радиопомех, создаваемых БРС, в полосе частот от 0,15 до 1000 МГц, измеренные на расстоянии 1 м, не должны превышать значений, приведенных в 5.3 ГОСТ 10429 (рисунок 2, кривая 1).

7.1.5.4 Напряжение радиопомех на портах связи БРС в полосе частот от 0,15 до 30 МГц не должно превышать значений, приведённых в 5.2 ГОСТ Р 51318.22 для оборудования класса А.

7.1.5.5 Устойчивость БРС к радиочастотному электромагнитному полю в полосе частот от 80 до 1000 МГц - в соответствии с разделом 5 ГОСТ Р 51317.4.3 (степень жёсткости испытаний - 2, критерий качества функционирования - не хуже А).

7.1.5.6 Устойчивость БРС к электростатическим разрядам - в соответствии с разделом 5 ГОСТ Р 51317.4.2 (степень жёсткости испытаний - 2, критерий качества функционирования - не хуже В).

7.1.5.7 Устойчивость БРС к наносекундным импульсным помехам - в соответствии с разделом 5 ГОСТ Р 51317.4.4 (степень жёсткости испытаний - 2, критерий качества функционирования - не хуже А).

7.1.5.8 Устойчивость БРС к кондуктивным помехам, наведённым радиочастотными электромагнитными полями, в полосе частот от 0,15 до 10 МГц - в соответствии с разделом 5 ГОСТ Р 51317.4.6 (степень жёсткости испытаний - 2, критерий качества функционирования - не хуже А).

7.1.5.9 Устойчивость БРС к динамическим изменениям напряжения электропитания - в соответствии с разделом 5 ГОСТ Р 51317.4.11 (степень жесткости испытаний - 2, критерий качества функционирования - не хуже В).

7.1.5.10 Устойчивость БРС к микросекундным импульсным помехам большой энергии - в соответствии с разделом 5 ГОСТ Р 51317.4.5 (класс условий эксплуатации - 5, критерий качества функционирования - не хуже А).

7.1.6 Требования по устойчивости к климатическим и механическим воздействиям

7.1.6.1 В зависимости от условий эксплуатации БРС подразделяют в соответствии с таблицей 1 ГОСТ 16019 на следующие группы аппаратуры:

- С1 - стационарные БРС, устанавливаемые в отапливаемых наземных и подземных сооружениях;

- С2 - стационарные БРС, устанавливаемые под навесом на открытом воздухе или в неотапливаемых наземных и подземных сооружениях.

Группа аппаратуры, к которой может быть отнесена БРС, исходя из условий ей эксплуатации, должна быть установлена в ТУ на БРС конкретного типа.

7.1.6.2 Требования по устойчивости к климатическим и механическим воздействиям к БРС группы аппаратуры С1 должны устанавливаться в ТУ на БРС конкретного типа.

При этом должны быть предусмотрены следующие виды испытаний:

а) испытание на воздействие пониженной температуры (пункт 1 таблицы 4 ГОСТ 16019), характеристика и значение воздействующего фактора согласно пункту 4 таблицы 2 ГОСТ 16019;

б) испытание на воздействие повышенной температуры (пункт 2 таблицы 4 ГОСТ 16019), характеристика и значение воздействующего фактора согласно пункту 5 таблицы 2 ГОСТ 16019;

в) испытание на воздействие синусоидальной вибрации (пункт 4 таблицы 4, ГОСТ 16019), характеристика и значение воздействующего фактора согласно пункту 1 таблицы 2 ГОСТ 16019;

г)* испытание на воздействие механических ударов (пункт 5 таблицы 4 ГОСТ 16019), характеристика и значение воздействующего фактора согласно пункту 2 (при эксплуатации) таблицы 2 ГОСТ 16019;

д)* испытание на воздействие пониженного атмосферного давления (пункт 6 таблицы 4 ГОСТ 16019), характеристика и значение воздействующего фактора согласно пункту 7 таблицы 2 ГОСТ 16019;

е)* испытание на воздействие соляного тумана в циклическом режиме (пункт 8 таблицы 4 ГОСТ 16019), характеристика и значение воздействующего фактора согласно пункту 9 таблицы 2 ГОСТ 16019;

* Испытания проводят, если это оговорено в ТУ на аппаратуру конкретного назначения

ж) испытание на прочность при транспортировании (пункт 14 таблицы 4 ГОСТ 16019), характеристика и значение воздействующего фактора согласно пункту 2 (при транспортировании) таблицы 2 ГОСТ 16019.

7.1.6.3 Требования по устойчивости к климатическим и механическим воздействиям к БРС группы аппаратуры С2 должны устанавливаться в ТУ на БРС конкретного типа.

При этом должны быть предусмотрены следующие виды испытаний:

а) испытание на воздействие пониженной температуры (пункт 1 таблицы 4 ГОСТ 16019), характеристика и значение воздействующего фактора согласно пункту 4 таблицы 2 ГОСТ 16019;

б) испытание на воздействие повышенной температуры (пункт 2 таблицы 4 ГОСТ 16019), характеристика и значение воздействующего фактора согласно пункту 5 таблицы 2 ГОСТ 16019;

в) испытание на воздействие изменения температуры (пункт 3 таблицы 4 ГОСТ 16019), характеристика и значение воздействующего фактора согласно пункту 6 таблицы 2 ГОСТ 16019;

г)* испытание на воздействие синусоидальной вибрации (пункт 4 таблицы 4 ГОСТ 16019), характеристика и значение воздействующего фактора согласно пункту 1 таблицы 2 ГОСТ 16019;

д)* испытание на воздействие механических ударов (пункт 5 таблицы 4 ГОСТ 16019), характеристика и значение воздействующего фактора согласно пункту 2 (при эксплуатации) таблицы 2 ГОСТ 16019;

е)* испытание на воздействие пониженного атмосферного давления (пункт 6 таблицы 4 ГОСТ 16019), характеристика и значение воздействующего фактора согласно пункту 7 таблицы 2 ГОСТ 16019;

ж) испытание на воздействие влажности при повышенной температуре в постоянном режиме (пункт 7 таблицы 4 ГОСТ 16019), характеристика и значение воздействующего фактора согласно пункту 8 таблицы 2 ГОСТ 16019;

з)* испытание на воздействие соляного тумана в циклическом режиме (пункт 8 таблицы 4 ГОСТ 16019), характеристика и значение воздействующего фактора согласно пункта 9 таблицы 2 ГОСТ 16019;

и)* испытание на воздействие песка или пыли (пункт 9 таблицы 4 ГОСТ 16019), характеристика и значение воздействующего фактора согласно пункту 10 таблицы 2 ГОСТ 16019;

к)* испытание на воздействие инея и росы (пункт 13 таблицы 4 ГОСТ 16019), характеристика и значение воздействующего фактора согласно пункту 13 таблицы 2 ГОСТ 16019;

* Испытания проводят, если это оговорено в ТУ на аппаратуру конкретного назначения

л) испытание на прочность при транспортировании (пункт 14 таблицы 4 ГОСТ 16019), характеристика и значение воздействующего фактора согласно пункту 2 (при транспортировании) таблицы 2 ГОСТ 16019.

7.1.6.4 Перечень параметров БРС, подлежащих измерению при испытаниях на устойчивость к климатическим и механическим воздействиям, должен быть установлен в ТУ на БРС конкретного назначения.

7.1.7 Требования к электропитанию

7.1.7.1 БРС может питаться как от сети переменного тока номинальным напряжением 220 В частотой 50 Гц по ГОСТ 5237, так и от внешних источников постоянного тока.

7.1.7.2 При питании от сети переменного тока БРС должна обеспечивать работоспособность при изменении напряжения питания в пределах от минус 15 % до плюс 10 % относительно номинального напряжения.

7.1.7.3 При питании от внешнего источника постоянного тока номинальное напряжение питания и диапазон допустимых напряжений должны устанавливаться в ТУ на БРС конкретного типа.

В качестве внешнего источника постоянного тока могут быть использованы источники вторичного питания, имеющие сертификат соответствия Российской Федерации.

7.1.7.4 Для обеспечения надежного функционирования БРС должно быть предусмотрено резервирование основного источника питания.

В качестве резервного источника питания могут быть использованы аккумуляторные батареи, имеющие сертификат соответствия Российской Федерации.

7.1.7.5 Переключение основного источника питания на резервный источник питания и обратно должно происходить автоматически.

Критерии переключения основного источника питания на резервный источник питания и обратно устанавливают в ТУ на ТСПР конкретного типа.

7.1.8 Требования безопасности

7.1.8.1 В БРС должны быть предусмотрены меры по защите обслуживающего персонала от поражения электрическим током согласно 6.14 ГОСТ Р 50829.

7.1.8.2 Электрическая изоляция цепей сетевого питания БРС должна соответствовать требованиям 6.20 ГОСТ Р 50829.

7.1.8.3* Уровень напряженности электрического поля, создаваемый БРС в месте её установки, должен находиться в пределах, установленных в таблице 3.2 СанПиН 2.2.4/2.18.055 [7].

* Данное требование относится к БPC, работающим в диапазоне частот 160 МГц

7.1.8.4** Уровень плотности потока энергии, создаваемый БРС в месте её установки, должен находиться в пределах, установленных в таблице 3.3 СанПиН 2.2.4/2.1.8.055 [7].

** Данное требование относится к БРС, работающим в диапазонах частот 330 МГц, 450 МГц и 800 МГц

7.1.8.5 В БРС должно быть предусмотрено заземление доступных прикосновению нетоковедущих частей путём введения и использования клемм (зажимов) защитного заземления. Доступные прикосновению нетоковедущие части БРС должны быть надёжно заземлены (6.2.1 ГОСТ Р 50829).

Величина сопротивления между клеммой (зажимом) защитного заземления и любой, доступной для прикосновения, металлической нетоковедущей частью БРС не должна превышать 0,1 Ом (3.3.7 ГОСТ 12.2.007.0).

7.1.8.6 Должна быть исключена возможность воспламенения БРС при случайном замыкании в цепи питания и/или при неправильном включении полярности питания (13.3 ГОСТ Р 50829).

7.1.8.7 Температура наружных поверхностей БРС во время работы при НУ должна соответствовать требованиям 8.1 ГОСТ Р 50829.

7.1.8.8 Уровень акустического шума, создаваемый БРС во время работы в месте её установки, должен соответствовать требованиям раздела 2 ГОСТ 12.1.003.

7.1.8.9 Электромагнитные излучения радиочастотного диапазона (ЭМИ РЧ), создаваемые БРС в местах, доступных для посторонних лиц, не должны превышать предельно допустимые уровни ЭМИ РЧ, приведённые в таблице 3.4 СанПиН 2.2.4/2.1.8.055 [7].

7.2 Технические требования к АФУ

7.2.1 В БРС ТСПР могут использоваться одновходовые АФУ, в том числе на основе антенн, удовлетворяющих требованиям ГОСТ Р 50736, или многовходовые АФУ, в том числе на основе многовходовых антенных решеток по ГОСТ Р 51798, различных фирм-изготовителей.

АФУ должно удовлетворять требованиям действующих НД системы сертификации «Связь» и иметь сертификат соответствия согласно Положения [8].

7.2.2 В ТУ на АФУ конкретного типа должны быть установлены требования к основным параметрам, в число которых должны входить:

- полоса (полосы) рабочих частот;

- максимальная подводимая мощность;

- вид поляризации излучаемых (принимаемых) электромагнитных волн;

- номинальное волновое сопротивление;

- коэффициент стоячей волны по напряжению (КСВн);

- развязка между входами (для многовходовых АФУ);

- вид ДН в горизонтальной плоскости;

- ширина главного лепестка ДН в вертикальной плоскости;

- ширина главного лепестка ДН в горизонтальной плоскости (для направленных антенн);

- коэффициент неравномерности ДН (для ненаправленных антенн);

- коэффициент усиления;

- уровень боковых лепестков ДН в вертикальной плоскости в нижнем полупространстве;

- уровень боковых и заднего лепестков ДН в горизонтальной плоскости (для направленных антенн).

7.2.3 В ТУ на АФУ конкретного типа должны быть установлены технические требования, в том числе:

- требования к конструкции АФУ, включая габаритные размеры, массу, условия размещения (установки), типы соединителей;

- требования по стойкости к воздействию механических и климатических факторов, включая значения параметров климатических воздействий (обозначение вида климатического исполнения по ГОСТ 15150), параметров ветровых и гололедных нагрузок (обозначения ветровых и гололедных районов по СНиП 2.01.07 [9]). Допускается установление значений воздействующих механических и климатических факторов согласно таблице 2 ГОСТ 16019 для аппаратуры группы С2;

- требования к надежности;

- требования безопасности, включая требования электробезопасности по ГОСТ 12.1.030, ГОСТ 12.2.007.0, требования к уровню электромагнитных излучений по ГОСТ 12.1.006 и СанПиН 2.2.4/2.1.8.055 [7] с Изменением № 1 [10], требования к молниезащите согласно Инструкции [11], требования Правил [12];

- требования к ЭМС;

- требования к маркировке и упаковке, включая маркировку знаком соответствия согласно Положения [8].

7.2.4 Для АФУ должны быть установлены условия транспортирования и хранения, в том числе в части воздействия климатических факторов по ГОСТ 15150.

7.2.5 Для АФУ должны быть установлены гарантии изготовителя.

7.2.6 Структура (построение) и состав АФУ устанавливают в ТУ на АФУ конкретного типа. Варианты построения АФУ приведены в приложении А.

7.3 Технические требования к оборудованию объединения радиосигналов

7.3.1 В БРС ТСПР может использоваться ООР дуплексные антенные разделители (дуплексеры, дуплексные фильтры), усилители сложения сигналов радиопередатчиков (комбайнеры, мультиплексоры), разветвители сигналов приема (мультикаплеры, ? разветвители, распределительные панели), полосовые фильтры, ? согласующие устройства (трансформаторы импедансов) и т.д. различных фирм-изготовителей.

OOP должно удовлетворять требованиям действующих НД системы сертификации «Связь» и иметь сертификат соответствия согласно Положения [8].

7.3.2 В ТУ на OOP конкретного типа должны быть установлены требования к основным параметрам, в число которых должны входить:

- полоса (полосы) рабочих частот;

- максимальная подводимая мощность (для OOP тракта передачи);

- потери мощности (для OOP тракта передачи);

- коэффициент усиления (для OOP тракта приема);

- неравномерность АЧХ;

- развязка между входами (выходами);

- номинальное волновое сопротивление;

- КСВн.

7.3.3 В ТУ на OOP конкретного типа должны быть установлены технические требования, в том числе:

- требования к конструкции OOP, включая габаритные размеры, массу, типы соединителей;

- требования по стойкости к воздействию механических и климатических факторов согласно таблице 2 ГОСТ 16019, для группы аппаратуры С1 или С2*;

- требования к надежности;

- требования безопасности, включая требования электробезопасности по ГОСТ 12.1.030, ГОСТ 12.2.007.0, требования к уровню электромагнитных излучений по ГОСТ 12.1.006 и СанПиН 2.2.4/2.1.8.055 [7] с Изменением № 1 [10], требования Правил [12];

- требования к ЭМС;

- требования к маркировке и упаковке, включая маркировку знаком соответствия согласно Положения [8].

7.3.4 Для OOP должны быть установлены условия транспортирования и хранения, в том числе в части воздействия климатических факторов по ГОСТ 15150.

7.3.5 Для OOP должны быть установлены гарантии изготовителя.

7.3.6 Варианты построения OOP приведены в Приложении Б.

* Допускается установления значений параметров климатических воздействий (вида климатического исполнения) по ГОСТ.

8 Технические требования к абонентской радиостанции

Перечень нормируемых параметров радиоинтерфейса оборудования АС и требования к этим параметрам установлены 5.1 - 5.3 EN 300 086-1 [1], 5.1 - 5.3 EN 300 113-1 [2], 5.1 - 5.2 EN 300 296-1 [13], 5.1 - 5.2 EN 300 390-1 [14].

АС должна обеспечивать работу при разносе частот между соседними каналами 12,5 или 25 кГц.

Требования к АС, предназначенной для передачи речевых сообщений и поддерживающей классы излучения F3E и G3E, приведены в 8.1.

Требования к АС, предназначенной для передачи данных и поддерживающей классы излучения F1D и G1D, приведены в 8.2.

Требования к АС, предназначенной для передачи речевых сообщений и данных и поддерживающей классы излучения F3E, G3E, F1D и G1D, приведены в 8.3.

Требования к АС, предназначенной для передачи речевых сообщений и данных одновременно и поддерживающей классы излучения F3E, G3E, F1D и G1D, приведены в 8.4.

Сведения о разрешённых для использования на территории России диапазонах частот и дуплексных разносах частот АС ТСПР приведены в таблице 8.1.

Конкретные значения используемых АС полос частот должны декларироваться фирмой-изготовителем и соответствовать решениям ГКРЧ.

Таблица 8.1

Обозначение диапазона частот

Полоса частот, МГц

Дуплексный разнос частот*, МГц

Решение ГКРЧ

Передача

Приём

160 МГц (VHF)

146 - 174

146 - 174

**

[3]

330 МГц

300 - 308

336 - 344

36

[4]

450 МГц (UHF)

401 - 470, 470 - 486***

401 - 470, 470 - 486***

**

На каждый тип оборудования должно быть получено частное решение ГКРЧ

800 МГц

815 - 820, 815 - 824****

860 - 865, 860 - 869****

45

[5]

* Для дуплексных АС

** Значение дуплексного разноса частот устанавливают в ТУ на АС конкретного типа

*** Для Москвы и Московской области

**** Для отечественной аппаратуры радиальных и радиально-зоновых систем сухопутной подвижной радиосвязи

8.1 Требования к абонентской радиостанции, предназначенной для передачи речевых сообщений

8.1.1 Требования к передатчику

8.1.1.1 Отклонение частоты передатчика от номинального значения (5.1.1 [1], 5.1.1 [13])

Отклонение частоты передатчика от номинального значения при НУ* не должно превышать предельно допустимых значений, приведённых в таблице 8.2.

* НУ определены в пункте 3.46 настоящего РД

Таблица 8.2

Разнос частот между соседними каналами, кГц

Предельно допустимое отклонение частоты передатчика от номинального значения, кГц, не более, для диапазона частот

160 МГц

330 МГц

450 МГц

800 МГц

12,5

±1,5

±1,5

±1,5

*

25

±2,0

±2,0

±2,0

±2,5

* Устанавливают в ТУ на АС конкретного типа

Отклонение частоты передатчика от номинального значения при ЭУ** не должно превышать предельно допустимых значений, приведённых в таблице 8.3.

** ЭУ определены в пункте 3.96 настоящего РД

Таблица 8.3

Разнос частот между соседними каналами, кГц

Предельно допустимое отклонение частоты передатчика от номинального значения, кГц, не более, для диапазона частот

160 МГц

330 МГц

450 МГц

800 МГц

12,5

±1,5

±2,5

±2,5

*

25

±2,0

±2,0

±2,0

±3,0

* Устанавливают в ТУ на АС конкретного типа

8.1.1.2*** Мощность несущей передатчика (на эквиваленте антенны) (5.1.2 [1])

*** Данное требование относится к АС с внешним антенным разъемом

Номинальное значение мощности несущей передатчика АС должно быть декларировано фирмой-изготовителем и установлено в ТУ на АС конкретного типа.

Если в передатчике АС предусмотрена возможность установки различных значений мощности несущей, то фирма-изготовитель должна декларировать все возможные номинальные значения мощности несущей передатчика. В этом случае требования настоящего РД должны быть удовлетворены для всех возможных номинальных значений мощности несущей передатчика.

Отклонение мощности несущей передатчика от номинального значения при НУ должно находиться в пределах ±1,5 дБ.

Отклонение мощности несущей передатчика от номинального значения при ЭУ должно находиться в пределах от минус 3,0 до плюс 2,0 дБ.

Максимальные значения мощности несущей передатчика, разрешённые на территории России, приведены в таблице 8.4.

Таблица 8.4

Обозначение диапазона частот

Максимальное значение мощности несущей передатчика, разрешённое на территории России, Вт, для разноса частот между соседними каналами

12,5 кГц

25 кГц

160 МГц

***

10* [3]

2** [3]

330 МГц

15* [4]

5** [4]

15* [4]

5** [4]

450 МГц

***

***

800 МГц

***

***

* Для возимых АС

** Для носимых АС

*** Определяется решением органов Государственной радиочастотной службы

8.1.1.3* Эффективная излучаемая мощность передатчика (5.1.2 [13])

* Данное требование относится к АС, не имеющим внешнего антенного разъема

Номинальные значения максимальной и средней эффективной излучаемой мощности (ЭИМ) передатчика должны быть декларированы фирмой-изготовителем и установлены в ТУ на АС конкретного типа.

Если АС имеет возможность установки нескольких уровней максимальной и средней ЭИМ передатчика, то фирма-изготовитель должна декларировать все возможные номинальные значения максимальной и средней ЭИМ передатчика. В этом случае требования настоящего РД должны быть удовлетворены для всех возможных номинальных значений максимальной и средней ЭИМ передатчика.

Отклонение максимальной ЭИМ передатчика от номинального значения при НУ должно находиться в пределах ±df.

Отклонение средней ЭИМ передатчика от номинального значения при НУ должно находиться в пределах ±dr.

Отклонение максимальной (средней) ЭИМ передатчика df, дБ, от номинального значения при НУ рассчитывают по формуле*

                                                              (8.1)

где dm - погрешность измерения (dm £ ± 6 дБ);

df - допустимое отклонение параметра (de = ± 1,5 дБ).

Отклонение максимальной ЭИМ передатчика от номинального значения при ЭУ должно находиться в пределах от минус df2 дo плюс df1.

Отклонение средней ЭИМ передатчика от номинального значения при ЭУ должно находиться в пределах от минус df2 до плюс df1.

Отклонение максимальной (средней) ЭИМ передатчика df1, дБ, от номинального значения при ЭУ рассчитывают по формуле*

                                                           (8.2)

где dm - погрешность измерения (dm £ ± 6 дБ);

de1 - допустимое отклонение параметра (de1 = +2 дБ).

Отклонение максимальной (средней) ЭИМ передатчика df2, дБ, от номинального значения при ЭУ рассчитывают по формуле*

* При расчетах по формулам 8.1 - 8.3 все значения должны быть выражены в линейных единицах

                                                             (8.3)

где dm - погрешность измерения (dm £ ± 6 дБ);

de2 - допустимое отклонение параметра (de2 = -3 дБ).

Максимальная ЭИМ передатчика не должна превышать предельного значения максимальной ЭИМ, разрешенного органами Государственной радиочастотной службы.

8.1.1.4 Девиация частоты передатчика (5.1.4 [1], 5.1.3 [13])

8.1.1.4.1 Максимальная допустимая девиация частоты передатчика (5.1.4.1 [1], 5.1.3.1 [13])

Максимальная допустимая девиация частоты передатчика (Dmax) при частотах модулирующего сигнала в полосе от нижней частоты f1 до верхней частоты f2 при НУ не должна превышать значений, приведенных в таблице 7.5.

Нижняя частота модулирующего сигнала f1 должна быть декларирована фирмой-изготовителем и установлена в ТУ на АС конкретного типа.

Верхняя частота модулирующего сигнала f2 должна быть 2550 Гц (для разноса частот между соседними каналами 12,5 кГц) и 3000 Гц (для разноса частот между соседними каналами 25 кГц).

8.1.1.4.2 Девиация частоты передатчика при частотах модулирующего сигнала выше частоты f2 (5.1.4.2 [1], 5.1.3.1 [13])

Девиация частоты передатчика при частотах модулирующего сигнала выше частоты f2 при НУ должна удовлетворять следующим требованиям:

а) при частотах модулирующего сигнала в полосе от частоты f2 до 6,0 кГц девиация частоты передатчика не должна превышать значения (А), измеренного на частоте f2;

б) при частоте модулирующего сигнала 6,0 кГц девиация частоты передатчика не должна превышать значения, равного 0,3Dmax;

в) при частотах модулирующего сигнала в полосе частот от 6,0 кГц до частоты f3, равной разносу частот между соседними каналами, девиация частоты передатчика не должна превышать значений, задаваемых линейной характеристикой девиации частоты в зависимости от частоты модуляции, имеющей предельное значение на частоте 6,0 кГц и дальнейший спад минус 14 дБ на октаву.

График зависимости девиации частоты передатчика от частоты модуляции приведен на рисунке 7.1.

8.1.1.5 Уровень излучения передатчика в соседнем канале (5.1.5 [1], 5.1.4 [13])

Уровень излучения передатчика в соседнем канале для разноса частот между соседними каналами 12,5 кГц при НУ не должен превышать минус 60 дБн, без необходимости быть ниже 0,2 мкВт.

Уровень излучения передатчика в соседнем канале для разноса частот между соседними каналами 25 кГц при НУ не должен превышать минус 70 дБн, без необходимости быть ниже 0,2 мкВт.

8.1.1.6 Уровень побочных излучений передатчика (5.1.6 [1], 5.1.5 [13])

8.1.1.6.1* Уровень побочных излучений на антенном разъеме (5.1.6 [1], table 3: conducted emissions)

* данное требование относится к АС с внешним антенным разъемом

Уровень побочных излучений передатчика, измеренный на антенном разъеме, в полосе частот от 9 кГц до 4 ГГц (для АС, работающих на частотах до 470 МГц) либо в полосе частот от 9 кГц до 12,75 ГГц (для АС, работающих на частотах выше 470 МГц) при НУ не должен превышать значений, приведённых в таблице 7.6.

8.1.1.6.2 Уровень побочных излучений от корпуса и элементов конструкции передатчика (5.1.6 [1], table 4: radiated emissions; 5.1.5 [13], table 3: radiated emissions)

Уровень побочных излучений от корпуса и элементов конструкции передатчика АС с внешним антенным разъемом при НУ не должен превышать значений, приведенных в таблице 7.7.

Уровень побочных излучений от корпуса и элементов конструкции передатчика АС, не имеющей внешнего антенного разъема, в полосе частот от 30 МГц до 4 ГГц (для АС, работающих на частотах до 470 МГц) либо в полосе частот от 30 МГц до 12,75 ГГц (для АС, работающих на частотах выше 470 МГц) при НУ не должен превышать значений, приведённых в таблице 8.5.

Таблица 8.5

Режим работы передатчика

уровень побочных излучений от корпуса и элементов конструкции передатчика, мкВт (дБм), не более, в полосе частот

от 30 МГц до 1 ГГц включительно

свыше 1 до 4 ГГц (свыше 1 до 12,75 ГГц)

Рабочий режим (режим передачи)

0,25 (-36,0)

1,00 (-30,0 дБм)

Дежурный режим (режим пассивной паузы)

0,002 (-57,0)

0,02 (-47,0)

8.1.1.7 Отклонение частоты передатчика от номинального значения в переходном режиме (5.1.8 [1], 5.1.6 [13])

Длительности переходных процессов включения (t1) и выключения (t3) передатчика, в течение которых отклонение частоты передатчика от номинального значения не превосходит величины разноса частот между соседними каналами* (±Δf) в зависимости от диапазона частот, при НУ не должны превышать значений, приведённых в таблице 7.8.

* Для носимых АС отклонение частоты передатчика от номинального значения в течение t1 и t3 допускается больше одного разноса частот между соседними каналами

Длительность переходного процесса включения передатчика (t2), в течение которого отклонение частоты передатчика от номинального значения не превосходит половины разноса частот между соседними каналами (±Δf/2) в зависимости от диапазона частот, при НУ не должна превышать значений, приведённых в таблице 7.9.

Временная маска переходного процесса при включении передатчика, работающего в диапазоне частот 330 МГц либо 450 МГц, приведена на рисунке 7.2.

Временная маска переходного процесса при выключении передатчика, работающего в диапазоне частот 330 МГц либо 450 МГц, либо 800 МГц, приведена на рисунке 7.3.

8.1.2 Требования к приемнику

8.1.2.1* Максимальная используемая чувствительность приёмника (5.2.1 [1])

* Данное требование относится к АС с внешним антенным разъемом.

Максимальная используемая чувствительность приёмника при НУ не должна превышать значения э.д.с. 6 дБмкВ.

Максимальная используемая чувствительность приёмника при ЭУ не должна превышать значения э.д.с. 12 дБмкВ.

8.1.2.2** Средняя используемая чувствительность приёмника (напряжённость поля) (5.2.1 [13])

** Данное требование относится к АС, не имеющим внешнего антенного разъема

АС, не имеющие внешнего антенного разъема, должны быть отнесены к одной из четырех приведенных ниже категорий:

категория А - АС со встроенной в корпус антенной (без внешней антенны);

категория В - АС с внешней, несъёмной антенной длиной до 20 см;

категория С - АС с внешней, несъёмной антенной длиной свыше 20 см;

категория D - АС, не относящаяся к категориям А, В, С.

Средняя напряжённость поля в месте расположения приемника при СИНАД*** на его выходе 20 дБ при НУ не должна превышать значений, приведённых в таблицах:

*** СИНАД измеряют с использованием псофометрического фильтра в соответствии с [6]

- 8,6 для АС категорий А и D ([13], 5.2.1, table 5(a): Sensitivity limits for Categories A and D);

- 8,7 для АС категории В ([13], 5.2.1, table 5(b): Sensitivity limits for category B);

- 8,8 для АС категории С.

Таблица 8.6

Обозначение диапазона частот

Средняя напряженность поля, дБмкВ/м, не более

160 МГц

30,0

330 МГц

30,0

450 МГц

31,5

800 МГц

33,0

Таблица 8.7

Обозначение диапазона частот

Средняя напряжённость поля, дБмкВ/м, не более

160 МГц

22,5

330 МГц

24,5

450 МГц

24,5; 26,5*

800 МГц

31,0

* Для АС, работающих в полосе частот 440 - 486 МГц

Таблица 8.8

Обозначение диапазона частот

Средняя напряженность поля, дБмкВ/м, не более

160 МГц

22,5 - К*

330 МГц

24,5 - К*

450 МГц

24,5; 26,5**

800 МГц

31,0

* Корректирующий коэффициент

** Для АС, работающих в полосе частот 440 - 486 МГц

Корректирующий коэффициент К, дБмкВ/м, рассчитывают по формуле

K = 20lg[(I + 20)/40],                                                       (8.4)

где I - число, равное длине внешней части антенны, выраженной в сантиметрах.

Корректирующий коэффициент вводится в случае, если длина внешней части антенны, выраженная в сантиметрах, меньше, чем значение I´, см, полученное из формулы

I´ = (15000/f0 - 20),                                                          (8.5)

где f0 - число, равное номинальной частоте приемника, выраженной в МегаГерцах.

Для всех категорий АС для получения средней напряженности поля при ЭУ необходимо к значению средней напряженности поля, соответствующему НУ, прибавить 6 дБ.

8.1.2.3 Амплитудная характеристика приёмника (5.2.3 [1], 5.2.2 [13])

При изменении уровня модулированного радиочастотного сигнала на входе приёмника АС с внешним антенным разъемом от значения 6 дБмкВ до значения 100 дБмкВ изменение уровня НЧ-сигнала на выходе приёмника при НУ не должно превышать 3 дБ.

При увеличении на 70 дБ средней напряжённости поля в месте расположения приемника АС, не имеющей внешнего антенного разъема, от значения, эквивалентного средней используемой чувствительности приёмника, изменение уровня НЧ-сигнала на выходе приёмника при НУ не должно превышать 3 дБ.

8.1.2.4 Подавление соканальной помехи (5.2.4 [1], 5.2.3 [13])

Отношение уровней соканальной помехи и полезного сигнала на входе приёмника АС с внешним антенным разъемом при СИНАД* на его выходе, равном 14 дБ, при НУ должно находиться в пределах:

- от минус 12 до 0 дБ при разносе частот между соседними каналами 12,5 кГц;

- от минус 8 до 0 дБ при разносе частот между соседними каналами 25 кГц.

Отношение уровней соканальной помехи и полезного сигнала на входе приёмника АС, не имеющей внешнего антенного разъема, при отношении СИНАД* на его выходе, равном 14 дБ, либо при изменении уровня НЧ-сигнала на выходе приёмника на 3 дБ, при НУ должно находиться в пределах:

* СИНАД измеряют с использованием псофометрического фильтра в соответствии с [6]

- от минус 12 до 0 дБ при разносе частот между соседними каналами 12,5 кГц;

- от минус 8 до 0 дБ при разносе частот между соседними каналами 25 кГц.

8.1.2.5 Избирательность приёмника по соседнему каналу (5.2.5 [1], 5.2.4 [13])

8.1.2.5.1 Избирательность приёмника по соседнему каналу АС с внешним антенным разъемом (5.2.5 [1])

Избирательность приёмника по соседнему каналу при НУ должна быть не менее:

60 дБ при разносе частот между соседними каналами 12,5 кГц;

70 дБ при разносе частот между соседними каналами 25 кГц.

Избирательность приёмника по соседнему каналу при ЭУ должна быть не менее:

50 дБ при разносе частот между соседними каналами 12,5 кГц;

60 дБ при разносе частот между соседними каналами 25 кГц.

8.1.2.5.2 Избирательность приёмника по соседнему каналу АС, не имеющей внешнего антенного разъема (5.2.4 [13])

Наименьший уровень напряженности поля сигнала помехи на частоте соседнего канала, соответствующий СИНАД* на выходе приемника, равному 14 ?, либо изменению уровня НЧ-сигнала на выходе приёмника на 3 дБ при НУ и не должен быть меньше значений, приведенных в таблице 8.9.

Таблица 8.9

Разнос частот между соседними каналами, кГц

Избирательность приемника по соседнему каналу (уровень напряженности поля сигнала помехи на частоте соседнего канала), дБмкВ/м, не менее

НУ

ЭУ

25

38,3 + 20lgf0*

28,3 + 20lgf0*

12,5

28,3 + 20lgf0*

18,3 + 20lgf0*

* f0 - число, равное номинальной частоте приемника, выраженной в МегаГерцах

8.1.2.6 Избирательность приёмника по побочным каналам приёма (5.2.6 [1], 5.2.4 [13])

8.1.2.6.1 Избирательность приёмника по побочным каналам приёма для АС с внешним антенным разъемом (5.2.6 [1])

Избирательность приёмника по побочным каналам приёма при НУ должна быть не менее 70 дБ для любой частоты, отстоящей от номинальной частоты приемника более чем на величину разноса частот между соседними каналами.

8.1.2.6.2 Избирательность приёмника по побочным каналам приёма для АС, не имеющих внешнего антенного разъема (5.2.5 [13])

Наименьший уровень напряженности поля сигнала помехи (Еп), дБмкВ/м, частотах побочных каналов приёма, соответствующий СИНАД* на выходе приемника, равному 14 дБ, при НУ не должен быть меньше значения, рассчитываемого по формуле

* СИНАД измеряют с использованием псофометрического фильтра в соответствии с [6]

Еп = 38,3 + 20lgf0,                                                            (8.6)

где f0 - число, равное номинальной частоте приемника, выраженной в МегаГерцах.

8.1.2.7 Интермодуляционная избирательность приёмника (5.2.7 [1], 5.2.6 [13])

8.1.2.7.1 Интермодуляционная избирательность приёмника для АС с внешним антенным разъемом (5.2.7 [1])

Интермодуляционная избирательность приёмника при НУ должна быть не менее 65 дБ.

8.1.2.7.2 Интермодуляционная избирательность приёмника для АС, не имеющих внешнего антенного разъема (5.2.6 [13])

Наименьший уровень напряженности поля сигналов помехи (Еп), дБмкВ/м, на частотах f0 + 50 Гц и f0 + 100 Гц либо f0 - 50 Гц и f0 - 100 Гц, соответствующий СИНАД* на выходе приемника, равному 14 дБ, либо изменению уровня НЧ-сигнала на выходе приёмника на 3 дБ, при НУ не должен быть меньше значения, рассчитываемого по формуле

Еп = 33,3 + 20lgf0,                                                          (8.7)

где f0 - число, равное номинальной частоте приемника, выраженной в Мегагерцах.

8.1.2.8 Устойчивость приёмника к блокирующим сигналам (5.2.8 [1], 5.2.7 [13])

8.1.2.8.1 Устойчивость приёмника к блокирующим сигналам для АС с внешним антенным разъемом (5.2.8 [1])

Отношение уровней полезного и блокирующего сигналов на входе приемника, при котором на его выходе достигается:

- снижение уровня НЧ-сигнала на 3 дБ или;

- уменьшение СИНАД* до 14 дБ,

при НУ должно быть не менее 84 дБ для любой из частот блокирующего сигнала f0 ± 1 МГц, f0 ± 2 МГц, f0 ± 5 МГц, f0 ± 10 МГц.

8.1.2.8.2 Устойчивость приёмника к блокирующим сигналам для АС, не имеющих внешнего антенного разъема (5.2.7 [13])

Наименьший уровень напряженности поля сигнала помехи (Еп), дБмкВ/м, для любой из частот блокирующего сигнала f0 ± 1 МГц, f0 ± 2 МГц, f0 ± 5 МГц, f0 ± 10 МГц, соответствующий СИНАД* на выходе приемника, равному 14 дБ, либо изменению уровня НЧ-сигнала на выходе приёмника на 3 дБ, при НУ не должен быть меньше значения, рассчитываемого по формуле

* СИНАД измеряют с использованием псофометрического фильтра в соответствии с [6]

Еп = 52,3 + 20lgf0,                                                            (8.8)

где f0 - число, равное номинальной частоте приемника, выраженной в МегаГерцах.

8.1.2.9 Уровень нежелательных излучений приемника (5.2.9 [1], 5.2.8 [13])

8.1.2.9.1* Уровень нежелательных излучений приемника на антенном разъеме (5.2.9 [1], table 7: conducted components)

* Данное требование относится к АС с внешним антенным разъемом

Уровень нежелательных излучений приемника, измеренный на антенном разъеме, в полосе частот от 9 кГц до 4 ГГц (для АС, работающих на частотах до 470 МГц) либо в полосе частот от 9 кГц до 12,75 ГГц (для АС, работающих на частотах выше 470 МГц) при НУ не должен превышать значений, приведённых таблице 7.10.

8.1.2.9.2 Уровень нежелательных излучений от корпуса и элементов конструкции приемника (5.2.9 [1], table 8: radiated components; 5.2.8 [13], table 7: radiated components)

Уровень нежелательных излучений от корпуса и элементов конструкции приемника АС с внешним антенным разъемом при НУ не должен превышать значений, приведённых в таблице 7.11.

Уровень нежелательных излучений от корпуса и элементов конструкции приемника АС, не имеющей внешнего антенного разъема, в полосе частот от 30 МГц до 4 ГГц (для АС, работающих на частотах до 470 МГц) либо в полосе частот от 30 МГц до 12,75 ГГц (для АС, работающих на частотах выше 470 МГц) при НУ не должен превышать значений, приведённых в таблице 8.10.

Таблица 8.10

Уровень нежелательных излучений от корпуса и элементов конструкции приемника, мкВт (дБм), не более, в полосе частот

от 30 МГц до 1 ГГц включительно

свыше 1 до 4 ГГц (свыше 1 до 12,75 ГГц)

0,002 (-57,0)

0,020 (-47,0)

8.1.2.10** Максимальная используемая чувствительность приёмника в дуплексном режиме работы АС (5.3.1 [1])

Максимальная используемая чувствительность приёмника в дуплексном режиме работы АС при НУ должна удовлетворять требованиям 8.1.2.1.

8.1.2.11** Снижение чувствительности приёмника в дуплексном режиме работы АС (5.3.1 [1])

** Данное требование относится к АС с внешним антенным разъемом и поддерживающим дуплексный режим работы

Снижение чувствительности приёмника в дуплексном режиме работы АС при НУ не должно превышать 3 дБ.

8.1.2.12* Избирательность приёмника по побочным каналам приёма в дуплексном режиме работы АС (5.3.2 [1])

* Данное требование относится к АС с внешним антенным разъемом и поддерживающим дуплексный режим работы

Избирательность приёмника по побочным каналам приёма в дуплексном режиме работы АС при НУ должна быть не менее 67 дБ для любой частоты, отстоящей от номинальной частоты приёмника более чем на удвоенную величину разноса частот между соседними каналами.

8.2 Требования к абонентской радиостанции, предназначенной для передачи данных

8.2.1 Требования к передатчику

8.2.1.1 Отклонение частоты передатчика от номинального значения (5.1.1 [2], 5.1.1 [14])

Отклонение частоты передатчика от номинального значения при НУ не должно превышать предельно допустимых значений, приведённых в таблице 8.2.

Отклонение частоты передатчика АС с внешним антенным разъемом от номинального значения при ЭУ не должно превышать предельно допустимых значений, приведённых в таблице 8.11.

Таблица 8.11

Разнос частот между соседними каналами, кГц

Предельно допустимое отклонение частоты передатчика от номинального значения, кГц, не более, для диапазона частот

160 МГц

330 МГц

450 МГц

800 МГц

12,5

±1,50

±2,50

±2,50

*

25

±2,00

±2,50

±2,50

±3,00

* Устанавливают в ТУ на АС конкретного типа

Отклонение частоты передатчика АС, не имеющей внешнего антенного разъема, от номинального значения при ЭУ не должно превышать предельно допустимых значений, приведённых в таблице 8.3.

8.2.1.2** Мощность несущей передатчика (на эквиваленте антенны) (5.1.2 [2])

** Данное требование относится к АС с внешним антенным разъемом

Номинальное значение мощности несущей передатчика АС должно быть декларировано фирмой-изготовителем и установлено в ТУ на АС конкретного типа

Если в передатчике АС предусмотрена возможность установки различных значений мощности несущей, то фирма-изготовитель должна декларировать все возможные номинальные значения мощности несущей передатчика. В этом случае требования настоящего РД должны быть удовлетворены для всех возможных номинальных значений мощности несущей передатчика.

Отклонение мощности несущей передатчика от номинального значения при НУ должно находиться в пределах ±1,5 дБ.

Отклонение мощности несущей передатчика от номинального значения при ЭУ должно находиться в пределах от минус 3,0 до плюс 2,0 дБ.

Максимальные значения мощности несущей передатчика, разрешённые на территории России, приведены в таблице 8.4.

8.2.1.3* Эффективная излучаемая мощность передатчика (5.1.2 [14])

* Данное требование относится к АС, не имеющим внешнего антенного разъема

Номинальные значения максимальной и средней ЭИМ передатчика должны быть декларированы фирмой-изготовителем и установлены в ТУ на АС конкретного типа.

Если АС имеет возможность установки нескольких уровней максимальной и средней ЭИМ передатчика, то фирма-изготовитель должна декларировать все возможные номинальные значения максимальной и средней ЭИМ передатчика. В этом случае требования настоящего РД должны быть удовлетворены для всех возможных номинальных значений максимальной и средней ЭИМ передатчика.

Отклонение максимальной ЭИМ передатчика от номинального значения при НУ должно находиться в пределах ±df.

Отклонение средней ЭИМ передатчика от номинального значения при НУ должно находиться в пределах ±df.

Отклонение максимальной (средней) ЭИМ передатчика df, дБ, от номинального значения при НУ рассчитывают по формуле 8.1.

Отклонение максимальной ЭИМ передатчика от номинального значения при ЭУ должно находиться в пределах от минус df2 до плюс df1.

Отклонение средней ЭИМ передатчика от номинального значения при ЭУ должно находиться в пределах от минус df2 до плюс df1.

Отклонение максимальной (средней) ЭИМ передатчика df1, дБ, от номинального значения при ЭУ рассчитывают по формуле 8.2.

Отклонение максимальной (средней) ЭИМ передатчика df2, дБ, от номинального значения при ЭУ рассчитывают по формуле 8.3.

Максимальная ЭИМ передатчика не должна превышать предельного значения максимальной ЭИМ, разрешенного органами Государственной радиочастотной службы.

8.2.1.4 Уровень излучения передатчика в соседнем канале (5.1.4 [2], 5.1.3 [14])

Уровень излучения передатчика в соседнем канале для разноса частот между соседними каналами 12,5 кГц при НУ не должен превышать минус 60 дБн, без необходимости быть ниже 0,2 мкВт (-37 дБм).

Уровень излучения передатчика в соседнем канале для разноса частот между соседними каналами 25 кГц при НУ не должен превышать минус 70 дБн, без необходимости быть ниже 0,2 мкВт (-37 дБм).

8.2.1.5 Уровень побочных излучений передатчика (5.1.5 [2], 5.1.4 [14])

8.2.1.5.1* Уровень побочных излучений передатчика на антенном разъеме (5.1.5 [2], table 2: conducted emissions)

* Данное требование относится к АС, не имеющим внешнего антенного разъема

Уровень побочных излучений передатчика, измеренный на антенном разъеме, в полосе частот от 9 кГц до 4 ГГц (для АС, работающих на частотах до 470 МГц) либо в полосе частот от 9 кГц до 12,75 ГГц (для АС, работающих на частотах выше 470 МГц) при НУ не должен превышать значений, приведенных в таблице 7.6.

8.2.1.5.2 Уровень побочных излучений от корпуса и элементов конструкции передатчика (5.1.5 [2], table 3а: radiated emissions; 5.1.4 [14], table 2: radiated spurious emissions)

Уровень побочных излучений от корпуса и элементов конструкции передатчика АС с внешним антенным разъемом не должен превышать значений, приведенных в таблице 7.7.

Уровень побочных излучений от корпуса и элементов конструкции передатчика АС, не имеющей внешнего антенного разъема, в полосе частот от 30 МГц до 4 ГГц (для АС, работающих на частотах до 470 МГц) либо в полосе частот от 30 МГц до 12,75 ГГц (для АС, работающих на частотах выше 470 МГц) при НУ не должен превышать значений, приведённых в таблице 8.5.

8.2.1.6 Длительность переходных процессов при включении передатчика (5.1.7 [2], 5.1.5 [14])

Длительность переходных процессов при включении передатчика при НУ не должна превышать предельного значения tal, равного 25 мс.

Графики переходных процессов изменения мощности и частоты несущей при включении передатчика приведены на рисунках 7.4 и 7.5.

8.2.1.7 Длительность переходных процессов при выключении передатчика (5.1.8 [2], 5.1.6 [14])

Длительность переходных процессов при выключении передатчика при НУ не должна превышать предельного значения trl, равного 20 мс.

Графики переходных процессов изменения мощности и частоты несущей при выключении передатчика приведены на рисунке 7.6.

8.2.1.8 Изменение мощности и частоты при включении и выключении передатчика (5.1.9.1 [2], 5.1.7.1 [14])

Графики переходных процессов изменения мощности и частоты несущей при включении и выключении передатчика приведены на рисунках 7.4 - 7.6.

В любой момент времени при НУ, когда мощность несущей передатчика больше установившейся мощности несущей передатчика (Рс) минус 30 дБ (Рс - 30 дБ), частота несущей должна оставаться в пределах половины разноса частот между соседними каналами (±dfc) от установившейся частоты несущей передатчика (Fc).

Знак наклона участка графиков «Мощность, как функция времени», приведённых на рисунках 7.4 - 7.6, между точками (Рс - 30 дБ) и (рс - 6 дБ) не должен меняться.

Для АС с внешним антенным разъемом отрезки времени переходных процессов выключения передатчика td и включения передатчика tp при НУ должны быть не менее:

- 0,10 мс для разноса частот между соседними каналами 12,5 кГц;

- 0,05 мс для разноса частот между соседними каналами 25 кГц.

Для АС, не имеющих внешнего антенного разъема, отрезки времени переходных процессов выключения td и включения передатчика tp при НУ должны быть не менее 0,20 мс.

8.2.1.9 Уровень излучения в соседнем канале во время переходных процессов в передатчике (5.1.9.2 [2], 5.1.7.2 [14])

Уровень излучения в соседнем канале во время переходных процессов в передатчике для разноса частот между соседними каналами 12,5 кГц при НУ не должен превышать минус 50 дБн, без необходимости быть ниже 2 мкВт (-27,0 дБм).

Уровень излучения в соседнем канале во время переходных процессов в передатчике для разноса частот между соседними каналами 25 кГц при НУ не должен превышать минус 60 дБн, без необходимости быть ниже 2 мкВт (-27,0 дБм).

8.2.2 Требования к приемнику

8.2.2.1* Максимальная используемая чувствительность приёмника (5.2.1 [2])

* Данное требование относится к АС с внешним антенным разъемом

Максимальная используемая чувствительность приёмника при BER 10-2 и коэффициенте успешно принятых сообщений 80 % при НУ не должна превышать значения э.д.с. 3 дБмкВ.

Максимальная используемая чувствительность приёмника при BER 10-2 и коэффициенте успешно принятых сообщений 80 % при ЭУ не должна превышать значения э.д.с. 9 дБмкВ.

8.2.2.2* Средняя используемая чувствительность приемника (напряжённость поля) (5.2.1 [14])

* Данное требование относится к АС, не имеющим внешнего антенного разъема

АС, не имеющие внешнего антенного разъема, должны быть отнесены к одной из четырех приведенных ниже категорий:

- категория А - АС со встроенной в корпус антенной (без внешней антенны);

- категория В - АС с внешней, несъёмной антенной длиной до 20 см;

- категория С - АС с внешней, несъёмной антенной длиной свыше 20 см;

- категория D - АС, не относящаяся к категориям А, В, С.

Средняя напряжённость поля в месте расположения приемника, которая обеспечивает на его выходе сигнал данных с заданным BER 10-2 или коэффициентом успешно принятых сообщений 80 %, при НУ не должна превышать значений, приведённых в таблицах:

- 8.12 для АС категорий А и D ([14], 5.2.1, table 3(a): Sensitivity limits for categories A and D);

- 8.13 для АС категории В ([14], 5.2.1, table 3(b): Sensitivity limits for category B);

- 8.14 для АС категории С.

Таблица 8.12

Обозначение диапазона частот

Средняя напряженность поля, дБмкВ/м, не более

160 МГц

27,0

330 МГц

27,0

450 МГц

28,5

800 МГц

30,0

Таблица 8.13

Обозначение диапазона частот

Средняя напряженность поля, дБмкВ/м, не более

160 МГц

19,5

330 МГц

21,5

450 МГц

21,5; 23,5*

800 МГц

28,0

* Для АС, работающих в полосе частот 440 - 486 МГц

Таблица 8.14

Обозначение диапазона частот

Средняя напряжённость поля, дБмкВ/м, не более

160 МГц

19,5 - К*

330 МГц

21,5 - К*

450 МГц

21,5; 23,5**

800 МГц

28,0

* Корректирующий коэффициент

** Для АС, работающих в полосе частот 440 - 486 МГц

Корректирующий коэффициент К рассчитывают по формуле 8.4.

Корректирующий коэффициент вводится в случае, если длина внешней части антенны, выраженная в сантиметрах, меньше, чем значение I´, см, полученное из формулы 8.5.

Для всех категорий АС для получения средней напряженности поля при ЭУ необходимо к значению средней напряженности поля, соответствующему НУ, прибавить 6 дБ.

8.2.2.3 Коэффициент битовых ошибок и количество потерянных или искаженных сообщений при высоких уровнях радиочастотного сигнала на входе приемника (5.2.3 [2], 5.2.2 [14])

8.2.2.3.1 Коэффициент битовых ошибок и количество потерянных или искаженных сообщений при высоких уровнях на входе приёмника АС с внешним антенным разъемом (5.2.3 [2])

BER для непрерывного битового потока при уровнях модулированного радиочастотного сигнала на входе приемника, равных 36 дБмкВ и 106 дБмкВ, при НУ не должен превышать 10-4.

Количество потерянных или искаженных сообщений при уровнях модулированного радиочастотного сигнала на входе приёмника равных, 36 дБмкВ и 106 дБмкВ, при НУ не должно превышать 1.

8.2.2.3.2 Коэффициент битовых ошибок и количество потерянных или искаженных сообщений при высоких уровнях радиочастотного сигнала на входе приёмника АС, не имеющей внешнего антенного разъема (5.2.2 [14])

BER для непрерывного битового потока при уровнях средней напряженности поля в месте установки приёмника, соответствующих увеличенной на 33 дБ и 103 дБ средней чувствительности приемника АС в соответствии с её категорией, при НУ не должен превышать 10-4.

Количество потерянных или искаженных сообщений при уровнях средней напряженности поля в месте установки приёмника, соответствующих увеличенной на 33 дБ и 103 дБ средней чувствительности приемника АС в соответствии с её категорией, при НУ не должно превышать 1.

8.2.2.4 Подавление соканальной помехи (5.2.4 [2], 5.2.3 [14])

Отношение уровней соканальной помехи и полезного сигнала на входе приёмника при BER не более 10-2 при НУ должно находиться в пределах:

- от минус 12 до 0 дБ при разносе частот между соседними каналами 12,5 кГц;

- от минус 8 до 0 дБ при разносе частот между соседними каналами 25 кГц*.

* Для АС с внешним антенным разъемом любое положительное значение также приемлемо

8.2.2.5 Избирательность приёмника по соседнему каналу (5.2.5 [2], 5.2.4 [14])

8.2.2.5.1 Избирательность приёмника по соседнему каналу для АС с внешним антенным разъемом (5.2.5 [2])

Избирательность приёмника по соседнему каналу при НУ должна быть не менее:

60 дБ при разносе частот между соседними каналами 12,5 кГц;

70 дБ при разносе частот между соседними каналами 25 кГц.

Избирательность приёмника по соседнему каналу при ЭУ должна быть не менее:

50 дБ при разносе частот между соседними каналами 12,5 кГц;

60 дБ при разносе частот между соседними каналами 25 кГц.

8.2.2.5.2 Избирательность приёмника по соседнему каналу для АС, не имеющих внешнего антенного разъема (5.2.4 [14])

Наименьший уровень напряженности поля сигнала помехи на частоте соседнего канала, соответствующий BER 10-2 и коэффициенту успешно принятых сообщений не менее 80 % при НУ и ЭУ, не должен быть меньше значений, приведенных в таблице 8.9.

8.2.2.6 Избирательность приёмника по побочным каналам приёма (5.2.6 [2], 5.2.5 [14])

8.2.2.6.1 Избирательность приёмника по побочным каналам приёма для АС с внешним антенным разъемом (5.2.6 [2])

Избирательность приёмника по побочным каналам приёма при НУ должна быть не менее 70 дБ для любой частоты, отстоящей от номинальной частоты приёмника более чем на величину двух разносов частот между соседними каналами.

8.2.2.6.2 Избирательность приёмника по побочным каналам приёма для АС, не имеющих внешнего антенного разъема (5.2.5 [14])

Наименьший уровень напряженности поля сигнала помехи на частотах побочных каналов приёма, соответствующий BER 10-2 и коэффициенту успешно принятых сообщений не менее 80 %, при НУ не должен быть меньше значения, рассчитываемого по формуле 8.6.

8.2.2.7 Интермодуляционная избирательность приёмника (5.2.7 [2], 5.2.6 [14])

8.2.2.7.1 Интермодуляционная избирательность приёмника для АС с внешним антенным разъемом (5.2.7 [2])

Интермодуляционная избирательность приёмника для сигналов помехи на частотах f0 + 50 Гц и f0 + 100 Гц либо f0 - 50 Гц и f0 - 100 Гц, соответствующая BER 10-2 и коэффициенту успешно принятых сообщений не менее 80 %, при НУ должна быть не менее 65 дБ.

8.2.2.7.2 Интермодуляционная избирательность приёмника для АС, не имеющих внешнего антенного разъема (5.2.6 [14])

Наименьший уровень напряженности поля сигналов помехи на частотах f0 + 50 Гц и f0 + 100 Гц либо f0 - 50 Гц и f0 - 100 Гц, соответствующий BER 10-2 и коэффициенту успешно принятых сообщений не менее 80 %, при НУ не должен быть меньше значения, рассчитываемого по формуле 8.7.

8.2.2.8 Устойчивость приёмника к блокирующим сигналам (5.2.8 [2], 5.2.7 [14])

8.2.2.8.1 Устойчивость приёмника к блокирующим сигналам для АС с внешним антенным разъемом (5.2.8 [2])

Отношение уровней полезного и блокирующего сигналов для любой из частот блокирующего сигнала f0 ± 1 МГц, f0 ± 2 МГц, f0 ± 5 МГц, f0 ± 10 МГц, при котором BER 10-2 и коэффициент успешно принятых сообщений не менее 80 %, при НУ должно быть не менее 84 дБ.

8.2.2.8.2 Устойчивость приёмника к блокирующим сигналам для АС, не имеющих внешнего антенного разъема (5.2.7 [14])

Наименьший уровень напряженности поля сигнала помехи для любой из частот блокирующего сигнала f0 ± 1 МГц, f0 ± 2 МГц, f0 ± 5 МГц, f0 ± 10 МГц, соответствующий BER 10-2 и коэффициенту успешно принятых сообщений не менее 80 %, при НУ не должен быть меньше значения, рассчитываемого по формуле 8.8.

8.2.2.9 Уровень нежелательных излучений приемника (5.2.9 [2], 5.2.8 [14])

8.2.2.9.1* Уровень нежелательных излучений приемника на антенном разъеме (5.2.9 [2], table 5: conducted components)

* Данное требование относится к АС с внешним антенным разъемом

Уровень нежелательных излучений приемника, измеренный на антенном разъеме, в полосе частот от 9 кГц до 4 ГГц (для АС, работающих на частотах до 470 МГц) либо в полосе частот от 9 кГц до 12,75 ГГц (для АС, работающих на частотах выше 470 МГц) при НУ не должен превышать значений, приведённых в таблице 7.10.

8.2.2.9.2 Уровень нежелательных излучений от корпуса и элементов конструкции приемника (5.2.9 [2], table 6: radiated components; 5.2.8 [14], table 5: radiated components)

Уровень нежелательных излучений от корпуса и элементов конструкции приемника АС с внешним антенным разъемом при НУ не должен превышать значений, приведённых в таблице 7.11.

Уровень нежелательных излучений от корпуса и элементов конструкции приемника АС, не имеющей внешнего антенного разъема, в полосе частот от 30 МГц до 4 ГГц (для АС, работающих на частотах до 470 МГц) либо в полосе частот от 30 МГц до 12,75 ГГц (для АС, работающих на частотах выше 470 МГц) при НУ не должен превышать значений, приведённых в таблице 8.10.

8.2.2.10** Максимальная используемая чувствительность приёмника в дуплексном режиме работы АС (5.3.1 [2])

Максимальная используемая чувствительность приёмника в дуплексном режиме работы АС при НУ должна удовлетворять требованиям 8.2.2.1.

8.2.2.11** Снижение чувствительности приёмника в дуплексном режиме работы АС (5.3.1 [2])

Снижение чувствительности приёмника в дуплексном режиме работы АС при НУ не должно превышать 3 дБ.

8.2.2.12** Избирательность приёмника по побочным каналам приёма в дуплексном режиме работы АС (5.3.2 [2])

** Данное требование относится к АС с внешним антенным разъемом и поддерживающим дуплексный режим работы

Избирательность приёмника по побочным каналам приёма в дуплексном режиме работы АС при НУ должна быть больше 67 дБ для любой частоты, отстоящей от номинальной частоты приемника более чем на удвоенную величину разноса частот между соседними каналами.

8.3 Требования к абонентской радиостанции, предназначенной для передачи речевых сообщений и данных

8.3.1 Требования к абонентской радиостанции с внешним антенным разъемом, предназначенной для передачи речевых сообщений и данных

8.3.1.1 АС с внешним антенным разъемом и предназначенная для передачи речевых сообщений и данных, должна выполнять все требования, предъявляемые к АС с внешним антенным разъемом согласно 8.1 (EN 300 086-1 [1]).

8.3.1.2 АС с внешним антенным разъемом и предназначенная для передачи речевых сообщений и данных должна выполнять следующие требования, предъявляемые к АС с внешним антенным разъемом согласно 8.2 (EN 300 113-1 [2]):

- уровень излучения передатчика в соседнем канале по 8.2.1.4 (5.1.4 [2]);

- уровень побочных излучений передатчика по 8.2.1.5 (5.1.5 [2]);

- длительность переходных процессов при включении передатчика по 8.2.1.6 (5.1.7 [2]);

- длительность переходных процессов при выключении передатчика по 8.2.1.7 (5.1.8 [2]);

- изменение мощности и частоты при включении и выключении передатчика по 8.2.1.8 (5.1.9.1 [2]);

- уровень излучения в соседнем канале во время переходных процессов в передатчике по 8.2.1.9 (5.1.9.2 [2]);

- максимальная используемая чувствительность приёмника по 8.2.2.1 (5.2.1 [2]);

- коэффициент битовых ошибок и количество потерянных или искаженных сообщений при высоких уровнях радиочастотного сигнала на входе приёмника по 8.2.2.3.1 (5.2.3 [2]);

- подавление соканальной помехи по 8.2.2.4 (5.2.4 [2]);

- избирательность приёмника по соседнему каналу по 8.2.2.5.1 (5.2.5 [2]).

8.3.2 Требования к абонентской радиостанции, не имеющей антенного разъема, предназначенной для передачи речевых сообщений и данных

8.3.2.1 АС, не имеющая внешнего антенного разъема и предназначенная для передачи речевых сообщений и данных, должна выполнять все требования, предъявляемые к АС, не имеющим внешнего антенного разъема, согласно 8.1 (EN 300 296-1 [13]).

8.3.2.2 АС, не имеющая внешнего антенного разъема и предназначенная для передачи речевых сообщений и данных, должна выполнять следующие требования, предъявляемые к АС, не имеющим внешнего антенного разъема, согласно 8.2 (EN 300 390-1 [14]):

- уровень излучения передатчика в соседнем соединении 8.2.1.4 (5.1.3 [14]);

- уровень побочных излучений передатчика по 8.2.1.5 (5.1.4 [14]);

- длительность переходных процессов при включении передатчика по 8.2.1.6 (5.1.5 [14]);

- длительность переходных процессов при выключении передатчика по 8.2.1.7 (5.1.6 [14]);

- изменение мощности и частоты при включении и выключении передатчика по 8.2.1.8 (5.1.7.1 [14]);

- уровень излучения в соседнем канале во время переходных процессов в передатчике по 8.2.1.9 (5.1.7.2 [14]);

- средняя используемая чувствительность приёмника (напряженность поля) по 8.2.2.2 (5.2.1 [14]);

- коэффициент битовых ошибок и количество потерянных или искаженных сообщений при высоких уровнях радиочастотного сигнала на входе приёмника по 8.2.2.3.2 (5.2.2 [14]);

- подавление соканальной помехи по 8.2.2.4 (5.2.3 [14]);

- избирательность приёмника по соседнему каналу по 8.2.2.5.2 (5.2.4 [14]).

8.4 Требования к абонентской радиостанции, предназначенной для передачи речевых сообщений и данных одновременно

8.4.1 Требования к абонентской радиостанции с внешним антенным разъемом, предназначенной для передачи речевых сообщений и данных одновременно

8.4.1.1 АС с внешним антенным разъемом и предназначенная для передачи речевых сообщений и данных одновременно, должна выполнять все требования, предъявляемые к АС с внешним антенным разъемом согласно 8.1 (EN 300 086-1 [1]).

8.4.1.2 АС с внешним антенным разъемом и предназначенная для передачи речевых сообщений и данных одновременно, должна выполнять следующие требования, предъявляемые к АС с внешним антенным разъемом согласно 8.2 (EN 300 113-1 [2]):

- уровень излучения передатчика в соседнем канале по 8.2.1.4 (5.1.4 [2]);

- уровень побочных излучений передатчика по 8.2.1.5 (5.1.5 [2]).

8.4.2 Требования к абонентской радиостанции, не имеющей антенного разъема, предназначенной для передачи речевых сообщений и данных одновременно

8.4.2.1 АС, не имеющая внешнего антенного разъема и предназначенная для передачи речевых сообщений и данных одновременно, должна выполнять все требования, предъявляемые к АС, не имеющим внешнего антенного разъема, согласно 8.1 (EN 300 296-1 [13]).

8.4.2.2 АС, не имеющая внешнего антенного разъема и предназначенная для передачи речевых сообщений и данных одновременно, должна выполнять следующие требования, предъявляемые к АС, не имеющим внешнего антенного разъема, согласно 8.2 (EN 300 390-1 [14]):

- уровень излучения передатчика в соседнем канале по 8.2.1.4 (5.1.3 [14]);

- уровень побочных излучений передатчика по 8.2.1.5.2 (5.1.4 [14]).

8.5 Требования к электромагнитной совместимости*

* Параметры ЭМС, приведенные в данном пункте, для АС при НУ

8.5.1 Квазипиковые значения несимметричного напряжения радиопомех на сетевых зажимах блоков питания или зарядных устройств (при их наличии в комплекте поставки АС) в полосе частот от 0,15 до 100 МГц не должны превышать значений, приведённых в 5.1 ГОСТ 30429 (рисунок 1, кривая 1).

8.5.2 Средние значения несимметричного напряжения радиопомех на сетевых зажимах блоков питания или зарядных устройств (при их наличии в комплекте поставки АС) в полосе частот от 30 до 100 МГц не должны превышать 26 дБмкВ (5.2 ГОСТ 30429).

8.5.3 Квазипиковые значения напряженности поля радиопомех, создаваемых АС, в полосе частот от 0,15 до 1000 МГц, измеренные на расстоянии 1 м, не должны превышать значений, приведённых в 5.3 ГОСТ 30429 (рисунок 2, кривая 1).

8.5.4 Устойчивость АС к электростатическим разрядам - в соответствии с разделом 5 ГОСТ Р 51317.4.2 (степень жёсткости испытаний - 2, критерий качества функционирования - не хуже В).

8.5.5 Устойчивость АС к радиочастотному электромагнитному полю в полосе частот от 80 до 1000 МГц - в соответствии с разделом 5 ГОСТ Р 51317.4.3 (степень жёсткости испытаний - 2, критерий качества функционирования - не хуже А).

8.5.6** Устойчивость АС к кондуктивным помехам, наведённым радиочастотными электромагнитными полями в полосе частот от 0,15 до 80 МГц, - в соответствии с разделом 5 ГОСТ Р 51317.4.6 (степень жёсткости испытаний - 2, критерий качества функционирования - не хуже А).

** Данное требование относится к возимым АС

8.6 Требования по устойчивости к климатическим и механическим воздействиям

8.6.1 В зависимости от условий эксплуатации АС согласно таблицы 1 ГОСТ 16019 подразделяют на следующие группы аппаратуры:

- В4 - возимая АС, устанавливаемая в автомобилях, на мотоциклах, в сельскохозяйственной, дорожной и строительной технике;

- Н6 - носимая АС, размещаемая при эксплуатации в одежде или под одеждой оператора, или в отапливаемых наземных и подземных сооружениях;

- Н7 - носимая АС, эксплуатируемая на открытом воздухе или в неотапливаемых наземных и подземных сооружениях.

Группа аппаратуры, к которой может быть отнесена АС, исходя из условий её эксплуатации, должна быть установлена в ТУ на АС конкретного типа.

8.6.2 Требования по устойчивости к климатическим и механическим воздействиям к АС группы аппаратуры В4 должны устанавливаться в ТУ на АС конкретного типа.

При этом должны быть предусмотрены следующие виды испытаний:

а) испытание на воздействие пониженной температуры (пункт 1 таблицы 4 ГОСТ 16019), характеристика и значение воздействующего фактора согласно пункту 4 таблицы 2 ГОСТ 16019;

б) испытание на воздействие повышенной температуры (пункт 2 таблицы 4 ГОСТ 16019), характеристика и значение воздействующего фактора согласно пункту 5 таблицы 2 ГОСТ 16019;

в) испытание на воздействие изменения температуры (пункт 3 таблицы 4 ГОСТ 16019), характеристика и значение воздействующего фактора согласно пункту 6 таблицы 2 ГОСТ 16019;

г) испытание на воздействие синусоидальной вибрации (пункт 4 таблицы 4 ГОСТ 16019), характеристика и значение воздействующего фактора согласно пункту 1 таблицы 2 ГОСТ 16019;

д) испытание на воздействие механических ударов (пункт 5 таблицы 4 ГОСТ 16019), характеристика и значение воздействующего фактора согласно пункту 2 (при эксплуатации) таблицы 2 ГОСТ 16019;

е)* испытание на воздействие пониженного атмосферного давления (пункт 6 таблицы 4 ГОСТ 16019), характеристика и значение воздействующего фактора согласно пункту 7 таблицы 2 ГОСТ 16019;

ж) испытание на воздействие влажности при повышенной температуре в постоянном режиме (пункт 7 таблицы 4 ГОСТ 16019), характеристика и значение воздействующего фактора согласно пункту 8 таблицы 2 ГОСТ 16019;

з)* испытание на воздействие соляного тумана в циклическом режиме (пункт 8 таблицы 4 ГОСТ 16019), характеристика и значение воздействующего фактора согласно пункту 9 таблицы 2 ГОСТ 16019;

и) испытание на воздействие песка или пыли (пункт 9 таблицы 4 ГОСТ 16019), характеристика и значение воздействующего фактора согласно пункту 10 таблицы 2 ГОСТ 16019;

к)* испытание на воздействие атмосферных выпадаемых осадков (дождя) (пункт 11 таблицы 4 ГОСТ 16019), характеристика и значение воздействующего фактора согласно пункту 12 таблицы 2 ГОСТ 16019;

* Испытания проводят, если это оговорено в ТУ на аппаратуру конкретного назначения

л) испытание на воздействие инея и росы (пункт 13 таблицы 4 ГОСТ 16019), характеристика и значение воздействующего фактора согласно пункту 13 таблицы 2 ГОСТ 16019;

м) испытание на прочность при транспортировании (пункт 14 таблицы 4 ГОСТ 16019), характеристика и значение воздействующего фактора согласно пункту 2 (при транспортировании) таблицы 2 ГОСТ 16019.

8.6.3 Требования по устойчивости к климатическим и механическим воздействиям к АС группы аппаратуры Н6 должны устанавливаться в ТУ на АС конкретного типа.

При этом должны быть предусмотрены следующие виды испытаний:

а) испытание на воздействие пониженной температуры (пункт 1 таблицы 4 ГОСТ 16019), характеристика и значение воздействующего фактора согласно пункту 4 таблицы 2 ГОСТ 16019;

б) испытание на воздействие повышенной температуры (пункт 2 таблицы 4 ГОСТ 16019), характеристика и значение воздействующего фактора согласно пункту 5 таблицы 2 ГОСТ 16019;

в)* испытание на воздействие изменения температуры (пункт 3 таблицы 4 ГОСТ 16019), характеристика и значение воздействующего фактора согласно пункту 6 таблицы 2 ГОСТ 16019;

г) испытание на воздействие синусоидальной вибрации (пункт 4 таблицы 4 ГОСТ 16019), характеристика и значение воздействующего фактора согласно пункту 1 таблицы 2 ГОСТ 16019;

д) испытание на воздействие механических ударов (пункт 5 таблицы 4 ГОСТ 16019), характеристика и значение воздействующего фактора согласно пункту 2 (при эксплуатации) таблицы 2 ГОСТ 16019;

е)* испытание на воздействие пониженного атмосферного давления (пункт 6 таблицы 4 ГОСТ 16019), характеристика и значение воздействующего фактора согласно пункту 7 таблицы 2 ГОСТ 16019;

ж) испытание на воздействие влажности при повышенной температуре в постоянном режиме (пункт 7 таблицы 4 ГОСТ 16019), характеристика и значение воздействующего фактора согласно пункту 8 таблицы 2 ГОСТ 16019;

з)* испытание на воздействие соляного тумана в циклическом режиме (пункт 8 таблицы 4 ГОСТ 16019), характеристика и значение воздействующего фактора согласно пункту 9 таблицы 2 ГОСТ 16019;

и)* испытание на герметичность при погружении в воду (пункт 10 таблицы 4 ГОСТ 16019), характеристика и значение воздействующего фактора согласно пункту 11 таблицы 2 ГОСТ 16019;

к)* испытание на воздействие атмосферных выпадаемых осадков (дождя) (пункт 11 таблицы 4 ГОСТ 16019), характеристика и значение воздействующего фактора согласно пункту 12 таблицы 2 ГОСТ 16019;

л) испытание на свободное падение (пункт 12 таблицы 4 ГОСТ 16019), характеристика и значение воздействующего фактора согласно пункту 3 таблицы 2 ГОСТ 16019;

м)* испытание на воздействие инея и росы (пункт 13 таблицы 4 ГОСТ 16019), характеристика и значение воздействующего фактора согласно пункту 13 таблицы 2 ГОСТ 16019;

н) испытание на прочность при транспортировании (пункт 14 таблицы 4 ГОСТ 16019), характеристика и значение воздействующего фактора согласно пункту 2 (при транспортировании) таблицы 2 ГОСТ 16019.

8.6.4 Требования по устойчивости к климатическим и механическим воздействиям к АС группы аппаратуры Н7 должны устанавливаться в ТУ на АС конкретного типа.

При этом должны быть предусмотрены следующие виды испытаний:

а) испытание на воздействие пониженной температуры (пункт 1 таблицы 4 ГОСТ 16019), характеристика и значение воздействующего фактора согласно пункту 4 таблицы 2 ГОСТ 16019;

б) испытание на воздействие повышенной температуры (пункт 2 таблицы 4 ГОСТ 16019), характеристика и значение воздействующего фактора согласно пункту 5 таблицы 2 ГОСТ 16019;

в) испытание на воздействие изменения температуры (пункт 3 таблицы 4 ГОСТ 16019), характеристика и значение воздействующего фактора согласно пункту 6 таблицы 2 ГОСТ 16019;

г) испытание на воздействие синусоидальной вибрации (пункт 4 таблицы 4 ГОСТ 16019), характеристика и значение воздействующего фактора согласно пункту 1 таблицы 2 ГОСТ 16019;

д) испытание на воздействие механических ударов (пункт 5 таблицы 4 ГОСТ 16019), характеристика и значение воздействующего фактора согласно пункту 2 (при эксплуатации) таблицы 2 ГОСТ 16019;

е)* испытание на воздействие пониженного атмосферного давления (пункт 6 таблицы 4 ГОСТ 16019), характеристика и значение воздействующего фактора согласно пункту 7 таблицы 2 ГОСТ 16019;

* Испытания проводят, если это оговорено в ТУ на аппаратуру конкретного назначения

ж) испытание на воздействие влажности при повышенной температуре в постоянном режиме (пункт 7 таблицы 4 ГОСТ 16019), характеристика и значение воздействующего фактора согласно пункту 8 таблицы 2 ГОСТ 16019;

з)* испытание на воздействие соляного тумана в циклическом режиме (пункт 8 таблицы 4 ГОСТ 16019), характеристика и значение воздействующего фактора согласно пункту 9 таблицы 2 ГОСТ 16019;

и) испытание на воздействие песка или пыли (пункт 9 таблицы 4 ГОСТ 16019), характеристика и значение воздействующего фактора согласно пункту 10 таблицы 2 ГОСТ 16019;

к)* испытание на герметичность при погружении в воду (пункт 10 таблицы 4 ГОСТ 16019), характеристика и значение воздействующего фактора согласно пункту 11 таблицы 2 ГОСТ 16019;

л) испытание на воздействие атмосферных выпадаемых осадков (дождя) (пункт 11 таблицы 4 ГОСТ 16019), характеристика и значение воздействующего фактора согласно пункту 12 таблицы 2 ГОСТ 16019;

м) испытание на свободное падение (пункт 12 таблицы 4 ГОСТ 16019), характеристика и значение воздействующего фактора согласно пункту 3 таблицы 2 ГОСТ 16019;

н) испытание на воздействие инея и росы (пункт 13 таблицы 4 ГОСТ 16019), характеристика и значение воздействующего фактора согласно пункту 13 таблицы 2 ГОСТ 16019;

о) испытание на прочность при транспортировании (пункт 14 таблицы 4 ГОСТ 16019), характеристика и значение воздействующего фактора согласно пункту 2 (при транспортировании) таблицы 2 ГОСТ 16019.

8.6.5 Перечень параметров АС, подлежащих измерению при испытаниях на устойчивость к климатическим и механическим воздействиям, должен быть установлен в ТУ на АС конкретного типа.

8.7 Требования к электропитанию

8.7.1 Питание АС в зависимости от их назначения может осуществляться от следующих источников питания:

- сети переменного тока номинальным напряжением 220 В и частотой 50 Гц по ГОСТ 5237 в случае использования зарядных устройств для носимых АС и блоков питания для возимых АС;

- внешнего источника постоянного тока (бортовой сети подвижного объекта);

- собственного источника постоянного тока (аккумуляторной батареи).

8.7.2 При питании от сети переменного тока номинальным напряжением 220 В АС должна обеспечивать работоспособность при изменении напряжения питания в пределах от минус 15 % до плюс 10 % относительно номинального напряжения.

8.7.3 При питании от бортовой сети подвижного объекта (аккумулятора, который заряжается во время эксплуатации) АС должна обеспечивать работоспособность при изменении напряжения питания в пределах от минус 10 % до плюс 30 % относительно номинального напряжения.

8.7.4 В АС должна быть предусмотрена защита от повреждения при неправильном включении полярности питания.

8.7.5 В возимых АС, питание которых осуществляется от бортовой сети подвижного объекта, общий провод питания, соединенный с корпусом АС, должен быть отрицательной полярности.

8.7.6 При питании от собственного источника постоянного тока, его тип, номинальное напряжение питания и диапазон допустимых напряжений должны устанавливаться в ТУ на АС конкретного типа.

8.8 Требования безопасности

8.8.1 В АС, питание которой осуществляется от сети переменного тока напряжением 220 В, должны быть предусмотрены меры по защите пользователя от поражения электрическим током согласно 6.14 ГОСТ Р 50829.

8.8.2* Уровень напряженности электрического поля, создаваемый АС, должен находиться в пределах, установленных в таблице 3.2 СанПиН 2.2.4/2.1.8.055 [7].

* Данное требование относится к АС, работающим в диапазоне частот 160 МГц

8.8.3** Уровень плотности потока энергии, создаваемый АС, должен находиться в пределах, установленных в таблице 3.3 СанПиН 2.2.4/2.1.8.055 [7].

** Данное требование относится к АС, работающим в диапазонах частот 330 МГЦ, 450 МГц и 800 МГц

8.8.4 Электрическая изоляция цепей сетевого питания блоков питания и зарядных устройств АС должна соответствовать требованиям 6.20 ГОСТ Р 50829.

8.8.5 Должна быть исключена возможность воспламенения АС при случайном замыкании в цепи питания и/или при неправильном включении полярности питания (13.3 ГОСТ Р 50829).

8.8.6 Температура наружных поверхностей АС во время работы при НУ должна соответствовать требованиям 8.1 ГОСТ Р 50829.

8.9 Требования к разборчивости речи

По требованиям к разборчивости речи АС должны соответствовать ГОСТ 16600.

Класс качества по разборчивости речи устанавливают в ТУ на АС конкретного типа.

8.10* Набор, индикация и передача 15-значного номера

* Данное требование относится к дуплексным АС

АС должна обеспечивать набор, индикацию и передачу на БС, включая режим автонабора, 15-значного номера.

9 Технические требования к оборудованию коммутации и управления SwMI

9.1 Подключение ТСПР к ТфОП. Система нумерации

9.1.1 Подключение ТСПР к ТфОП должно осуществляться с помощью оборудования SwMI на местном уровне.

Подключение ТСПР к ТфОП можно осуществить следующим образом:

- на правах РАТС - при абонентской емкости до 100000 телефонных номеров [15];

- на правах УПАТС - при абонентской емкости менее 6000 телефонных номеров [16];

- на правах малой УАТС - при абонентской емкости до 128 телефонных номеров [16].

9.1.2 Система нумерации для оборудования SwMI, с учетом уровня подключения ТСПР, указанного в 9.1.1, регламентируется в [17].

9.1.3 Оборудование SwMI должно поддерживать 15-значную международную систему нумерации, регламентируемую в [18].

9.1.4 Оборудование SwMI должно обеспечивать установление следующих типов соединений:

- исходящие и входящие соединения между абонентами сети ТСПР (внутрисистемные соединения типа «АС-АС» без выхода в ТфОП);

- соединения между абонентом и группой абонентов сети ТСПР (внутрисистемные соединения типа «АС-радиогруппа» без выхода в ТфОП);

- исходящие и входящие соединения абонентов сети ТСПР с абонентами ТфОП (соединения типа «АС-абонент ТфОП», «Абонент ТфОП-АС»);

- исходящие соединения абонентов сети ТСПР к экстренным, справочно-информационным и заказным службам местных сетей ТфОП (соединения типа «АС-абонент ТфОП»);

- исходящие и входящие соединения абонентов сети ТСПР с абонентами других СПС (соединения типа «АС-абонент СПС», «Абонент СПС-АС»);

- исходящие и входящие соединения абонентов сети ТСПР с абонентами ведомственных, внутрипроизводственных, технологических сетей связи;

- исходящие и входящие автоматические междугородные, международные соединения (соединения типа «АС-абонент ТфОП», «Абонент ТфОП-АС»);

- исходящие и входящие соединения абонентов сети ТСПР с диспетчером сети ТСПР (соединения типа «АС-Диспетчер», «Диспетчер-АС»);

- исходящие соединения диспетчера сети ТСПР с группой абонентов сети ТСПР (соединения типа «Диспетчер-радиогруппа»).

9.1.5 Оборудование SwMI должно обеспечивать соединения с экстренными, справочно-информационными и заказными службами в соответствии с принятой на местных телефонных сетях системой нумерации [19].

9.1.6 При обеспечении соединений со службами, приведенными в 9.1.5, оборудование SwMI должно использовать нумерацию в соответствии с [19].

9.1.7 Правила организации выхода на международные службы автоматической междугородней телефонной станции (АМТС) и международного центра коммутации (МЦК) должны соответствовать [19].

9.2* Емкость системы, обслуживаемая нагрузка, качественные показатели

* Данные требования распространяются на абонентов сети ТСПР, имеющих выход на ТфОП, а также на элементы оборудования SwMI, обеспечивающие взаимодействие с ТфОП

9.2.1 Емкость системы определяется уровнем её включения в ТфОП (9.1.1).

9.2.2 Оборудование SwMI должно быть рассчитано на работу при удельной (исходящей и входящей) интенсивности нагрузки в час наибольшей нагрузки (ЧНН) от АС - 0,02 Эрл при средней длительности занятия от 90 до 100 с.

9.2.3 Для подвижных абонентов должны обеспечиваться следующие нормы качества обслуживания вызовов (вероятность потерь по вызовам):

- внутристанционное соединение - 0,05;

- исходящее соединение - 0,05;

- входящее соединение - 0,05.

9.3 Система сигнализации при взаимодействии с ТфОП. Типы и параметры соединительных линий

Оборудование SwMI может подключаться к ТфОП по следующим типам линий:

- по цифровым СЛ со скоростью передачи 2048 кбит/с на правах РАТС либо на правах УПАТС;

- по трехпроводным (физическим) СЛ на правах УПАТС;

- по цифровым линиям доступа на первичной скорости цифровой сети с интеграцией обслуживания (ЦСИО) (30 B + D) на правах УПАТС;

- по двухпроводным (физическим) аналоговым АЛ, цифровым линиям базового доступа ЦСИО (2 B + D) и доступа на первичной скорости ЦСИО (30 B + D) на правах малой УАТС.

9.3.1 Подключение оборудования SwMI к ТфОП по цифровым соединительным линиям

9.3.1.1 Параметры цифровых СЛ со скоростью передачи 2048 кбит/с должны соответствовать требованиям ГОСТ 26886 и Рекомендациям [20 - 23].

9.3.1.2 Основными способами передачи линейных сигналов по заказно-соединительным линиям (ЗСЛ) и по соединительным линиям междугородным (СЛМ) для оборудования SwMI, подключаемого на правах РАТС к ТфОП по цифровым ИКМ-каналам со скоростью передачи 2048 кбит/с, должны быть:

- двоичный код по общему каналу сигнализации (ОКС № 7);

- по двум выделенным сигнальным каналам (ВСК).

9.3.1.3 Основными способами передачи линейных сигналов по СЛ для оборудования SwMI, подключаемого на правах РАТС к ТфОП по цифровым ИКМ-каналам со скоростью передачи 2048 кбит/с, должны быть:

- двоичный код по ОКС № 7;

- по двум ВСК.

9.3.1.4 Основными способами передачи сигналов управления по ЗСЛ и СЛМ для оборудования SwMI, подключаемого на правах РАТС к ТфОП по цифровым ИКМ-каналам со скоростью передачи 2048 кбит/с, должны быть:

- двоичный код по ОКС № 7;

- многочастотный код методами «импульсный пакет», «безинтервальный пакет» (при передаче информации автоматического определения номера (АОН));

- многочастотный код по методу «импульсный челнок»;

- декадный код по ВСК.

9.3.1.5 Основными способами передачи сигналов управления по СЛ для оборудования SwMI, подключаемого на правах РАТС к ТфОП по цифровым ИКМ-каналам со скоростью передачи 2048 кбит/с, должны быть:

- двоичный код по ОКС № 7;

- многочастотный код методами «импульсный челнок», «безинтервальный пакет» (при передаче информации АОН);

- декадный код по ВСК.

9.3.1.6 Основным способом передачи линейных сигналов по ЗСЛ, СЛМ, СЛ для оборудования SwMI, подключаемого на правах УПАТС к ТфОП по цифровым ИКМ-каналам со скоростью передачи 2048 кбит/с, должен быть способ передачи по двум ВСК.

9.3.1.7 Основными способами передачи сигналов управления по ЗСЛ, СЛМ, СЛ для оборудования SwMI, подключаемого на правах УПАТС к ТфОП по цифровым ИКМ-каналам со скоростью передачи 2048 кбит/с, должны быть:

- многочастотный код методами «импульсный челнок», «безинтервальный пакет» (при передаче информации АОН);

- декадный код по ВСК.

Примечания к пунктам 9.3.1.1 - 9.3.1.7

1 При передаче линейных сигналов по ОКС № 7 реализация OKC № 7 должна соответствовать спецификациям [24, 25].

2 Состав сигналов, передаваемых по двум ВСК, приведен в [26].

3 Общие требования к передаче и приему сигналов приведены в [26].

4 Многочастотный код методом «импульсный пакет» используется при исходящей связи к АМТС.

5 Многочастотный код методом «безинтервальный пакет» используется при исходящей связи к АМТС и при местной связи при выходе на платные и бесплатные службы, на другие АТС.

6 Многочастотный код по методу «импульсный челнок» используется при местной связи, при входящей связи от АМТС.

7 Передача декадного кода используется при связи с АМТС и при местной связи.

9.3.2 Подключение оборудования SwMI к ТфОП по трехпроводным соединительным линиям

9.3.2.1 Параметры трехпроводных (физических) СЛ должны соответствовать требованиям [27].

9.3.2.2 Для передачи линейных сигналов по ЗСЛ, СЛМ и СЛ для оборудования SwMI при подключении сети ТСПР к ТфОП по трехпроводным (физическим) СЛ используется батарейный способ.

9.3.2.3 Основными способами передачи сигналов управления по ЗСЛ, СЛМ и СЛ для оборудования SwMI при подключении сети ТСПР к ТфОП по трехпроводным (физическим) СЛ должны быть:

- многочастотный код методом «безинтервальный пакет» (при передаче информации АОН);

- многочастотный код по методу «импульсный челнок»;

- декадный код.

Примечания к пунктам 9.3.2.1 - 9.3.2.3

1 Сигнальные коды передачи линейных сигналов батарейным способом приведены в таблицах 7.13, 7.14 [28].

2 Многочастотный код методом «безинтервальный пакет» используется при исходящей связи к АМТС и при местной связи при выходе на платные и бесплатные службы, на другие АТС.

3 Многочастотный код по методу «импульсный челнок» используется при местной связи, при входящей связи от АМТС.

4 Передача декадного кода используется при связи с АМТС и при местной связи.

9.3.3 Подключение оборудования SwMI к ТфОП по цифровым линиям ЦСИО

9.3.3.1 Требования к цифровым линиям базового доступа (2 B + D) ЦСИО и системе сигнализации E-DSS1 должны соответствовать требованиям, изложенным в [29] и [30].

9.3.3.2 Требования к цифровым линиям доступа на первичной скорости (30 B + D) ЦСИО и системе сигнализации E-DSS1 должны соответствовать требованиям, изложенным в [29] и [30].

9.3.4 Подключение оборудования SwMI к ТфОП по двухпроводным налоговым абонентским линиям

9.3.4.1 Двухпроводные (физические) АЛ должны иметь следующие параметры:

- сопротивление шлейфа не более 1300 Ом;

- сопротивление изоляции между проводами или между каждым проводом и «землей» не менее 20 кОм;

- емкость между проводами или каждым проводом и «землей» не более 0,5 мкФ;

- максимальное затухание АЛ на частоте 1000 Гц не более 4,5 дБ.

9.3.4.2 Параметры стыка «PATC-SwMI» и параметры сигналов набора номера должны соответствовать требованиям [29].

9.3.5 Информационные акустические сигналы

9.3.5.1 Информационные акустические сигналы о состоянии соединения должны передаваться в виде акустических сигналов тональной частоты и механического голоса автоинформатора.

9.3.5.2 Перечень фраз механического голоса автоинформатора, поддерживаемых оборудованием SwMI, должен быть определен в ТУ на ТСПР конкретного типа.

9.3.5.3 Оборудование SwMI должно принимать/передавать от/к РАТС и узлов местной сети следующие информационные акустические сигналы тональной частоты:

ЗАНЯТО;

КОНТРОЛЬ ПОСЫЛКИ ВЫЗОВА;

ЗАНЯТО ПРИ ПЕРЕГРУЗКЕ;

УКАЗАТЕЛЬНЫЙ СИГНАЛ.

9.3.5.4 Параметры принимаемых/передаваемых оборудованием SwMI информационных акустических сигналов должны соответствовать требованиям ГОСТ 28384.

9.4 Принципы отбоя

9.4.1 При организации связи ТСПР с ТфОП для обеспечения разъединения должна использоваться система одностороннего отбоя.

При одностороннем отбое освобождение приборов, участвующих в соединении, должно происходить после отбоя со стороны любого из абонентов.

Требования к принципам одностороннего отбоя регламентированы [26].

9.4.2 В случае входящего междугородного соединения при организации связи от АМТС по СЛМ, входящий междугородный канал должен освобождаться только по сигналу РАЗЪЕДИНЕНИЕ (освобождение под контролем АМТС). Если в течение 5 мин. после передачи сигнала ОТБОЙ АБОНЕНТА Б не будет получен сигнал РАЗЪЕДИНЕНИЕ, то данная СЛМ может быть освобождена.

9.4.3 Должно обеспечиваться принудительное разъединение приборов разговорного тракта в предответном состоянии со стороны исходящей станции по выдержке времени от 10 до 20 мин с возможностью изменения этой выдержки.

9.4.4 После отбоя вызываемого абонента должен допускаться переход приборов разговорного тракта в предответное состояние с посылкой вызывающему абоненту зуммерного сигнала ЗАНЯТО.

9.4.5 На переходный период, при работе с АТС, не имеющими аппаратуры АОН или иных средств для выявления злонамеренных вызовов, должна быть предусмотрена возможность перехода к работе с удержанием соединения до отбоя вызываемого абонента (система двустороннего отбоя) программными средствами.

При двустороннем отбое, после отбоя со стороны вызывающего абонента, должно происходить удержание приборов разговорного тракта, до тех пор, пока не произойдет отбой со стороны вызываемого абонента. Для освобождения приборов разговорного тракта отбой должен произвести вызываемый абонент. Злонамеренный вызов должен отслеживаться в течение 20 мин.

Приборы разговорного тракта оборудования SwMI должны обеспечивать совместную работу с приборами, работающими как по односторонней системе отбоя, так и по двусторонней системе отбоя.

9.5 Автоматическое определение категории и номера телефона вызывающего абонента

9.5.1 АС, подключаемым к SwMI, должны присваиваться категории в соответствии с [28].

9.5.2 Оборудование SwMI должно обеспечивать возможность определения категории и номера вызывающего абонента (абонента «А») с передачей этой информации по мере необходимости на другие станции, АМТС, на спецслужбы, на бесплатные и платные справочно-информационные службы местной телефонной сети, на узлы заказно-соединительных линий (УЗСЛ) и на внутристанционное оборудование связи.

9.5.3 При установлении исходящих соединений оборудование SwMI должно обеспечивать предоставление номера вызывающего абонента (абонента «А»):

- при взаимодействии по ОКС № 7 (подсистема ISUP-R) в составе сообщения IAM;

- при взаимодействии по иным системам телефонной сигнализации в соответствии с требованиями, регламентируемыми в [15].

9.6 Требования к интерфейсу взаимодействия с сетями передачи данных

9.6.1. При реализации в системе передачи данных подключение оборудования SwMI к сетям передачи данных общего пользования должно осуществляться по протоколу IP.

9.6.2 При взаимодействии с сетями передачи данных по протоколу IP, реализация протокола IP, физический уровень, подуровень управления доступом к среде и сетевой уровень должны соответствовать требованиям [31].

9.7 Система синхронизации

9.7.1* Источником внешней синхронизации работы оборудования SwMI в ТСПР могут быть станции и узлы более высокого уровня (РАТС, АМТС и др.).

* Источником внешней синхронизации работы оборудования SwMI не могут быть отечественная спутниковая радионавигационная система ГЛОНАСС, либо американская спутниковая радионавигационная система GPS

Основным режимом синхронизации для оборудования SwMI должен быть режим принудительной синхронизации. В оборудовании тактовой синхронизации SwMI должны входить два блока синхронизации, работающие синхронно. При этом один блок должен быть активным, а другой находиться в резерве.

9.7.2 Блоки синхронизации должны иметь возможность синхронизации оборудования SwMI не менее чем от трех тактовых сигналов 2048 кбит/с, выделяемых из трактов первичных групп 2048 кбит/с. В нормальных условиях для синхронизации используется основной синхросигнал. В случае его отказа, синхронизация оборудования SwMI автоматически переключается на следующий по приоритету синхросигнал и т.д.

При возникновении аварийных состояний трактов ИКМ сигналы внешней синхронизации должны отключаться. При искажениях или пропадании используемого синхросигнала должно происходить переключение входов блоков синхронизации.

9.7.3 Для обеспечения надежности синхронизации в сети ТСПР должны быть предусмотрены резервные ведущие генераторы и резервные пути передачи сигналов синхронизации.

9.7.4 Для передачи сигнала синхронизации должны использоваться цифровые СЛ ИКМ, отбираемые по минимуму ошибок и неисправностей.

9.7.5 В случае пропадания всех входящих синхросигналов оборудование SwMI должно переходить в автономный режим работы с запоминанием частоты синхросигнала.

9.7.6 При любых переключениях в блоке тактовой синхронизации на выходе оборудования SwMI не должен появляться скачок фазы более чем 61 нс.

9.7.7 Фазовые скачки, возникающие в выходных сигналах оборудования синхронизации SwMI за счет переключений на резерв, а также вследствие других причин, не должны выходить за пределы, регламентируемые требованиями 3.4 [19].

9.7.8 Оборудование SwMI должно иметь систему автоматизированного контроля синхронизации и соответствующую сигнализацию.

9.7.9 По общим требованиям к хронированию, синхронизации и частости проскальзываний оборудование SwMI должно удовлетворять требованиям раздела 3 Рекомендации [32].

9.7.10 При работе оборудования SwMI в режиме синхронизации частотная зависимость функции передачи фазовых дрожаний и блужданий со входа на выход должна удовлетворять шаблону, приведенному на рисунке 6 Рекомендации [33].

9.8 Система учета стоимости соединений

9.8.1 Система учета стоимости соединений в ТСПР должна обеспечивать:

- сбор учетных данных по каждому состоявшемуся соединению по передаче речевой информации (внутрисистемному, местному, междугороднему, международному исходящему или входящему);

- сбор учетных данных по каждому состоявшемуся соединению по передаче неречевой информации, при наличии данной функции в оборудовании (данные произвольной длины, статусные сообщения, короткие блоки данных);

- сбор учетных данных предоставления дополнительных услуг и услуг ДВО;

- хранение учетных данных в энергонезависимом запоминающем устройстве и вывод в ЦУС или по каналу передачи данных в автоматизированную систему расчета (АСР) с пользователями за услуги электросвязи. При этом используемая АСР должна иметь сертификат соответствия Министерства Российской Федерации по связи и информатизации.

9.8.2 В системе учета стоимости соединений могут учитываться принципы и требования, приводимые в Рекомендациях [34 - 36].

9.8.3 Возможность учета стоимости соединений должна обеспечиваться для всех абонентов сети ТСПР.

9.8.4 Время хранения учетных данных должно задаваться программно с ЦУС за временной период, определяемый Оператором сети ТСПР.

9.8.5 Система учета соединений должна позволять производить изменения категорий абонентов, видов учета и расширения диапазонов тарифов для речевых сообщений и дополнительных услуг, обеспечивать тарификацию новых услуг ДВО, а также обеспечивать возможность изменения используемых форм оплаты.

9.8.6 Защита и хранение собранных учетных данных должны обеспечиваться за счет дублирования в ЦУС.

9.8.7 Для передачи учетных данных в АСР должны использоваться протоколы, приведенные в [37].

9.8.8 При начислении оплаты должны учитываться следующие параметры:

- дата установления соединения (месяц, день);

- время начала установления соединения (часы, минуты, секунды) и время окончания установления соединения (часы, минуты, секунды);

- направление трафика;

- номер вызывающего абонента;

- номер вызываемого абонента;

- категория абонента;

- факт использования услуги ДВО.

9.9 Техническое обслуживание и эксплуатация

9.9.1 Оборудование SwMI должно быть оснащено средствами, необходимыми для надежной эксплуатации самого оборудования управления и коммутации, а также контроля работоспособности сопряженного с ним другого оборудования ТСПР, управления их функциями при соответствующем качестве обслуживания, и выдачей соответствующей информации обслуживающему персоналу.

9.9.2 Оборудование SwMI должно выполнять следующие функции технического обслуживания и эксплуатации:

- контроля функционирования оборудования;

- аварийной сигнализации;

- восстановления работоспособности;

- тестирования и диагностики.

9.9.3 Контроль функционирования оборудования должен осуществляться постоянно или периодически (по расписанию и/или по команде обслуживающего персонала с ЦУС).

Автоматический контроль должен осуществляться распределенно, т.е. модули оборудования должны самостоятельно обнаруживать повреждения и ошибки.

9.9.4 Функцией аварийной сигнализации должна являться фиксация аварийных сигналов со всех функциональных блоков, удаленных модулей, систем передачи, источников электропитания и их обработка.

На основании полученных аварийных сигналов вырабатываются аварийные сообщения. Обслуживающий персонал должен оповещаться об авариях путем вывода аварийных сообщений на принтер аварийных сообщений, дисплей или системную панель аварийных сигналов.

9.9.5 Аварийные сообщения должны быть разделены на категории по срочности восстановления:

- критические аварии (неисправности, которые вызывают значительное ухудшение обслуживания и требует немедленного вмешательства);

- главные аварии (серьезные неисправности на станции, которые требуют вмешательства в течение дня);

- незначительные аварии (неисправности, которые не требуют немедленного вмешательства и могут быть устранены в период наименьшей нагрузки).

9.9.6 Система восстановления работоспособности должна контролировать состояние функциональных блоков и управлять перезапусками блоков для восстановления их работоспособности и предотвращения влияния неисправности.

Обеспечение надежности должно быть реализовано путем резервирования управляющих блоков.

9.9.7 Функция тестирования и диагностики должна обеспечивать обнаружение и локализацию неисправного оборудования.

Глубина диагностики должна составлять:

- с точностью до 1 платы - 80 % неисправностей;

- с точностью до 2 плат - 85 % неисправностей;

- с точностью до 3 и более плат - 90 % неисправностей.

В остальных случаях требуется вмешательство обслуживающего персонала. Информация о неисправностях, обнаруженных системой тестирования и диагностики, должна выводиться на средства регистрации.

9.9.8 Перечень функций технического обслуживания и эксплуатации, выполняемых ЦУС, должен быть установлен в ТУ на ТСПР конкретного типа.

9.10 Услуги дополнительных видов обслуживания

9.10.1 Комплекс программно-аппаратных средств оборудования SwMI может предоставлять всем абонентам сети ТСПР следующие услуги ДВО:

а) группа услуг по идентификации вызываемого (вызывающего) абонента:

- идентификация номера вызывающего абонента;

- идентификация номера вызываемого абонента;

б) услуга уведомления о вызове для абонента, который в момент вызова был занят, не отвечал или был недоступен, в виде номера (ITSI) вызывающего абонента и/или иной информации;

в) услуга идентификации абонента, осуществляющего передачу, а также индикацию его условного имени и уровня приоритета доступа;

г) группа услуг по переадресации входящего вызова:

- безусловная переадресация вызова;

- переадресация вызова при занятости вызываемого абонента сети подвижной связи;

- переадресация вызова при отсутствии ответа вызываемого абонента в течение заданного времени;

- переадресация вызова при недоступности вызываемого абонента;

д) услуга переадресации вызова по номеру в списке поиска, определённому абонентом сети;

е) услуга разрешения вызова диспетчером;

ж) услуга вызова по сокращённому номеру;

з) услуга выбора зоны обслуживания для осуществления вызова;

и) услуга приоритетного доступа абонента к радиоканалам при перегрузках при исходящих вызовах;

к) услуга приоритетного доступа оборудования SwMI к радиоканалам при входящих вызовах;

л) услуга вызова с ожиданием;

м) услуга удержания вызова;

н) услуга установления соединения по мере освобождения вызываемого абонента;

о) услуга присоединения к групповому вызову после его установления;

п) услуга приоритетного доступа к радиоканалам путём разъединения вызовов с более низким приоритетом;

р) услуга подключения дополнительного абонента к текущему вызову;

с) услуга ограничения исходящих вызовов;

т) услуга ограничения входящих вызовов;

у) услуга мониторинга вызовов между определёнными абонентами;

ф) услуга мониторинга окружающей обстановки с использованием АС;

х) услуга назначения, удаления и опроса групповых номеров;

ц) услуга установления соединения по мере получения ответа абонента;

ч) услуга защиты соединения от принудительного разъединения.

9.10.2 Перечень услуг ДВО, поддерживаемых оборудованием SwMI, должен быть установлен в ТУ на ТСПР конкретного типа.

9.11 Требования к электропитанию

9.11.1 Оборудование SwMI может питаться как от сети переменного тока номинальным напряжением 220 В частотой 50 Гц по ГОСТ 5237, так и от источников постоянного тока.

9.11.2 При питании от сети переменного тока номинальным напряжением 220 В оборудование SwMI должно обеспечивать работоспособность при изменении напряжения питания в пределах от минус 15 % до плюс 10 % относительно номинального напряжения,

9.11.3 При питании от внешнего источника постоянного тока номинальное напряжение питания и диапазон допустимых напряжений должны устанавливаться в ТУ на оборудование конкретного типа.

В качестве внешнего источника постоянного тока могут быть использованы источники вторичного питания, имеющие сертификат соответствия Российской Федерации.

9.11.4 Для обеспечения надежного функционирования оборудования SwMI должно быть предусмотрено резервирование основного источника питания [38].

В качестве резервного источника питания могут быть использованы аккумуляторные батареи, имеющие сертификат соответствия Российской Федерации.

9.11.5 Переключение основного источника питания на резервный источник питания и обратно должно происходить автоматически без нарушения текущих вызовов.

9.12 Требования по устойчивости к климатическим и механическим воздействиям

9.12.1 Оборудование SwMI должно быть устойчиво к климатическим и механическим внешним воздействующим факторам при эксплуатации в соответствии с ГОСТ 16019 для группы аппаратуры С1.

9.12.2. Виды испытаний, предусмотренные для группы аппаратуры С1, приведены в 7.1.6.2.

9.13 Требования к электромагнитной совместимости

9.13.1 Напряжение радиопомех на сетевых зажимах оборудования SwMI в полосе частот от 0,15 до 30 МГц не должно превышать значений, приведенных в 5.1 ГОСТ 51318.22 для оборудования класса А.

9.13.2 Напряжение радиопомех на портах связи оборудования SwMI в полосе частот от 0,15 до 30 МГц не должно превышать значений, приведённых в 5.2 ГОСТ 51318.22 для оборудования класса А.

9.13.3 Квазипиковые значения напряжённости поля радиопомех, создаваемых оборудованием SwMI в полосе частот от 30 до 1000 МГц, не должны превышать значений, приведённых в разделе 6 ГОСТ 51318.22 для оборудования класса А.

9.13.4 Устойчивость оборудования SwMI к радиочастотному электромагнитному полю в полосе частот от 80 до 1000 МГц - в соответствии с 5.1 ГОСТ 51317.4.3 (степень жесткости испытаний - 2, критерий качества функционирования - не хуже А).

9.13.5 Устойчивость оборудования SwMI к кондуктивным помехам, наведённым радиочастотными электромагнитными полями, в полосе частот от 0,15 до 80 МГц - в соответствии с разделом 5 ГОСТ 51317.4.6 (степень жесткости испытаний - 2, критерий качества функционирования - не хуже А).

9.13.6 Устойчивость оборудования SwMI к электростатическим разрядам - в соответствии с разделом 5 ГОСТ 51317.4.2 (степень жёсткости испытаний - 2, критерий качества функционирования - не хуже В).

9.13.7 Устойчивость оборудования SwMI к микросекундным импульсным помехам большой энергии в соответствии с разделом 5 ГОСТ 51317.4.5 (класс эксплуатации 5, критерий качества функционирования - не хуже А).

9.13.8 Устойчивость оборудования SwMI к наносекундным импульсным помехам - в соответствии с разделом 5 ГОСТ 51317.4.4 (степень жёсткости испытаний - 2, критерий качества функционирования - не хуже А).

9.13.9* Устойчивость оборудования SwMI к динамическим изменениям напряжения электропитания - в соответствии с разделом 5 ГОСТ 51317.4.11 (степень жесткости испытаний - 2, критерий качества функционирования - не хуже А).

* Данное требование относится к оборудованию SwMI, питание которого осуществляется от сети переменного тока

9.13.10 Устойчивость оборудования SwMI к перенапряжениям и избыточным токам при подключении по СЛ - в соответствии с разделом 4 Рекомендации [39].

9.13.11 Электробезопасность и защита оборудования SwMI при подключении по цифровым линиям ЦСИО должна соответствовать ETS 300 047 [40] для базового доступа ЦСИО и ETS 300 046 [41] для первичного доступа ЦСИО.

9.14 Требования безопасности

9.14.1* В оборудовании SwMI должны быть предусмотрены меры по защите обслуживающего персонала от поражения электрическим током согласно 6.14 ГОСТ Р 50820.

* Данное требование относится к оборудованию SwMI, питание которого осуществляется от сети переменного тока

9.14.2 Электрическая изоляция цепей питания оборудования SwMI должна соответствовать требованиям 6.20 ГОСТ Р 50829.

9.14.3 В оборудовании SwMI должно быть предусмотрено заземление доступных прикосновению нетоковедущих частей путём введения и использования клемм (зажимов) защитного заземления. Доступные прикосновению нетоковедущие части оборудования SwMI должны быть надёжно заземлены (6.2.1 ГОСТ Р 50829).

Величина сопротивления между клеммой (зажимом) защитного заземления и любой доступной прикосновению металлической нетоковедущей частью оборудования SwMI не должна превышать 0,1 Ом (3.3.7 ГОСТ 12.2.007.0).

9.14.4 Должна быть исключена возможность воспламенения оборудования SwMI при случайном замыкании в цепи питания и/или при неправильном включении полярности питания (13.3 ГОСТ Р 50829).

9.14.5 Температура наружных поверхностей оборудования SwMI во время работы при нормальных климатических условиях должна соответствовать требованиям 8.1 ГОСТ Р 50829.

9.14.6 Уровень акустического шума, создаваемый оборудованием SwMI во время работы в месте его установки, должен соответствовать требованиям раздела 2 ГОСТ 12.1.003.

9.15 Требования к системе оперативно-розыскных мероприятий

Требования к системе оперативно-розыскных мероприятий (СОРМ) должны устанавливаться в соответствии с требованиями [42], [43].

10 Требования к маркировке

10.1 Оборудование ТСПР должно иметь маркировку с обозначением товарного знака предприятия-изготовителя (2.1 ГОСТ 26828), наименования и кода изделия, заводского номера и даты изготовления.

10.2 Маркировка должна сохраняться в течение всего срока службы оборудования ТСПР (2.9 ГОСТ 26828).

10.3 На каждом изделии, входящем в состав оборудования ТСПР должны быть отчетливо указаны:

- товарный знак предприятия-изготовителя;

- наименование и код изделия;

- заводской номер;

- дата изготовления (месяц, год).

10.4 Все визуальные средства контроля оборудования ТСПР, предохранители всех видов, разъемы и кабельные перемычки, кнопки и другие управляющие и контрольные элементы должны маркироваться таким образом, чтобы разъяснялось назначение соответствующего элемента.

10.5 Транспортная маркировка должна содержать манипуляционные знаки, основные, дополнительные и информационные надписи.

Требования к маркировке транспортной тары и маркировке оборудования ТСПР, транспортируемого без упаковывания в потребительскую тару, должны соответствовать ГОСТ 14192.

10.6 На оборудовании ТСПР, на упаковке и технической документации должен быть нанесен знак сертификата соответствия Минсвязи России по ОСТ 45.02.

11 Требования к упаковке

11.1 Оборудование ТСПР, запасные части и принадлежности, эксплуатационная документация должны быть упакованы в соответствии с требованиями ГОСТ 23088.

11.2 К упакованным изделиям должна прилагаться упаковочная ведомость в соответствии с 1.1.13 ГОСТ 23088.

11.3 Упаковка должна обеспечивать сохранность оборудования ТСПР, запасных частей и принадлежностей, эксплуатационной документации при хранении в условиях, установленных 12.5, 12.6, и транспортировании автомобильным, железнодорожным, воздушным, речным и морским транспортом в условиях, установленных 12.1 - 12.4.

12 Требования к транспортированию и хранению

12.1 Оборудование ТСПР в упакованном виде должно быть устойчиво к транспортированию автомобильным транспортом (в закрытых кузовах), железнодорожным транспортом (в закрытых вагонах), речным и морским транспортом (в контейнерах) и воздушным транспортом (в герметизированных кабинах и отсеках самолетов и вертолетов).

О невозможности транспортирования каким-либо из видов транспорта должно быть указано в ТУ на оборудование конкретного типа.

12.2 Радиооборудование ТСПР должно выдерживать механические и климатические воздействия при транспортировании, установленные в 7.1.6 (для БРС) и 8.6 (для АС).

12.3 Условия транспортирования оборудования SwMI должны соответствовать требованиям 10.2 ГОСТ 15150 и 1.2 ГОСТ 23088.

12.4 При транспортировании должна быть обеспечена защита оборудования ТСПР от попадания на него атмосферных осадков и влаги, а также исключена возможность самопроизвольного перемещения упаковок (ящиков).

12.5 Оборудование ТСПР должно храниться в складских помещениях, защищающих изделия от воздействия атмосферных осадков, на стеллажах или в заводской упаковке, при отсутствии в воздухе паров кислот, щелочей и других вредных атмосферных примесей.

12.6 В складских помещениях, где хранится оборудование ТСПР, должна обеспечиваться температура в пределах от +5 °С до +40 °С и относительная влажность не более 80 % (при температуре +25 °С).

13 Требования к документации

13.1 Документация должна быть достаточной для изучения принципов работы оборудования ТСПР, его настройки, обслуживания и проведения работ по сертификации.

13.2 Документация должна быть выполнена на русском языке и соответствовать требованиям ГОСТ 2.601.

14 Гарантии изготовителя

14.1 Гарантийный срок хранения оборудования ТСПР в упакованном виде и гарантийный срок эксплуатации должны быть установлены в ТУ на оборудование ТСПР конкретного типа.

14.2 В течение гарантийного срока изготовитель должен безвозмездно устранять неисправности и производить замену вышедшего из строя оборудования ТСПР.

Приложение А

(справочное)

Варианты построения АФУ

Рисунок А.1 - Построение АФУ на основе одной (приемопередающей) антенны

Рисунок А.2 - Построение АФУ (приемопередающего) на основе нескольких излучателей

Рисунок А.3 - Построение АФУ на основе одной передающей и одной приемной антенн

Рисунок А.4 - Построение АФУ на основе приемопередающей многовходовой антенной решетки

Приложение Б

(справочное)

Варианты построения OOP

Рисунок Б.1 - Построение OOP для работы с АФУ на основе одной передающей и одной приемной антенн

Рисунок Б.2 - Построение OOP для работы с АФУ на основе приемопередающей антенны

Рисунок Б.3 - Построение OOP для работы с АФУ на основе многовходовой антенной решетки

Библиография

[1] ETSI EN 300 086-1 Electromagnetic compatibility and Radio spectrum Matters (ERM); Land Mobile Service; Radio equipment with an internal or external RF connector intended primarily for analogue speech; Part 1: Technical characteristics and methods measurement.

[2] ETSI EN 300 113-1 Electromagnetic compatibility and Radio spectrum Matters (ERM); Land Mobile Service; Radio equipment intended for the transmission of date (and/or speech) using constant or non-constant envelope modulation and having an antenna connector; Part 1: Technical characteristics and methods measurement.

[3] Решение ГКРЧ от 01.03.94, протокол 18/5 «Об условиях использования полосы радиочастот 146 - 174 МГц радиосредствами фиксированной и подвижной, кроме воздушной подвижной, служб гражданского назначения».

[4] Решение ГКРЧ от 27.04.98, протокол 6/3 «Об использовании полос радиочастот 300 - 308 МГц и 336 - 344 МГц радиосредствами сухопутной подвижной и фиксированной служб гражданского применения».

[5] Решение ГКРЧ от 15.12.95, протокол 35/4 «Об использовании полос радиочастот в диапазоне 800 МГц радиосредствами гражданского назначения».

[6] ITU-T Rec.O.41 (1994) Psophometer for use on telephone type circuits.

[7] СанПиН 2.2.4/2.1.8.055-96 Электромагнитные излучения радиочастотного диапазона (ЭМИ РЧ). Санитарные правила и нормы. Госкомсанэпиднадзор России, 1996 г.

[8] Положение о системе сертификации средств связи для Взаимоувязанной сети связи Российской Федерации // Система сертификации «Связь». Сборник нормативных документов по сертификации средств связи. - М.: ФГУП ЦНТИ «Информсвязь», 2001.

[9] СНиП 2.01.07-85 Строительные нормы и правила. Нагрузки и воздействия.

[10] СанПиН 2.2.4/2.1.8.989-00 Электромагнитные излучения радиочастотного диапазона (ЭМИ РЧ). Изменение № 1 к СанПиН 2.2.4/2.1.8.055-96. Санитарные правила и нормы. Минздрав России, 2001.

[11] ВСН 1-93 Ведомственные строительные нормы. Инструкция по проектированию молниезащиты радиообъектов.

[12] ПОТРО-45-002-94 Правила по охране труда на радиопредприятиях Минсвязи России, 1994.

[13] ETSI EN 300 296-1 Electromagnetic compatibility and Radio spectrum Matters (ERM); Land Mobile Service; Radio equipment using an integral antennas intended primarily for analog speech; Part 1: Technical characteristics and methods measurement.

[14] ETSI EN 300 390-1 Electromagnetic compatibility and Radio spectrum Matters (ERM); Land Mobile Service; Radio equipment intended for the transmission of date (and speech) and using an integral antenna; Part 1: Technical characteristics and test conditions.

[15] Общие технические требования к городским АТС. Утверждены Минсвязи России 28.03.97 г.

[16] Руководящий документ «Общие принципы включения УПАТС на телефонных сетях общего пользования». Утвержден Минсвязи России 17.01.96 г.

[17] Система и план нумерации на сетях связи стран 7-ой зоны всемирной нумерации. Утверждены ГКЭС 30.09.98 г.

[18] Положение о порядке введения 15-значной международной нумерации времени Т. Утверждено ГКЭС России 28.08.96 г.

[19] Руководящий документ. Основные положения развития Взаимоувязанной сети связи Российской Федерации на перспективу до 2005 года. Книга 3. Основные положения развития телефонной сети связи общего пользования. Утвержден Решением ГКЭС России от 20.12.95 г. № 140.

[20] ITU-T Rec. G. 703 General aspects of digital transmission systems. Terminal equipment. Physical characteristics of hierarchical digital interfaces.

[21] ITU-T Rec. G.7 04 General aspects of digital transmission systems. Synchronous frame structures used at 1544, 6312, 2048, 8488 and 44736 kbit/s hierarchical levels.

[22] ITU-T Rec. G. 732 General aspects of digital transmission systems. Terminal equipment. Characteristics of primary PCM multiplex equipment operating at 2048 kbit/s.

[23] ITU-T Rec. G. 823 Digital Networks. The Control of jitter and wander within digital networks which are based on the 2048 kbit/s hierarchy.

[24] Техническая спецификация ОКС № 7. Книга 1. Подсистема передачи сообщений (МТР) для национальной сети России (МТР-2000). Утверждена Минсвязи России 26.03.01 г.

[25] Техническая спецификация ОКС № 7. Книга 4. Подсистема пользователя ЦСИС (ISUP-R) для национальной сети России. Утверждена Минсвязи России 26.03.01 г.

[26] РД 45.223-2001 Система сигнализации. Утвержден Минсвязи России 20.12.01 г.

[27] «Общие технические требования к учрежденческо-производственным АТС (УПАТС), включаемым в общегосударственную телефонную сеть (ОГСТФС)». Утверждены Минсвязи России 01.07.94 г.

[28] Руководящий документ по общегосударственной системе автоматизированной телефонной связи (ОГСТФС). Утвержден 31.11.86 г.

[29] «Общие технические требования к малым УАТС с функциями ЦСИО». Утверждены Госкомсвязи России 18.03.98 г.

[30] «Дополнения в части требований цифровой сети интегрального обслуживания (ЦСИО) к общим техническим требованиям к учрежденческо-производственным АТС (УПАТС), включаемым в общегосударственную телефонную сеть (ОГСТфС)». Утверждены Минсвязи России 03.04.97 г.

[31] Технические требования к аппаратуре связи, реализующей функции маршрутизации пакетов протокола межсетевого обмена (аппаратура маршрутизации пакетов IP). Утверждены Госкомсвязи России 06.08.98 г.

[32] ITU-T Rec. Q.541 Digital exchanges. Digital exchanges design objectives - General.

[33] ITU-T Rec. Q.551 Digital exchanges. Transmission characteristics of digital exchanges.

[34] ITU-T Rec. D93 Charging and accounting in international telecommunication services. Charging and accounting in the international land mobile telephone service (provided via cellular radio systems).

[35] ITU-T Rec. 230 Telephone network and ISDN. Operation, numbering, routing and mobile service. Chargeable durations of calls.

[36] Q.1000. Structure of Q.1000 series. Recommendations for public land mobile networks.

[37] Общие технические требования. Автоматизированные системы расчетов с пользователями за услуги электросвязи. Утверждены Госкомсвязи России 16.06.98 г.

[38] Общие технические требования на электропитающие установки (централизованные и децетрализованные) и оборудование, входящее в их состав. Утверждены Минсвязи России 1994 г.

[39] МСЭ-Т Рекомендация K.20 Стойкость коммутационного оборудования электросвязи к перенапряжениям и избыточным токам.

[40] ETS 300 047 Integrated Services Digital Network (ISDN). Basic access - safety and protection.

[41] ETS 300 046 Integrated Services Digital Network (ISDN). Primary rate access - safety and protection.

[42] Общие технические требования к системе технических средств по обеспечению функций оперативно-розыскных мероприятий в транкинговых системах подвижной радиотелефонной связи (ОТТ СОРМ ТСПРС). Утверждены приказом № 15 Государственного комитета Российской Федерации по телекоммуникациям от 09.07.99 г.

[43] Технические требования к каналам обмена информацией между СОРМ и ПУ для сетей подвижной радиотелефонной связи. Утверждены приказом № 70 Государственного комитета Российской Федерации по телекоммуникациям от 20.04.99 г.

ЛИСТ РЕГИСТРАЦИИ ИЗМЕНЕНИЙ

Изм.

Номера листов (страниц)

Всего листов (страниц) в документе

Номер документа

входящий номер сопроводительного документа

Подпись

Дата

Измененных

замененных

новых

аннулированных

 

 

 

 

 

 

 

 

 

 

 

 

 

 

 

 

 

 

 

 

 

 



© 2013 Ёшкин Кот :-)