ОТРАСЛЕВОЙ СТАНДАРТ
|
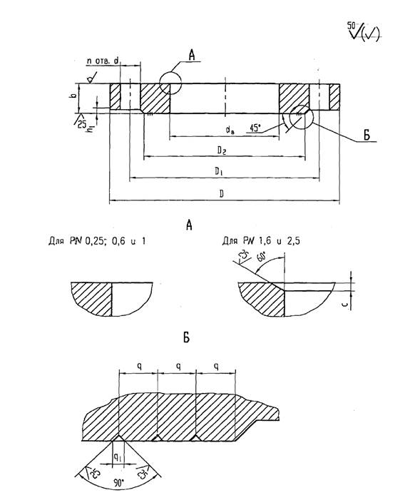
Детали
и сборочные единицы трубопроводов АС
Pраб
< 2,2 МПа (22 кгс/см2), t ≤
300 °С
ФЛАНЦЫ
ПЛОСКИЕ ПРИВАРНЫЕ
Конструкция
и размеры
|
ОСТ
34-10-425-90
|
Дата
введения 01.01.91
Несоблюдение стандарта преследуется по закону
1. Настоящий стандарт распространяется на
плоские приварные фланцы из коррозионностойкой
стали, предназначенные для трубопроводов атомных станций, на которые распространяются
правила НП-045
и СНиП
3.05.05.
Пределы применения фланцев приведены в таблице 1.
Таблица 1
|
Условное давление PN
|
Рабочее давление Pраб, МПа (кгс/см2) для
температуры среды, °С
|
|
200 °С
|
300 °С
|
|
0,25
|
0,25 (2,5)
|
0,22 (2,2)
|
|
0,63
|
0,60
(6,0)
|
0,56 (5,6)
|
|
1
|
1,00 (10,0)
|
0,90 (9,0)
|
|
1,6
|
1,60 (16,0)
|
1,40 (14,0)
|
|
2,5
|
2,20 (22,0)
|
2,20 (22,0)
|
(Измененная
редакция, Изм. № 3)
2. Конструкция и
размеры плоских приварных фланцев с патрубком должны соответствовать указанным
на рисунке 1 и в таблицах 2 и 3.

Рисунок 1
________________
* Размеры для справок
Таблица 2
размеры в мм
|
Обозначение
|
Условное давление PN
|
Условный проход DN
|
D
|
D1
|
Dр
|
S1 не
менее
|
L
|
l
|
h
|
d
|
n
|
K
|
K1
|
Масса, кг
|
|
Номин.
|
Пред. откл.
|
|
01
|
0,25
|
10
|
75
|
50
|
10,5
|
+0,18
|
1,5
|
153
|
-
|
3
|
12
|
4
|
2
|
-
|
0,35
|
|
02
|
15
|
80
|
55
|
13,5
|
2,0
|
154
|
4
|
3
|
0,44
|
|
03
|
20
|
90
|
65
|
19,5
|
+0,21
|
2,5
|
0,72
|
|
04
|
25
|
100
|
75
|
28
|
2,0
|
0,84
|
|
05
|
32
|
120
|
90
|
33
|
+0,25
|
2,5
|
14
|
1,22
|
|
06
|
50
|
140
|
110
|
52
|
+0,30
|
1,70
|
|
07
|
65
|
160
|
130
|
68
|
3,5
|
156
|
6
|
5
|
2,69
|
|
08
|
80
|
185
|
150
|
80
|
4,0
|
18
|
3,53
|
|
09
|
100
|
205
|
170
|
99
|
+0,35
|
4,23
|
|
10
|
125
|
235
|
200
|
124
|
+0,40
|
157
|
15
|
7
|
8
|
6
|
5,70
|
|
11
|
150
|
260
|
225
|
150
|
7,17
|
|
12
|
200
|
315
|
280
|
200
|
+0,46
|
7,5
|
162
|
25
|
12
|
11
|
14,85
|
|
13
|
209
|
5,0
|
158
|
15
|
8
|
7
|
10,81
|
|
14
|
250
|
370
|
335
|
255
|
+0,52
|
6,5
|
262
|
25
|
12
|
18
|
12
|
11
|
-
|
26,84
|
|
15
|
300
|
435
|
395
|
305
|
7,0
|
263
|
13
|
23
|
12
|
34,62
|
|
16
|
350
|
485
|
445
|
367
|
+0,57
|
4,5
|
257
|
15
|
7
|
6
|
25,04
|
|
17
|
400
|
535
|
495
|
412
|
+0,63
|
5,5
|
259
|
20
|
9
|
16
|
8
|
33,74
|
|
18
|
500
|
640
|
600
|
516
|
+0,70
|
6,5
|
309
|
48,97
|
|
19
|
600
|
755
|
705
|
616
|
27
|
20
|
60,77
|
|
20
|
608
|
9,5
|
313
|
25
|
13
|
12
|
80,41
|
|
21
|
700
|
860
|
810
|
703
|
+0,80
|
8,0
|
311
|
20
|
11
|
24
|
10
|
85,74
|
|
22
|
800
|
975
|
920
|
803
|
+0,90
|
30
|
101,25
|
|
23
|
900
|
1075
|
1020
|
903
|
7,0
|
116,76
|
|
24
|
1000
|
1175
|
1120
|
1003
|
+1,00
|
7,5
|
28
|
133,21
|
|
25
|
1200
|
1375
|
1320
|
1203
|
8,0
|
32
|
158,55
|
|
26
|
0,63
|
10
|
75
|
50
|
10,5
|
+0,18
|
1,5
|
153
|
-
|
3
|
12
|
4
|
2
|
-
|
0,41
|
|
27
|
15
|
80
|
55
|
13,5
|
2,0
|
154
|
4
|
3
|
0,49
|
|
28
|
20
|
90
|
65
|
19,5
|
+0,21
|
2,5
|
0,80
|
|
29
|
25
|
100
|
75
|
28
|
2,0
|
0,93
|
|
30
|
32
|
120
|
90
|
33
|
+0,25
|
2,5
|
14
|
1,43
|
|
31
|
50
|
140
|
110
|
52
|
+0,30
|
1,99
|
|
32
|
65
|
160
|
130
|
68
|
3,5
|
156
|
6
|
5
|
2,93
|
|
33
|
80
|
185
|
150
|
80
|
4,0
|
18
|
4,14
|
|
34
|
100
|
205
|
170
|
99
|
+0,35
|
4,94
|
|
35
|
125
|
235
|
200
|
124
|
+0,40
|
157
|
15
|
7
|
8
|
6
|
6,98
|
|
36
|
150
|
260
|
225
|
150
|
8,14
|
|
37
|
200
|
315
|
280
|
200
|
+0,46
|
7,5
|
162
|
25
|
12
|
11
|
16,04
|
|
38
|
209
|
5,0
|
158
|
15
|
8
|
7
|
12,01
|
|
39
|
250
|
370
|
335
|
255
|
+0,52
|
6,5
|
262
|
25
|
12
|
12
|
11
|
27,57
|
|
40
|
300
|
435
|
395
|
305
|
7,0
|
263
|
13
|
23
|
12
|
35,58
|
|
41
|
350
|
485
|
445
|
367
|
+0,57
|
4,5
|
257
|
15
|
7
|
6
|
27,24
|
|
42
|
400
|
535
|
495
|
412
|
+0,63
|
5,5
|
259
|
20
|
9
|
16
|
8
|
37,33
|
|
43
|
500
|
640
|
600
|
516
|
+0,70
|
6,5
|
309
|
52,72
|
|
44
|
600
|
755
|
705
|
616
|
27
|
20
|
65,71
|
|
45
|
608
|
9,5
|
313
|
25
|
13
|
12
|
83,52
|
|
46
|
700
|
860
|
810
|
703
|
+0,80
|
8,0
|
311
|
20
|
11
|
24
|
10
|
93,35
|
|
47
|
800
|
975
|
920
|
803
|
+0,90
|
30
|
110,86
|
|
48
|
900
|
1075
|
1020
|
903
|
7,0
|
127,77
|
|
49
|
1000
|
1175
|
1120
|
1003
|
+1,00
|
7,5
|
28
|
145,10
|
|
50
|
1
|
10
|
90
|
60
|
10,5
|
+0,18
|
1,5
|
153
|
-
|
3
|
14
|
4
|
2
|
0,56
|
|
51
|
15
|
95
|
65
|
13,5
|
2,0
|
154
|
4
|
3
|
0,66
|
|
52
|
20
|
105
|
75
|
19,5
|
+0,21
|
2,5
|
1,01
|
|
53
|
25
|
115
|
85
|
28
|
2,0
|
1,19
|
|
54
|
32
|
135
|
100
|
33
|
+0,25
|
2,5
|
18
|
1,82
|
|
55
|
50
|
160
|
125
|
52
|
+0,30
|
2,73
|
|
56
|
65
|
180
|
145
|
68
|
3,5
|
156
|
6
|
5
|
4,11
|
|
57
|
80
|
195
|
160
|
80
|
4,0
|
5,07
|
|
58
|
100
|
215
|
180
|
99
|
+0,35
|
8
|
6,06
|
|
59
|
125
|
245
|
210
|
124
|
+0,40
|
157
|
15
|
7
|
6
|
8,53
|
|
60
|
150
|
280
|
240
|
150
|
+0,40
|
4,0
|
157
|
15
|
7
|
23
|
8
|
6
|
10,39
|
|
61
|
200
|
335
|
295
|
200
|
+0,46
|
7,5
|
162
|
25
|
12
|
11
|
18,22
|
|
62
|
209
|
5,0
|
158
|
15
|
8
|
7
|
14,18
|
|
63
|
250
|
390
|
350
|
255
|
+0,52
|
6,5
|
262
|
25
|
12
|
12
|
11
|
30,54
|
|
64
|
300
|
440
|
400
|
305
|
7,0
|
263
|
13
|
12
|
38,23
|
|
65
|
350
|
500
|
460
|
367
|
+0,57
|
4,5
|
257
|
15
|
7
|
16
|
6
|
30,49
|
|
66
|
400
|
665
|
515
|
412
|
+0,63
|
5,5
|
259
|
20
|
9
|
27
|
8
|
43,75
|
|
67
|
500
|
670
|
620
|
516
|
+0,70
|
6,5
|
309
|
20
|
60,78
|
|
68
|
600
|
780
|
725
|
616
|
30
|
79,00
|
|
69
|
608
|
9,5
|
313
|
25
|
13
|
12
|
98,64
|
|
70
|
1,6
|
10
|
90
|
60
|
10,5
|
+0,18
|
1,5
|
153
|
-
|
3
|
14
|
4
|
2
|
5
|
0,64
|
|
71
|
15
|
95
|
65
|
13,5
|
2,0
|
154
|
4
|
3
|
6
|
0,77
|
|
72
|
20
|
105
|
75
|
19,5
|
+0,21
|
2,5
|
7
|
1,14
|
|
73
|
25
|
115
|
85
|
28
|
2,0
|
6
|
1,47
|
|
74
|
32
|
135
|
100
|
33
|
+0,25
|
2,5
|
18
|
7
|
2,00
|
|
75
|
50
|
160
|
125
|
52
|
+0,30
|
3,25
|
|
76
|
65
|
180
|
145
|
68
|
+0,30
|
3,5
|
156
|
6
|
18
|
4
|
5
|
10
|
4,74
|
|
77
|
80
|
195
|
160
|
80
|
4,0
|
11
|
5,43
|
|
78
|
100
|
215
|
180
|
99
|
+0,35
|
8
|
6,85
|
|
79
|
125
|
245
|
210
|
124
|
+0,40
|
157
|
15
|
7
|
6
|
12
|
9,52
|
|
80
|
150
|
280
|
240
|
150
|
23
|
11,61
|
|
81
|
200
|
335
|
295
|
200
|
+0,46
|
7,5
|
162
|
25
|
12
|
12
|
11
|
21
|
20,29
|
|
82
|
209
|
4,0
|
158
|
15
|
8
|
7
|
14
|
16,25
|
|
83
|
250
|
405
|
355
|
255
|
+0,52
|
6,5
|
262
|
25
|
12
|
27
|
11
|
21
|
34,45
|
|
84
|
300
|
460
|
410
|
305
|
7,0
|
263
|
13
|
12
|
23
|
43,16
|
|
85
|
350
|
520
|
470
|
367
|
+0,57
|
4,0
|
257
|
15
|
7
|
16
|
6
|
12
|
37,60
|
|
86
|
400
|
580
|
525
|
412
|
+0,63
|
6,0
|
259
|
20
|
9
|
30
|
8
|
16
|
53,29
|
|
87
|
500
|
710
|
650
|
516
|
+0,70
|
5,5
|
309
|
33
|
20
|
90,38
|
|
88
|
600
|
840
|
770
|
616
|
40
|
120,31
|
|
89
|
608
|
9,5
|
313
|
25
|
13
|
12
|
23
|
139,95
|
|
90
|
2,5
|
10
|
90
|
60
|
10,5
|
+0,18
|
1,5
|
153
|
-
|
3
|
14
|
4
|
2
|
5
|
0,74
|
|
91
|
15
|
95
|
65
|
13,5
|
2,0
|
154
|
4
|
3
|
6
|
0,86
|
|
92
|
20
|
105
|
75
|
19,5
|
+0,21
|
2,5
|
154
|
7
|
1,26
|
|
93
|
25
|
115
|
85
|
28
|
2,0
|
6
|
1,47
|
|
94
|
32
|
135
|
100
|
33
|
+0,25
|
2,5
|
18
|
7
|
2,19
|
|
95
|
50
|
150
|
125
|
52
|
+0,30
|
3,38
|
|
96
|
65
|
180
|
145
|
68
|
3,5
|
156
|
6
|
8
|
5
|
10
|
4,53
|
|
97
|
80
|
195
|
160
|
80
|
4,0
|
11
|
5,78
|
|
98
|
100
|
230
|
190
|
99
|
+0,35
|
23
|
8,05
|
|
99
|
125
|
270
|
220
|
124
|
+0,40
|
157
|
15
|
7
|
27
|
6
|
12
|
11,42
|
|
100
|
150
|
300
|
250
|
150
|
13,94
|
|
101
|
200
|
360
|
310
|
200
|
+0,46
|
7,5
|
162
|
25
|
12
|
12
|
11
|
21
|
23,56
|
|
102
|
209
|
5,0
|
158
|
15
|
8
|
7
|
14
|
19,52
|
|
103
|
250
|
425
|
370
|
255
|
+0,52
|
6,5
|
262
|
25
|
12
|
30
|
11
|
21
|
38,92
|
|
104
|
300
|
485
|
430
|
305
|
7,0
|
263
|
13
|
16
|
12
|
23
|
49,40
|
|
105
|
350
|
550
|
400
|
367
|
+0,57
|
4,5
|
257
|
15
|
7
|
33
|
6
|
12
|
49,18
|
|
106
|
400
|
610
|
550
|
412
|
+0,63
|
5,5
|
259
|
20
|
9
|
8
|
16
|
67,05
|
|
107
|
500
|
730
|
660
|
516
|
+0,70
|
6,5
|
309
|
40
|
20
|
100,77
|
Пример условного
обозначения фланца плоского приварного с патрубком
1. DN 500 мм PN 2,5 МПа для
трубопроводов, на которые распространяются НП-045
Фланец с
патрубком П500-2,5 107 ОСТ 34-10-425-90,
2. То же, для
трубопроводов, на которые распространяются СНиП
3.05.05:
Фланец с
патрубком 500-2,5 107 ОСТ 34-10-425-90.
(Измененная
редакция, Изм. № 3)
Таблица 3
|
Фланец плоский приварной
|
Поз. 1
Фланец
|
Поз. 2
Патрубок
|
|
Обозначения по настоящему стандарту
|
Размеры,
мм
|
Масса,
кг
|
|
Dн×S
|
L1
|
|
01
|
1-01
|
14×2
|
150
|
0,09
|
|
02
|
1-02
|
18×2,5
|
0,14
|
|
03
|
1-03
|
25×3
|
0,25
|
|
04
|
1-04
|
32×2,5
|
0,27
|
|
05
|
1-05
|
38×3
|
0,38
|
|
06
|
1-06
|
57×3
|
0,60
|
|
07
|
1-07
|
76×4,5
|
1,20
|
|
08
|
1-08
|
89×5
|
1,56
|
|
09
|
1-09
|
108×5
|
1,92
|
|
10
|
1-10
|
133×6
|
2,83
|
|
11
|
1-11
|
159×6
|
3,42
|
|
12
|
1-12
|
219×11
|
8,51
|
|
13
|
220×7
|
5,55
|
|
14
|
1-13
|
273×11
|
250
|
17,87
|
|
15
|
1-14
|
325×12
|
23,29
|
|
16
|
1-15
|
377×6
|
13,79
|
|
17
|
1-16
|
426×8
|
20,74
|
|
18
|
1-17
|
530×8
|
300
|
31,26
|
|
19
|
1-18
|
630×8
|
37,38
|
|
20
|
630×12
|
55,19
|
|
21
|
1-19
|
720×10
|
52,83
|
|
22
|
1-20
|
820×10
|
60,28
|
|
23
|
1-21
|
920×10
|
67,72
|
|
24
|
1-22
|
1020×10
|
75,16
|
|
25
|
1-23
|
1220×10
|
90,05
|
|
26
|
1-24
|
14×2
|
150
|
0,09
|
|
27
|
1-25
|
18×2,5
|
0,14
|
|
28
|
1-26
|
25×3
|
0,25
|
|
29
|
1-27
|
32×2,5
|
0,27
|
|
30
|
1-28
|
38×3
|
0,38
|
|
31
|
1-29
|
57×3
|
0,60
|
|
32
|
1-30
|
76×4,5
|
1,20
|
|
33
|
1-31
|
89×5
|
1,56
|
|
34
|
1-32
|
108×5
|
1,92
|
|
35
|
1-33
|
133×6
|
2,83
|
|
36
|
1-34
|
159×6
|
3,42
|
|
37
|
1-35
|
219×11
|
8,51
|
|
38
|
220×7
|
5,55
|
|
39
|
1-36
|
273×11
|
250
|
17,87
|
|
40
|
1-37
|
325×12
|
23,29
|
|
41
|
1-38
|
377×6
|
13,79
|
|
42
|
1-39
|
426×8
|
20,74
|
|
43
|
1-40
|
530×8
|
300
|
31,26
|
|
44
|
1-41
|
630×8
|
37,38
|
|
45
|
630×12
|
55,19
|
|
46
|
1-42
|
720×10
|
52,83
|
|
47
|
1-43
|
820×10
|
60,28
|
|
48
|
1-44
|
920×10
|
67,72
|
|
49
|
1-45
|
1020×10
|
75,16
|
|
50
|
1-46
|
14×2
|
150
|
0,09
|
|
51
|
1-47
|
18×2,5
|
0,14
|
|
52
|
1-48
|
25×3
|
0,25
|
|
53
|
1-49
|
32×2,5
|
0,27
|
|
54
|
1-50
|
38×3
|
0,38
|
|
55
|
1-51
|
57×3
|
0,60
|
|
56
|
1-52
|
76×4,5
|
1,20
|
|
57
|
1-53
|
89×5
|
1,56
|
|
58
|
1-54
|
108×5
|
1,92
|
|
59
|
1-55
|
133×6
|
2,83
|
|
60
|
1-56
|
159×6
|
3,42
|
|
61
|
1-57
|
219×11
|
8,51
|
|
62
|
220×7
|
5,55
|
|
63
|
1-58
|
273×11
|
250
|
17,87
|
|
64
|
1-59
|
325×12
|
23,29
|
|
65
|
1-60
|
377×6
|
13,79
|
|
66
|
1-61
|
426×8
|
20,74
|
|
67
|
1-62
|
530×8
|
300
|
31,26
|
|
68
|
1-63
|
630×8
|
37,38
|
|
69
|
630×12
|
55,19
|
|
70
|
1-64
|
14×2
|
150
|
0,09
|
|
71
|
1-65
|
18×2,5
|
0,14
|
|
72
|
1-66
|
25×3
|
0,25
|
|
73
|
1-67
|
32×2,5
|
0,27
|
|
74
|
1-68
|
38×3
|
0,38
|
|
75
|
1-69
|
57×3
|
0,60
|
|
76
|
1-70
|
76×4,5
|
1,20
|
|
77
|
1-71
|
89×5
|
1,56
|
|
78
|
1-72
|
108×5
|
1,92
|
|
79
|
1-73
|
133×6
|
2,83
|
|
80
|
1-74
|
159×6
|
3,42
|
|
81
|
1-75
|
219×11
|
8,51
|
|
82
|
1-76
|
220×7
|
5,55
|
|
83
|
1-77
|
273×11
|
250
|
17,87
|
|
84
|
1-78
|
325×12
|
23,29
|
|
85
|
1-79
|
377×5
|
13,79
|
|
86
|
1-80
|
429×8
|
20,74
|
|
87
|
1-81
|
530×8
|
300
|
31,26
|
|
88
|
1-82
|
630×8
|
37,38
|
|
89
|
1-83
|
630×12
|
55,19
|
|
90
|
1-84
|
14×2
|
150
|
0,09
|
|
91
|
1-85
|
18×2,5
|
0,14
|
|
92
|
1-86
|
25×3
|
0,25
|
|
93
|
1-87
|
32×2,5
|
0,27
|
|
94
|
1-88
|
38×3
|
0,38
|
|
95
|
1-89
|
57×3
|
0,60
|
|
96
|
1-90
|
76×4,5
|
1,20
|
|
97
|
1-91
|
89×5
|
1,56
|
|
98
|
1-92
|
108×5
|
1,92
|
|
99
|
1-93
|
133×6
|
2,83
|
|
100
|
1-94
|
159×6
|
3,42
|
|
101
|
1-95
|
219×11
|
8,51
|
|
102
|
1-96
|
220×7
|
5,55
|
|
103
|
1-97
|
273×11
|
250
|
17,87
|
|
104
|
1-98
|
325×12
|
23,29
|
|
105
|
1-99
|
377×6
|
13,79
|
|
106
|
1-100
|
426×8
|
20,74
|
|
107
|
1-101
|
530×8
|
300
|
31,26
|
3. Конструкция и размеры плоских приварных фланцев должны соответствовать указанным на рисунке. 2 и в табл. 4.

Рисунок 2
Таблица 4
Размеры в мм
|
Обозначение
|
Условное давление PN
|
Условный проход DN
|
D
|
D1
|
D2
|
dв
|
d
|
n
|
b
|
h1
|
c
|
q
|
q1
|
Кол. канавок
|
Масса, кг
|
|
1-01
|
0,25
|
10
|
75
|
50
|
35
|
15
|
12
|
4
|
10
|
2
|
-
|
4
|
1
|
2
|
0,25
|
|
1-02
|
15
|
80
|
55
|
40
|
19
|
0,29
|
|
1-03
|
20
|
90
|
65
|
50
|
26
|
12
|
0,45
|
|
1-04
|
25
|
100
|
75
|
60
|
33
|
0,55
|
|
1-05
|
32
|
120
|
90
|
70
|
39
|
14
|
0,80
|
|
1-06
|
50
|
140
|
110
|
90
|
59
|
13
|
3
|
1,05
|
|
1-07
|
65
|
160
|
130
|
110
|
78
|
14
|
1,40
|
|
1-08
|
80
|
185
|
150
|
128
|
91
|
18
|
5
|
3
|
1,85
|
|
1-09
|
100
|
205
|
170
|
148
|
110
|
2,16
|
|
1-10
|
125
|
235
|
200
|
178
|
135
|
8
|
2,62
|
|
1-11
|
150
|
260
|
225
|
202
|
161
|
16
|
3,45
|
|
1-12
|
200
|
315
|
280
|
258
|
222
|
18
|
4,76
|
|
1-13
|
250
|
370
|
335
|
312
|
273
|
12
|
21
|
7,02
|
|
1-14
|
300
|
435
|
395
|
365
|
325
|
23
|
22
|
4
|
1,0
|
9,42
|
|
1-15
|
350
|
485
|
445
|
415
|
377
|
10,55
|
|
1-16
|
400
|
535
|
495
|
465
|
426
|
16
|
11,76
|
|
1-17
|
500
|
640
|
600
|
570
|
530
|
24
|
16,17
|
|
1-18
|
600
|
755
|
705
|
670
|
630
|
27
|
20
|
25
|
5
|
21,56
|
|
1-19
|
700
|
860
|
810
|
775
|
720
|
24
|
26
|
6
|
1,5
|
29,44
|
|
1-20
|
800
|
975
|
920
|
880
|
820
|
30
|
36,99
|
|
1-21
|
900
|
1075
|
1020
|
980
|
920
|
28
|
44,64
|
|
1-22
|
1000
|
1175
|
1120
|
1080
|
1020
|
28
|
30
|
53,11
|
|
1-23
|
1200
|
1375
|
1320
|
1280
|
1220
|
32
|
62,98
|
|
1-24
|
0,63
|
10
|
75
|
50
|
35
|
15
|
12
|
4
|
12
|
2
|
-
|
4
|
1
|
2
|
0,31
|
|
1-25
|
15
|
80
|
55
|
40
|
19
|
0,33
|
|
1-26
|
20
|
90
|
65
|
50
|
26
|
14
|
0,53
|
|
1-27
|
25
|
100
|
75
|
60
|
33
|
0,64
|
|
1-28
|
32
|
120
|
90
|
70
|
39
|
14
|
15
|
1,02
|
|
1-29
|
50
|
140
|
110
|
90
|
59
|
16
|
3
|
1,34
|
|
1-30
|
65
|
160
|
130
|
110
|
78
|
1,64
|
|
1-31
|
80
|
185
|
150
|
128
|
91
|
18
|
18
|
5
|
3
|
2,46
|
|
1-32
|
100
|
205
|
170
|
148
|
110
|
2,87
|
|
1-33
|
125
|
235
|
200
|
178
|
135
|
8
|
20
|
3,90
|
|
1-34
|
150
|
260
|
225
|
202
|
161
|
4,42
|
|
1-35
|
200
|
315
|
280
|
258
|
222
|
22
|
5,95
|
|
1-36
|
250
|
370
|
335
|
312
|
273
|
12
|
23
|
7,75
|
|
1-37
|
300
|
435
|
395
|
365
|
325
|
23
|
24
|
4
|
10,38
|
|
1-38
|
350
|
485
|
445
|
415
|
377
|
26
|
12,75
|
|
1-39
|
400
|
535
|
495
|
465
|
426
|
16
|
28
|
4
|
5
|
1,0
|
15,35
|
|
1-40
|
500
|
640
|
600
|
570
|
530
|
29
|
19,92
|
|
1-41
|
600
|
755
|
705
|
670
|
630
|
27
|
20
|
30
|
5
|
26,50
|
|
1-42
|
700
|
860
|
810
|
775
|
720
|
24
|
32
|
6
|
1,5
|
37,05
|
|
1-43
|
800
|
975
|
920
|
880
|
820
|
30
|
46,60
|
|
1-44
|
900
|
1075
|
1020
|
980
|
920
|
34
|
55,65
|
|
1-45
|
1000
|
1175
|
1120
|
1080
|
1020
|
28
|
36
|
65,00
|
|
1-46
|
1
|
10
|
90
|
60
|
40
|
15
|
14
|
4
|
12
|
2
|
4
|
1,0
|
2
|
0,46
|
|
1-47
|
15
|
95
|
65
|
45
|
19
|
0,51
|
|
1-48
|
20
|
105
|
75
|
58
|
26
|
14
|
0,74
|
|
1-49
|
25
|
115
|
85
|
68
|
33
|
0,90
|
|
1-50
|
32
|
135
|
100
|
78
|
39
|
18
|
16
|
1,41
|
|
1-51
|
50
|
160
|
125
|
102
|
59
|
18
|
3
|
2,08
|
|
1-52
|
65
|
180
|
145
|
122
|
78
|
20
|
2,82
|
|
1-53
|
80
|
195
|
160
|
138
|
91
|
5
|
3
|
3,22
|
|
1-54
|
100
|
215
|
180
|
158
|
110
|
18
|
8
|
22
|
3
|
1
|
3,99
|
|
1-55
|
125
|
245
|
210
|
188
|
135
|
24
|
5,45
|
|
1-56
|
150
|
280
|
240
|
212
|
161
|
23
|
6,67
|
|
1-57
|
200
|
335
|
295
|
268
|
222
|
8,13
|
|
1-58
|
250
|
390
|
350
|
320
|
273
|
12
|
26
|
10,72
|
|
1-59
|
300
|
440
|
400
|
370
|
325
|
28
|
4
|
13,03
|
|
1-60
|
350
|
500
|
460
|
430
|
377
|
16
|
16,00
|
|
1-61
|
400
|
565
|
515
|
482
|
426
|
27
|
30
|
21,77
|
|
1-62
|
500
|
670
|
620
|
585
|
530
|
20
|
32
|
27,98
|
|
1-63
|
600
|
780
|
725
|
685
|
630
|
30
|
36
|
5
|
39,79
|
|
1-64
|
1,6
|
10
|
90
|
60
|
40
|
15
|
14
|
4
|
14
|
2
|
2
|
4
|
2
|
0,54
|
|
1-65
|
15
|
95
|
65
|
45
|
19
|
3
|
0,62
|
|
1-66
|
20
|
105
|
75
|
58
|
26
|
16
|
0,87
|
|
1-67
|
25
|
115
|
85
|
68
|
33
|
18
|
1,18
|
|
1-68
|
32
|
135
|
109
|
78
|
39
|
18
|
5
|
3
|
1,59
|
|
1-69
|
50
|
160
|
125
|
102
|
59
|
22
|
3
|
3
|
1,0
|
2,60
|
|
1-70
|
65
|
180
|
145
|
122
|
78
|
24
|
5
|
3,45
|
|
1-71
|
80
|
195
|
160
|
138
|
91
|
3,75
|
|
1-72
|
100
|
215
|
180
|
158
|
110
|
8
|
26
|
4,78
|
|
1-73
|
125
|
245
|
210
|
188
|
135
|
28
|
6
|
6,44
|
|
1-74
|
150
|
280
|
240
|
212
|
161
|
23
|
7,89
|
|
1-75
|
200
|
335
|
295
|
268
|
222
|
12
|
30
|
11
|
10,20
|
|
1-76
|
7
|
|
1-77
|
250
|
405
|
365
|
320
|
273
|
27
|
31
|
11
|
14,63
|
|
1-78
|
300
|
460
|
410
|
378
|
325
|
32
|
4
|
12
|
6
|
1,5
|
17,96
|
|
1-79
|
350
|
520
|
470
|
438
|
377
|
16
|
34
|
16
|
23,11
|
|
1-80
|
400
|
580
|
525
|
490
|
426
|
30
|
16
|
38
|
8
|
31,31
|
|
1-81
|
500
|
710
|
650
|
610
|
530
|
33
|
20
|
48
|
57,58
|
|
1-82
|
600
|
840
|
770
|
720
|
630
|
40
|
50
|
5
|
4
|
81,10
|
|
1-83
|
12
|
|
1-84
|
2,5
|
10
|
90
|
60
|
40
|
15
|
14
|
4
|
16
|
2
|
2
|
4
|
1,0
|
2
|
0,64
|
|
1-85
|
15
|
95
|
65
|
45
|
19
|
3
|
0,71
|
|
1-86
|
20
|
105
|
75
|
58
|
26
|
18
|
0,99
|
|
1-87
|
25
|
115
|
85
|
68
|
33
|
1,18
|
|
1-88
|
32
|
135
|
100
|
78
|
39
|
18
|
20
|
5
|
3
|
1,78
|
|
1-89
|
50
|
160
|
125
|
102
|
59
|
24
|
3
|
2,73
|
|
1-90
|
65
|
180
|
145
|
122
|
78
|
8
|
5
|
3,24
|
|
1-91
|
80
|
195
|
160
|
138
|
91
|
26
|
4,10
|
|
1-92
|
100
|
230
|
190
|
162
|
110
|
23
|
28
|
6
|
1,5
|
5,98
|
|
1-93
|
125
|
270
|
220
|
188
|
135
|
27
|
30
|
6
|
8,34
|
|
1-94
|
150
|
300
|
250
|
218
|
161
|
10,22
|
|
1-95
|
200
|
360
|
310
|
278
|
222
|
12
|
32
|
11
|
13,47
|
|
1-96
|
7
|
|
1-97
|
250
|
425
|
370
|
335
|
273
|
30
|
34
|
11
|
19,10
|
|
1-98
|
300
|
485
|
430
|
390
|
325
|
16
|
36
|
4
|
12
|
4
|
24,20
|
|
1-99
|
350
|
550
|
490
|
450
|
377
|
33
|
42
|
6
|
34,69
|
|
1-100
|
400
|
610
|
550
|
505
|
426
|
44
|
8
|
45,07
|
|
1-101
|
500
|
730
|
660
|
615
|
530
|
40
|
20
|
52
|
67,97
|
4. Материал:
1) фланцев -
сталь листовая по марок 08Х18Н10Т или 12Х18Н10Т
по ГОСТ
5632;
2) патрубков
- для DN ≤ 300 мм -
трубы
бесшовные из стали марок
08Х18Н10Т, 12Х18Н10Т см. СТО
79814898 109;
-
для DN ≥ 350 мм - трубы сварные из стали марок 08Х18Н10Т,
12Х18Н10Т по ТУ 95.349.
5. С целью обеспечения допустимого смещения кромок
при S
≤
5 мм выполнить калибровку или цилиндрическую
раздачу конца патрубка.
6.
Длины патрубков (L1), указанные в
таблице 3, могут быть увеличены по
усмотрению организации, проектирующей трубопроводы.
7. Неуказанные
предельные отклонения размеров - по классу точности «грубый» ГОСТ
30893.1.
8. Болты,
шпильки, гайки и шайбы для соединения фланцев должны изготавливаться из стали
08Х16Н13М2Б по ГОСТ
5632.
9. Технические
требования на сталь сортовую - по ГОСТ
5949.
10. Технические
требования на крепежные детали - по ГОСТ
20700.
11. Сварные
стыковые соединения с трубопроводом - по СТО
79814898 110.
12. Методы и
объем контроля сварных соединений - в соответствии с СТО
79814898 108. Для сварки угловых швов допускается послойный контроль
внешним осмотром и измерением.
13. Остальные
технические требования на фланцы по ГОСТ
12815, ГОСТ
12816, ГОСТ
12820.
(Измененная
редакция, Изм. № 3)
ИНФОРМАЦИОННЫЕ
ДАННЫЕ
УТВЕРЖДЕН
ПРИКАЗОМ Министерства энергетики и электрификации СССР от 14 ноября 1990 года №
168а.
ИСПОЛНИТЕЛИ:
Л.Б. Грузер, Н.Г. Нечаева, В.А. Малашонок, В.И. Есарев, В.В. Горбачев, И.А.
Головин, Л.М. Иванова, Л.Е. Иевлева, М.В. Морозюк.
ЗАРЕГИСТРИРОВАН
ВИФС за № 8433465 от 28.02.91.
ССЫЛОЧНЫЕ НОРМАТИВНЫЕ
ДОКУМЕНТЫ
|
Обозначение документа, на
который дана ссылка
|
Номер
пункта
|
|
ГОСТ
5632-72 Стали высоколегированные и сплавы коррозионностойкие, жаростойкие
и жаропрочные. Марки
|
4, 8
|
|
ГОСТ
5949-75 Сталь сортовая и калиброванная коррозионностойкая, жаростойкая и
жаропрочная. Технические условия
|
9
|
|
ГОСТ
7350-77 Сталь толстолистовая коррозионностойкая, жаростойкая и
жаропрочная. Технические условия
|
4
|
|
ГОСТ
12815-80 Фланцы арматуры, соединительных частей и трубопроводов на Ру от
0,1 до 20,0 МПа (от 1 до 200 кгс/см2). Типы. Присоединительные
размеры и размеры уплотнительных поверхностей
|
13
|
|
ГОСТ
12816-80 Фланцы арматуры, соединительных частей и трубопроводов на Ру от
0,1 до 20,0 МПа (от 1 до 200 кгс/см2). Общие технические
требования
|
13
|
|
ГОСТ
20700-75 Болты, шпильки, гайки и шайбы для фланцевых и анкерных
соединений, пробки и хомуты с температурой среды от 0 до 650 ° С. Технические
условия
|
13
|
|
ГОСТ
30893.1-2002 Основные нормы взаимозаменяемости. Общие допуски. Предельные
отклонения линейных и угловых размеров с неуказанными допусками
|
10
|
|
НП-045-03
Правила устройства и безопасной эксплуатации трубопроводов пара и горячей
воды для объектов использования атомной энергии
|
7
|
|
СНиП
3.05.05-84 Строительные нормы а правила. Технологическое оборудование и
технологические трубопроводы
|
1
|
|
СТО
79814898 108-2009 детали и элементы трубопроводов атомных станций из
коррозионно-стойкой стали на давление до 2,2 МПа (22 кгс/см2).
Технические требования
|
13
|
|
СТО
79814898 109-2009 детали и элементы трубопроводов атомных станций из
коррозионно-стойкой стали на давление до 2,2 МПа (22 кгс/см2).
Трубы и прокат. Сортамент
|
4
|
|
СТО
79814898 110-2009 детали п элементы трубопроводов атомных станций из
коррозионно-стойкой стали па давление до 2,2 МПа (22 кгс/см2).
Соединения сварные. Типы и размеры
|
11
|
|
ТУ 95.349-2000 Трубы
электросварные прямошовные из стали марок 08Х18Н10Т, 12ХI8Н10Т для атомных
электрических и тепловых станций. Технические условия.
|
4
|
ПЕРЕИЗДАНИЕ С
ИЗМЕНЕНИЯМИ
№ 1 от 02.06.90
№ 115
№ 2 от
23.01.2001 № 17
(Измененная
редакция, Изм. 3)
Лист регистрации изменений ОСТ
34-10-425-90
|
Изм.
|
Номера листов (страниц)
|
Номер документа
|
Подпись
|
Дата
|
Срок введения изменения
|
|
измененных
|
замененных
|
новых
|
аннулированных
|
|
|
|
|
|
|
|
|
|
|
|
|
|
|
|
|
|
|
|
|
|
|
|
|
|
|
|
|
|
|
|
|
|
|
|
|
|
|
|
|
|
|
|
|
|
|
|
|
|
|
|
ИЗМЕНЕНИЕ № 3
|
ОСТ 34-10-425-90
|
|
обозначение
стандарта ЗАО «Институт «СЗЭМП»
|
|
Детали
и сборочные единицы трубопроводов АС
Pраб
< 2,2 МПа (22 кгс/см2), t ≤
300 °С. Фланцы плоские приварные. Конструкция и размеры
|
Утверждено и
введено в действие приказом от2I декабря 2010 г. № 49-У
Дата введения –
2011-01-01
В тексте
стандарта заменить «Ру» на «РN», «Dу» на «DN»;
удалить единицы
измерения указанных параметров.
Провести
корректировку ссылочных документов.
Листы 1, 8, 18,
19 заменить.
Изменение
произвести закрашиванием белым цветом и заменой листов.
|