Информационная система
«Ёшкин Кот»

XXXecatmenu

МЕЖГОСУДАРСТВЕННЫЙ СОВЕТ ПО СТАНДАРТИЗАЦИИ,
МЕТРОЛОГИИ И СЕРТИФИКАЦИИ
(МГС)

INTERSTATE COUNCIL FOR STANDARDIZATION,
METROLOGY AND CERTIFICATION (ISC)

МЕЖГОСУДАРСТВЕННЫЙ СТАНДАРТ

ГОСТ 31254-2004
(ИСО 14660-1:1999,
ИСО 14660-2:1999)

 

ОСНОВНЫЕ НОРМЫ ВЗАИМОЗАМЕНЯЕМОСТИ

ГЕОМЕТРИЧЕСКИЕ ЭЛЕМЕНТЫ

ОБЩИЕ ТЕРМИНЫ И ОПРЕДЕЛЕНИЯ

 

 

Москва
Стандартинформ
2005

 

Предисловие

Цели, основные принципы и основной порядок проведения работ по межгосударственной стандартизации установлены ГОСТ 1.0-92 «Межгосударственная система стандартизации. Основные положения» и ГОСТ 1.2-97 «Межгосударственная система стандартизации. Стандарты межгосударственные, правила и рекомендации по межгосударственной стандартизации. Порядок разработки, принятия, применения, обновления и отмены»

Сведения о стандарте

1 РАЗРАБОТАН Научно-исследовательским и конструкторским институтом средств измерения в машиностроении (ОАО «НИИизмерения»)

2 ВНЕСЕН Госстандартом России

3 ПРИНЯТ Межгосударственным советом по стандартизации, метрологии и сертификации (протокол № 25 от 26 мая 2004 г.)

За принятие проголосовали:

Краткое наименование страны по МК (ИСО 3166) 004-97

Код страны по МК (ИСО 3166) 004-97

Сокращенное наименование национального органа по стандартизации

Азербайджан

AZ

Азстандарт

Армения

AM

Армстандарт

Беларусь

BY

Госстандарт Республики Беларусь

Грузия

GE

Грузстандарт

Казахстан

KZ

Госстандарт Республики Казахстан

Кыргызстан

KG

Кыргызстандарт

Молдова

MD

Молдова-Стандарт

Российская Федерация

RU

Госстандарт России

Таджикистан

TJ

Таджикстандарт

Туркменистан

TM

Главгосслужба «Туркменстандартлары»

Узбекистан

UZ

Узстандарт

Украина

UA

Госпотребстандарт Украины

4 Настоящий стандарт включает в себя модифицированные основные нормативные положения (и приложения) следующих международных стандартов:

ИСО 14660-1:1999 «Геометрические требования к изделиям. Геометрические элементы. Часть 1: Общие термины и определения»

(ISO 14660-1:1999 «Geometrical Product Specifications (GPS) - Geometrical features - Part 1: General terms and definitions»)

ИСО 14660-2:1999 «Геометрические требования к изделиям. Геометрические элементы. Часть 2: Выявленная средняя линия цилиндра и конуса, выявленная средняя поверхность, местный размер выявленного элемента»

(ISO 14660-2:1999 «Geometrical Product Specifications (GPS) - Geometrical features - Part 2: Extracted meadian line of a cylinder and a cone, extracted median surface, local size of an extracted feature»)

При этом дополнительные положения, учитывающие потребности национальной экономики указанных выше государств и особенности межгосударственной стандартизации, выделены курсивом

5 Приказом Федерального агентства по техническому регулированию и метрологии от 2 марта 2005 г. № 40-ст межгосударственный стандарт ГОСТ 31254-2004 введен в действие непосредственно в качестве национального стандарта Российской Федерации с 1 июля 2005 г.

6 ВВЕДЕН ВПЕРВЫЕ

 

СОДЕРЖАНИЕ

ГОСТ 31254-2004
(ИСО 14660-1:1999,
ИСО 14660-2:1999)

МЕЖГОСУДАРСТВЕННЫЙ СТАНДАРТ

Основные нормы взаимозаменяемости

ГЕОМЕТРИЧЕСКИЕ ЭЛЕМЕНТЫ

Общие термины и определения

Basic norms of interchangeability. Geometrical features. General terms and definitions

Дата введения - 2005-07-01

1 Область применения

Настоящий стандарт распространяется на основные нормы размерной и геометрической точности и взаимозаменяемости в машиностроении и устанавливает общие термины и определения для геометрических элементов.

Общие определения, установленные настоящим стандартом, являются основой для определений «по умолчанию» (если не задано иное) для рассматриваемых элементов (см. приложение А) и для других определений, которые не охвачены настоящим стандартом.

Примечание - Установленные в настоящем стандарте термины для геометрических элементов являются новыми по сравнению с применявшимися (это же имеет место и в английском, французском и немецком языках). Их введение стало необходимым для однозначного описания и беспрепятственного математического определения различных видов геометрических элементов.

2 Нормативные ссылки

В настоящем стандарте использованы ссылки на следующие межгосударственные стандарты:

ГОСТ 2.307-68 Единая система конструкторской документации. Нанесение размеров и предельных отклонений (ИСО 286-1-88, ИСО 1101-83 и ИСО 1302-92)

ГОСТ 2.308-79 Единая система конструкторской документации. Указание на чертежах допусков формы и расположения поверхностей

ГОСТ 2.309-73 Единая система конструкторской документации. Обозначение шероховатости поверхности

ГОСТ 24642-81 Основные нормы взаимозаменяемости. Допуски формы и расположения поверхностей. Основные определения

ГОСТ 25346-89 Основные нормы взаимозаменяемости. ЕСДП. Общие положения, ряды допусков и основных отклонений

Примечание - При пользовании настоящим стандартом целесообразно проверить действие ссылочных стандартов по указателю «Национальные стандарты», составленному по состоянию на 1 января текущего года, и по соответствующим информационным указателям, опубликованным в текущем году. Если ссылочный стандарт заменен (изменен), то при пользовании настоящим стандартом следует руководствоваться замененным (измененным) стандартом. Если ссылочный стандарт отменен без замены, то положение, в котором дана ссылка на него, применяется в части, не затрагивающей эту ссылку.

3 Общие термины и определения

3.1 элемент, геометрический элемент: Точка, линия или поверхность.

3.1.1 полный геометрический элемент: Поверхность или линия на поверхности.

3.1.2 производный геометрический элемент: Средняя точка, средняя линия или средняя поверхность, которые произведены от одного или нескольких полных элементов.

Пример 1

Средняя точка (центр) сферы является производным геометрическим элементом от сферы, которая является полным геометрическим элементом.

Пример 2

Средняя линия (ось) цилиндра является производным геометрическим элементом от цилиндрической поверхности, которая является полным геометрическим элементом.

3.2 размерный элемент: Геометрическая форма, определяемая линейным или угловым размером.

Примечания

1 Размерными элементами могут быть цилиндр, сфера, две параллельные плоскости, конус или призма.

2 В ГОСТ 24642 термины «гладкая деталь» и «гладкий элемент детали» используются примерно в том же значении, что и термин «размерный элемент».

3.3 полный номинальный геометрический элемент: Точный, полный геометрический элемент, определенный чертежом или другими средствами (рисунок 1а).

3.3.1 производный номинальный геометрический элемент: Центр, ось или плоскость симметрии, которые произведены от одного или нескольких полных геометрических элементов (рисунок 1а).

Примечание - На чертежах производные номинальные геометрические элементы изображаются в основном тонкими штрих-пунктирными линиями.

3.4 реальная поверхность детали: Совокупность физически существующих геометрических элементов, которые отделяют всю деталь от окружающей среды.

3.4.1 реальный полный геометрический элемент: Полный геометрический элемент как часть реальной поверхности детали, ограниченная соседними реальными полными геометрическими элементами (рисунок 26).

Примечание - Реальные производные геометрические элементы не существуют.

3.5 выявленный геометрический элемент: Приближенное представление реального полного геометрического элемента, которое получают с помощью регистрации конечного (ограниченного) числа реального полного геометрического элемента при соблюдении согласованных условий.

Примечание - Это определение дано в соответствии с требуемой функцией геометрического элемента. Для каждого реального полного геометрического элемента может быть дано несколько таких определений.

3.5.1 выявленный производный элемент: Центральная точка, средняя линия или средняя поверхность, произведенные от одного или нескольких реальных полных элементов (рисунок 1в).

Примечания

1 Производная средняя линия выявленной цилиндрической поверхности называется выявленной средней линией (выявленной осью).

2 Производная средняя поверхность двух противолежащих выявленных плоских поверхностей называется выявленной средней поверхностью.

3.6 присоединенный полный элемент: Полный элемент правильной формы, присоединенный (совмещенный) к выявленному полному элементу при соблюдении согласованных условий (рисунок 1 г).

3.6.1 присоединенный производный элемент: Центр, ось или плоскость симметрии, произведенные от одного или нескольких присоединенных полных элементов (рисунок 1г).

А - номинальный полный элемент; Б - номинальный производный элемент; В - реальный элемент; Г - выявленный полный элемент; Д - выявленный производный элемент; Е - присоединенный полный элемент; Ж - присоединенный производный элемент

Рисунок 1 - Взаимосвязь определений геометрических элементов

3.7 Частные виды выявленных производных элементов

3.7.1 выявленная средняя линия цилиндра: Геометрическое место центров поперечных сечений.

Примечания

1 Центрами поперечных сечений являются центры присоединенных окружностей.

2 Поперечные сечения перпендикулярны к оси присоединенного цилиндра, полученного по выявленной поверхности, т.е. радиус может отличаться от номинального радиуса.

3 В ГОСТ 24642 термин «реальная ось» используется примерно в том же значении, что и термин «выявленная средняя линия цилиндра или конуса».

3.7.2 выявленная средняя линия конуса: Геометрическое место центров поперечных сечений.

Примечания

1 Центрами поперечных сечений являются центры присоединенных окружностей.

2 Поперечные сечения перпендикулярны к оси присоединенного конуса, полученного по выявленной, т.е. угол конуса может отличаться от номинального угла.

3.7.3 выявленная средняя поверхность: Геометрическое место центральных точек для наборов противолежащих точек выявленных противолежащих поверхностей.

Примечания

1 Линии, соединяющие пары противолежащих точек, перпендикулярны к присоединенной средней плоскости (плоскости симметрии).

2 Присоединенная средняя плоскость является плоскостью симметрии двух присоединенных параллельных плоскостей, полученных по выявленным поверхностям, т.е. расстояние между двумя присоединенными параллельными плоскостями может отличаться от номинального расстояния.

3.7.4 местный размер выявленного цилиндра, местный диаметр выявленного цилиндра: Расстояние между двумя противолежащими точками элемента.

Примечания

1 Линия, соединяющая две точки, проходит через центр присоединенной окружности.

2 Поперечные сечения перпендикулярны к оси присоединенного цилиндра, полученного по выделенной поверхности.

3.7.5 местный размер для элемента, образованного двумя параллельными выявленными поверхностями: Расстояние между двумя точками на противолежащих выявленных поверхностях.

Примечания

1 Линии, соединяющие пары противолежащих точек, перпендикулярны к присоединенной плоскости симметрии.

2 Присоединенная плоскость симметрии является плоскостью симметрии двух присоединенных параллельных плоскостей, полученных по выявленным поверхностям, т.е. расстояние между присоединенными плоскостями может отличаться от номинального.

4 Взаимосвязь определений геометрических элементов

4.1 Понятия о геометрических элементах существуют в трех областях:

- в области технических требований, когда конструктор рассматривает отдельные части будущей детали;

- в области физической материализации детали;

- в области контроля, когда используются части данной детали.

Термины, установленные настоящим стандартом для геометрических элементов, предназначены как для каждой из перечисленных областей в отдельности, так и для уяснения взаимосвязи между этими областями.

4.2 Структура взаимосвязи терминов и определений геометрических элементов приведена на рисунке 2. Условия «по умолчанию» для определения частных видов выявленных производных элементов и местных размеров установлены в приложении А.

Рисунок 2 - Матричная структура определений геометрических элементов

Приложение А

(справочное)

Условия «по умолчанию» для определения частных видов выявленных производных элементов и местных размеров

А.1 Выявленные элементы не имеют правильной геометрической формы и по сравнению с соответствующими номинальными элементами нуждаются в дополнительных, более детализированных определениях для однозначного и правильного понимания. Одно и то же определение выявленного элемента следует использовать для всех стандартов, где рассматриваются элементы и их характеристики.

А.2 Определение «по умолчанию»

Детализированное дополнительное определение для рассматриваемого выявленного элемента, установленное путем соглашения и применимое только при использовании на чертежах или в других технических документах основных способов указания допусков и если не задано иное.

Примечания

1 Основные способы указания допусков установлены в частности в ГОСТ 25346, ГОСТ 2.307, ГОСТ 2.308.

2 Определение «по умолчанию» (для выявленного элемента) может быть заменено на специальное определение, действующее при дополнении к основному указанию допусков расширителя - специального условного обозначения.

А.3 Условия «по умолчанию» для определений выявленных производных элементов

А.3.1 Выявленная средняя линия цилиндра

Для определения «по умолчанию» (если не предписано иное) выявленной средней линии цилиндра выполняются следующие условия:

- присоединенные окружности являются полными окружностями наименьших квадратов отклонений (рисунок А.1);

- присоединенный цилиндр является полным цилиндром наименьших квадратов отклонений (рисунок А.1).

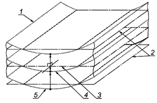
1 - выявленная поверхность; 2 - присоединенный цилиндр; 3 - ось присоединенного цилиндра; 4 - выявленная средняя линия; 5 - присоединенная окружность; 6 - центр присоединенной окружности; 7 - ось присоединенного цилиндра; 8 - присоединенный цилиндр; 9 - выявленная линия

Рисунок А.1 - Выявленная средняя линия цилиндра

А.3.2 Выявленная средняя линия конуса

Для определения «по умолчанию» (если не предписано иное) выявленной средней линии конуса выполняются следующие условия:

- присоединенные окружности являются полными окружностями наименьших квадратов отклонений (рисунок А.2);

- присоединенный конус является полным конусом наименьших квадратов отклонений (рисунок А.2).

1 - присоединенный конус; 2 - выявленная поверхность; 3 - ось присоединенного конуса; 4 - выявленная средняя линия; 5 - присоединенная окружность; 6 - центр присоединенной окружности; 7 - ось присоединенного конуса; 8 - присоединенный конус; 9 - выявленная линия

Рисунок А.2 - Выявленная средняя линия конуса

А.3.3 Выявленная средняя поверхность (плоскость симметрии)

Для определения «по умолчанию» (если не предписано иное) выявленной средней поверхности выполняются следующие условия:

- обе присоединенные параллельные плоскости построены по методу наименьших квадратов отклонений (рисунок А.3).

1 - выявленная поверхность; 2 - присоединенная плоскость; 3 - присоединенная плоскость симметрии; 4 - выявленная средняя поверхность; 5 - выявленная поверхность

Рисунок А.3 - Выявленная средняя поверхность

А.4 Условия «по умолчанию» для определений местного размера выявленных поверхностей

А.4.1 Местный размер выявленного цилиндра (местный диаметр выявленного цилиндра) Для определения «по умолчанию» (если не предписано иное) местного диаметра выявленного цилиндра (отдельного сечения) применяются следующие условия:

- присоединенная окружность является окружностью наименьших квадратов отклонений (рисунок А.4);

- присоединенный цилиндр является цилиндром наименьших квадратов отклонений (рисунок А.4).

1 - выявленная поверхность; 2 - присоединенный цилиндр; 3 - ось присоединенного цилиндра; 4 - выявленная средняя линия; 5 - выявленная линия; 6 - присоединенная окружность; 7 - центр присоединенной окружности; 8 - местный диаметр выявленного элемента; 9 - присоединенный цилиндр; 10 - ось присоединенного цилиндра

Рисунок А.4 - Местный размер выявленного цилиндра (местный диаметр цилиндра)

А.4.2 Местный размер двух параллельных выявленных поверхностей

Для определения «по умолчанию» (если не предписано иное) местного размера двух параллельных выявленных поверхностей обе присоединенные параллельные плоскости построены по методу наименьших квадратов отклонений (рисунок А.5).

1 - выявленные поверхности; 2 - присоединенная плоскость симметрии; 3 - местный размер двух выявленных поверхностей; 4 - противолежащие точки

Рисунок А.5 - Местный размер двух параллельных выявленных поверхностей

 

Ключевые слова: размерный элемент, геометрические элементы, термины

 

 



© 2013 Ёшкин Кот :-)