Информационная система
«Ёшкин Кот»

XXXecatmenu

ГОСТ Р 50399-92

ГОСУДАРСТВЕННЫЙ СТАНДАРТ РОССИЙСКОЙ ФЕДЕРАЦИИ

 

СТВОЛЫ ВОЗДУШНО-ПЕННЫЕ

Технические условия

 

 

 

ГОССТАНДАРТ РОССИИ

Москва

 

ГОСУДАРСТВЕННЫЙ СТАНДАРТ РОССИЙСКОЙ ФЕДЕРАЦИИ

СТВОЛЫ ВОЗДУШНО-ПЕННЫЕ

Технические условия

Air-foam nozzles. Specifications

ГОСТ Р
50399-92

Дата введения - 1994-01-01

Настоящий стандарт распространяется на воздушно-пенные стволы (далее - стволы), предназначенные для получения воздушно-механической пены низкой и средней кратности из раствора пенообразователя в пресной воде, формирования и направления ее струи на очаг пожара.

Стандарт не распространяется на воздушно-пенные стволы, предназначенные для работы на морской воде.

Требования разделов 1 - 5; 6.1 - 6.4; 6.6; разделов 7 - 9 настоящего стандарта являются обязательными, другие требования настоящего стандарта являются рекомендуемыми.

1 Основные параметры и размеры

1.1 Стволы в зависимости от получаемой кратности воздушно-механической пены, наличия перекрывающего устройства и расхода раствора пенообразователя подразделяют на типоразмеры:

СВП - низкой кратности пены без перекрывающего устройства;

СВПП-8 - то же, с перекрывающим устройством;

СВПК-2 и СВПК-4 - комбинированные (низкой и средней кратностей пены) с перекрывающим устройством.

1.2 Стволы должны изготовляться в климатических исполнениях У, ХЛ и Т для категории размещения 1 по ГОСТ 15150.

1.3. Основные параметры и размеры стволов должны соответствовать значениям, приведенным на рисунках 1 - 3 и в таблице 1.

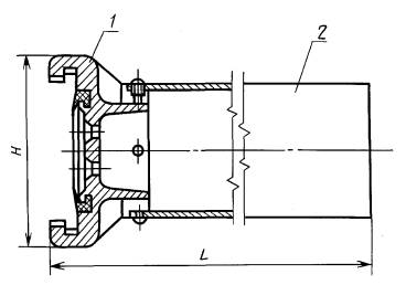
1 - соединительная головка; 2 - насадок

Рисунок 1 - Ствол СВП

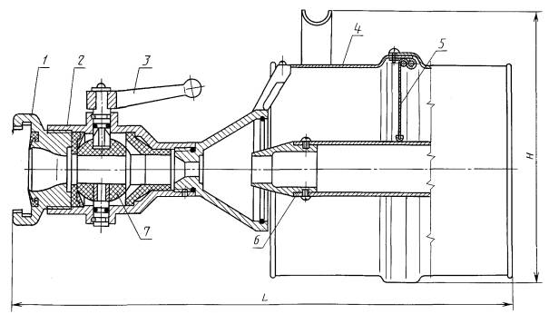
1 - соединительная головка; 2 - корпус ствола; 3 - ручка; 4 - обечайка; 5 - кассета сетки; 6 - насадок; 7 - перекрывающее устройство

Рисунок 2 - Ствол СВПК-2

1 - соединительная головка; 2 - корпус ствола; 3 - ручка; 4 - насадок; 5 - перекрывающее устройство

Рисунок 3 - Ствол СВПП-8

Примечание - Рисунки 1, 2 и 3 не определяют конструкцию стволов.

Таблица 1

Наименование параметра

Значение для типоразмера

свп

СВПК-2

СВПК-4

СВПП-8

Рабочее давление перед стволом, МПа (кгс/см2)

0,4 - 0,6 (4 - 6)

Расход 4 - 6 %-ного раствора пенообразователя, дм3

4,8 - 6,0

2,4 - 3,0

4,8 - 6,0

13,3 - 16,0

Кратность пены, не менее:

 

 

 

 

низкой кратности

7

9

9

9

средней кратности

-

50

50

-

Дальность подачи пены (по крайним каплям), м, не менее:

 

 

 

 

низкой кратности

28

17

26

28

средней кратности

 

9

9

 

Условный проход соединительной головки, мм

70

50

70

70

Габаритные размеры, мм, не более:

 

 

 

 

длина L

600

500

700

900

высота Н

-

250

350

200

Масса, кг, не более

1,27

4,0

6,5

4,5

Примечания

1 Кратность пены и дальность подачи пены указаны при давлении перед стволом 0,6 МПа (6 кгс/см2).

2 Кратность пены указана при использовании пенообразователя типа ПО-1Д по ТУ 38-10799.

3 Кратность пены - отношение количества полученной пены к количеству исходного раствора.

Пример условного обозначения воздушно-пенного ствола типоразмера СВП:

в исполнении У:

Ствол СВП У ГОСТ 50399-92

в исполнении ХЛ:

Ствол СВП ХЛ ГОСТ Р 50399-92

в исполнении Т:

Ствол СВП Т ГОСТ Р 50399-92

2 Технические требования

2.1 Стволы должны изготовляться в соответствии с требованиями настоящего стандарта, ГОСТ 12.2.037 по чертежам, утвержденным в установленном порядке.

2.2 Стволы должны выдерживать гидравлическое давление (0,9+01) МПа [(9+1) кгс/см2]. При этом не допускается появление следов воды (в виде капель) и течи на наружных поверхностях деталей и в местах соединений.

2.3 Перекрывающие устройства стволов должны обеспечивать герметичность при гидравлическом давлении (0,6+01) МПа [(6+1) кгс/см2]. При этом утечка воды через перекрывающие устройства не должна превышать 2 см3/мин.

2.4 Усилия на ручках перекрывающих устройств при рабочем давлении (0,4+0,05) МПа [(4+0,5) кгс/см2] должны быть не более:

117,7 Н (12 кгс) - для стволов СВПК-2 и СВПК-4;

147,2 Н (15 кгс) - для ствола СВПП-8.

2.5 Сетки стволов должны быть прочно закреплены в обечайках и равномерно натянуты. Прогиб натянутых сеток от груза массой (2 ± 0,1) кг, расположенного на площади 40 см2, а также после испытаний гидравлическим давлением перед стволом (0,9 - 1,0) МПа (9 - 10) кгс/см2] должен быть не более:

2 мм - для СВПК-2;

5 мм - для СВПК-4.

2.6 Обечайки стволов не должны иметь вмятин и других повреждений. Сварные швы не должны иметь посторонних включений, наплывов, непроваров и прожогов.

2.7 Соединительные головки - по ГОСТ 28352.

2.8 Предельные отклонения размеров отливок деталей, мм:

±0,6 - для номинальных размеров до 60 мм включ.

±0,7     »            »                  »            св. 60 до 100 мм включ.

±0,8     »            »                  »            »   100  » 160 мм      »

±0,9     »            »                  »            »   160  » 250 мм      »

2.9 Литые детали должны быть изготовлены из алюминиевого сплава АК7 (АК7) или АК7ч (АЛ9) по ГОСТ 1583 или из сплавов других марок с механическими и антикоррозионными свойствами, не уступающими указанным сплавам.

2.10 Поверхности литых деталей не должны иметь трещин, посторонних включений и других дефектов, влияющих на прочность и герметичность стволов и ухудшающих внешний вид. Заливы, наросты, литники и прибыли должны быть зачищены заподлицо с поверхностью отливок.

2.11 На поверхностях литых деталей не допускаются раковины, размер которых превышает 3 мм и глубину 25 % толщины стенки детали.

2.12 Метрические резьбы должны выполняться по ГОСТ 24705 с полями допусков по ГОСТ 16093: 7 Н - для внутренних резьб и 8 g - для наружных резьб.

Трубные цилиндрические резьбы - по ГОСТ 6357, класс В.

Резьбы должны быть полного профиля, без вмятин, забоин, подрезов и сорванных ниток. Не допускаются местные срывы, выкрашивания и дробления резьбы общей длиной более 10 % длины нарезки, при этом на одном витке - более 0,2 его длины.

2.13 Шероховатость цилиндрических поверхностей отверстий сопла не должна быть более Ra 2,5 мкм по ГОСТ 2789.

2.14 Стальные детали стволов, кроме изготовленных из листового проката, должны иметь покрытие Ц18.хр. для исполнения У и Ц24.хр. для исполнений ХЛ и Т; крепежные детали - покрытие Ц9.хр. Покрытия - в соответствии с требованиями ГОСТ 9.301.

2.15 Для кассеты должна быть применена сетка с номинальным размером стороны ячейки в свету 0,8 - 1,2 мм по ГОСТ 3826, изготовленная из проволоки высоколегированной стали диаметром 0,3 - 0,4 мм или сетка по ГОСТ 6613 из полутомпаковой проволоки с таким же размером стороны ячейки и диаметром проволоки.

2.16. Кольца кассеты должны быть изготовлены из стали 12Х18Н10Т по ГОСТ 5632 или из стали других марок с механическими и антикоррозионными свойствами, не уступающими указанной стали.

2.17 Резиновые детали стволов климатических исполнений У и ХЛ должны быть изготовлены из резины с диапазоном рабочей температуры от 213 до 333 К (от минус 60 до плюс 60 °С), а климатического исполнения Т - из резины групп II и III по ГОСТ 15152.

2.18 Резиновые уплотнительные кольца штоков перед сборкой должны быть смазаны смазкой ЦИАТИМ 201 по ГОСТ 6267.

2.19 Резьбовые части деталей стволов перед сборкой должны быть смазаны солидолом по ГОСТ 4366 или пушечной смазкой ЭТ5/5-5 по ГОСТ 19537.

2.20 Наружные и внутренние поверхности обечаек должны быть покрыты эмалью красного цвета марки ПФ-115 по ГОСТ 6465 или другими лакокрасочными материалами того же цвета, по защитным свойствам не уступающих указанной эмали.

Кассеты стволов не окрашиваются.

2.21 Наружные поверхности деталей, изготовленных из алюминиевого сплава, в исполнениях У и Т должны быть покрыты эмалью серебристого цвета марки ХВ-16 по ТУ 6-10-1301, класс У по ГОСТ 9.032 или другими лакокрасочными материалами того же цвета, по защитным свойствам не уступающих указанной эмали.

2.22 Стволы должны соответствовать следующим показателям надежности:

гамма-процентный (g = 90 %) полный срок службы Тслgсп - не менее 8 лет;

гамма-процентный (g = 90 %) срок сохраняемости Тсg - не менее 1 года;

вероятность безотказной работы за цикл - не менее 0,993.

Циклом следует считать:

для ствола СВП - подачу воды через ствол с постепенным повышением давления до 0,6 МПа (6 кгс/см2), выдержку при этом давлении в течение (50 + 10) с, снижение давления до нуля;

для стволов СВПК-2 и СВПК-4 - полное открывание и закрывание перекрывающего устройства с выдержкой в течение (30 ± 5) с в положении «пена низкой крайности» и (180 ± 5) с в положении «пена средней кратности» при подаче воды под давлением (0,4+0,1) МПа [(4+1) кгс/см2];

для ствола СВПП-8 - полное открывание и закрывание перекрывающего устройства с выдержкой в течение (30 ± 5) с в положении «закрыто» при подаче воды под давлением (0,4+0,1) МПа [(4+1) кгс/см2].

3 Приемка

3.1 Для проверки соответствия стволов требованиям настоящего стандарта изготовитель должен проводить приемосдаточные, периодические испытания, а также испытания на надежность.

3.2 При приемосдаточных испытаниях каждый ствол проверяют на соответствие требованиям 1.3, 2.2, 2.6, 2.10, 2.11, 2.14 (наличие покрытия); 2.20, 2.21, 5.1, 5.2, 6.1 - 6.4, 6.6 и 7.2.

3.3 Периодические испытания следует проводить не реже одного раза в год на соответствие стволов всем требованиям настоящего стандарта (кроме 2.22) на трех стволах каждого типоразмера и климатического исполнения, из числа прошедших приемосдаточные испытания.

3.4 Испытания на надежность следует проводить один раз в пять лет. Испытаниям подвергают стволы, отобранные методом случайного отбора, из числа прошедших приемосдаточные испытания.

Показатели полного срока службы и срока сохраняемости по 2.22 контролируют в соответствии с РД 50-690 при следующих исходных данных:

доверительная вероятность q - 0,9;

регламентированная вероятность g - 0,9;

число испытываемых стволов - 20 (каждого типоразмера, независимо от климатического исполнения);

приемочное число отказов - 0.

Показатель вероятности безотказной работы по 2.22 контролируют в соответствии с ГОСТ 27.410 одноступенчатым методом при следующих исходных данных:

риск изготовителя a - 0,1;

риск потребителя b - 0,1;

приемочный уровень Рa - 0,999;

браковочный уровень Рb - 0,993;

число циклов - 554 (для каждого ствола);

число испытываемых стволов - 2 (каждого типоразмера, независимо от климатического исполнения);

приемочное число отказов - 1.

3.5 Качество стволов проверяют на изделиях в количестве 3 % от партии, но не менее 3 шт., в объеме приемосдаточных испытаний. Партия состоит из стволов одного типоразмера и климатического исполнения, изготовленных в одну смену или предъявленных к приемке по одному документу.

Результаты проверки распространяют на всю партию.

4 Методы испытаний

4.1 Соответствие стволов требованиям 2.6, 2.10, 2.11, 2.14, 2.19-2.21, 5.1, 5.2, 6.1 - 6.4, 6.6, 6.7, 7.2 проверяют визуально.

4.2. Линейные размеры стволов по 1.3, 2.5, 2.11 проверяют линейкой по ГОСТ 427 с ценой деления 1 мм и штангенциркулем по ГОСТ 166 с ценой деления 0,1 мм.

4.3 Массу стволов по 1.3 проверяют на весах по ГОСТ 29329 с ценой деления 0,01 кг; массу брутто по 6.5 - на весах по ГОСТ 29329 с ценой деления 0,1 кг.

4.4 Усилие на ручке перекрывающего устройства по 2.4 измеряют динамометром по ГОСТ 13837 с ценой деления не более 4,9 Н (0,5 кг), закрепленным на проволоке толщиной 0,300 мм по ГОСТ 15598, намотанной и закрепленной на шкив диаметром 200 мм, установленный вместо ручки.

4.5 Метрические резьбы по 2.12 проверяют резьбовыми пробками по ГОСТ 17756, ГОСТ 17757 и резьбовыми кольцами по ГОСТ 17763, ГОСТ 17764; трубные цилиндрические резьбы - резьбовыми пробками по ГОСТ 18925, ГОСТ 18926 и резьбовыми кольцами по ГОСТ 18929 и ГОСТ 18930.

4.6 Качество покрытий по 2.14 проверяют по ГОСТ 9.302 (контроль толщины и внешнего вида покрытия).

4.7 Качество покрытий по 2.20 и 2.21 проверяют внешним осмотром по ГОСТ 9.032.

4.8 Расход раствора пенообразователя, давление перед стволом, дальность подачи пены по 1.3, прочность и герметичность по 2.2, закрепление и натяжение сеток по 2.5 проверяют на испытательном стенде.

Класс точности приборов, используемых для испытаний, должен быть не ниже 1,6.

Расход раствора пенообразователя определяют как расход воды, проходящей через ствол при давлении (0,4 - 0,6) МПа [(4 - 6) кгс/см2].

Расход раствора определяют расходомером с погрешностью измерений не более 2 %.

Прочность и герметичность стволов проверяют при открытых перекрывающих устройствах и заглушённых соплах в течение 1 мин.

Прогиб натянутых сеток по 2.5 проверяют в течение 2 мин.

4.9 Герметичность по 2.3 проверяют на испытательном стенде при закрытых перекрывающих устройствах в течение 3 мин.

4.10 Показатель гамма-процентного полного срока службы по 2.22 следует проверять обработкой данных, полученных в условиях эксплуатации, путем сбора информации в соответствии с требованиями РД 50-204.

Предельным состоянием следует считать такое техническое состояние стволов, при котором восстановление их работоспособности невозможно или нецелесообразно.

Показатель срока сохраняемости следует проверять после хранения стволов в условиях предприятия-изготовителя в течение одного года в объеме приемосдаточных испытаний.

Показатель вероятности безотказной работы следует проверять на стенде. Испытания проводят на воде.

Отказом стволов следует считать снижение кратности пены более 10 % либо разрыв сетки или увеличение пропуска воды через перекрывающее устройство более чем на 100 % указанного в 2.3. Контроль проводят через 100 циклов.

5 Комплектность

5.1 К стволам должен быть приложен паспорт, объединенный с техническим описанием и инструкцией по эксплуатации в соответствии с ГОСТ 2.601; число паспортов, прилагаемых к партии стволов, - по согласованию изготовителя с заказчиком.

5.2 К каждому стволу исполнений У и Т необходимо прилагать запасную кассету и запасное резиновое кольцо по ГОСТ 6557 каждого типоразмера, паспорт, объединенный с техническим описанием и инструкцией по эксплуатации в соответствии с ГОСТ 2.601 и товаросопроводительную документацию в соответствии с условиями договора между изготовителем и заказчиком.

6 Маркировка и упаковка

6.1 На каждом стволе (корпусе или отдельной табличке) должна быть нанесена маркировка, содержащая следующие данные:

товарный знак предприятия-изготовителя;

условное обозначение ствола;

год выпуска;

обозначение настоящего стандарта;

рабочее давление.

6.2 Маркировка должна сохраниться в течение всего срока службы ствола.

6.3 Маркировка на ящиках должна соответствовать требованиям ГОСТ 14192 или ГОСТ 24634 и(или) договору между изготовителем и заказчиком.

6.4 Стволы должны быть упакованы в решетчатые ящики по ГОСТ 2991. Стволы в исполнениях У и Т, предназначенные для комплектации пожарных машин, должны быть упакованы в ящики, выложенные внутри бумагой по ГОСТ 515.

6.5 Стволы должны быть обернуты бумагой марки Б-70 по ГОСТ 8828 или марки БП-3-35 по ГОСТ 9569 и упакованы в сплошные ящики типов II или III по ГОСТ 2991, изготовленные с учетом требований ГОСТ 24634 и выложенные внутри бумагой по ГОСТ 515.

Ящики должны быть окрашены эмалью марки ХВ-124 по ГОСТ 10144 или древесина должна быть пропитана антисептиками.

Сетки кассет стволов должны быть закрыты с обеих сторон, а запасные кассеты обернуты бумагой по ГОСТ 515.

6.6 Масса брутто с упакованными стволами не должна превышать 80 кг.

6.7 Паспорт, сопроводительная документация стволов и резиновые кольца стволов в исполнении Т должны быть вложены в пакеты из поливинилхлоридной пленки В-0,15 по ГОСТ 16272 или полиэтиленовой пленки по ГОСТ 10354. Пакеты должны быть заварены и завернуты в бумагу по ГОСТ 515.

Запасные резиновые кольца стволов исполнения У должны быть завернуты в бумагу марки Б-70 по ГОСТ 8828 или марки БП-3-35 по ГОСТ 9569.

7 Транспортирование и хранение

7.1 Транспортирование стволов допускается транспортом любого вида в соответствии с правилами, действующими на транспорте данного вида.

Транспортирование стволов в универсальных контейнерах автомобильным транспортом может осуществляться без упаковки в тару с предохранением от механических повреждений.

7.2 Консервация выходных цилиндрических отверстий корпусов и насадков стволов - по варианту защиты ВЗ-1 ГОСТ 9.014.

7.3 Условия хранения стволов в исполнениях У и ХЛ - по группе 2, исполнения Т - по группе 3; условия транспортирования - по группам 4, 6, 7, 9 по ГОСТ 15150.

8 Указания по эксплуатации

Стволы должны эксплуатироваться в соответствии с паспортом, объединенным с техническим описанием и инструкцией по эксплуатации.

9 Гарантии изготовителя

9.1 Изготовитель гарантирует соответствие стволов требованиям настоящего стандарта при соблюдении требований к эксплуатации, транспортированию и хранению.

9.2 Гарантийный срок эксплуатации - 36 мес для ствола СВП и 24 мес - для стволов СВПК-2, СВПК-4 и СВПП-8 исчисляется со дня ввода в эксплуатацию.

 

ИНФОРМАЦИОННЫЕ ДАННЫЕ

1 РАЗРАБОТАН И ВНЕСЕН Техническим комитетом ТК 274 «Пожарная безопасность»

2 УТВЕРЖДЕН И ВВЕДЕН В ДЕЙСТВИЕ Постановлением Госстандарта России от 20.11.92 № 1499

3 ВЗАМЕН ГОСТ 11101-73

4 ССЫЛОЧНЫЕ НОРМАТИВНО-ТЕХНИЧЕСКИЕ ДОКУМЕНТЫ

Обозначение НТД, на который дана ссылка

Номер пункта

Обозначение НТД, на который дана ссылка

Номер пункта

ГОСТ 2.601-95

5.1; 5.2

ГОСТ 13837-79

4.4

ГОСТ 9.014-78

7.2

ГОСТ 14192-96

6.3

ГОСТ 9.032-74

2.21; 4.7

ГОСТ 15150-69

1.2; 7.3

ГОСТ 9.301-86

2.14

ГОСТ 15152-69

2.17

ГОСТ 9.302-88

4.6

ГОСТ 15598-70

4.4

ГОСТ 12.2.037-78

2.1

ГОСТ 16093-81

2.12

ГОСТ 27.410-87

3.4

ГОСТ 16272-79

6.7

ГОСТ 166-89

4.2

ГОСТ 17756-72

4.5

ГОСТ 427-75

4.2

ГОСТ 17757-72

4.5

ГОСТ 515-77

6.4; 6.5; 6.7

ГОСТ 17763-72

4.5

ГОСТ 1583-93

2.9

ГОСТ 17764-72

4.5

ГОСТ 2789-73

2.13

ГОСТ 18925-73

4.5

ГОСТ 2991-85

6.4; 6.5

ГОСТ 18926-73

4.5

ГОСТ 3826-82

2.15

ГОСТ 18929-73

4.5

ГОСТ 4366-76

2.19

ГОСТ 18930-73

4.5

ГОСТ 5632-72

2.16

ГОСТ 19537-83

2.19

ГОСТ 6267-74

2.18

ГОСТ 24634-81

6.3; 6.5

ГОСТ 6357-81

2.12

ГОСТ 24705-81

2.12

ГОСТ 6465-76

2.20

ГОСТ 28352-89

2.7

ГОСТ 6557-89

5.2

ГОСТ 29329-92

4.3

ГОСТ 6613-86

2.15

РД 50-204-87

4.10

ГОСТ 8828-89

6.5; 6.7

РД 50-690-89

3.4

ГОСТ 9569-79

6.5; 6.7

ТУ 6-10-1301-83

2.21

ГОСТ 10144-89

6.5

ТУ 38-10799-81

1.3

ГОСТ 10354-82

6.7

 

 

5 ПЕРЕИЗДАНИЕ. Сентябрь 2004 г.

 

СОДЕРЖАНИЕ

 

 



© 2013 Ёшкин Кот :-)