Информационная система
«Ёшкин Кот»

XXXecatmenu

ГОСТ 11265-73

МЕЖГОСУДАРСТВЕННЫЙ СТАНДАРТ

 

КНЕХТЫ

ТЕХНИЧЕСКИЕ УСЛОВИЯ

 

 

 

 

ИПК ИЗДАТЕЛЬСТВО СТАНДАРТОВ

Москва

 

МЕЖГОСУДАРСТВЕННЫЙ СТАНДАРТ

КНЕХТЫ

Технические условия

Bitts. Specifications

ГОСТ
11265-73

Дата введения 01.01.74

Настоящий стандарт распространяется на кнехты швартовных и буксирных устройств, предназначенных для надводных кораблей, судов и плавсредств всех классов, типов и назначений.

Стандарт не распространяется на литые кнехты из легких сплавов.

Стандарт соответствует СТ СЭВ 1318-78 в части прямых сварных кнехтов с фундаментом типа II исполнения D и СТ СЭВ 1319-78 в части крестовых кнехтов сварных двухтумбовых типа I исполнения Б (см. справочное приложение 1).

(Измененная редакция, Изм. № 2).

1. ТИПЫ, ОСНОВНЫЕ ПАРАМЕТРЫ И РАЗМЕРЫ

1.1. Кнехты должны изготовляться двух типов:

I - крестовые;

II - прямые.

1.2. Крестовые кнехты должны изготовляться трех исполнений:

А - литые;

Б - сварные двухтумбовые;

В - сварные врезные однотумбовые.

1.2.1. Конструкция, основные размеры и масса литых кнехтов типа I должны соответствовать указанным на черт. 1 и в табл. 1.

Вид снизу

Расположение отверстий для крепления при монтаже шестью винтами

Черт. 1


Таблица 1

Размеры, мм

D

D1

L

L1

В

Н

h

h1

s

s1

r

d

d1

d1

п

А

A1

А2 = A3

Наибольший диаметр стального каната

Наибольшая длина окружности каната

Масса, кг, не более

растительного

капронового

90

115

385

405

130

195

15

90

12

1

5

25

40

13

6

225

345

90

8,4

60

40

10

110

145

460

495

175

245

25

110

15

9

6

40

55

17

6

275

410

125

11,5

90

50

28

140

180

590

630

200

310

30

140

20

12

8

50

70

19

6

350

534

144

13,5

100

70

48

180

220

760

810

270

400

40

180

25

15

12

75

95

24

6

450

690

200

17,0

150

90

105

220

270

920

990

360

490

50

220

30

20

13

100

125

30

8

550

840

280

22,5

200

115

190

280

340

1180

1260

450

620

60

280

32

22

15

125

155

33

8

700

1090

360

28,0

250

150

290


1.2.2. Основные параметры и размеры сварных двухтумбовых кнехтов типа I должны соответствовать указанным на черт. 2 и табл. 2.

Черт. 2


Таблица 2

Размеры, мм

Типоразмер

B

D

D1

Н

L

L1

d

е

h

h1

l

S min

S1 min

Наибольшее разрывное усилие в целом, кН

Типоразмер

Наибольший диаметр стального каната

Наибольшая длина окружности каната

Масса, кг, не более

растительного

синтетического

1

135

70

38

140

310

315

50

22

38

70

175

6

4

25

1

-

40

30

9,5

2

160

95

48

180

385

405

60

30

46

90

225

6

4

40

2

8,4

60

40

15,0

3

180

114

57

220

455

495

75

36

54

110

275

8

6

63

3

11,5

90

50

27,0

4

206

140

70

280

555

630

90

48

66

140

350

8

6

100

4

13,5

100

70

42,0

5

262

178

89

360

710

810

110

64

82

180

460

8

6

160

5

17,0

150

90

75,0

6

323

219

108

440

870

990

130

78

103

220

550

10

8

250

6

22,5

200

115

130,0

7

440

299

159

560

1140

1260

180

98

127

280

700

14

8

400

7

28,0

250

150

300,0

8

532

356

178

720

1430

1620

200

128

164

360

900

16

8

630

8

-

-

-

520,0

9

676

457

245

900

1800

2025

275

162

205

450

1125

18

10

1000

9

-

-

-

950,0

Примечание. Двухтумбовые крестовые кнехты, поставляемые в страны - члены СЭВ, могут быть изготовлены с большей величиной высоты основания «h».


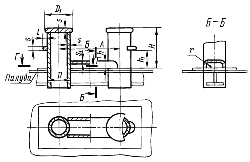
1.2.3. Основные параметры и размеры врезных однотумбовых кнехтов типа I должны соответствовать указанным на черт. и в табл. .

Черт. 2а

Таблица 2а

Размеры, мм

D

D1

l

Палуба

s2

s3

d2

d3

Наибольший диаметр стального каната

Наибольшая длина окружности каната

Масса, кг, не более

 

без деревянного настила

с деревянным настилом

растительного

синтетического

H1

h2

H1

h2

 

140

170

40

230

90

290

150

8

4

32

45

13,5

100

70

12

 

180

215

70

290

112

350

172

8

4

38

55

17,0

150

90

20

 

219

265

90

367

228

427

308

10

5

57

75

22,5

200

115

38

 

1.2.1 - 1.2.3. (Измененная редакция, Изм. № 3).

1.3. Прямые кнехты должны изготовляться трех исполнений:

Г - литые;

Д - сварные с фундаментом;

Е - сварные врезные.

1.3.1. Конструкция, основные размеры и масса литых кнехтов типа II должны соответствовать указанным на черт. 3 и в табл. 3.


Черт. 3

Таблица 3

Размеры в мм

D

D1

L

В

Н

h

h1

s

s1

r

l

d

п

А

A1

А2

A3

Наибольший диаметр стального каната

Наибольшая длина окружности капронового каната

Масса, кг, не более

180

220

805

275

390

45

110

30

20

12

35

22

6

450

735

-

205

17,0

90

120

220

270

950

320

470

50

130

35

25

13

40

26

6

550

866

-

236

22,5

115

230

280

350

1230

410

630

60

165

40

30

15

60

30

8

700

1126

373

306

28,0

150

442

360

450

1610

520

800

65

205

45

35

20

80

39

10

900

1490

475

400

37,5

200

754

450

540

1975

630

830

70

210

50

40

20

90

39

10

1125

1855

590

510

45,0

225

1270


1.3.2. Конструкция, основные размеры и масса сварных кнехтов с фундаментом типа II должны соответствовать указанным на черт. 4 и в табл. 4.

Черт. 4


Таблица 4

Размеры, мм

Типоразмер

В

D

Н

L

е

h

h1

l

l1

r

s, не менее

Наибольшее разрывное усилие каната в целом, кН

Наибольший диаметр стального каната

Типоразмер

Наибольшая длина окружности каната

Масса, кг, не более

растительного

синтетического

1

135

70

112

310

22

38

37

175

20

30

6

25

-

1

40

30

8

2

160

95

144

385

30

46

48

225

25

35

6

40

-

2

60

40

12

3

180

114

176

455

36

54

59

275

30

40

8

63

-

3

90

50

22

4

206

140

224

555

48

66

75

350

35

50

8

100

13,5

4

100

70

33

5

262

178

288

710

64

82

96

450

45

65

8

160

17,0

5

150

90

59

6

323

219

357

870

78

103

119

550

55

80

10

250

22,5

6

200

115

100

7

440

299

473

1140

98

127

153

700

70

100

14

400

28,0

7

250

150

245

8

532

356

616

1430

128

164

192

900

90

130

16

630

37,5

8

300

200

430

9

676

457

715

1800

162

205

238

1125

110

165

18

1000

45,0

9

325

225

770

10

830

560

900

2200

195

250

300

1375

140

200

24

1600

56,0

10

350

275

1550

Примечание. Двухтумбовые кнехты, поставляемые в страны - члены СЭВ, могут быть изготовлены с большей величиной высоты основания h.


1.3.3. Конструкция, основные размеры и масса врезных сварных кнехтов типа II должны соответствовать указанным на черт. 5 и в табл. 5.

Черт. 5

Таблица 5

Размеры, мм

D

D1

Палуба

s

s1 = r

l

А

Наибольший диаметр стального каната

Наибольшая длина окружности каната капронового

Масса, кг, не более

без деревянного настила

с деревянным настилом

Н

h

h1

Н

h

h1

140

170

230

25

75

290

85

135

8

8

30

350

13,5

70

32

180

215

290

30

93

350

90

153

8

8

35

450

17,0

90

49

219

265

367

40

120

427

100

180

10

8

40

550

22,5

115

80

299

355

523

50

155

583

110

215

14

10

60

700

28,0

150

210

377

450

676

60

200

736

120

260

16

10

80

900

37,5

200

346

450

550

705

80

220

765

140

280

18

10

90

1125

45,0

225

500

560

675

720

90

283

780

150

343

24

12

120

1375

56,0

275

1060

650

780

840

110

340

900

170

400

30

12

150

1625

65,0

300

1760

Примечание к табл. 1 - 5. Кнехты рассчитаны применительно для стальных канатов по ГОСТ 30055 с пределом прочности проволоки при растяжении 1400 - 1600 МПа (140 - 160 кгс/мм2); для растительных канатов: пеньковых, сизальских для капроновых канатов - по ГОСТ 30055.

Прочность кнехтов определяется наибольшим разрывным усилием каната в целом.

1.3.1 - 1.3.3. (Измененная редакция, Изм. № 2, 3).

1.4. Коды ОКП приведены в приложении 2.

(Введен дополнительно, Изм. № 2).

1.5. Примеры условного обозначения в конструкторской документации и при заказе:

Кнехта типа I, литого, с диаметром тумбы D = 140 мм, чугунного, для эксплуатации со стальными и растительными канатами:

Кнехт 1 А - 140 ЧУГ ГОСТ 11265-73

То же, для эксплуатации с синтетическими канатами:

Кнехт 1 А - 140 ЧУГ С ГОСТ 11265-73

Кнехта типа I, крестового сварного двухтумбового с диаметром тумбы D = 180 мм для эксплуатации со стальными и растительными канатами:

Кнехт 1 Б - 180 ГОСТ 11265-73

То же, поставляемого в страны-члены СЭВ:

Кнехт двойной крестовый 5 СТ СЭВ 1319- 78

То же, с большей высотой основания по сравнению с указанной в таблице 2, равной 150 мм:

Кнехт двойной крестовый 5-150 СТ СЭВ 1319-78

Кнехта типа I, сварного врезного однотумбового, с диаметром тумбы D = 180 мм, для эксплуатации со стальными и растительными канатами:

Кнехт 1 В-180 ГОСТ 11265-73

Кнехта типа II литого, с диаметром тумбы D = 280 мм, чугунного, для эксплуатации со стальными и растительными канатами:

Кнехт II Г-280 ЧУГ ГОСТ 11265-73

Кнехта типа II, сварного с фундаментом, с диаметром тумбы D = 180 мм для эксплуатации со стальными и растительными канатами:

Кнехт II Д-180 ГОСТ 11265-73

То же, поставляемого в страны-члены СЭВ:

Кнехт двойной 5 СТ СЭВ 1318-78

То же, с большей высотой основания по сравнению с указанной в табл. 5, равной 150 мм:

Кнехт двойной 5-150 СТ СЭВ 1318-78

Кнехта типа II, сварного врезного, с диаметром тумбы D = 450 мм, для эксплуатации со стальными и растительными канатами:

Кнехт II Е-450 ГОСТ 11265-73.

(Введен дополнительно, Изм. № 3).

2. ТЕХНИЧЕСКИЕ ТРЕБОВАНИЯ

2.1. Кнехты должны изготовляться в соответствии с требованиями настоящего стандарта по конструкторской документации, утвержденной в установленном порядке.

2.2. Литые кнехты должны изготовляться из чугуна марки СЧ 18 по ГОСТ 1412.

Сварные кнехты, применяемые внутри страны, должны изготовляться из стали марки ВСт 3сп ГОСТ 380, стали марки 20 ГОСТ 1050.

2.3. Тумбы кнехтов диаметром 650 мм должны изготовляться из листового проката, при этом допускается не более двух диаметрально противоположных стыковых швов.

Тумбы других сварных кнехтов и поперечины должны изготовляться из труб по ГОСТ 8732 и ГОСТ 8734.

Допускается изготовление тумб кнехтов из листового материала, либо замена труб в соответствии с табл. 6.

Таблица 6

Размеры, мм

Размеры труб, предусмотренные настоящим стандартом

Допускаемая замена труб

Размеры труб, предусмотренные настоящим стандартом

Допускаемая замена труб

95 - 6

89 - 8

159 - 10

159 - 12

114 - 6

108 - 8

219 - 10

219 - 9

140 - 6

146 - 6

299 - 14

299 - 12

140 - 8

146 - 6

377 - 16

377 - 14

Основание сварных кнехтов из листовой стали, с приварными к нему боковыми щитками и усиленными ребрами жесткости.

2.4. Сварку следует производить сварочными материалами с механическими свойствами не ниже механических свойств электродов типа Э42 по ГОСТ 9467. Конструктивные элементы сварных швов - по ГОСТ 14771, допускаются - по ГОСТ 5264.

Контроль сварных соединений следует проводить внешним осмотром и измерением по нормативно-технической документации, утвержденной в установленном порядке.

2.5. Класс точности размеров и массы отливок кнехтов должен назначаться по ГОСТ 26645 в зависимости от их типоразмера.

Неуказанные предельные отклонения остальных размеров - по конструкторской документации, утвержденной в установленном порядке.

2.1 - 2.5. (Измененная редакция, Изм. № 3).

2.6. Параметры шероховатости рабочей поверхности кнехтов для эксплуатации со стальными и растительными канатами должна быть Rz не более 500 мкм, с синтетическими - Ra не более 10 мкм по ГОСТ 2789.

2.7. На рабочих поверхностях кнехтов все имеющиеся дефекты должны быть исправлены электросваркой с последующей зачисткой.

На нерабочих поверхностях допускается оставлять без исправления отдельные дефекты, размеры, количество и расположение которых - по конструкторской документации, утвержденной в установленном порядке.

2.8. Наружные поверхности кнехтов после маркировки должны иметь защитное покрытие по конструкторской документации, утвержденной в установленном порядке. Внешний вид - по VI классу ГОСТ 9.032, при условии эксплуатации по группе ОМ 1 ГОСТ 9.104.

2.9. Назначенный срок службы кнехтов до заводского ремонта - 10 лет. Назначенный срок службы кнехтов до списания - 25 лет.

2.7 - 2.9. (Измененная редакция, Изм. № 3).

3. ПРИЕМКА

3.1. Для проверки соответствия кнехтов требованиям настоящего стандарта предприятие-изготовитель должно проводить приемосдаточные испытания.

Кнехты для приемки представляют партиями. Партия должна состоять из кнехтов одного типоразмера из материала одной плавки или кнехтов, изготовленных из материала по одному сертификату.

(Измененная редакция, Изм. № 3).

3.2. При приемке кнехты подвергают сплошному контролю на соответствие требованиям пп. 1.1; 1.2.1 (размеры Н, h, A1, А2, А3); п. 1.2.2 (размеры Н, h, h1, D, L, L1, l); п. 1.2.3 (размеры h2, D, l); п. 1.3.1 (размеры H, h, A1, A2, A3); п. 1.3.2 (размеры H, h, h1, D, L, l, l1); п. 1.3.3 (размеры D, H, h, h1, l); пп. 2.1; 2.2; 2.5 ÷ 2,8; 5.1 и 5.1а.

(Измененная редакция, Изм. № 2).

3.3. Для проверки соответствия остальных размеров, а также массы требованиям настоящего стандарта отбирают 5 % кнехтов от партии (но не менее 2 шт.).

3.4. Соответствие кнехтов требованиям по пп. 2.3 и 2.4 проверяют при проведении операционного контроля.

3.5. Если при приемке по пп. 3.2 и 3.3 будут обнаружены кнехты, не соответствующие требованиям настоящего стандарта, партию возвращают для устранения дефектов. После устранения дефектов проводят повторные испытания.

Результаты повторных испытаний считают окончательными.

(Измененная редакция, Изм. № 2).

4. МЕТОДЫ КОНТРОЛЯ

4.1. Контроль конструкции и размеров проводят сличением с чертежами и измерением размеров измерительным инструментом, обеспечивающим требуемую чертежами точность.

4.2. Качество материалов проверяют по сертификатам.

4.3. Контроль качества покрытия и маркировку кнехтов проводят внешним осмотром.

4.4. Шероховатость наружной поверхности кнехтов проверяют сравнением с эталонами чистоты обработки.

4.5. Контроль массы кнехтов проводят взвешиванием на весах.

5. МАРКИРОВКА, УПАКОВКА, ТРАНСПОРТИРОВАНИЕ И ХРАНЕНИЕ

5.1. Каждый кнехт должен иметь маркировку, содержащую:

товарный знак предприятия-изготовителя;

условное обозначение кнехта;

номер кнехта по системе предприятия-изготовителя;

наибольшее разрывное усилие расчетного каната, кгс.

5.1а. На каждом кнехте, поставляемом в страны - члены СЭВ, должна быть нанесена маркировка, содержащая следующие данные:

товарный знак предприятия-изготовителя;

обозначение типоразмера кнехта;

наибольшее разрывное усилие каната в целом;

обозначение стандарта СЭВ.

5.2. Маркирование выполняют литьем или ударным способом.

5.2а. Кнехты, загрунтованные по п. 2.8, консервации и упаковке не подлежат.

(Введен дополнительно, Изм. № 3).

5.3. Кнехты транспортируют транспортом всех видов на открытых транспортных средствах в соответствии с правилами перевозки грузов и техническими условиями погрузки и крепления грузов, действующими на транспорте соответствующего вида.

Кнехты транспортируют в поддонах типа 4Я по ГОСТ 9570.

Для железнодорожных перевозок должны применяться поддоны складной (разборной) конструкции.

Требования к транспортированию кнехтов в поддонах и к маркировке транспортной тары (транспортных пакетов) - по ГОСТ 19848.

Допускается транспортировать кнехты в контейнерах по ГОСТ 18477. Загрузка контейнеров должна проводиться до полной грузоподъемности.

Укладка и раскрепление кнехтов в контейнере должны исключать механические повреждения и обеспечивать сохранность кнехтов при транспортировании.

(Измененная редакция, Изм. № 3).

5.3а. (Исключен, Изм. № 3).

5.3б. Дополнительные требования к упаковке при отправке кнехтов в районы Крайнего Севера и труднодоступные районы не предъявляются.

5.3б, 5.4. В каждое грузовое место должна быть вложена этикетка в соответствии с ГОСТ 2.601.

(Измененная редакция, Изм. № 3).

5.5. (Исключен, Изм. № 3).

5.6. Кнехты хранят по условиям хранения 9 (открытые площадки) ГОСТ 15150

(Измененная редакция, Изм. № 3).

6. ГАРАНТИИ ИЗГОТОВИТЕЛЯ

6.1. Изготовитель гарантирует соответствие качества кнехтов требованиям настоящего стандарта при соблюдении потребителем условий эксплуатации и хранения, установленных стандартом. Гарантийный срок эксплуатации - 24 мес со дня ввода в эксплуатацию.

(Измененная редакция, Изм. № 2, 3).

ПРИЛОЖЕНИЕ 1

Справочное

ИНФОРМАЦИОННЫЕ ДАННЫЕ СООТВЕТСТВИЯ ГОСТ 11265-73, СТ СЭВ 1318-78 и СТ СЭВ 1319-78

Требования

ГОСТ 11265

СТ СЭВ 1318

СТ СЭВ 1319

1. Привести в соответствие чертеж, обозначения и таблицу двухтумбовых сварных крестовых кнехтов

Черт. 2 и табл. 2 (п. 1.2.2) приведены в соответствие с СТ СЭВ 1319

-

Чертеж и таблица соответствуют ГОСТ

2. Привести в соответствие чертеж, обозначения и таблицу двухтумбовых сварных прямых кнехтов

Черт. 4 и табл. 4 (п. 1.3.2) приведены в соответствие с СТ СЭВ 1318

Чертеж и таблица соответствуют ГОСТ

-

3. Прочность кнехтов

Определяется наибольшим разрывным усилием каната в целом

(примечания к табл. 1 - 5)

(п. 1.3)

(п. 1.3)

4. Технические требования

Пп. 2.1, 2.3, 2.4

Пп. 2.1, 2.3

Пп. 2.1, 2.3

5. Маркировка

П. 5.1а

П. 2.6

П. 2.6

ПРИЛОЖЕНИЕ 2

Справочное

КОДЫ ОКП КНЕХТОВ

Тип и исполнение

Диаметр тумбы D, мм

Материал

Код ОКП кнехтов

поставляемых на внутренний рынок

поставляемых на экспорт

для стальных и растительных канатов

для синтетических канатов

I литой

90

Чугун

64 1211 230 910

64 1211 330 906

-

110

»

64 1211 231 005

64 1211 331 002

140

»

64 1211 231 105

64 1211 331 101

180

»

64 1211 231 204

64 1211 331 200

220

»

64 1211 231 303

64 1211 331 310

280

»

64 1211 231 402

64 1211 331 409

I сварной двухтумбовый

70

Сталь

64 1211 111 500

64 1211 333 405

64 1212 8101 00

95

»

64 1211 110 909

64 1211 332 110

64 1212 8102 10

114

»

64 1211 111 005

64 1211 332 209

64 1212 8103 09

140

»

64 1211 111 104

64 1211 332 308

64 1212 8104 08

178

»

64 1211 111 203

64 1211 332 407

64 1212 8105 07

219

»

64 1211 111 302

64 1211 332 506

64 1212 8106 06

299

»

64 1211 111 401

64 1211 332 605

64 1212 8107 05

356

»

64 1211 111 610

64 1211 333 504

64 1212 8108 04

457

»

64 1211 111 709

64 1211 333 603

64 1212 8109 03

I сварной однотумбовый

140

Сталь

64 1212 710 605*

64 1212 710 902*

-

 

 

64 1212 610 708**

64 1212 611 002**

180

»

64 1212 710 704*

64 1212 711 009*

 

 

64 1212 610 807**

64 1212 611 101**

219

»

64 1212 710 803*

64 1212 711 108*

 

 

64 1212 610 906**

64 1212 611 200**

II литой

180

Сталь

64 1212 230 905

64 1212 330 901

-

220

»

64 1212 231 001

64 1212 331 008

280

»

64 1212 231 100

64 1212 331 107

360

»

64 1212 231 210

64 1212 331 206

450

»

64 1212 231 309

64 1212 331 305

II сварной с фундаментом

70

Сталь

64 1212 112 108

64 1212 122 600

64 1212 8104 03

95

»

64 1212 112 207

64 1212 122 710

64 1212 8105 02

114

»

64 1212 112 306

64 1212 122 809

64 1212 8106 01

140

»

64 1212 111 407

64 1212 120 505

64 1212 8107 00

178

»

64 1212 111 506

64 1212 120 604

64 1212 8108 10

219

»

64 1212 111 605

64 1212 120 703

64 1212 8109 09

299

»

64 1212 111 704

64 1212 120 802

64 1212 8110 05

356

»

64 1212 111 803

64 1212 120 901

64 1212 8111 04

457

»

64 1212 111 902

64 1212 121 008

64 1212 8112 03

560

»

64 1212 112 009

64 1212 121 107

64 1212 8113 02

II сварной врезной

140

Сталь

64 1212 511 303*

64 1212 512 103*

-

 

 

64 1212 411 307**

64 1212 412 107**

180

»

64 1212 511 402*

64 1212 512 202*

 

 

64 1212 411 406**

64 1212 412 206**

219

»

64 1212 511 501*

64 1212 512 301*

 

 

64 1212 411 505**

64 1212 412 305**

299

»

64 1212 511 600*

64 1212 512 400*

 

 

64 1212 411 604**

64 1212 412 404**

377

»

64 1212 511 710*

64 1212 512 510*

 

 

64 1212 411 703**

64 1212 512 503**

450

»

64 1212 511 809*

64 1212 512 609*

 

 

64 1212 411 802**

64 1212 412 602**

560

»

64 1212 511 908*

64 1212 512 708*

 

 

64 1212 411 901**

64 1212 412 800**

 

 

64 1212 521 102*

64 1212 521 906*

650

»

64 1212 420 801**

64 1212 421 601**

 

 

64 1212 512 004*

64 1212 512 807*

 

 

64 1212 412 008**

64 1212 412 800**

* - палуба без деревянного настила.

** - палуба с деревянным настилом.

(Измененная редакция, Изм. № 2, 3).

 

ИНФОРМАЦИОННЫЕ ДАННЫЕ

1.  УТВЕРЖДЕН И ВВЕДЕН В ДЕЙСТВИЕ Постановлением Государственного комитета СССР по стандартам от 02.02.73 № 239

2.  ВЗАМЕН ГОСТ 11265-65

3.  ССЫЛОЧНЫЕ НОРМАТИВНО-ТЕХНИЧЕСКИЕ ДОКУМЕНТЫ

4.  Ограничение срока действия снято по протоколу № 3-93 Межгосударственного совета по стандартизации, метрологии и сертификации (ИУС 5-6-93)

5.  ИЗДАНИЕ (декабрь 2003 г.) с Изменениями № 1, 2, 3, утвержденными в декабре 1979 г., мае 1984 г., апреле 1988 г. (ИУС 1-80, 9-84, 7-88).

 

СОДЕРЖАНИЕ

 

 



© 2013 Ёшкин Кот :-)